|
|
(21), (22) Заявка: 2002118206/15, 05.07.2002
(24) Дата начала отсчета срока действия патента:
05.07.2002
(30) Конвенционный приоритет:
06.07.2001 (пп.1-16) FR 0109055
(43) Дата публикации заявки: 10.04.2004
(46) Опубликовано: 20.06.2007
(56) Список документов, цитированных в отчете о поиске:
US 5066467 А, 19.11.1991. SU 175490 А, 11.07.1965. US 4221653 A, 09.09.1980. US 4971678 A, 20.10.1990. JP 600516510 A, 23.03.1985.
Адрес для переписки:
129010, Москва, ул. Б. Спасская, 25, стр.3, ООО “Юридическая фирма Городисский и Партнеры”, пат.пов. Ю.Д.Кузнецову, рег.№ 595
|
(72) Автор(ы):
БРЮНАР Натали (FR), ГОТЬЕ Тьерри (FR), ЛЕПАЖ Жан-Поль (FR)
(73) Патентообладатель(и):
ЭНСТИТЮ ФРАНСЭ ДЮ ПЕТРОЛЬ (FR)
|
(54) ВНУТРЕННЕЕ УСТРОЙСТВО РАЗДЕЛЕНИЯ СМЕСИ, СОДЕРЖАЩЕЙ, ПО МЕНЬШЕЙ МЕРЕ, ОДНУ ГАЗООБРАЗНУЮ ФАЗУ И ОДНУ ЖИДКУЮ ФАЗУ
(57) Реферат:
Изобретение может быть использовано для преобразования и/или обработки дистиллятов или текучих отходов, поступающих из технологического процесса перегонки нефти. Устройство разделения смеси содержит по меньшей мере одну газообразную фазу и одну жидкую фазу, которые поступают из зоны контакта жидкой фракции, газообразной фракции и твердых частиц. Устройство размещено в реакционной камере и содержит по меньшей мере приспособление (210) для рециклирования смеси в технологическом цикле, снабженное по меньшей мере одним каналом для упомянутой смеси, один первый элемент (280) для разделения или первичный сепаратор, установленный непосредственно после одного или нескольких трубопроводов и позволяющий обеспечить разделение смеси на фракцию А, содержащую преобладающую часть жидкости и меньшую часть газа, и в основном газообразную фракцию В, содержащую меньшую часть жидкости, трубопровод (70), размещенный в непосредственной близости от верхней части реакционной камеры и обеспечивающий возможность удаления фракции В, поступающей из первичного сепаратора, трубопровод (30) для удаления, который продолжает приспособление (210) для рециклирования смеси и через который под действием силы тяжести вытекает и удаляется фракция А, содержащая преобладающую часть жидкости и поступающая из первичного сепаратора. Устройство дополнительно содержит средство (130) контроля уровня расположения жидкой фазы в реакционной камере, которое конфигурировано таким образом, чтобы поддерживать этот уровень на некотором расстоянии от выходного отверстия для фракции В, большем или равном 0,05 от величины внутреннего диаметра реакционной камеры, при этом фракция В является преимущественно газообразной. Кроме того, устройство может содержать по меньшей мере один второй элемент разделения или вторичный сепаратор (310) инерционного типа, обеспечивающий возможность разделения фракции В на газообразную фракцию, удаляемую по трубопроводу (70), и жидкую фракцию, удаляемую по трубопроводу (30). Результат изобретения: улучшение разделения смеси внутри реакционной камеры, в которой находятся газообразная фракция и жидкая фракция, включающая в отдельных случаях твердые частицы. 4 н. и 12 з.п. ф-лы, 4 ил.
Область техники
Настоящее изобретение касается устройства для обработки в одной камере твердой фазы, а также жидкой и газообразной фаз. Изобретение может быть использовано для преобразования и/или обработки дистиллятов или текучих отходов, поступающих из технологического процесса перегонки нефти. Предлагаемое изобретение позволяет улучшить разделение смеси внутри реакционной камеры, в которой находятся газообразная фракция и жидкая фракция, включающая в отдельных случаях твердые частицы, причем смесь поступает из зоны контакта жидкой фазы, газообразной фазы и твердых частиц.
В соответствии с предлагаемым изобретением твердые частицы могут быть рассеяны в жидкой фазе в виде суспензии, находящейся в нижней зоне реакционной камеры в виде взвеси. В соответствии с предпочтительным способом выполнения изобретения жидкая фаза может находиться внутри кипящего слоя твердых частиц. Примеры реакторов, функционирующих в режиме взвешенного слоя или кипящего слоя, а также их основные применения описаны, например, в публикации “Chemical reactor”, P.Tramboue, H.Van landeghem, J.P.Wauqier, издание Technip, 1988.
Предлагаемое изобретение может быть использовано для преобразования материала, введенного в реакционную камеру в виде жидкости, содержащей углеводороды, причем преобразование осуществляется путем введения в контакт жидкой фазы с газообразной фазой, содержащей, например, водород (гидропреобразование) и с твердой фазой, которая чаще всего представляет элемент каталитического действия.
Материал может представлять собой остаток, полученный в результате прямой перегонки сырой нефти, дистиллят, полученный в результате вакуумной перегонки остатка перегонки сырой нефти или жидкий углеводородный материал, полученный из угля.
Предлагаемое изобретение также может быть использовано в технологических процессах для гидрообработки углеводородных материалов, например, в процессах гидрообессеривания, гидрообезазотирования, гидродеметаллизации или гидродезароматизации различных фракций перегонки нефти.
Предлагаемое устройство может быть использовано в любом способе, требующем введения в контакт газообразной фазы и жидкой фазы со слоем твердых частиц, однако в последующем изложении изобретение будет описано для частного случая гидропреобразования углеводородной загрузки в кипящем слое каталитических твердых частиц.
Предшествующий уровень техники
Способ обработки материала в кипящем слое, используемый для гидропреобразования тяжелых углеводородных фракций или жидкой углеводородной фракции, поступающей после перегонки угля, включает введение в контакт в восходящем противотоке углеводородного материала в жидкой фазе и газообразной фазы в реакторе, содержащем твердую фазу, представляющую собой катализатор для данного гидропреобразования. Реакционная зона содержит по меньшей мере одно средство для извлечения твердых частиц, расположенных в непосредственной близости от нижней части реактора, и по меньшей мере одно средство для подачи этих частиц, содержащих также катализатор, в зону в непосредственной близости от верхней части этого реактора. Реакционная зона содержит по меньшей мере один контур возвращения в технологический цикл жидкой фазы, располагающийся внутри или снаружи по отношению к данной реакционной зоне, причем возвращение в технологический цикл предназначено для поддержания уровня слоя, достаточного для обеспечения нормального функционирования реакционной зоны в трехфазном режиме (газообразная фаза/твердая фаза/жидкая фаза).
В патенте US 25770 (раскрыт способ, в котором смесь жидких углеводородов и газообразного водорода подается через слой катализатора таким образом, чтобы этот слой расширялся. Уровень катализатора контролируется благодаря возвращению жидкости в технологический цикл, причем уровень катализатора остается ниже уровня жидкости. Газ и жидкие углеводороды проходят через поверхность раздела, определяющую зону, содержащую преобладающую часть твердых частиц слоя катализатора, и находятся в зоне, практически лишенной этих частиц. После этапа жидкостно-газовой сепарации текучих сред, поступающих в результате реакции, текучие среды разделяются на две фракции: фракцию, содержащую преобладающую часть жидкости, которая возвращается в технологический цикл в направлении насоса кипения, и другую фракцию, которая удаляется из реактора вместе с газом. Однако описанная выше жидкостно-газовая сепарация не является полной, и существенное количество газа увлекается вместе с жидкостью в направлении насоса через трубопровод для возвращения в технологический цикл. Это увлечение газа потоком жидкости весьма нежелательно, поскольку оно приводит к возникновению эффекта кавитации в насосе, а также к ухудшению качества контроля уровня катализатора, который в этой ситуации может дойти до полной потери расширения этого слоя.
Для решения этой проблемы были предложены многочисленные способы и/или устройства.
Так, например, в патенте US 4221653 описано устройство, расположенное внутри реактора и представляющее собой чашу предпочтительно конической формы, снабженную каналами, располагающимися на двух концентрических окружностях. В соответствии с положением каналов изменяется состав жидкости, проходящей через эти каналы. При этом различают каналы, обогащенные газом, и каналы, обогащенные жидкостью. Каналы, обогащенные газом, представляют собой каналы в периферийной части. Вход этих каналов находится на поверхности чаши, а их выход размещается на достаточно большом удалении от выходов трубок, представляющих собой каналы, обогащенные жидкостью, и от канала возвращения в технологический цикл для минимизации взаимодействия газа с жидкостью. Вход каналов, обогащенных жидкостью, расположен ниже поверхности чаши. После прохождения через чашу большая часть жидкости возвращается в технологический цикл через насос кипения, а другая часть удаляется из реактора вместе с газом. При этом газовая фракция, доля которой составляет около 8% об., увлекается жидкой фазой, возвращаемой в технологический цикл.
В патенте US 4886644 предложено усовершенствованное описанное выше устройство, которое дополнительно содержит спиральную вставку, придающую жидкости тангенциальную скорость. Также предлагается включить устройства типа циклонов, располагающихся выше каналов, чтобы в еще большей степени повысить эффективность сепарации газообразной фракции и жидкой фракции.
В патенте США №4810359 описано устройство, в котором разделение газообразной и жидкой фракций осуществляется при помощи устройства типа циклона, установленного в головной части реактора. Циклон связан с каналом возврата в технологический цикл для подвода жидкости к насосу. При помощи этого устройства большая часть газообразной фракции извлекается из жидкости, возвращаемой в технологический цикл, однако при этом существенная часть жидкости увлекается потоком газа в верхней части циклона.
В соответствии с другим принципом реализации, который описан, например, в патентной заявке ЕР 1086734, разделение смеси, поступающей из кипящего слоя, осуществляется снаружи по отношению к реактору.
В соответствии с патентной заявкой ЕР 732389 предлагается использовать два последовательно расположенных реактора и газожидкостной сепаратор между двумя реакторами. При этом часть жидкости, поступающая из первого реактора, вновь возвращается в технологический цикл в первый реактор, чтобы поддерживать кипение слоя катализатора, а другая часть этой жидкости направляется в газожидкостный сепаратор. Затем основная результирующая фракция жидкости подается, по меньшей мере частично, во второй реактор, расположенный последовательно с первым реактором.
По экономическим соображениям сепаратор, установленный после реактора, имеет меньшие размеры, чем реактор, и контроль уровня жидкости во внешнем сепараторе весьма затруднителен.
Краткое изложение существа изобретения
Устройство разделения смеси, содержащей по меньшей мере одну газообразную фазу и одну жидкую фазу, которые поступают из зоны контакта жидкой фракции, газообразной фракции и твердых частиц, причем устройство встроено в реакционную камеру и содержит по меньшей мере
узел, имеющий чашу для рециклирования, снабженную по меньшей мере одним трубопроводом для смеси, который представляет собой трубу, содержащую вставки для создания центробежного движения внутри одной или нескольких труб,
первый элемент для разделения или первичный сепаратор, установленный непосредственно после одного или нескольких трубопроводов и позволяющий обеспечить разделение смеси на фракцию А, содержащую преобладающую часть жидкости и меньшую часть газа, и в основном газообразную фракцию В, содержащую меньшую часть жидкости,
первый трубопровод, размещенный в непосредственной близости от верхней части камеры и обеспечивающий возможность удаления главным образом газообразной фракции В, поступающей из первичного сепаратора,
второй трубопровод, продолжающий чашу для рециклирования, через которую под действием силы тяжести вытекает и удаляется фракция А, содержащая преобладающую часть жидкости и поступающая из первого сепаратора,
причем устройство согласно изобретению дополнительно содержит средства (130) контроля уровня расположения жидкой фазы в камере, которые конфигурированы таким образом, чтобы поддерживать этот уровень на некотором расстоянии от выходного отверстия фракции В, большем или равном 0,05 от величины внутреннего диаметра данной камеры, причем это расстояние превышает 0,1 от величины этого диаметра. Указанное расстояние согласно изобретению будет меньше или находится в диапазоне от 0,05 до 20 величины диаметра.
В общем случае чаша для рециклирования отходов переработки, называемой “рециклом”, имеет коническую форму и размещается по существу в центре реакционной камеры.
В большинстве случаев второй трубопровод удаления связан со средствами возвращения в технологический цикл в реакционную камеру по меньшей мере некоторой части фракции А.
Целесообразно, чтобы устройство содержало дополнительно второй элемент разделения или второй сепаратор инерционного типа, обеспечивающий возможность разделения фракции В на газообразную фракцию, удаляемую через первый трубопровод, и жидкую фракцию, удаляемую через второй трубопровод.
В соответствии с первым вариантом выполнения изобретения каждый вторичный сепаратор связан при помощи соответствующего трубопровода с первичным сепаратором, причем количество первичных сепараторов в этом случае равно количеству вторичных сепараторов.
В соответствии с альтернативным вариантом реализации каждый вторичный сепаратор связан при помощи одного трубопровода с множеством первичных сепараторов. Например, чаша для рециклирования содержит n первичных сепараторов, объединенных в m групп, каждая из которых содержит при этом p первичных сепараторов, причем выходы каждого первичного сепаратора связаны при помощи соответствующего трубопровода с вторичным сепаратором, и количество вторичных сепараторов равно m таким образом, чтобы соблюдалось соотношение m×р=n.
В соответствии с третьим вариантом реализации изобретения вторичный сепаратор не связан физически с первичным сепаратором, причем выходные отверстия первичного сепаратора и входные отверстия вторичного сепаратора расположены в той части камеры, которая содержит в основном газообразную фазу подлежащей разделению смеси.
Предпочтительно устройство согласно изобретению может содержать третий элемент разделения или третичный сепаратор инерционного типа, связанный внутри камеры с входным отверстием трубопровода удаления газообразной фазы за пределы этой камеры, причем в третичном сепараторе обрабатывается газообразная фракция, поступающая из вторичного сепаратора.
В некоторых вариантах применения предлагаемого изобретения подлежащая разделению исходная смесь дополнительно содержит твердую фазу, которая отделяется при помощи первичного сепаратора и удаляется за пределы камеры вместе с фракцией А, содержащей преобладающую часть жидкости.
В соответствии с предпочтительным вариантом реализации устройство содержит раздельные средства для возвращения в технологический цикл и извлечения фракции А, содержащей преобладающую часть жидкости и меньшую часть газа.
Раздельные средства содержат концентрические трубопроводы, один из которых обеспечивает возвращение жидкой фазы в технологический цикл, и по меньшей мере один трубопровод обеспечивает извлечение жидкой фазы.
В предпочтительном варианте реализации имеется два концентрических трубопровода. Извлечение обеспечивается при помощи второго трубопровода, концентрического с трубопроводом возвращения жидкой фазы в технологический цикл, причем второй трубопровод имеет верхнее отверстие, размещенное в непосредственной близости от уровня распространения жидкой фазы, и связан в нижней части со средствами удаления фракции А и контроля жидкой фазы во внутренней полости реакционной камеры.
Предлагаемое устройство может быть использовано, в частности, для разделения текучих отходов. Например, предлагаемое изобретение может быть использовано для гидропреобразования жидких углеводородов в присутствии газообразного водорода и каталитических твердых частиц. При гидропреобразовании в недрах кипящего слоя каталитических твердых частиц углеводородов, точка кипения которых имеет величину, превышающую 360°С, и когда давление внутри реакционной камеры находится в диапазоне от 10 МПа до 20 МПа, температура реакции находится в диапазоне от 350°С до 480°С и эквивалентный диаметр используемых твердых каталитических частиц предпочтительным образом имеет величину в диапазоне от 500 мкм до 5 мм.
Преимущества предлагаемого изобретения
Предлагаемое устройство позволяет усовершенствовать процесс отделения жидкой фракции, например для кипящего слоя, или жидкой фракции вместе с твердыми частицами, например для реактора со взвесью, от газообразной фракции, причем все эти фракции поступают из зоны введения во взаимный контакт жидкой фазы, газообразной фазы и твердых частиц.
В случае кипящего слоя предлагаемое изобретение позволяет одновременно обеспечить минимальное увлечение газа возвращаемой в технологический цикл жидкостью, при этом привести в движение твердые частицы и получить в головной части реактора газ, практически не содержащий жидкости.
Благодаря контролю уровня жидкости, присутствующей в камере, и разделению в реакционной камере различных указанных фракций предлагаемое изобретение дополнительно позволяет снизить стоимость описанной выше технологической установки, например, в результате исключения внешнего оборудования для разделения смеси. При этом устройство в соответствии с изобретением может быть использовано для модернизации существующих технологических установок подобного типа.
Краткое описание чертежей
Другие характеристики и преимущества предлагаемого изобретения будут лучше поняты из приведенного ниже описания со ссылками на сопровождающие чертежи, на которых:
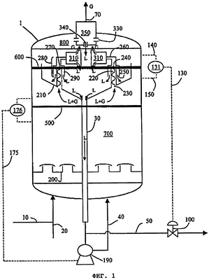
Фиг.1 изображает реакционный аппарат, оборудованный устройством разделения газообразной и жидкой фракций на выходе из кипящего слоя (продольный разрез) согласно изобретению;
Фиг.2 – часть устройства разделения газообразной и жидкой фракций согласно изобретению;
Фиг.3 – часть устройства разделения газообразной и жидкой фракций (второй вариант выполнения) согласно изобретению;
Фиг.4 – устройство разделения газообразной и жидкой фракций (третий вариант выполнения) согласно изобретению.
Подробное описание предпочтительных вариантов выполнения изобретения
На фиг.1 представлен реактор 1 гидропреобразования тяжелых углеводородов в присутствии газообразного водорода (H2) и твердых каталитических частиц в кипящем слое 700. В реактор 1 подают жидкую смесь тяжелых углеводородов через трубопровод 10 и газообразный водород через трубопровод 20, причем смешивание между двумя этими фазами может осуществляться перед реактором или в самом реакторе. Устройства 200 для распределения жидкой и газообразной фаз расположены в нижней части реактора. Эти устройства представляют собой, например, пластины с отверстиями или пластины, оборудованные клапанами, которые располагаются по всему поперечному сечению реактора 1 по существу в горизонтальной плоскости. После прохождения через устройства 200 распределения жидкая и газообразная фазы вводятся в контакт с твердыми каталитическими частицами, размеры и форма которых известны и оптимизированы соответствующим образом в кипящем слое 700. При этом твердые каталитические частицы удерживаются во взвешенном состоянии при определенной скорости прохождения восходящего потока жидкой фазы. В большинстве случаев скорость восходящего потока жидкой фазы определяет степень расширения слоя твердых каталитических частиц, причем расход газа в этом случае поддерживается постоянным. Линия 500 определяет плоскость, слегка возмущаемую вследствие перемешивания, вызываемого прохождением пузырьков газа, и ограничивает зону, обогащенную твердыми каталитическими частицами. Этот уровень для заданного инвентарного количества твердых каталитических частиц, зависит только от расхода газа и жидкости, проходящих через реакционноспособную зону. В пространство выше уровня 500 твердые каталитические частицы не увлекаются в сколько-нибудь значительном количестве. Зона, располагающаяся между линией 500 и поверхностью 600 раздела, представляет собой пространство, в котором располагается смесь газообразной фракции и жидкой фракции. При этом газообразная фракция находится в виде пузырьков внутри сплошной жидкой фракции. Выше поверхности 600 раздела располагается в основном газообразная фаза, содержащая только спонтанно извлеченные из реактора элементы жидкости, рассеянные в сплошной газообразной фазе.
Перевод катализатора в кипящее состояние обеспечивается путем возвращения в технологический цикл жидкой фазы, вновь поступающей в реактор, чтобы поддерживать поверхностную скорость течения жидкой фазы, соответствующим образом адаптированную для того, чтобы исключить осаждение твердых каталитических частиц, обеспечить достаточно продолжительное время взаимного контакта между жидкостью, газом и твердыми каталитическими частицами в пространстве под поверхностью 500 раздела и удовлетворить кинетическим и термодинамическим требованиям, необходимым для осуществления данной реакции. Для этого жидкая фаза извлекается из реактора в пространстве ниже поверхности 600 раздела при помощи приспособления 210, которое может представлять собой чашу для рециклирования, размещенную по существу в центральной части реактора 1 и имеющую предпочтительно коническую форму. Жидкость, поступающая из этого приспособления 210, поступает в трубопровод 30, а затем в насос 190. После этого со стороны нагнетания насоса 190 жидкость перемещается по трубопроводу 40 возвращения и вновь вводится в реактор в пространство перед средствами 200 распределения.
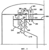
Система питания контура возвращения жидкости в технологический цикл или приспособление 210 содержит устройство для отделения газа от жидкости, причем увлечение газа потоком возвращаемой в технологический цикл жидкости является нежелательным с точки зрения нормального функционирования упомянутого выше насоса. Для слияния маленьких пузырьков газа и выведения газообразной фракции из жидкой фракции в соответствии с предпочтительным способом реализации предлагаемого изобретения используют один или несколько первичных сепараторов 280, способствующих созданию вихревого эффекта в потоке. Сепараторы могут охватывать канал 220, в котором располагается спираль, задающая центробежное движение текучим средам, находящимся внутри канала 220. Нижнее отверстие 230 канала 220 связывает зону между поверхностями 500 и 600 раздела с внутренней полостью приспособления 210. Верхнее отверстие 240 канала 220 расположено точно на уровне или в непосредственной близости от поверхности 600 раздела, положение которой может колебаться относительно некоторого среднего значения в процессе функционирования реактора, например, от 1 до 20 значений диаметров канала 220, и обычно в 3 раза превышающего этот диаметр. Отверстие 240 открывается во внутреннюю полость камеры 290 в целом цилиндрической формы. Жидкость, освобожденная от большей части газа, течет в направлении вниз снаружи от канала 220 и внутри камеры 290 и запитывает приспособление 210 возвращения в технологический цикл благодаря отверстию 250 в пространстве между вертикальными стенками камеры 290 и каналом 220. Газ в форме пузырьков протекает в направлении верхней части камеры 290 до поверхности 600 раздела, располагающейся в непосредственной близости от отверстия 240, а затем удаляется из этой камеры через верхнее отверстие 240, размещенное над поверхностью 600 раздела.
Согласно изобретению приспособление 210 располагается внутри реактора и обладает по существу осевой симметрией, обычно конического типа, относительно оси камеры реактора 1 и перекрывает проходное сечение, составляющее от 50% до 100% от проходного сечения реактора и предпочтительно от 80% до 98% от этого проходного сечения. Насос 190 расположен за пределами реактора, но может располагаться внутри реактора. Жидкие продукты реакции извлекаются перед насосом 190 (или после него) через трубопровод 50 (фиг.1).
Вследствие турбулентности, возникающей в результате высвобождения пузырьков газа из жидкой фракции, капельки жидкости могут быть увлечены потоком газообразной фракции, проходящим через отверстие 240. Чтобы ограничить унос жидкости потоком газообразных отходов, один или несколько вторичных инерционных сепараторов 310 в соответствии с предлагаемым изобретением могут быть размещены после канала 270 каждого первичного сепаратора 280. Количество сепараторов 310 меньше или равно количеству сепараторов 280. На фиг.2 более подробно показана связь между первичным сепаратором 280 и вторичным сепаратором 310. Канал 260 связывает выходное отверстие 270 каждого сепаратора 280 с входным отверстием вторичного сепаратора 310. Сепараторы 310 представляют собой устройства типа циклонов, образованных цилиндрической камерой, имеющей входное отверстие 320 и выходное отверстие 300, располагающееся под входным отверстием 320, в непосредственной близости от поверхности 600 раздела, и предназначенное для удаления жидкости, и отверстие 265 для удаления газа, очищенного от по меньшей мере 50% жидкости, проникшей через отверстие 320, и располагающееся выше входного отверстия 320 и определенно выше поверхности раздела 600.
Газообразная фаза, еще насыщенная капельками жидкости и поступающая из первичного сепаратора 280 через канал 260, тангенциально входит через отверстие 320 в цилиндрический корпус вторичного сепаратора 310 и поворачивается вокруг выходного канала 355 для газа в центре, ориентированного вдоль главной оси корпуса.
Жидкость, поступающая из сепаратора 310 и удаляемая через отверстие 300, подходит к поверхности 600 раздела, смешиваясь с текучими средами, располагающимися в чаше 210 под поверхностью 600 раздела. Газ, выходящий через отверстие 265, протекает через разжиженную в основном газообразную фазу 800, располагающуюся выше поверхности 600 раздела.
В соответствии с первым вариантом реализации изобретения газ, поступающий из вторичного сепаратора 310, протекает затем в направлении трубопровода 70 удаления газа (фиг.1) через одно или несколько отверстий, выполненных в стенке реактора 1 и располагающихся выше поверхности 600 раздела на расстоянии около десятой части диаметра камеры реактора 1. Жидкость, извлеченная из газа, удаляется через отверстие 300 в основании цилиндра. В том случае, когда отверстие 300 располагается под поверхностью 600 раздела, используется устройство 315, позволяющее исключить образование завихрений жидкости и способствующее увлечению газа вместе с потоком жидкости, причем это устройство содержит перекрещивающиеся лопасти (не показаны).
В соответствии с другим вариантом реализации для эффективного ограничения увлечения жидкости потоком газа, выходящим из реактора 1, предпочтительно устанавливать в непосредственной близости от выхода реактора один или несколько третичных инерционных сепараторов 350 (фиг.1). Инерционный сепаратор 350 представляет собой устройство типа циклона, конструкция и принцип функционирования которого идентичен вторичным сепараторам 310, или структурированным набивкам. Одно или несколько входных отверстий 330 одного или нескольких сепараторов 350 связывают разжиженную и в основном газообразную фазу, располагающуюся выше поверхности 600 раздела, с внутренней полостью камеры одного или нескольких сепараторов 350. Третичные сепараторы 350 позволяют в конечном счете получить газообразный эфлюент, очищенный по меньшей мере на 50% от жидкости, поступающей через отверстие 330. Жидкость, отделенная в камере 350 и удаленная через отверстие 340, доходит до поверхности 600 раздела и смешивается с текучими средами, располагающимися под этой поверхностью раздела. Газ, освобожденный от большей части жидкости, удаляется через трубопровод 70 за пределы реактора для последующей обработки. В общем случае газ, удаляемый за пределы реактора через трубопровод 70, содержит менее 1% жидкости по массе, благодаря совместному использованию средств 280, 310 и 350 разделения.
Жидкие продукты, поступающие из трубопровода 30 и освобожденные от большей части газа, возвращаются насосом 190 в технологический цикл в задней части реактора через трубопровод 40 возвращения жидкости. При этом жидкий продукт содержит малое количество газа (менее 1% мас.), благодаря средству 280, 310 и 350 разделения, которое используется выше чаши 210.
Чтобы контролировать уровень расположения поверхности 500 раздела, могут быть использованы средства измерения и управления. Может быть рассмотрено точное измерение уровня поверхности 500 раздела путем оценки имеющегося профиля плотности в реакторе при помощи гамма-дозиметра. Измерение уровня, полученное при помощи этого средства, может быть использовано в контуре 175 регулирования, который путем сравнения с заданным значением, выданным оператором через прибор 176 управления, регулирует скорость вращения насоса 190. Благодаря такой системе регулирования, понижение уровня поверхности 500 раздела по отношению к заданному значению, компенсируется путем увеличения скорости вращения насоса 190 и увеличением расхода жидкости, подаваемой в контур (30, 40) возвращения в технологический цикл, в результате чего увеличивается поверхностная скорость движения жидкости в реакторе и, следовательно, степень расширения слоя частиц катализатора.
Чтобы контролировать уровень расположения поверхности 600 раздела, можно рассматривать оценку профиля плотности в реакторе при помощи дифференциального датчика давления, присоединенного к реактору при помощи двух приемников давления, один из которых, приемник 140 давления, расположен определенно выше требуемого уровня поверхности раздела, а другой, приемник 150 давления, расположен ниже уровня этой же поверхности раздела. Для исключения закупоривания приемников давления можно прогонять на уровне этих приемников давления известное и контролируемое количество газа или жидкости, например жидкости, возвращаемой в технологический цикл. Величина измеренного уровня подается в контур 130 регулирования, который приводится в действие, например, при помощи блока 131 управления, систему 100 открытия клапана, в трубопроводе 50 удаления жидких продуктов из реактора. Трубопровод 50 является ответвлением на трубопроводе 30 перед насосом 190. С использованием такой системы изменение уровня поверхности 600 раздела по отношению к заданному значению будет компенсироваться путем изменения степени открытия клапана 100, изменения расхода жидкости и изменения доли жидкости, возвращаемой в технологический цикл, причем расходы газа и жидкости в линиях 10 и 20 остаются постоянными.
На фиг.3 показан другой вариант реализации изобретения, позволяющий одновременно обеспечить освобождение газа из жидкости, возвращаемой в технологический цикл, и отделение жидкости, увлекаемой газовым потоком. Газ, насыщенный капельками жидкости и поступающий из первичного сепаратора, входит по касательной через отверстие 320 сепаратора 310 таким же образом, как это было описано выше со ссылками на фиг.2. Первичный сепаратор 280 и вторичный сепаратор 310 не связаны между собой, причем газообразная фаза, еще насыщенная капельками жидкости и поступающая из первичного сепаратора 280, на первом этапе отводится в разжиженную и в основном газообразную фазу 800, располагающуюся выше поверхности 600 раздела.
В соответствии с предпочтительным вариантом реализации изобретения средства 30, 190, 40 (фиг.4) возвращения в технологический цикл отделены от средств извлечения 50, 100 (фиг.2) жидкой фазы. Таким образом, трубопровод 30 (фиг.1) содержит отдельные средства извлечения и возвращения в технологический цикл.
Второй трубопровод 31 подключен к нисходящему трубопроводу 30, причем оба эти трубопровода являются концентрическими. Два трубопровода закреплены в реакторе 1. В своей верхней части трубопровод 31 имеет расширяющуюся коническую форму. Верхняя часть размещена между зонами 140 и 150 приема давления таким образом, чтобы в процессе функционирования входное отверстие 32 совпадало по уровню или находилось на несколько более низком уровне по отношению к уровню поверхности 600 раздела. Отверстия выхода жидкой фазы из сепараторов 280 и 310 достаточно удалены от входного отверстия 32, обеспечивая возможность входа совпадающей по уровню жидкой фазы в трубопровод 31 таким образом, чтобы минимальное количество газа было увлечено потоком жидкости в этот трубопровод 31.
Диаметры и длины соответствующих концентрических трубопроводов 30 и 31 отличаются друг от друга, чтобы обеспечить возможность беспрепятственного теплового расширения внутреннего трубопровода 31 без полного или частичного закупоривания наружного трубопровода 30. В качестве другого возможного технического решения можно упомянуть использование материалов, имеющих различные коэффициенты теплового расширения, для изготовления двух трубопроводов.
Перфорирование трубопроводов 50 извлечения и/или 40 возвращения жидкой фракции в технологический цикл может быть выполнено, например, снаружи или изнутри реактора 1.
На выходе из сепараторов газообразная фракция отводится в головную часть реактора и удаляется из нее по трубопроводу 70. Часть жидкой фракции поступает в насос 190 и контур возвращения в технологический цикл жидкой фазы посредством трубопровода 30, а другая часть жидкой фракции удаляется при помощи трубопровода 31 через отверстие 32 и поступает по трубопроводу 50 извлечения жидких продуктов из реактора. Клапан 100 позволяет контролировать расход извлекаемой жидкости.
Разъединение средств 31, 50, 100 извлечения и средств 30, 190, 40 возвращения в технологический цикл обеспечивает наилучший контроль уровня различных поверхностей 500, 600 разделения в реакторе. Таким образом, разъединяя эти средства, можно предотвратить любую потерю эффекта кипения слоя в случае достаточно широкого раскрытия клапана 100 и/или возникновения трудностей поддержания заданного уровня расположения поверхности 600 разделения, между двумя приемниками 150 и 140 давления, например, в процессе существенного изменения расходов извлекаемой жидкости или расхода вводимого материала.
Кроме того, специальная система предупреждения (не показана) может быть предусмотрена в том случае, когда уровень поверхности 600 раздела стремится приблизиться к зоне расположения приемника 140 давления и/или к зоне расположения приемника давления 150.
Формула изобретения
1. Устройство разделения смеси, содержащей, по меньшей мере, одну газообразную фазу и одну жидкую фазу, которые поступают из зоны контакта жидкой фракции, газообразной фракции и твердых частиц, причем устройство размещено в реакционной камере и содержит, по меньшей мере,
приспособление (210) для рециклирования смеси в технологическом цикле, снабженное, по меньшей мере, одним каналом для упомянутой смеси,
по меньшей мере, один первый элемент (280) для разделения или первичный сепаратор, установленный непосредственно после одного или нескольких трубопроводов и позволяющий обеспечить разделение смеси на фракцию А, содержащую преобладающую часть жидкости и меньшую часть газа, и в основном газообразную фракцию В, содержащую меньшую часть жидкости,
трубопровод (70), размещенный в непосредственной близости от верхней части реакционной камеры и обеспечивающий возможность удаления фракции В, поступающей из первичного сепаратора,
трубопровод (30) для удаления, который продолжает приспособление (210) для рециклирования смеси и через который под действием силы тяжести вытекает и удаляется фракция А, содержащая преобладающую часть жидкости и поступающая из первичного сепаратора,
отличающееся тем, что устройство дополнительно содержит средство (130) контроля уровня расположения жидкой фазы в реакционной камере, которое конфигурировано таким образом, чтобы поддерживать этот уровень на некотором расстоянии от выходного отверстия для фракции В, больше или равном 0,05 от величины внутреннего диаметра реакционной камеры,
при этом фракция В является преимущественно газообразной.
2. Устройство по п.1, отличающееся тем, что приспособление (210) для рециклирования смеси в технологическом цикле имеет коническую форму и установлено в центре реакционной камеры.
3. Устройство по любому из п.1 или 2, отличающееся тем, что трубопровод (30) для удаления связан с трубопроводом (40) и насосом (190), образующими средство (30, 190, 40) для рециклирования смеси в камере, по меньшей мере, части фракции А.
4. Устройство по п.1, отличающееся тем, что средство (30, 190, 40) рециклирования смеси в камере отделено от средства извлечения (31, 50, 100) упомянутой жидкой фракции А.
5. Устройство по п.1, отличающееся тем, что указанные отдельные средства содержат, по меньшей мере, концентрические трубопроводы, один из которых обеспечивает рециклирование в технологический цикл, и один обеспечивает извлечение.
6. Устройство по п.1, отличающееся тем, что средство извлечения содержит второй трубопровод (31), концентрический по отношению к трубопроводу (30), продолжающему приспособление (210), причем второй трубопровод (31) содержит верхнее отверстие (32), размещенное в непосредственной близости от уровня распространения жидкой фазы, и связан в своей нижней части со средствами удаления (50) фракции А и средствами (100, 130) контроля жидкой фазы внутри реакционной камеры.
7. Устройство разделения смеси, содержащей, по меньшей мере, одну газообразную фазу и одну жидкую фазу, которые поступают из зоны контакта жидкой фракции, газообразной фракции и твердых частиц, причем устройство размещено в реакционной камере и содержит, по меньшей мере,
приспособление (210) для рециклирования смеси в технологическом цикле, снабженное, по меньшей мере, одним каналом для упомянутой смеси,
по меньшей мере, один первый элемент (280) для разделения или первичный сепаратор, установленный непосредственно после одного или нескольких трубопроводов и позволяющий обеспечить разделение смеси на фракцию А, содержащую преобладающую часть жидкости и меньшую часть газа, и в основном газообразную фракцию В, содержащую меньшую часть жидкости,
трубопровод (70), размещенный в непосредственной близости от верхней части реакционной камеры и обеспечивающий возможность удаления фракции В, поступающей из первичного сепаратора,
трубопровод (30) для удаления, который продолжает приспособление (210) для рециклирования смеси и через который под действием силы тяжести вытекает и удаляется фракция А, содержащая преобладающую часть жидкости и поступающая из первичного сепаратора,
отличающееся тем, что устройство дополнительно содержит средство (130) контроля уровня расположения жидкой фазы в реакционной камере, которое конфигурировано таким образом, чтобы поддерживать этот уровень на некотором расстоянии от выходного отверстия для фракции В, больше или равном 0,05 от величины внутреннего диаметра реакционной камеры,
при этом фракция В является преимущественно газообразной,
по меньшей мере, один второй элемент разделения или вторичный сепаратор (310) инерционного типа, обеспечивающий возможность разделения фракции В на газообразную фракцию, удаляемую по трубопроводу (70), и жидкую фракцию, удаляемую по трубопроводу (30).
8. Устройство по п.7, отличающееся тем, что каждый вторичный сепаратор (310) связан посредством трубопровода (260) с первичным сепаратором (280), причем число первичных сепараторов (280) равно числу вторичных сепараторов (310).
9. Устройство по п.7, отличающееся тем, что каждый вторичный сепаратор (310) связан посредством трубопровода (260) с множеством первичных сепараторов (280).
10. Устройство по п.7, отличающееся тем, что содержит третий элемент разделения или третичный сепаратор (350) инерционного типа, связанный в реакционной камере непосредственно с входным отверстием трубопровода (70), причем в третичном сепараторе обрабатывается газообразная фракция, поступающая из вторичного сепаратора.
11. Устройство по п.7, отличающееся тем, что приспособление (210) представляет собой чашу для рециклирования, снабженную, по меньшей мере, одним трубопроводом (220), содержащем вставки, для создания центробежного движения внутри одной или нескольких таких труб (220).
12. Устройство по любому из п.1 или 7, отличающееся тем, что смесь дополнительно содержит твердую фазу, причем твердая фаза отделяется при помощи первичного сепаратора и удаляется через трубопровод (30) вместе с фракцией А, содержащей преобладающую часть жидкости.
13. Способ разделения смеси, поступающей из кипящего слоя и содержащей, по меньшей мере, одну газообразную фазу и жидкую фазу, которые поступают из зоны контакта жидкой фракции, газообразной фракции и твердых частиц, заключающийся в том, что
размещают устройство для разделения смеси, заявленное по пп.1-12, в реакционной камере, соосно с корпусом камеры,
пропускают смесь через первый элемент (280) для разделения или первичный сепаратор, установленный непосредственно после одного или нескольких трубопроводов и осуществляют разделение смеси на фракцию А, содержащую преобладающую часть жидкости и меньшую часть газа, и в основном газообразную фракцию В, содержащую меньшую часть жидкости,
по трубопроводу (70), размещенному в непосредственной близости от верхней части реакционной камеры удаляют основную часть газообразной фракции В, поступающей из первичного сепаратора,
удаляют по трубопроводу (30) под действием силы тяжести фракцию А, содержащую преобладающую часть жидкости, поступающей из первичного сепаратора,
отличающийся тем, что
осуществляют контроль уровня расположения жидкой фазы в реакционной камере и поддерживают этот уровень на некотором расстоянии от выходного отверстия для фракции В, больше или равном 0,05 от величины внутреннего диаметра реакционной камеры при помощи средств (130) контроля уровня жидкой фазы.
14. Способ по п.13, отличающийся тем, что в случае, когда подлежащая разделению исходная смесь содержит дополнительно твердую фазу, указанную твердую фазу отделяют посредством первичного сепаратора и удаляют за пределы камеры вместе с фракцией А, содержащей преобладающую часть жидкости.
15. Способ по п.13, отличающийся тем, что возвращают в технологический цикл фракцию А, содержащую преобладающую часть жидкости и меньшую часть газа, для чего пропускают жидкую фракцию через разделительные средства в виде концентрических трубопроводов, по первому (30) из которых осуществляют возврат жидкой фазы в технологический цикл, а по второму (31) из которых, концентрическому с первым, осуществляют удаление жидкой фазы из технологического цикла, причем верхнее отверстие расширяющейся конической формы второго трубопровода размещают в непосредственной близости от уровня жидкой фазы, а в нижней части второй трубопровод связан со средствами удаления фракции А из реакционной камеры.
16. Способ разделения текучих отходов химической реакции, проводимой в кипящем слое, заключающийся в разделении текучих отходов углеводородов в присутствии каталитических твердых частиц, давление в реакционной камере находится в диапазоне от 10 до 20 МПа, температура находится в диапазоне от 350 до 480°С,
размещают устройство для разделения смеси, заявленное по пп.1-12, в реакционной камере, соосно с корпусом камеры,
пропускают смесь через первый элемент (280) для разделения или первичный сепаратор, установленный непосредственно после одного или нескольких трубопроводов и осуществляют разделение смеси на фракцию А, содержащую преобладающую часть жидкости и меньшую часть газа, и в основном газообразную фракцию В, содержащую меньшую часть жидкости,
по трубопроводу (70), размещенному в непосредственной близости от верхней части реакционной камеры удаляют основную часть газообразной фракции В, поступающей из первичного сепаратора,
удаляют по трубопроводу (30) под действием силы тяжести фракцию А, содержащую преобладающую часть жидкости, поступающей из первичного сепаратора,
отличающийся тем, что
точка кипения жидких углеводородов имеет величину, превышающую 360°С, эквивалентный диаметр каталитических частиц находится в диапазоне от 500 мкм до 5 мм,
осуществляют контроль уровня расположения жидкой фазы в реакционной камере и поддерживают этот уровень на некотором расстоянии от выходного отверстия для фракции В, большем или равном 0,05 от величины внутреннего диаметра реакционной камеры при помощи средств (130) контроля уровня жидкой фазы,
при этом фракция В является преимущественно газообразной.
РИСУНКИ
|
|