|
|
(21), (22) Заявка: 2005110655/12, 04.09.2003
(24) Дата начала отсчета срока действия патента:
04.09.2003
(30) Конвенционный приоритет:
09.09.2002 US 10/237,034
(43) Дата публикации заявки: 10.10.2005
(46) Опубликовано: 20.06.2007
(56) Список документов, цитированных в отчете о поиске:
US 4432437 А, 21.02.1984. DE 2648270 А, 27.04.1978. US 6328129 B1, 11.12.2001. SU 1720654 А1, 23.03.1992.
(85) Дата перевода заявки PCT на национальную фазу:
11.04.2005
(86) Заявка PCT:
IL 03/00732 (04.09.2003)
(87) Публикация PCT:
WO 2004/022164 (18.03.2004)
Адрес для переписки:
129010, Москва, ул. Б.Спасская, 25, стр.3, ООО “Юридическая фирма Городисский и Партнеры”, пат.пов. С.А.Дорофееву
|
(72) Автор(ы):
БАРЗИЛАЙ Йоав (IL), САЛХОВ Рафи (IL)
(73) Патентообладатель(и):
ДАБЛ ЭКЗИТ ЛТД. (IL)
|
(54) СИСТЕМА АВАРИЙНОГО ВЫХОДА
(57) Реферат:
Система относится к аварийному выходу и, в частности, касается хранения автоматического устройства аварийного выхода внутри двери. Данная система аварийного выхода легко и недорого устанавливается в разных местах, обеспечивает компактное и скрытое хранение автоматического устройства для аварийного выхода и доступна для использования во всех аварийных выходах здания. Система аварийного выхода включает устройство аварийного выхода и полую дверь. Большая часть устройства аварийного выхода хранится во внутренней полости двери. Часть двери является съемной для обеспечения доступа к устройству аварийного выхода. Устройство аварийного выхода включает трос и спусковой механизм. Спусковой механизм выполнен так, чтобы обеспечить регулируемый спуск человека, спускаемого на тросе. 7 з.п. ф-лы, 4 ил.
Область изобретения и предпосылки создания изобретения
Настоящее изобретение касается системы аварийного выхода и, в частности, оно касается хранения автоматического устройства аварийного выхода внутри двери.
В качестве вводного материала средствам аварийного выхода, позволяющим человеку спускаться из здания, в основном требуется, чтобы они были жестко установлены в наружной или внутренней стене здания. Средство аварийного выхода обычно устанавливают над окном или балконом или около окна или балкона. У этого способа установки есть несколько недостатков. Первый недостаток – это то, что не все стены подходят для этой установки, что ограничивает расположение устройства. Второй – этот тип установки является дорогостоящим. Третий – корпус средства аварийного выхода виден. Четвертый – если средство устанавливается на внутренней стене, средство занимает полезное пространство стены. Пятый – средство устанавливается локально и обычно не может быть использовано из другого окна в здании.
Поэтому существует необходимость в системе аварийного выхода, которая легко и недорого устанавливается в разных местах, обеспечивает компактное и скрытое хранение автоматического устройства для аварийного выхода и доступна для использования во всех аварийных выходах здания.
Краткое описание изобретения
Настоящее изобретение относится к системе аварийного выхода и способу его применения.
Согласно настоящему изобретению обеспечена система аварийного выхода, содержащая (а) устройство аварийного выхода; и (b) полую дверь, имеющую внутреннюю полость, при этом (i) большая часть устройства аварийного выхода хранится во внутренней полости, и (ii) часть двери является съемной для обеспечения доступа к устройству аварийного выхода.
Согласно следующему признаку настоящего изобретения устройство аварийного выхода выполнено так, чтобы целиком храниться во внутренней полости.
Согласно другому признаку настоящего изобретения устройство аварийного выхода скрыто внутри двери.
Согласно следующему признаку настоящего изобретения дверь имеет первую основную панель и вторую основную панель, при этом первая панель и вторая панель по существу плоские.
Согласно другому признаку настоящего изобретения первая панель и вторая панель по существу параллельны.
Согласно следующему признаку настоящего изобретения дверь имеет первую основную панель и вторую основную панель, при этом первая основная панель выполнена с возможностью ее удаления из остальной двери для обеспечения доступа к устройству аварийного выхода.
Согласно следующему признаку настоящего изобретения дверь выполнена для установки в здании при помощи по меньшей мере одного шарнира, чтобы после установки в здании, дверь имела возможность поворачиваться горизонтально.
Согласно следующему признаку настоящего изобретения дверь включает крепежное средство, которое выполнено таким образом, что оно позволяет удалить указанную часть из остальной двери.
Согласно следующему признаку настоящего изобретения дверь армирована.
Согласно следующему признаку настоящего изобретения устройство аварийного выхода включает трос.
Согласно следующему признаку настоящего изобретения устройство аварийного выхода включает средство хранения, выполненное таким образом, чтобы хранить трос внутри двери.
Согласно следующему признаку настоящего изобретения средство хранения включает катушку.
Согласно следующему признаку настоящего изобретения средство хранения включает по меньшей мере один держатель, выполненный таким образом, чтобы соединять трос с дверью, причем этот по меньшей мере один держатель достаточно прочен для удержания троса, когда он соединен с дверью в нерабочем состоянии, а когда трос необходим, он легко освобождается из двери.
Согласно следующему признаку настоящего изобретения трос – невоспламеняющийся.
Согласно следующему признаку настоящего изобретения устройство аварийного выхода включает спусковой механизм, который выполнен так, чтобы обеспечить регулируемый спуск человека, спускаемого на тросе.
Согласно следующему признаку настоящего изобретения устройство аварийного выхода включает по меньшей мере один ремень безопасности, выполненный для соединения с тросом.
Согласно следующему признаку настоящего изобретения устройство аварийного выхода выполнено по существу для непрерывного, множественного использования в течение одной эвакуации.
Краткое описание чертежей
Изобретение здесь описано исключительно для примера со ссылкой на сопутствующие чертежи, на которых:
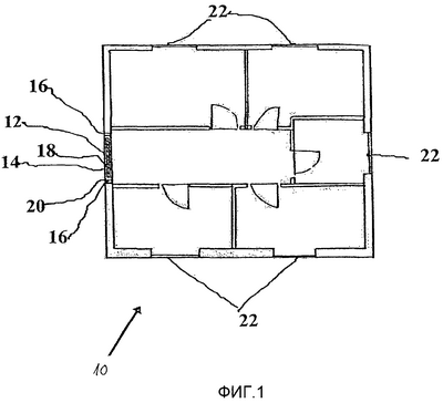
Фиг.1 – схематическое изображение в плане квартиры, имеющей установленную систему аварийного выхода, которая сконструирована и работает согласно предпочтительному примеру реализации изобретения;
Фиг.2 – схематическое ортогональное изображение с пространственным разделением деталей системы аварийного выхода по фиг.1;
Фиг.3 – схематическое ортогональное изображение с пространственным разделением деталей системы аварийного выхода, которая сконструирована и работает согласно альтернативному примеру реализации изобретения; и
Фиг.4 – схематическое изображение эвакуации из здания с использованием системы аварийного выхода по фиг.1.
Описание предпочтительных примеров реализации изобретения
Настоящее изобретение относится к системе аварийного выхода и способу ее применения.
Принципы и работа системы аварийного выхода согласно настоящему изобретению могут быть лучше объяснены со ссылкой на чертежи и сопутствующее описание.
Со ссылкой на фиг.1, которая является схематическим изображением в плане квартиры 10, имеющей установленную в ней систему 12 аварийного выхода, которая сконструирована и работает согласно предпочтительному примеру реализации изобретения. В качестве введения большинство офисов, домов или квартир имеет по меньшей мере одну дверь 14, установленную в армированном дверном проеме 16. В наиболее предпочтительном примере реализации настоящего изобретения дверь 14 также армирована. Обычно, когда дверь 14 устанавливают в армированном дверном проеме 16, дверь 14 предназначается для противостояния очень большим силам, воздействующим на дверь 14. Армированный дверной проем 16 обычно образован железобетонной рамой, металлической рамой или их сочетанием. Поэтому установка автоматического устройства 18 аварийного выхода внутри двери 14 целесообразна по нескольким причинам. Во-первых, автоматическое устройство 18 аварийного выхода способно легко и надежно устанавливаться в двери 14, как будет объяснено ниже. Кроме того, дверь 14 может быть продана с уже установленным в ней автоматическим устройством 18 аварийного выхода, что уменьшает необходимость установки на месте, поскольку автоматическое устройство 18 аварийного выхода может быть установлено каждым, кто может поставить обычную дверь в армированном дверном проеме 16. Во-вторых, дверь 14 жестко устанавливается в армированном дверном проеме 16 посредством по меньшей мере двух шарниров 20 сбоку двери 14. Поэтому дверь 14 служит центральной точкой закрепления для установки в ней автоматического устройства 18 аварийного выхода. Тем не менее, дверь 14 работает как обычная надежная дверь, и она способна поворачиваться горизонтально. В-третьих, автоматическое устройство 18 аварийного выхода, установленное в двери 14, доступно для быстрого использования во множестве отверстий или окон 22 путем пропускания троса 44 автоматического устройства 18 аварийного выхода к любому из отверстий или окон 22. Автоматическое устройство 18 аварийного выхода выполнено таким образом, что устройство 18 имеет достаточную длину, чтобы достигать всех отверстий или окон 22. Кроме того, устройство 18 аварийного выхода очень надежно, так как оно легко освобождается из двери 14, и устройство 18 аварийного выхода дает возможность быстро покидать здание, как будет описано ниже со ссылкой на фиг.4. В-четвертых, автоматическое устройство 18 аварийного выхода скрыто дверью 14, когда устройство 18 не используется. В-пятых, автоматическое устройство 18 аварийного выхода хранится внутри двери 14, в результате чего устройство 18 не занимает полезного пространства в здании. Следует также заметить, что дверь 14 имеет такую же глубину, что и стандартная надежная дверь, то есть приблизительно 4 см или более.
Затем делается ссылка на фиг.2, которая представляет собой схематическое ортогональное изображение с пространственным разделением деталей системы 12 аварийного выхода. Система 12 аварийного выхода включает автоматическое устройство 18 аварийного выхода и дверь 14, которая является полой. Дверь 14 имеет внутреннюю полость 24. Автоматическое устройство 18 аварийного выхода целиком хранится во внутренней полости 24. Поэтому автоматическое устройство 18 аварийного выхода скрыто внутри двери 14. Дверь 14 имеет основную панель 28 и основную панель 30, и несколько боковых панелей 38. Основная панель 28 и основная панель 30 обычно выполнены из листового металла. Боковые панели 32 механически соединены с кромками основной панели 28 таким образом, что боковые панели 32 по существу перпендикулярны основной панели 28. Боковые панели 32 обычно привариваются к основной панели 28. В качестве альтернативы, боковые панели 32 и основная панель 28 выполнены как единый элемент. Основная панель 28 и основная панель 30 по существу плоские. Следует заметить, что основная панель 28 и основная панель 30 были описаны в основном как плоские, поскольку большая часть основной панели 28 и большая часть основной панели 30 являются плоскими. Основная панель 28 и основная панель 30 по существу параллельны, когда дверь 14 находится в собранном виде. Основная панель 30 или по меньшей мере часть основной панели 30 выполнена с возможностью ее удаления из остальной двери 14, чтобы обеспечить доступ к автоматическому устройству 18 аварийного выхода. Дверь 14 включает крепежное средство 34, которое выполнено таким образом, что оно позволяет просто и быстро удалить основную панель 30, или по меньшей мере часть основной панели 30 из остальной двери 14. Крепежное средство 34 обычно включает болт 38 и крепежный элемент 40. Один конец болта 38 приваривается внутри двери 14, так что направление удлиненного конца болта 38 перпендикулярно основной панели 28. Основная панель 30 крепится к остальной двери 14 посредством другого, неприваренного конца болта 38, который проходит через отверстие 38 в двери 14, и затем на болте 38 закрепляется крепежный элемент 40. Поэтому основную панель 30 освобождают из остальной двери 14, удалив крепежный элемент 40 с болта 38. Специалисту в данной области понятно, что крепежное средство 34 может иметь разнообразную конструкцию. Например, крепежным средством 34 может быть механизм, работающий от рычага, в результате чего поворот рычага освобождает основную панель 30 из остальной двери 14. Дверь 14 обычно армируют несколькими армирующими стержнями 42, обычно выполненными из стали. Армирующие стержни 42 присоединяются механически, например при помощи сварки, или болтами, к основной панели 28 и боковым панелям 32. Специалисту понятно, что дверь 14 может иметь различную конструкцию, обеспечивающую полую дверь с внутренней полостью для хранения в ней автоматического устройства 18 аварийного выхода. Автоматическое устройство 18 аварийного выхода включает трос 44, спусковой механизм 46 и два ремня безопасности 50, 52. Диаметр троса 44 обычно составляет от 8 мм до 12 мм. Трос 44 обычно выполняется из витого троса, включающего металлические пряди. Трос 44 по существу невоспламеняющийся. Спусковой механизм 46 выполнен так, чтобы обеспечивать регулируемый спуск человека, спускаемого на тросе 44. Скорость спуска с помощью спускового механизма 46 обычно составляет от 1 метра в секунду до 5 метров в секунду. Оптимальная скорость спуска с помощью механизма 46 обычно составляет от 2 метров в секунду до 2,5 метров в секунду. Скорость спуска не зависит от веса человека, спускаемого спусковым механизмом 46. Спусковой механизм включает фрикционный механизм (не показан), который включает несколько дисков (не показаны) и систему рычагов (не показана). Диски удерживаются на месте один относительно другого системой рычагов. Трос 44 навит вокруг наружных кромок дисков, Фрикционный механизм сохраняет постоянную заданную скорость спуска человека, спускаемого на тросе 44 с помощью системы рычагов, которая регулирует расстояние между дисками и, таким образом, натягивает или отпускает участок троса 44 между дисками. Натяжение троса 44, находящегося между дисками, увеличивается с увеличением нагрузки, воздействующей на трос 44, и наоборот. Спусковой механизм 46 имеет возможность автоматического реверсирования. Другими словами, спусковой механизм 46 предназначен для автоматического регулирования скорости спуска в том направлении, в котором тянут трос 44. Спусковой механизм 46 обычно имеет цилиндрическую форму с диаметром 20 см и глубиной, достаточно небольшой, чтобы спусковой механизм 46 смог установиться во внутренней полости 24 двери 14. Специалисту станет понятно, как сконструировать спусковой механизм 46. Спусковой механизм 46 обычно крепится болтами или приваривается к металлическому стержню 48, который закреплен в двери 14. Концы стержня 48 обычно привариваются к боковым панелям 32. Трос 44 подается через спусковой механизм 46. Ремень безопасности 50 соединен с одним концом троса 44, а ремень безопасности 52 соединен с другим концом троса 44. Система 12 аварийного выхода включает средство хранения 54, выполненное таким образом, чтобы хранить трос 44 во внутренней полости 24 двери 14. Средство хранения 54 предназначено для компактного хранения троса 44, когда им не пользуются. Согласно наиболее предпочтительному примеру реализации настоящего изобретения трос 44 расположен одним слоем 58 на основной панели 28 двери 14, при этом трос 44 пропускается в направлении вверх и вниз вдоль основной панели 28. Трос 44 затем механически соединяется с основной панелью 28 одним или более держателями 56, которые крепятся в точках, где трос 44 изгибается вверху и внизу одного слоя 58. Следует заметить, что держатели 56 могут быть, а могут не быть, механически соединены с тросом 44. Другими словами, держатели 56 могут быть выполнены такой формы, чтобы образовывать петлю, соединенную с основной панелью 28, в которой удерживается трос 44. Держатели 56 достаточно прочны, чтобы удерживать трос 44 в соединении с основной панелью 28 двери 14, когда трос 44 не используется, однако, когда трос 44 нужен, он легко освобождается из основной панели 28 двери 14. Держатели 56 обычно выполняются из мягкой пластмассы, резины или кремния, или из любого другого эластичного пластичного материала. Следует заметить, что при необходимости, например, когда система 12 аварийного выхода используется в очень большом и/или высоком здании, трос 44 располагается множеством слоев, чтобы обеспечить более длинный трос внутри двери 14. Специалисту понятно, что дверь 14 может быть выполнена таким образом, чтобы хранить различные типы устройства аварийного выхода, которые известны в данной области, например, дверь 14 может быть предназначена для хранения специального оборудования или веревочной лестницы.
Затем делается ссылка на Фиг.3, которая представляет собой схематическое ортогональное изображение с пространственным разделением деталей системы 60 аварийного выхода, выполненной и работающей согласно альтернативному примеру реализации изобретения. Система 60 аварийного выхода подобна системе 12 аварийного выхода, однако средство хранения включает катушку 62, заменяющую держатели 56. Трос 44 навит на катушку 62, когда он не используется. Катушка 62 имеет ось вращения 64. Катушка 62 обычно соединяется со стержнем 48 при помощи сварки таким образом, что катушка 62 может вращаться вокруг оси вращения 64.
Теперь со ссылкой на Фиг.4, которая представляет собой схематическое изображение эвакуации из здания 70 с использованием системы 12 аварийного выхода. Последующее описание описывает, как три человека совершают аварийный выход из здания 70, используя систему 12 аварийного выхода. Первый выходящий человек 66 одевает ремень безопасности 50. Любое ослабление троса 44 между человеком 66 и спусковым механизмом 46 устраняется натяжением стороны троса, имеющей ремень 52. Человек 66 затем выходит из окна 68 здания 70 в позиции 72. Человек 66 опускается в ремне безопасности 50 спусковым механизмом 46 медленным освобождением троса 44. Человек 66 опускается регулируемым образом из позиции 76 на землю в позицию 78. Второй человек (не показан), совершающий аварийный выход из здания 70, одет в ремень безопасности 52 и эвакуируется из здания 70 так же, как человек 66. Когда этот второй человек, который одет в ремень безопасности 52, опускается из здания 70, ремень безопасности 50 движется в направлении спускового механизма 46. Поэтому третий человек (не показан), которому предстоит совершить аварийный выход из здания 70, одевает ремень безопасности 50 и эвакуируется из здания 70 так же, как предыдущие два человека. Поэтому система 12 аварийного выхода предназначена по существу для непрерывного множественного использования в течение одной эвакуации.
Специалистам в данной области понятно, что настоящее изобретение не ограничено тем, что было конкретно показано и описано выше. Объем настоящего изобретения включает комбинации и вспомогательные комбинации различных признаков, описанных здесь выше, а также их варианты и модификации, не входящие в предшествующий уровень техники, что будет понятно специалистам в данной области по прочтении вышеизложенного описания.
Формула изобретения
1. Система аварийного выхода из здания, включающего дверной проем, содержащая
(a) устройство аварийного выхода, включающее трос, спусковой механизм, выполненный так, чтобы регулировать скорость движения троса, обеспечивая, таким образом, регулируемый спуск человека, спускаемого на тросе; и
(b) полую армированную дверь, выполненную для установки в дверном проеме, при этом дверь имеет две, по существу, плоские и, по существу, параллельные основные панели и внутреннюю полость, в которой хранится устройство аварийного выхода, при этом по меньшей мере часть одной из указанных основных панелей выполнена так, чтобы обеспечить доступ к устройству аварийного выхода, хранящемуся внутри указанной полости.
2. Система по п.1, в которой дверь выполнена для установки в здании при помощи по меньшей мере одного шарнира таким образом, чтобы после установки в здании дверь имела возможность поворачиваться горизонтально.
3. Система по п.1, в которой устройство аварийного выхода включает средство хранения, выполненное таким образом, чтобы хранить трос.
4. Система по п.3, в которой средство хранения включает катушку.
5. Система по п.3, в которой средство хранения включает по меньшей мере один держатель, выполненный таким образом, чтобы соединять трос с дверью, при этом по меньшей мере один держатель достаточно прочен для удержания троса, когда трос соединен с дверью в нерабочем состоянии, а когда трос необходим, он легко освобождается из двери.
6. Система по п.1, в которой трос невоспламеняющийся.
7. Система по п.1, в которой по меньшей мере часть одной из указанных основных панелей выполнена с возможностью ее удаления для обеспечения доступа к устройству аварийного выхода.
8. Система по п.1, в которой дверь имеет стандартную глубину.
РИСУНКИ
|
|