|
|
(21), (22) Заявка: 2005100855/14, 17.01.2005
(24) Дата начала отсчета срока действия патента:
17.01.2005
(43) Дата публикации заявки: 20.06.2006
(46) Опубликовано: 20.06.2007
(56) Список документов, цитированных в отчете о поиске:
RU 41257 U1, 20.10.2004. RU 2067442 C1, 10.10.1996. RU 2226116 C2, 27.03.2004. RU 2063253 C1, 10.07.1996. RU 2082459 C1, 27.06.1997. FR 2541902 A, 07.09.1984. US 2002/0026188 A1, 28.02.2002.
Адрес для переписки:
121099, Москва, ул. Новый Арбат, 23, кв.14, С.А. Бит-Алексу
|
(72) Автор(ы):
Бит-Алекс Саргон Алексеевич (RU), Бит-Алекс Нино Саргоновна (RU), Бит-Алекс Алекс Саргонович (RU), Бит-Алекс Нана Саргоновна (RU)
(73) Патентообладатель(и):
Бит-Алекс Саргон Алексеевич (RU), Бит-Алекс Нино Саргоновна (RU), Бит-Алекс Алекс Саргонович (RU), Бит-Алекс Нана Саргоновна (RU)
|
(54) СПОСОБ И АППАРАТ КВЧ-ИК ТЕРАПИИ “ЭЛИКС”
(57) Реферат:
Изобретение относится к области медицинской техники и может быть использовано для профилактических и лечебных применений. Способ КВЧ-ИК терапии включает ввод установочных параметров временных характеристик сеанса, параметров несущих частот и модуляции электромагнитных колебаний КВЧ диапазона и формирование электромагнитных излучений ИК диапазона на поверхность облучения для каждого терминала, установку режимов модуляции каждой несущей частоты и значения постоянного или модулируемого сдвига фаз на одних терминальных разъемах относительно других терминальных разъемов и последовательную генерацию и модуляцию на терминалах электромагнитного излучения КВЧ диапазона на поверхность облучения, при этом дополнительно вводят установочные данные о допустимых расстояниях источников электромагнитного излучения до поверхности облучения и контролируют точность расположения терминала по отношению к поверхности облучения в процессе терапии посредством индикаторов положения или/и ЭВМ. Способ осуществляется посредством аппарата КВЧ-ИК терапии, содержащего блок управления, включающий переключатели времени сеанса, режимов генерации и режимов модуляции, блок формирования и обработки сигналов, соединенный с источником питания и, через соответствующие клеммы терминальных разъемов, – с одним или несколькими терминалами, каждый из которых содержит блок КВЧ-ИК излучения. В блок управления введен блок интерфейса ЭВМ, вход-выход которого подключен к соответствующему выходу-входу блока формирования и обработки сигналов, а в каждый терминал введены блок датчиков отраженных сигналов, входы которого являются входами отраженных сигналов, а выходы подключены к соответствующим клеммам соответствующего терминального разъема, и блок индикаторов положения терминала, входы которого подключены к соответствующим клеммам соответствующего терминального разъема. Использование изобретения позволяет расширить функциональные возможности КВЧ-ИК терапии. 2 н. и 16 з.п. ф-лы, 1 ил.
Изобретение относится к области медицинской техники и может быть использовано для профилактических и лечебных применений.
Известен способ локального воздействия КВЧ ЭМИ двух или более частот одновременно [1] на биологически активные точки (БАТ) или зоны, реализованный в виде комплекса из двух или более одновременно работающих аппаратов КВЧ-терапии, формирующих электромагнитные колебания разных частот КВЧ-диапазона, выходы которых соединены с входами направленного ответвителя, выполненного с возможностью суммирования колебаний, выход которого соединен с согласующим устройством, являющимся выходом комплекса на одну облучаемую точку или зону. Недостатками способа являются ограниченные удобство обслуживания и терапевтические возможности, так как применяется электромагнитное излучение КВЧ одновременно работающих генераторов, облучение биообъекта возможно в единственной точке или по единственной области, не применяется сочетанное воздействие с ЭМИ других диапазонов, не предусмотрено бесконтактное применение, не предусмотрено использование ЭВМ, при том что высоки аппаратурная сложность (необходимость иметь несколько аппаратов КВЧ-терапии и достаточное количество направленных ответвителей) и громоздкость конструкции в целом.
Известен способ лечения, заключающийся в воздействии на биологически активные точки пациента энергией электромагнитных колебаний ИК, КВЧ и НЧ диапазонов частот, и устройство для индивидуального лечения [2], содержащее источник питания, КВЧ-генератор, цилиндрический полый волновод со спиральной внутренней канавкой, на котором установлен металлический сердечник с размещенной внутри него НЧ-катушкой, подключенные к источнику питания НЧ- и ИК-генераторы, последний из которых размещен соосно с диэлектрической заглушкой, и светодиод для индикации настройки частоты КВЧ-генератора. Несмотря на простоту конструкции устройство обеспечивает сочетанное НЧ, КВЧ и ИК терапевтическое воздействие. Недостатками устройства являются ограниченность функциональных возможностей (использование только немодулированного электромагнитного колебания КВЧ, только одной частоты, направляемого только в одну точку биообъекта), не предусмотрено бесконтактное применение и использование ЭВМ.
Известен способ диагностики и лечения, заключающийся в воздействии на биологические объекты энергией постоянного магнитного поля, ультразвуковых и электромагнитных колебаний лазерного, ИК и КВЧ диапазонов частот, и аппарат для диагностики и полифакторной физиотерапии [3], состоящий из комплекта терминалов, соединенных с блоком управления, связанного с персональным компьютером, причем блок управления содержит микроконтроллер, блок переключения режимов работы, блок экспресс-диагностики, блоки индикации и сигнализации, блоки питания и управления для терминалов, а комплект терминалов, используемых контактным способом, включает основной терминал ИК-диапазона, содержащий фотодиод, лазерный и светодиодные излучатели, помещенные в общей зеркально отражающей камере, фотоприемник, фотодиод и источник постоянного магнитного поля, и дополнительные терминалы: экспресс-диагностики, ИК диапазона, лазерные, УЗ диапазона и КВЧ-диапазона, последний выполнен с возможностью обеспечения стандартных режимов облучения на разных частотах с расположением излучателей на разные частоты излучения в одной головке. Аппарат имеет непрерывный и импульсный режимы работы с возможностью установки частоты следования пачек импульсов, количества импульсов в пачке, мощности излучения. Недостатками аппарата являются конструктивная сложность, необходимость высокопрофессионального обслуживания, ограниченность функциональных возможностей (использование только амплитудной манипуляции электромагнитного колебания КВЧ, невозможность одновременного воздействия на одну точку биообъекта совокупностью излучений нескольких частот), не предусмотрено бесконтактное применение.
Наиболее близким по технической сущности к предлагаемому решению является способ лечения, заключающийся в сочетанном воздействии на биообъект энергией электромагнитных колебаний КВЧ и ИК диапазонов частот, и аппарат КВЧ-ИК терапии “ЭЛИКС”, состоящий из блока управления, содержащего переключатель времени сеанса, переключатель режимов генерации, переключатель режимов модуляции, блок формирования сигналов, коммутатор, источник питания и терминальные разъемы, и терминала, содержащего генераторы КВЧ, общий волновод, общий излучатель и плату ИК излучателей. Недостатками аппарата являются ограниченные функциональные возможности, так как не предусмотрено бесконтактное применение аппарата и использование ЭВМ.
Задачей изобретения является расширение функциональных возможностей путем обеспечения бесконтактного применения аппарата и визуализации области облучения при использовании ЭВМ.
Задача решается тем, что в способ КВЧ-ИК терапии, включающий ввод установочных параметров временных характеристик сеанса, параметров несущих частот и модуляции электромагнитных колебаний КВЧ диапазона с учетом постоянного или модулируемого фазового сдвига модулирующих процессов на одних терминальных разъемах относительно других терминальных разъемов, генерацию и формирование электромагнитных излучений (ЭМИ) КВЧ и ИК диапазонов в направлении нормали к поверхности облучения и контактную передачу ЭМИ на поверхность облучения, дополнительно включены бесконтактная передача ЭМИ на поверхность облучения, ввод установочных данных о допустимых расстояниях источника ЭМИ до поверхности облучения и контроль соблюдения допустимых расстояний с применением соответствующих индикаторов или/и ЭВМ в процессе терапии; причем временные характеристики сеанса устанавливают, указывая по меньшей мере время продолжительности сеанса, а при необходимости времена начала и продолжительность перерывов сеанса, ориентированные на конкретного пациента; формируют электромагнитные колебания КВЧ-диапазона на одной или одновременно на нескольких несущих частотах, без модуляции или с модуляцией одной или нескольких несущих частот следующих видов: амплитудная манипуляция “меандр” с частотой преимущественно 8 Гц (либо 16 Гц), амплитудная манипуляция “меандр” с периодом преимущественно 10 мин (5 мин непрерывное колебание, 5 мин пауза), амплитудная манипуляция “меандр” с частотой, изменяющейся циклически преимущественно от 1 до 100 Гц, амплитудная манипуляция “меандр” с частотой, изменяющейся хаотически преимущественно от 1 до 100 Гц; а в аппарат КВЧ-ИК терапии, состоящий из блока управления, содержащего терминальные разъемы, последовательно соединенные источник питания и блок формирования и обработки сигналов, переключатели времени сеанса, режимов генерации и режимов модуляции, выходы которых соединены с соответствующими входами блока формирования и обработки сигналов, другие входы и выходы которого подключены к соответствующим клеммам терминальных разъемов, и терминалов, каждый из которых содержит блок КВЧ-ИК излучения, входы которого подключены к соответствующим клеммам терминального разъема, а контактные выходы являются выходами аппарата, в блоке управления введен блок интерфейса ЭВМ, вход-выход которого подключен к соответствующему выходу-входу блока формирования и обработки сигналов, который выполнен с возможностью такого подключения, а также с возможностями обработки отраженных сигналов и формирования сигналов положения терминала; а в каждый терминал введены блок датчиков отраженных сигналов, входы которого являются входами отраженных сигналов, а выходы подключены к соответствующим клеммам терминального разъема, и блок индикаторов положения терминала, входы которого подключены к соответствующим клеммам терминального разъема, причем контактные выходы блока КВЧ-ИК излучения терминалов выполнены съемными; количество датчиков отраженных сигналов не менее трех и они расположены на терминале с возможностью приема отраженного от поверхности облучения сигнала с максимальной площади поверхности облучения КВЧ-ИК излучателями, а выполнены датчики преимущественно в виде набора фотодиодов, обеспечивающего прием необходимого участка спектра отраженных сигналов, однако некоторые из них или все могут быть выполнены в виде набора миниатюрных видеокамер, обеспечивающего прием необходимого участка спектра отраженных сигналов; индикаторы положения терминала выполнены преимущественно в виде светодиодов, причем количество их не менее трех, а расположены они на терминале с возможностью наблюдения оператором за их состоянием, для чего каждый индикатор расположен на терминале соосно с соответствующим датчиком отраженных сигналов или в центре геометрической фигуры, образованной расположением соответствующей группы датчиков отраженных сигналов; количество терминалов может быть ограничено единственным; интерфейс ЭВМ выполнен преимущественно в стандарте USB.
Технический результат состоит в обеспечении возможности как контактного, так и бесконтактного воздействия на биообъект, в том числе на раневые поверхности и на точки или зоны БАТ, при широком выборе количества терминалов, используемых несущих частот и видов модуляции КВЧ колебаний и их сочетанием воздействии с ИК колебаниями при высокой точности расположения терминалов с контролем посредством индикаторов терминалов или/и ЭВМ.
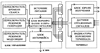
На чертеже изображена структурная блок-схема аппарата КВЧ-ИК терапии.
Аппарат состоит из блока управления, содержащего переключатель 1 времени сеанса, переключатель 2 режимов генерации, переключатель 3 режимов модуляции, блок 4 формирования и обработки сигналов, блок 5 интерфейса ЭВМ, блок 6 питания и терминальные разъемы 7, и терминала, содержащего блок 8 индикаторов положения терминала, блок 9 датчиков отраженных сигналов и блок 10 КВЧ-ИК излучения.
Способ и аппарат КВЧ-ИК терапии реализуются следующим образом. В соответствии с медицинским назначением оператор посредством переключателя 1 времени сеанса устанавливает временные характеристики сеанса, посредством переключателя 2 режимов генерации устанавливает для каждого терминала уровень мощности ИК излучения и количество, уровень мощности и значения несущих частот КВЧ генераторов, посредством переключателя 3 режимов модуляции устанавливает необходимые режимы модуляции каждой несущей частоты и значения постоянного или модулируемого сдвига фаз модулирующих процессов на одних терминальных разъемах относительно других терминальных разъемов (например, в случае использования двух терминалов для облучения противоположных областей биообъекта и необходимости согласования фаз модулирующих сигналов для достижения эффекта амплитудных “качелей”). При этом блоком 4 формирования и обработки сигналов вырабатываются соответствующие сигналы управления и питания для блока 10 КВЧ-ИК излучения, который контактно или бесконтактно передает ЭМИ КВЧ сочетанно с ЭМИ ИК на поверхность облучения. При бесконтактном облучении, например в случае раневой поверхности, часть отраженных от поверхности ЭМИ преобразуются датчиками блока 9 датчиков отраженных сигналов в сигналы, по которым в блоке 4 формирования и обработки сигналов вычисляются расстояния каждого датчика до поверхности облучения, и вырабатываются соответствующие сигналы для блока 8 индикаторов положения терминала, по которым оператор контролирует в процессе терапии точность расположения терминала по отношению к поверхности облучения. Например, если по медицинским показаниям для датчиков отраженных сигналов блока 9 установлены постепенно увеличивающиеся по какому-либо направлению контрольные расстояния от поверхности облучения, то блок 8 индикаторов положения терминала индицирует в качестве правильного (например все индикаторы в максимуме) наклонное положение терминала (что обеспечит уменьшающуюся интенсивность облучения поверхности по этому направлению, соответствующую медицинским показаниям). При подключении к аппарату ЭВМ, например, в виде персонального компьютера посредством удобного “горячего” интерфейса процесс терапии может контролироваться по монитору ПК, снабженного стандартным прикладным графическим программным обеспечением, а при использовании в качестве хотя бы одного из датчиков отраженных сигналов миниатюрной видеокамеры возможно визуальное наблюдение облучаемой поверхности.
Аппарат КВЧ-ИК терапии может быть выполнен из типовых модулей и на доступной элементной базе. Возможны мобильные, настольные или носимые конструкции аппарата. Выполнение блоков определяется их функциональным назначением в аппарате и известно либо очевидно из уровня техники в применяемых временном и частотном диапазонах. Например, конструкции блоков 1, 2, 3, 6, 7 могут совпадать с конструкциями блоков прототипа с теми же номерами. Блок 4 может быть аналогичным по конструкции совокупности блоков 4 и 5 прототипа с дополнением возможностями обработки отраженных сигналов, формирования сигналов положения терминала и подключения интерфейса ЭВМ, что обеспечивается за счет типового программного обеспечения микроконтроллера. Блок 5 может быть выполнен по известным схемам, например на микросхеме FT245AM (FT8U245AM). Блок 10 может совпадать по конструкции с совокупностью блоков 8-11 прототипа с одним или несколькими генераторами КВЧ.
Источники информации
Формула изобретения
1. Способ КВЧ-ИК терапии, включающий ввод установочных параметров временных характеристик сеанса, параметров несущих частот и модуляции электромагнитных колебаний КВЧ диапазона и формирование электромагнитных излучений ИК диапазона на поверхность облучения для каждого терминала, установку режимов модуляции каждой несущей частоты и значения постоянного или модулируемого сдвига фаз на одних терминальных разъемах относительно других терминальных разъемов и последовательную генерацию и модуляцию на терминалах электромагнитного излучения КВЧ диапазона на поверхность облучения, отличающийся тем, что дополнительно вводят установочные данные о допустимых расстояниях источников электромагнитного излучения до поверхности облучения и контролируют точность расположения терминала по отношению к поверхности облучения в процессе терапии посредством индикаторов положения или/и ЭВМ.
2. Способ по п.1, отличающийся тем, что параметры временных характеристик сеанса включают продолжительность сеанса, времена начала и продолжительности перерывов сеанса для конкретного пациента.
3. Способ по п.2, отличающийся тем, что формируют электромагнитные колебания КВЧ диапазона на одной несущей частоте.
4. Способ по п.2, отличающийся тем, что формируют электромагнитные колебания КВЧ диапазона одновременно на нескольких несущих частотах.
5. Способ по п.3 или 4, отличающийся тем, что формируют электромагнитные колебания КВЧ диапазона без модуляции несущих частот.
6. Способ по п.3 или 4, отличающийся тем, что формируют электромагнитные колебания КВЧ диапазона с модуляцией одной или нескольких несущих частот.
7. Способ по п.6, отличающийся тем, что формируют электромагнитные колебания КВЧ диапазона с модуляцией несущих частот одним из следующих видов модуляции:
амплитудная манипуляция “меандр” с частотой 8 Гц, либо 16 Гц;
амплитудная манипуляция “меандр” с периодом 5 мин непрерывное колебание, 5 мин пауза;
амплитудная манипуляция “меандр” с частотой, изменяющейся циклически от 1 Гц до 100 Гц;
амплитудная манипуляция “меандр” с частотой, изменяющейся хаотически от 1 Гц до 100 Гц.
8. Аппарат КВЧ-ИК терапии, содержащий блок управления, включающий переключатели времени сеанса, режимов генерации и режимов модуляции, выходы которых соединены с соответствующими входами блока формирования и обработки сигналов, соединенного с источником питания и, через соответствующие клеммы терминальных разъемов, – с одним или несколькими терминалами, каждый из которых содержит блок КВЧ-ИК излучения, отличающийся тем, что в блок управления введен блок интерфейса ЭВМ, вход-выход которого подключен к соответствующему выходу-входу блока формирования и обработки сигналов, а в каждый терминал введены блок датчиков отраженных сигналов, входы которого являются входами отраженных сигналов, а выходы подключены к соответствующим клеммам соответствующего терминального разъема, и блок индикаторов положения терминала, входы которого подключены к соответствующим клеммам соответствующего терминального разъема.
9. Аппарат по п.8, отличающийся тем, что количество датчиков отраженных сигналов в блоке датчиков составляет не менее трех.
10. Аппарат по п.9, отличающийся тем, что датчики отраженных сигналов расположены на терминале с возможностью приема отраженного от поверхности облучения сигнала с площади поверхности облучения КВЧ-ИК излучателями.
11. Аппарат по п.10, отличающийся тем, что датчики отраженных сигналов выполнены в виде набора фотодиодов.
12. Аппарат по п.10, отличающийся тем, что датчики отраженных сигналов выполнены в виде набора миниатюрных видеокамер.
13. Аппарат по п.11, отличающийся тем, что дополнительно один или несколько датчиков отраженных сигналов выполняют в виде миниатюрных видеокамер.
14. Аппарат по п.8, отличающийся тем, что количество индикаторов положения терминала в блоке составляет не менее трех.
15. Аппарат по п.14, отличающийся тем, что индикаторы положения терминала расположены на терминале с возможностью наблюдения оператором за их состоянием.
16. Аппарат по п.15, отличающийся тем, что каждый индикатор положения терминала расположен на терминале соосно с соответствующим датчиком отраженных сигналов или в центре геометрической фигуры, образованной расположением соответствующей группы датчиков отраженных сигналов.
17. Аппарат по п.16, отличающийся тем, что индикаторы положения терминала выполнены в виде светодиодов.
18. Аппарат по п.8, отличающийся тем, что интерфейс ЭВМ выполнен в стандарте USB.
РИСУНКИ
MM4A – Досрочное прекращение действия патента СССР или патента Российской Федерации на изобретение из-за неуплаты в установленный срок пошлины за поддержание патента в силе
Дата прекращения действия патента: 18.01.2008
Извещение опубликовано: 10.12.2009 БИ: 34/2009
|
|