|
|
(21), (22) Заявка: 2005126818/14, 24.05.2005
(24) Дата начала отсчета срока действия патента:
24.05.2005
(43) Дата публикации заявки: 27.02.2007
(46) Опубликовано: 20.06.2007
(56) Список документов, цитированных в отчете о поиске:
US 4693243 А, 15.09.1987. RU 2219965 С2, 27.12.2003. RU 2150300 C1, 10.06.2000. US 5146916 А, 15.09.1992. US 4417576 А, 29.11.1983.
(85) Дата перевода заявки PCT на национальную фазу:
24.08.2005
(86) Заявка PCT:
RU 2005/000285 (24.05.2005)
(87) Публикация PCT:
WO 2006/126906 (30.11.2006)
Адрес для переписки:
690035, г.Владивосток, а/я 35-94, ООО “Первое частное Приморское патентное агентство”, пат.пов. А.Г.Ермолинскому, рег.№ 626
|
(72) Автор(ы):
Первак Владимир Анатольевич (RU), Первак Константин Анатольевич (RU)
(73) Патентообладатель(и):
Первак Владимир Анатольевич (RU), Первак Константин Анатольевич (RU)
|
(54) АНТИРЕФЛЕКСИВНАЯ ЭНДОТРАХЕАЛЬНАЯ ТРУБКА В.А. ПЕРВАКА
(57) Реферат:
Изобретение относится к области медицины. Антирефлексивная эндотрахеальная трубка позволяет снизить риск токсических реакций организма при применении в процессе интубации трахеи таких высокотоксичных лекарственных средств, как локальные анестетики, при условии обеспечения в необходимой степени возможности купирования патофизиологических реакций организма. Трубка содержит корпус с проксимальным и дистальным концами, надувную манжету, размещенную на дистальном конце корпуса эндотрахеальной трубки, катетер надувной манжетки и устройство орошения лекарственными средствами. Устройство орошения выполнено в виде катетера для подачи лекарственных средств, поперечного кольцевого канала корпуса эндотрахеальной трубки, поперечного кольцевого канала надувной манжетки и продольного канала. В наружной стенке поперечного кольцевого канала корпуса эндотрахеальной трубки выполнены сквозные отверстия. В наружной стенке поперечного кольцевого канала надувной манжетки выполнены сквозные отверстия. Продольный канал соединяет полость поперечного кольцевого канала корпуса эндотрахеальной трубки с полостью поперечного кольцевого канала надувной манжетки. Конструкция устройства позволяет снизить токсическое действие локальных анестетиков. 1 ил.
Заявленное изобретение относится к области медицины, преимущественно к устройствам и приспособлениям для введения лекарств в организм, в частности к эндотрахеальным трубкам.
Известна трубка Ф.Тренделенбурга (Трудности при интубации трахеи / Пер. с англ. М.Н.Селезнева; Под ред. И.П.Лато, М.Роузена. – М.: Медицина, 1989. – 304 с., стр.89-90).
Использование трубки Ф. Тренделенбурга при интубации трахеи вызывает ответные патофизиологические реакции организма.
Известна также трубка Дорранса (Трудности при интубации трахеи/ Пер. с англ. М.Н.Селезнева; Под ред. И.П.Лато, М.Роузена. – М.: Медицина, 1989. – 304 с., стр.90).
Однако использование трубки Дорранса при интубации трахеи также вызывает ответные патофизиологические реакции организма.
Известна также эндотрахеальная трубка Ланца (Трудности при интубации трахеи / Пер. с англ. М.Н.Селезнева; Под ред. И.П.Лато, М.Роузена. – М.: Медицина, 1989. – 304 с., стр.97-99).
Использование эндотрахеальной трубки Ланца при интубации трахеи позволяет незначительно снизить уровень патофизиологических реакций организма ввиду того, что трубка Ланца снабжена регулирующим механизмом, предупреждающим чрезмерное повышение и понижение давления, как в манжетке, так и на стенку трахеи.
Известна герметизирующая манжетка В.А.Первака для эндотрахеальной трубки (Описание изобретения к патенту Российской Федерации №2219965, МПК А61М 16/04, опубл. 27.12.2003 г., бюл. №36). Герметизирующая манжетка В.А.Первака содержит надувную секцию, перфорированную оболочку, охватывающую надувную секцию и прилегающий к ней с противоположного проксимальному концу участок эндотрахеальной трубки, катетер надувной секции и катетер перфорированной оболочки.
Использование герметизирующей манжетки В.А.Первака позволяет значительно снизить уровень патофизиологических изменений организма, как ответных реакций на интубацию трахеи, однако при использовании таких высокотоксичных лекарственных веществ, как локальные анестетики, возникает риск токсических реакций организма в связи с большими объемами лекарственных средств, скапливающихся в пространстве между надувной секцией и охватывающей ее перфорированной оболочкой.
Известна интубационная трубка, включающая приспособление для орошения лекарственными средствами (Описание изобретения к патенту США №5146916, МПК А61М 16/04, МПК А61М 25/10, дата выдачи патента 15.09.1992 г.). Известная интубационная трубка содержит корпус трубки с проксимальным и дистальным концами, надувную манжетку, размещенную на его дистальном конце, катетер надувной манжетки, устройство орошения лекарственными средствами, выполненное в виде катетера для подачи лекарственных средств, двух поперечных кольцевых каналов, размещенных заподлицо в кольцевых канавках корпуса эндотрахеальной трубки один проксимальнее, а второй дистальнее по отношению к надувной манжетке, и оболочки, охватывающей надувную манжетку, причем в наружних стенках поперечных кольцевых каналов и в оболочке, охватывающей надувную манжетку, выполнено множество сквозных отверстий.
По своему функциональному назначению, технической сущности и достигаемому техническому результату известная интубационная трубка с приспособлением для орошения лекарственными средствами наиболее близка к заявленной антирефлексивной эндотрахеальной трубке.
Однако при использовании известной интубационной трубки, включающей приспособление для орошения лекарственными средствами, в случае применения таких высокотоксичных лекарственных веществ, как локальные анестетики, также возникает риск токсических реакций организма в связи с большими объемами поступающих лекарственных веществ через отверстия в стенках кольцевых каналов и отверстия в перфорированной оболочке, охватывающей надувную секцию.
При создании заявленного изобретения ставилась задача снижения риска токсических реакций организма при применении в процессе интубации трахеи таких высокотоксичных лекарственных средств, как локальные анестетики. Указанная задача решалась путем снижения в допустимых пределах общей дозы вводимых лекарственных средств при условии обеспечения в необходимой степени возможности купирования патофизиологических реакций организма.
Поставленная задача реализуется, а указанный технический результат достигается заявленной антирефлексивной эндотрахеальной трубкой, содержащей корпус эндотрахеальной трубки с проксимальным и дистальным концами, надувную манжетку, размещенную на его дистальном конце, катетер надувной манжетки, устройство орошения лекарственными средствами, выполненное в виде катетера для подачи лекарственных средств, поперечного кольцевого канала корпуса эндотрахеальной трубки, размещенного проксимальнее по отношению к надувной манжетке, и оболочки, охватывающей надувную манжетку, причем в наружной стенке поперечного кольцевого канала корпуса эндотрахеальной трубки выполнены сквозные отверстия, при этом оболочка, охватывающая надувную манжетку, выполнена в виде поперечного кольцевого канала надувной манжетки, размещенного в средней части надувной манжетки антирефлексивной эндотрахеальной трубки в плоскости, перпендикулярной продольной оси корпуса эндотрахеальной трубки, а антирефлексивная эндотрахеальная трубка дополнительно снабжена продольным каналом, соединяющим полость поперечного кольцевого канала корпуса эндотрахеальной трубки с полостью поперечного кольцевого канала надувной манжетки, причем в наружной стенке поперечного кольцевого канала надувной манжетки выполнены сквозные отверстия.
Общими существенными признаками заявленной антирефлексивной эндотрахеальной трубки и ее наиболее близкого аналога (прототипа) – интубационной трубки, включающей приспособление для орошения лекарственными средствами, являются:
– антирефлексивная эндотрахеальная трубка;
– корпус эндотрахеальной трубки с проксимальным и дистальным концами;
– надувная манжетка, размещенная на его дистальном конце;
– катетер надувной манжетки;
– устройство орошения лекарственными средствами, выполненное в виде катетера для подачи лекарственных средств, поперечного кольцевого канала корпуса эндотрахеальной трубки, размещенного проксимальнее по отношению к надувной манжетке, и оболочки, охватывающей надувную манжетку;
– в наружной стенке поперечного кольцевого канала корпуса эндотрахеальной трубки выполнены сквозные отверстия.
Существенными признаками, отличающими заявленную антирефлексивную эндотрахеальную трубку от известной интубационной трубки, включающей приспособление для орошения лекарственными средствами, обеспечивающими в совокупности с общими существенными признаками, присущими обеим трубкам, достижение заявленного технического результата (значительное снижение риска токсических реакций организма при применении в процессе интубации трахеи таких высокотоксичных лекарственных средств, как локальные анестетики, путем снижения в допустимых пределах общей дозы вводимых лекарственных средств при условии обеспечения в необходимой степени возможности купирования патофизиологических реакций организма) во всех случаях, на которые распространяется испрашиваемый объем правовой охраны, являются признаки:
– оболочка, охватывающая надувную манжетку, выполнена в виде поперечного кольцевого канала надувной манжетки, размещенного в средней части надувной манжетки антирефлексивной эндотрахеальной трубки в плоскости, перпендикулярной продольной оси корпуса эндотрахеальной трубки;
– антирефлексивная эндотрахеальная трубка снабжена продольным каналом, соединяющим полость поперечного кольцевого канала корпуса эндотрахеальной трубки с полостью поперечного кольцевого канала надувной манжетки;
– в наружной стенке поперечного кольцевого канала надувной манжетки выполнены сквозные отверстия.
Выполнение оболочки, охватывающей надувную манжетку, в виде поперечного кольцевого канала надувной манжетки, размещенного в средней части надувной манжетки антирефлексивной эндотрахеальной трубки в плоскости, перпендикулярной продольной оси корпуса эндотрахеальной трубки, а также снабжение антирефлексивной эндотрахеальной трубки продольным каналом, соединяющим полость поперечного кольцевого канала корпуса эндотрахеальной трубки с полостью поперечного кольцевого канала надувной манжетки, и выполнение в наружной стенке поперечного кольцевого канала надувной манжетки сквозных отверстий позволило значительно снизить в допустимых пределах общие дозы вводимых лекарственных средств, тем самым значительно уменьшить риск токсических реакций организма при применении в процессе интубации трахеи таких высокотоксичных лекарственных средств, как локальные анестетики, и одновременно обеспечить в необходимой степени возможность купирования патофизиологических реакций организма при подаче лекарственных средств в области структур, находящихся выше голосовой щели (корня языка, дужки миндалин, язычка мягкого неба, стенки глотки и др.), то есть позволило обеспечить достижение заявленного технического результата.
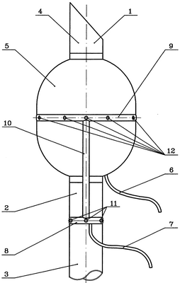
На чертеже схематично изображена заявленная антирефлексивная эндотрахеальная трубка.
Антирефлексивная эндотрахеальная трубка 1 содержит корпус 2 эндотрахеальной трубки с проксимальным 3 и дистальным 4 концами, надувную манжетку 5, размещенную на дистальном конце 4 корпуса 2 эндотрахеальной трубки 1, катетер 6 надувной манжетки 5 и устройство орошения лекарственными средствами, выполненное в виде катетера 7 для подачи лекарственных средств, поперечного кольцевого канала 8 корпуса 2 эндотрахеальной трубки 1, поперечного кольцевого канала 9 надувной манжетки 5 и продольного канала 10.
Поперечный кольцевой канал 8 корпуса 2 эндотрахеальной трубки 1 размещен проксимальнее по отношению к надувной манжетке 5. В наружной стенке поперечного кольцевого канала 8 корпуса 2 эндотрахеальной трубки 1 выполнены сквозные отверстия 11.
Поперечный кольцевой канал 9 надувной манжетки 5 размещен в средней части надувной манжетки 5 антирефлексивной эндотрахеальной трубки 1 в плоскости, перпендикулярной продольной оси корпуса 2 эндотрахеальной трубки 1. В наружной стенке поперечного кольцевого канала 9 надувной манжетки 5 выполнены сквозные отверстия 12.
Продольный канал 10 соединяет полость поперечного кольцевого канала 8 корпуса 2 эндотрахеальной трубки 1 с полостью поперечного кольцевого канала 9 надувной манжетки 5.
Перед использованием антирефлексивной эндотрахеальной трубки 1 проверяют ее внешнее состояние, герметичность надувной манжетки 5 и работу устройства орошения лекарственными средствами пробной подачей лекарственных средств через катетер 7 к поперечному кольцевому каналу 8 корпуса 2 эндотрахеальной трубки 1 и далее через продольный канал 10 к поперечному кольцевому каналу 9 надувной манжетки 5. Качественный распыл лекарственных средств через сквозные отверстия 11 в наружной стенке поперечного кольцевого канала 8 корпуса 2 эндотрахеальной трубки 1 и через сквозные отверстия 12 поперечного кольцевого канала 9 надувной манжетки 5 свидетельствует об исправности устройства орошения лекарственными средствами.
По окончании проверки с положительными результатами антирефлексивную эндотрахеальную трубку 1 дистальным концом 4 вводят в трахею таким образом, чтобы поперечный кольцевой канал 9 надувной манжетки 5 оказался бы дистальнее голосовых связок, а поперечный кольцевой канал 8 корпуса 2 эндотрахеальной трубки 1 находился бы проксимальнее голосовых связок.
После интубации трахеи надувную манжетку 5 раздувают, вводя воздух с помощью шприца по катетеру 6, обеспечивая, таким образом герметизацию трахеи. По катетеру 7 с помощью шприца подают необходимые лекарственные средства к поперечному кольцевому каналу 8 корпуса 2 эндотрахеальной трубки 1 и далее через продольный канал 10 к поперечному кольцевому каналу 9 надувной манжетки 5. Лекарственные средства могут содержать локальные анестетики, репаранты слизистых, антибиотики, антисептики, гормоны, мазевую основу и другие компоненты.
Эти лекарственные средства выходят через сквозные отверстия 11 поперечного кольцевого канала 8 корпуса 2 эндотрахеальной трубки 1 и сквозные отверстия 12 поперечного кольцевого канала 9 надувной манжетки 5, вступают в контакт со слизистой оболочкой трахеи и надсвязочных структур (корня языка, надгортанника) и обеспечивают лечебный эффект.
Подача лекарственных средств к поперечному кольцевому каналу 8 корпуса 2 эндотрахеальной трубки 1 и к поперечному кольцевому каналу 9 надувной манжетки 5 может осуществляться как в ручном, так и в автоматическом режимах, причем эффективность использования заявленной антирефлексивной эндотрахеальной трубки 1 в автоматическом режиме будет значительно выше.
Использование заявленной антирефлексивной эндотрахеальной трубки позволяет снизить риск токсических реакций организма при применении в процессе интубации трахеи таких высокотоксичных лекарственных средств, как локальные анестетики, путем снижения в допустимых пределах общей дозы вводимых лекарственных средств при условии обеспечения в необходимой степени возможности купирования гортанно-глоточных рефлексов, вызывающих гемодинамические и бронхоконстрикторные реакции, обеспечения профилактики и лечения инфекционных поражений в зоне контакта надувной манжетки со слизистой, стимуляции регенеративных свойств эпителия трахеи, профилактики и лечения асептических воспалительных реакций, предупреждения или резкого ослабления рефлекторных реакций, возникающих при раздражении трахеи эндотрахеальной трубкой (местные анестетики), предупреждения или резкого ослабления развития трахеитов, как легких транзиторных (в анестезиологии), так и тяжелых гнойно-некротических (при длительной искусственной вентиляции легких в процессе интенсивной терапии) и исключения неизбежной в настоящее время при длительной искусственной вентиляции легких трахеостомии или, по меньшей мере, отдаления сроков ее проведения.
Все вышеизложенное позволяет сделать вывод о том, что использование заявленной антирефлексивной эндотрахеальной трубки решает поставленную задачу и обеспечивает достижение заявленного технического результата.
Заявленная антирефлексивная эндотрахеальная трубка может успешно использоваться как в качестве эндотрахеальной, так и в качестве трахеостомической и эндобронхиальной трубок.
Формула изобретения
Антирефлексивная эндотрахеальная трубка, содержащая корпус эндотрахеальной трубки с проксимальным и дистальным концами, надувную манжетку, размещенную на его дистальном конце, катетер надувной манжетки, устройство орошения лекарственными средствами, выполненное в виде катетера для подачи лекарственных средств, поперечного кольцевого канала корпуса эндотрахеальной трубки, размещенного проксимальнее по отношению к надувной манжетке, и оболочки, охватывающей надувную манжетку, причем в наружной стенке поперечного кольцевого канала корпуса эндотрахеальной трубки выполнены сквозные отверстия, отличающаяся тем, что оболочка, охватывающая надувную манжетку, выполнена в виде поперечного кольцевого канала надувной манжетки, размещенного в средней части надувной манжетки антирефлексивной эндотрахеальной трубки в плоскости, перпендикулярной продольной оси корпуса эндотрахеальной трубки, а антирефлексивная эндотрахеальная трубка дополнительно снабжена продольным каналом, соединяющим полость поперечного кольцевого канала корпуса эндотрахеальной трубки с полостью поперечного кольцевого канала надувной манжетки, при этом в наружной стенке поперечного кольцевого канала надувной манжетки выполнены сквозные отверстия.
РИСУНКИ
|
|