|
|
(21), (22) Заявка: 2004105112/06, 24.02.2004
(24) Дата начала отсчета срока действия патента:
24.02.2004
(43) Дата публикации заявки: 10.08.2005
(46) Опубликовано: 10.06.2007
(56) Список документов, цитированных в отчете о поиске:
Артоболевский И.И. Механизмы в современной технике. – Наука, 1979, т.1, с.304, рис.596. SU 1490364 А1, 30.06.1989. JP 5187253 А, 27.07.1993. FR 2221031 А, 04.10.1974.
Адрес для переписки:
105173, Москва, пос. Акулово, 15, кв.34, П.А.Гридневу
|
(72) Автор(ы):
Гриднев Петр Алексеевич (RU)
(73) Патентообладатель(и):
Гриднев Петр Алексеевич (RU)
|
(54) ДВИГАТЕЛЬ ВНУТРЕННЕГО СГОРАНИЯ С РЫЧАЖНЫМ МЕХАНИЗМОМ ПРИВОДА
(57) Реферат:
Изобретение относится к области механики. Технический результат заключается в возможности создания двигателя с рычажным механизмом привода. Согласно изобретению двигатель внутреннего сгорания, содержащий поршни и коленчатый вал, помимо ведущего коленчатого вала дополнительно содержит вспомогательный и ведомый коленчатые валы с кривошипами, имеющими одинаковые радиусы вращения. При этом к отдельному кривошипу ведущего коленчатого вала крепится рычаг, к другому концу которого крепится под углом 90° толкатель, передающий усилие на вспомогательный вал, а рядом с ним точно также крепится толкатель ведомого вала. Рычаг жестко соединен с толкателем вспомогательного вала посредством одной или двух штанг, установленных под углом <90°. Кроме того, ведущий и ведомый валы соединяются между собой шестеренной или цепной передачей, образующей обратную связь. 3 ил.
Изобретение относится к области механики.
В основе конструкции применяется двигатель внутреннего сгорания (ДВС), впервые изобретенный Карлом Бенсом в начале 80-х годов 19 века. Почти одновременно с этим в Германии в 1883 году Готлиб Даймлер собрал горизонтальный двигатель с воздушным охлаждением. Он делал 900 оборотов в минуту и представлял собой первый агрегат с такой большой скоростью вращения, предназначавшийся для автомобиля.
Технический результат заключается в создании двигателя с рычажным механизмом привода.
Согласно изобретению двигатель внутреннего сгорания, содержащий поршни и коленчатый вал, помимо ведущего коленчатого вала дополнительно содержит вспомогательный и ведомый коленчатые валы с кривошипами, имеющими одинаковые радиусы вращения. При этом к отдельному кривошипу ведущего коленчатого вала крепится рычаг, к другому концу которого крепится под углом 90° толкатель, передающий усилие на вспомогательный вал, а рядом с ним точно также крепится толкатель ведомого вала. Рычаг жестко соединен с толкателем вспомогательного вала посредством одной или двух штанг, установленных под углом<90°. Кроме того, ведущий и ведомый валы соединяются между собой шестеренной или цепной передачей, образующей обратную связь.
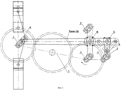
Изобретение поясняется чертежами фиг.1 и фиг.2(а, б), где изображено следующее:
На фиг.1 – общий вид ДВС и рычажного механизма.
На фиг.2 – принципиальная схема двигателя.
На фиг.3 – вариант общей компоновки двигателя.
Поршни ДВС совершают возвратно-поступательное движение в цилиндрах, которые могут иметь любое необходимое расположение, например под углом 180° друг к другу, или только в один ряд. Поршни ДВС связаны шатунами с кривошипами ведущего коленчатого вала 1. Помимо ведущего коленчатого вала 1 двигатель дополнительно содержит ведомый коленчатый вал 2 и вспомогательный коленчатый вал 3. При этом кривошипы ведомого 2 и вспомогательного 3 коленчатых валов имеют одинаковые радиусы вращения, а кривошип ведущего вала 1 может быть выполнен больше кривошипов ведомого 2 и вспомогательного 3 коленчатых валов примерно в 2 раза. Три коленчатых вала (ведущий 1, ведомый 2 и вспомогательный 3) соединены рычагом 4. К ведущему валу 1 рычаг 4 крепится непосредственно к кривошипу в точке А. Усилие от рычага 4 на ведомый 2 и вспомогательный 3 валы передается с помощью толкателей 5, которые шарнирно закреплены под углом 90° к рычагу 4 в точке В для ведомого вала 2 и в точке С для вспомогательного вала 3. При этом расстояние ВС рычага должно быть примерно в два или более раз меньше, чем расстояние АС. Для исключения проворачивания толкателя 5 вспомогательного вала 3 вокруг точки С он жестко крепится к рычагу 4 одной или двумя упорными штангами 6, установленными под углом <90°. Пунктиром на фиг.1 показаны возможные варианты установки вышеуказанных деталей. В конструкции предусматривается возможность применения обратной связи 7 между ведущим 1 и ведомым 2 коленчатыми валами, которая может быть выполнена, например в виде шестеренной или цепной передачи с использованием фрикционных, центробежных или др. муфт. Причем крутящий момент должен передаваться только от ведомого вала 2 к ведущему валу 1.
Формула изобретения
Двигатель внутреннего сгорания, содержащий поршни и коленчатый вал, отличающийся тем, что он помимо ведущего коленчатого вала дополнительно содержит вспомогательный и ведомый коленчатые валы с кривошипами, имеющими одинаковые радиусы вращения, при этом к отдельному кривошипу ведущего коленчатого вала крепится рычаг, к другому концу которого крепится под углом 90° толкатель, передающий усилие на вспомогательный вал, а рядом с ним точно также крепится толкатель ведомого вала, рычаг жестко соединен с толкателем вспомогательного вала посредством одной или двух штанг, установленных под углом <90°, а ведущий и ведомый валы соединяются между собой шестеренной или цепной передачей, образующей обратную связь.
РИСУНКИ
|
|