|
|
(21), (22) Заявка: 2005141733/11, 30.12.2005
(24) Дата начала отсчета срока действия патента:
30.12.2005
(46) Опубликовано: 10.06.2007
(56) Список документов, цитированных в отчете о поиске:
SU 859703 A1, 30.08.1981. SU 625069 A1, 25.09.1978. СПРАВОЧНИК ПО МУФТАМ, ПОЛЯКОВ B.C. – Л.: МАШИНОСТРОЕНИЕ. ЛЕНИНГРАДСКОЕ ОТДЕЛЕНИЕ, 1979, с.87-94. US 4741722 А, 03.05.1988. GB 210354 А, 31.01.1924. SU 502140 A1, 05.02.1976. JP 4157211 A, 29.05.1992.
Адрес для переписки:
644018, г.Омск, 5-я Кордная, 4, ФГУП “НПП “Прогресс”
|
(72) Автор(ы):
Ильичев Валерий Андреевич (RU), Гриценко Григорий Владимирович (RU), Солдатова Лидия Николаевна (RU)
(73) Патентообладатель(и):
Федеральное государственное унитарное предприятие “Научно-производственное предприятие “Прогресс” (ФГУП “НПП “Прогресс”) (RU)
|
(54) ОБОЛОЧКА РЕЗИНОКОРДНАЯ ДЛЯ ВЫСОКОЭЛАСТИЧНОЙ МУФТЫ
(57) Реферат:
Изобретение относится к машиностроению, а именно к упругим резинокордным элементам высокоэластичных муфт и других аналогичных устройств. Резинокордная оболочка для высокоэластичной муфты выполнена в виде диска из резины, армированной перекрещивающимися слоями нитей корда. Резинокордная оболочка выполнена с отверстием в центре диска симметрично оси, проходящей через центр тяжести оболочки и ориентированной перпендикулярно диску. Упомянутая оболочка армирована перекрещивающимися слоями нитей корда, которые направлены от внутреннего диаметра диска к внешнему, при этом смежные слои нитей корда перекрещиваются под углом 15 градусов. А также резинокордная оболочка снабжена бортовыми зонами, представляющими собой утолщение с откосами на внешнем и внутреннем диаметрах для закрепления ее в полумуфтах высокоэластичной муфты. При этом указанные откосы составляют угол 135 градусов относительно плоскости рабочей поверхности. Технический результат заключается в уменьшении осевых габаритов и расширении диапазона угловых и осевых смещений валов муфты. 2 ил.
Изобретение относится к машиностроению, а именно к упругим резинокордным элементам высокоэластичных муфт и других аналогичных устройств, и может быть использовано во всех отраслях промышленности для соединения валов машин и механизмов в условиях повышенных перекосов и смещения осей.
Известен упругий элемент для высокоэластичных муфт, выполненный в виде диска с гофром из резины, армированной перекрещивающимися слоями нитей корда, нити корда расположены несимметрично относительно плоскости радиального сечения элемента (а.с. №859703).
Известен также соединительный элемент упругой муфты, выполненный в виде резинового диска с гофром с расположенными внутри диска металлическими кольцами и армирующими неметаллическими прокладками, огибающими кольца (а.с. №1226923).
Анализ известных аналогов показал, что предлагаемая оболочка при практически одинаковом передаваемом крутящем моменте имеет в три раза меньшую ширину профиля. Это объясняется тем, что аналоги являются диафрагменными оболочками, имеющими криволинейный гофр, а предлагаемая оболочка выполнена плоской и гофра не имеет.
Недостатками указанных упругих элементов являются технологическая сложность изготовления элемента вследствие наличия гофра, а также повышение осевых габаритов муфты из-за наличия гофра и конструкции бортовых зон крепления резинокордных элементов к полумуфтам высокоэластичных муфт.
Целью данного изобретения является устранение указанных недостатков и создание резинокордной оболочки, способной передавать в составе высокоэластичной муфты заданный крутящий момент при возможно меньшей ширине профиля изделия, обусловленной малыми размерами места установки, а также снижение осевых габаритов муфты и расширение диапазона угловых и осевых смещений соединяемых муфтой валов.
Технический результат достигается тем, что резинокордная оболочка для высокоэластичных муфт выполнена в виде диска из резины, армированной слоями нитей корда. Резинокордная оболочка выполнена с отверстием в центре диска симметрично оси, проходящей через центр тяжести оболочки, ориентированной перпендикулярно диску, и армирована перекрещивающимися слоями нитей корда, направленными от внутреннего диаметра диска к внешнему диаметру диска, при этом смежные слои нитей корда перекрещиваются под углом 15 градусов. Кроме того, резинокордная оболочка снабжена бортовыми зонами на внешнем и внутреннем диаметрах для закрепления ее в полумуфтах высокоэластичной муфты. Бортовые зоны выполнены утолщенными с откосами, составляющими угол 135 градусов относительно плоскости рабочей поверхности. Надежность крепления резинокордной оболочки к полумуфте обеспечивается конструкцией бортовой зоны оболочки. Конкретные углы являются оптимальными для достижения заявленного технического результата, поскольку подтверждены стендовыми статическими и ресурсными приемочными испытаниями упругих элементов на основе заявленной резинокордной оболочки для высокоэластичных муфт (Технический отчет № И-99-90, Госрегистрационный №01890057001).
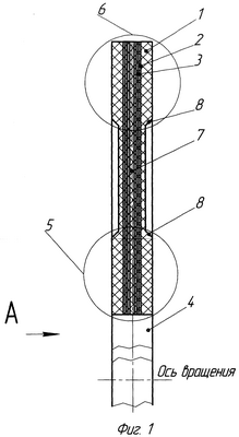
На фиг.1 изображена предлагаемая резинокордная оболочка, общий вид; на фиг.2 – вид А на фиг.1
Резинокордная оболочка выполнена в виде диска из резины 1, армированной перекрещивающимися слоями нитей корда 2, 3. Резинокордная оболочка содержит центральное отверстие 4, внутреннюю бортовую зону 5, внешнюю бортовую зону 6. Переход от бортовых зон к рабочей зоне 7 осуществляется через скосы 8. Нити 9, 10 корда смежных слоев образуют между собой угол . Бортовые зоны резинокордной оболочки могут иметь отверстия 11 для крепления к полумуфтам.
Резинокордная оболочка 1 в составе высокоэластичной муфты работает следующим образом. При работе муфты резинокордная оболочка 1 передает крутящий момент от ведущего вала к ведомому. Резинокордная оболочка 1 крепится в бортовых зонах 5, 6 к соответствующим полумуфтам высокоэластичной муфты. Компенсация угловых и осевых смещений валов реализуется посредством определенного расположения армирующих слоев нитей 9, 10 корда. Скосы 8 бортовых зон 5, 6 обеспечивают предварительное растяжение резинокордной оболочки при установке ее в высокоэластичной муфте, что позволяет избавиться от свободных от напряжения зон при компенсации угловых и осевых смещений валов и тем самым улучшает режим работы высокоэластичной муфты.
Предлагаемая конструкция резинокордной оболочки с предложенными углами пересечения нитей смежных слоев корда позволяет изготовить высокоэластичную муфту с минимальными осевыми габаритами и расширяет эксплуатационные возможности муфты.
Формула изобретения
Резинокордная оболочка для высокоэластичной муфты, выполненная в виде диска из резины, армированной перекрещивающимися слоями нитей корда, имеющая бортовые зоны для крепления к полумуфтам, отличающаяся тем, что эластичный диск выполнен с центральным отверстием симметрично оси, проходящей через центр тяжести оболочки, ориентированной перпендикулярно диску, при этом бортовые зоны для крепления к полумуфтам выполнены утолщенными с откосами, составляющими угол 135° относительно плоскости рабочей поверхности, а перекрещивающиеся слои нитей корда направлены от внутреннего диаметра диска к внешнему диаметру диска, при этом смежные слои нитей корда перекрещиваются под углом 15°.
РИСУНКИ
|
|