|
|
(21), (22) Заявка: 2004125148/11, 11.12.2002
(24) Дата начала отсчета срока действия патента:
11.12.2002
(30) Конвенционный приоритет:
20.03.2002 (пп.1-13) GB 0206550.6
(43) Дата публикации заявки: 10.06.2005
(46) Опубликовано: 10.06.2007
(56) Список документов, цитированных в отчете о поиске:
WO 80/02082 A1, 02.10.1980. SU 566983 A, 07.09.1977. SU 941719 A, 17.07.1982. EP 0609534 A1, 10.08.1994. GB 2177267 A, 14.01.1987.
(85) Дата перевода заявки PCT на национальную фазу:
20.10.2004
(86) Заявка PCT:
GB 02/05624 (11.12.2002)
(87) Публикация PCT:
WO 03/081055 (02.10.2003)
Адрес для переписки:
191036, Санкт-Петербург, а/я 24, “НЕВИНПАТ”, пат.пов. А.В.Поликарпову
|
(72) Автор(ы):
ТЬЮЧЕР Марк (GB), УОЛШ Филип (GB), ФОРРЕСТ Теренс Роберт Фредерик (GB)
(73) Патентообладатель(и):
Джи-И Хелткер Лимитед (GB)
|
(54) ОПОРА ДЛЯ ДЕТАЛИ И РАДИОИЗОТОПНЫЙ ГЕНЕРАТОР, СОДЕРЖАЩИЙ НЕ МЕНЕЕ ОДНОЙ ОПОРЫ ДЛЯ ДЕТАЛИ
(57) Реферат:
Изобретение относится к опоре для детали, которая взаимодействует с другими деталями и подходит для применения в радиоизотопном генераторе. Опора для детали предназначена для применения в радиоизотопном генераторе и содержит фиксатор, установленный на пластину и выполненный с возможностью перемещения между положением зацепления и открытым положением. Опора также содержит стягивающий элемент, механически связанный с фиксатором и выполненный с возможностью предотвращения перемещения фиксатора в открытое положение. Пластина имеет отверстие, расположенное на фиксаторе или рядом с ним и предназначенное для введения стягивающего элемента. Другим объектом изобретения является радиоизотопный генератор, содержащий по меньшей мере одну упомянутую опору для детали. В результате достигается простота конструкции при обеспечении необходимой степени стерильности и радиологической защиты. 2 н. и 11 з.п. ф-лы, 2 ил.
Данное изобретение относится к опоре для детали, которая, взаимодействует с другими деталями, и в частности, но не исключительно, подходит для применения в радиоизотопном генераторе того типа, который обычно используется для создания радиоизотопов, например технеция-99m (99mTc).
Диагностика и/или лечение заболевания в ядерной медицине составляет одно из важнейших применений короткоживущих радиоизотопов. Подсчитано, что в ядерной медицине свыше 90% диагностических процедур во всем мире ежегодно осуществляется с использованием радиоактивных медицинских препаратов, меченных 99мТс. С учетом короткого периода полураспада радиоактивных диагностических медицинских препаратов полезно иметь установку для создания подходящих радиоизотопов на месте. Соответственно, за несколько лет значительно увеличилось внедрение портативных генераторов 99мТс госпитальных/клинических габаритов. Портативные радиоизотопные генераторы применяются для получения более короткоживущего дочернего радиоизотопа, являющегося продуктом радиоактивного распада более долгоживущего материнского радиоизотопа, как правило, адсорбируемого на слое в ионно-обменной колонке. Обычно радиоизотопный генератор содержит экранирующую оболочку вокруг ионно-обменной колонки, содержащей материнский радиоизотоп наряду со средством, предназначенным для элюирования дочернего радиоизотопа из колонки с элюатом, например физиологическим раствором. При использовании элюат пропускают через ионно-обменную колонку, а дочерний радиоизотоп накапливают в растворе с элюатом, который используют по необходимости.
Что касается 99мТс, то этот радиоизотоп является основным продуктом радиоактивного распада 99Мо. Обычно внутри генератора изотоп 99Мо адсорбируется на слое из оксида алюминия и распадается с образованием 99мТс. Поскольку 99мТс имеет относительно короткий период полураспада, то он достигает переходного равновесия внутри ионно-обменной колонки приблизительно через сутки. Соответственно, 99мТс можно ежедневно элюировать из ионно-обменной колонки промыванием ее раствором ионов хлорида, т.е. стерильным физиологическим раствором. При этом создаются условия для ионно-обменной реакции, при которой ионы хлорида замещают 99мТс, а не 99Мо.
В отношении радиоактивных медицинских препаратов весьма желательно, чтобы процесс создания радиоизотопов проходил в стерильных условиях, т.е. в генератор извне не должны проникать бактерии. Кроме того, вследствие радиоактивности используемых и создаваемых генератором изотопов, что чрезвычайно опасно при неправильном обращении с ними, процесс создания радиоизотопов также необходимо осуществлять в условиях радиологической защиты. Естественно, что при осуществлении процесса элюирования желательно, чтобы радиологическая безопасность генератора не нарушалась. В частности, важно поддержание радиологической безопасности генератора при введении элюата внутрь генератора.
Для обеспечения соответствующей радиологической защиты в некоторых общеизвестных радиоизотопных генераторах наблюдается тенденция к усложнению конструкции, включающей значительное количество деталей. Однако радиологическая защита, предоставляемая подобными конструкциями, может быть поставлена под угрозу, если соединение различных деталей ненадежно. Кроме того, подобные сложные конструкции увеличивают стоимость генератора. Таким образом, важно, чтобы реальная конструкция генератора была надежной, а все соединения деталей были закреплены с высокой степенью надежности.
В патенте США №3946238 описан экранированный радиоизотопный генератор, содержащий цилиндрический экранированный корпус, предназначенный для основного контейнера. Контейнер ограничен съемной верхней крышкой и боковыми стенками, а также основанием, которые изготовлены из свинца и выполняют функцию экрана. Внутри контейнера расположен баллон, содержащий ионно-обменную колонку, в которой адсорбируется 99Мо. При необходимости добавления к системе физиологического раствора, создающего условия для элюирования 99мТс, удаляют верхнюю крышку и пипеткой вводят физиологический раствор. Физиологический раствор вводят пипеткой в кольцевое пространство между баллоном и внутренними поверхностями экрана. Из этого кольцевого пространства через ряд радиальных отверстий в стенке баллона физиологический раствор под контролем перетекает в баллон, содержащий ионнообменный слой. Пипетка имеет длинную рукоятку, выполненную таким образом, чтобы руки пользователя при введении физиологического раствора в кольцевое пространство вокруг баллона всегда оставались снаружи генератора. Однако является очевидным, что удаление верхней крышки для введения физиологического раствора создает недопустимую радиологическую опасность, поскольку внутренняя часть основного контейнера является радиоактивной.
В патенте США №3564256 описан радиоизотопный генератор, содержащий быстросоединяемые элементы, предназначенные для процесса элюирования. В состав генератора входит цилиндрический сосуд, содержащий связанное с ионнообменным слоем радиоактивное вещество. Сосуд на обоих концах закрыт резиновыми заглушками и окружен экраном, содержащим напротив каждой из резиновых заглушек каналы, в которые установлены соответствующие иглы. У внешних концов указанных игл имеются быстросоединяемые элементы для обеспечения возможности простого и быстрого подсоединения к одной из игл сосуда в виде шприца, содержащего физиологический раствор, а ко второй из этих игл – собирающего сосуда. При эксплуатации каждую из резиновых заглушек цилиндрического сосуда прокалывают одной из указанных игл для создания условии элюирования 99mTc из ионнообменной колонки. Подходящими быстросоединяемыми элементами, предлагаемыми в данном документе, являются обычные съемные иглы для инъекций, предназначенные для соединений со шприцем.
В патенте США №4387303 описан радиоизотопный генератор, содержащий колонку, имеющую впускное и выпускное отверстия для элюата и содержащую ионно-обменный слой с материнским радиоизотопом. Впускное и выпускное отверстия для элюата сообщаются с каналами, выполненными в окружающем экране. Один из каналов, сообщающийся с выпускным отверстием для элюата, соединен с точкой прокалывания на генераторе посредством трубопровода для элюата. Точка прокалывания выполнена так, что в нее может быть введен вакуумированный флакон для элюата, предназначенный для сбора дочернего радиоизотопа в растворе, и состоит из полой иглы, прокалывающей уплотнение вакуумированного флакона для элюата. Трубопровод для элюата также сообщается с источником стерильного воздуха, а генератор содержит устройство, которое, прежде чем произойдет заполнение флакона для элюата, прерывает процесс элюирования за счет прерывания потока стерильного воздуха. Патент не содержит информации о конструкции генератора и, в частности, о способе закрепления полой иглы в точке прокалывания.
В данном изобретении предпринимается попытка создать опору для детали, которая имеет простую конструкцию, но обеспечивает надежность, более высокую, чем у существующих простых опор для детали, и поэтому особенно пригодную для применения в радиоизотопных генераторах, поскольку существует необходимость в радиоизотопном генераторе, имеющем простую конструкцию, но обеспечивающем необходимую степень стерильности и радиологической защиты.
В соответствии с первым аспектом данного изобретения предлагается опора для детали, предназначенная для применения в радиоизотопном генераторе и содержащая фиксатор, выполненный с возможностью перемещения между положением зацепления и открытым положением, отличающаяся тем, что дополнительно содержит стягивающий элемент, механически связанный с фиксатором и выполненный с возможностью предотвращения перемещения фиксатора в открытое положение.
В предпочтительном варианте выполнения данного изобретения опора для детали может содержать первую пластину с закрепленным на ней фиксатором, которая имеет отверстие для введения стягивающего элемента, расположенное на фиксаторе или рядом с ним. Отверстие в первой пластине в предпочтительном случае является отверстием, расположенным рядом с фиксатором на стороне фиксатора, обращенной в направлении его перемещения из положения зацепления в открытое положение.
Предпочтительней, если отверстие имеет некруглое сечение, а стягивающий элемент имеет соответствующее некруглое сечение. Кроме того, фиксатор может дополнительно иметь кулачковую поверхность, выполненную с возможностью взаимодействия со стягивающим элементом для обеспечения выхода фиксатора из открытого положения.
В более предпочтительном случае опора для детали может также содержать вторую пластину с установленным на ней стягивающим элементом, которая выполнена так, что, при введении стягивающего элемента в отверстие в первой пластине, вторая пластина занимает положение по существу параллельное первой пластине.
Фиксатор в предпочтительном случае имеет L-образную конструкцию, состоящую из стенки и выступающего из нее буртика, кроме того, в предпочтительном варианте выполнения фиксатор имеет второй буртик, расположенный по существу параллельно первому буртику с образованием между ними щели. Предусмотрено, но не является обязательным, что опора для детали имеет по меньшей мере два противолежащих фиксатора и соответствующие стягивающие элементы.
В соответствии со вторым аспектом данного изобретения предлагается радиоизотопный генератор, содержащий по меньшей мере одну вышеописанную опору для детали. Фиксатор генератора может быть установлен на закрывающей пластине генератора, имеющей отверстие для стягивающего элемента, который установлен на крышке генератора таким образом, что при введении стягивающего элемента в отверстие крышка устанавливается выше закрывающей пластины.
Предпочтительно радиоизотопный генератор имеет два фиксатора, выполненных на закрывающей пластине по обеим сторонам центрального отверстия для детали, а крышка также имеет отверстие для детали, совмещаемое с отверстием для детали в закрывающей пластине. Радиоизотопный генератор может также иметь канал для жидкости, содержащий полое, в целом цилиндрическое, тело, и удерживающую пластину, причем для надежного закрепления канала для жидкости на месте полое тело вводится в отверстия для детали в закрывающей пластине и крышке, а удерживающая пластина зажимается в противолежащих фиксаторах.
В предпочтительном варианте выполнения радиоизотопный генератор содержит контейнер, состоящий из стенки и днища, причем ведущее в контейнер отверстие закрыто закрывающей пластиной. При такой компоновке фиксатор расположен на стенке контейнера, закрывающая пластина содержит скобу для взаимодействия с фиксатором и отверстие, расположенное на скобе или рядом с ней, а на крышке имеется стягивающий элемент, выполненный с возможностью его совмещения с фиксатором при введении стягивающего элемента в отверстие в закрывающей пластине, вследствие чего предотвращается перемещение фиксатора в открытое положение.
Теперь только в качестве примера будет описан вариант выполнения данного изобретения со ссылкой на прилагаемые чертежи, на которых:
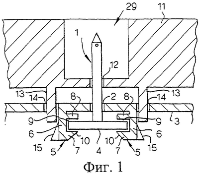
фиг.1 иллюстрирует опору для детали по данному изобретению; и
фиг.2 иллюстрирует радиоизотопный генератор, содержащий опоры для прокалывающих шипов по данному изобретению.
Опора для детали обозначена в целом позицией 29, а деталь, показанная на фиг.1, является шипом 1, выступающим через отверстие 2 в пластине 3 и имеющим плоский элемент 4 основания, который удерживается на месте парой фиксаторов 5. Возможно изменение положения фиксаторов между положением зацепления, в котором они взаимодействуют с плоским элементом основания, и открытым положением, в котором плоский элемент основания не заключен в фиксаторы. Каждый из пары фиксаторов 5 содержит стенку 6, выступающую наружу от поверхности пластины 3 (вниз, как показано на фиг.1 и 2). Каждая из стенок 6 расположена поперек отверстия 2 с отступом от него и диаметрально противоположно друг другу. У свободного конца каждой стенки 6 выполнен буртик 7. Буртики 7 на каждой стенке выступают из стенки в направлении друг к другу по существу параллельно пластине 3. Второй буртик 8, по существу параллельный первому буртику 7, выполнен между первым буртиком 7 и пластиной 3. Таким образом, первый буртик 7 и второй буртик 8 образуют щель, в которую может входить плоский элемент 4 основания.
Пластина 3 в предпочтительном варианте выполнена из твердой пластмассы, а стенки 6 и буртики 7, 8 в предпочтительном варианте отформованы в виде одной детали с пластиной 3. Это приводит к наличию небольшой степени упругости стенок 6 и буртиков 7, 8, достаточной для защелкивания плоского элемента внутри щели 9, ограниченной первым буртиком 7 и вторым буртиком 8. По этой причине, как показано на фиг.1, первый буртик 7 имеет обращенную от пластины 3 кулачковую поверхность 10, которая служит для направления и центровки плоского элемента 4 в направлении щели 9 и для придания небольшой гибкости противоположным стенкам 6, необходимой для обеспечения прохождения плоского элемента 4 через периферию первого буртика 7, после чего стенки 6 опять защелкиваются в положение, в котором плоский элемент 4 располагается и удерживается в щели 9 между первым буртиком 7 и вторым буртиком 8.
Такое защелкивающееся соединение хорошо известно, оно обеспечивает особенно быстрый способ соединения двух элементов (в данном случае – плоского элемента 4 и пластины 3). Однако, тот факт, что для этого способа крепления необходимо наличие небольшой степени гибкости стенок 6, обычно делает такие средства крепления нежелательными в обстоятельствах, требующих высокой надежности крепления. Внешнее усилие, приложенное к пластине 3, способно вызвать такую степень прогиба стенок 6, при которой возможно случайное выскальзывание плоского элемента 4 из щели 9. По этой причине защелкивающееся соединение не рассматривалось в качестве соединения, подходящего для конструкций радиоизотопных генераторов.
Однако опора 29 для детали, показанная на фиг.1 и 2, обеспечивает надежность крепления, значительно превышающую надежность обычных защелкивающихся соединений, что делает опору 29 особенно подходящей для применения в радиоизотопных генераторах. Опора 29 содержит крышку 11, лежащую над пластиной 3. Крышка 11 имеет отверстие 12 для детали, совмещаемое с отверстием 2 в пластине 3. Крышка 11 также имеет пару стягивающих элементов 13, выступающих (в направлении вниз на фиг.1 и 2) из крышки 11. Кроме того, рядом с каждой из стенок 6, на стороне каждой из них, противоположной буртикам 7, 8, в пластине 3 выполнены соответствующие отверстия 14 для стягивающих элементов. Стягивающие элементы 13 на крышке 11 расположены с каждой стороны отверстия 12 с возможностью совмещения с отверстиями 14 в пластине 3. Отверстия 14 для стягивающих элементов имеют размер, обеспечивающий прохождение через них стягивающих элементов 13, и в предпочтительном случае имеют некруглое сечение с возможностью введения стягивающего элемента 13 в отверстие 14. При крышке 11, установленной поверх пластины 3, и стягивающих элементах 13, введенных в отверстия 14, стягивающие элементы 13 механически соединяются со стенками 6 и выступают в роли стяжек для стенок 6, что существенно препятствует изгибу стенок 6 наружу. Таким образом значительно увеличивается надежность опоры 29.
В особенно предпочтительном варианте выполнения каждая стенка 6 и связанный с ней стягивающий элемент 13 имеют взаимодействующие кулачковые поверхности и толкатели. На фиг.1 кулачковая поверхность 15, находящаяся на стенке 6, обращена к стягивающему элементу 13. Это способствует активному взаимодействию стягивающего элемента 13 со стенкой 6, а также принудительному продвижению стенки 6 к плоскому элементу 4, введенному в щель 9, образованную первым и вторым буртиками 7, 8. Это обстоятельство дополнительно повышает надежность крепления детали, обеспечиваемого опорами 29.
Фиг.2 иллюстрирует выполнение опор для деталей в радиоизотопном генераторе 16. Радиоизотопный генератор 16, содержащий наружный контейнер 17, закрывающую пластину 3, называемую здесь верхней пластиной 3, герметично прикрепленную к наружному контейнеру 17, и отдельную верхнюю крышку 11, прикрепленную к наружному контейнеру 17 поверх верхней пластины 3. Внутри наружного контейнера 17 расположен экран 18 радиационной защиты, который в предпочтительном случае, но не обязательно, имеет внутреннюю часть из свинца или обедненного урана, находящуюся внутри кожуха из нержавеющей стали. Экран 18 окружает трубку 19, содержащую ионно-обменную колонку 20. В предпочтительном варианте ионно-обменная колонка 20 состоит из смеси алюминия и диоксида кремния, в которой происходит адсорбция молибдена в виде радиоактивного изотопа 99Мо. Трубка 19, содержащая ионно-обменную колонку 20, имеет, как это показано на чертеже, на противоположных концах 23 и 24 легко разрушаемые резиновые уплотнения 21 и 22, прокалываемые при эксплуатации соответствующими полыми иглами 25 и 26.
Каждая из полых игл 25 и 26 сообщается с соответствующими трубопроводами 27, 28 для жидкости, которые, в свою очередь, сообщаются, соответственно, с впускным отверстием для элюента и выпускным отверстием для элюата. Трубопроводы 27 и 28 выполнены в предпочтительном случае из гибких пластиковых трубок, а в случае трубки 27, которая сообщается с полой иглой 25 в верхней части 23 ионнообменной колонки 20, длина трубки 27 значительно превышает минимальную длину, необходимую для соединения полой иглы 25 с впускным отверстием для элюента.
Верхняя пластина 3 радиоизотопного генератора 16 имеет пару отверстий 2 с выступающими через них соответствующими элементами впуска и выпуска элюента. Каждый из элементов впуска для элюента и выпуска для элюата представляет собой полый шип 1, однако в случае элемента впуска полый шип дополнительно имеет отверстие для впуска профильтрованного воздуха. Полый шип 1 состоит из удлиненного, в целом, цилиндрического тела 31 и кольцевой удерживающей пластины 32, прикрепленной к одному концу тела 31 шипа или отформованной с ним в виде одной детали. Противоположный конец тела 31 острого шипа заострен и имеет отверстие 33, сообщающееся с внутренней частью тела шипа вблизи острия. Этот заостренный конец тела 23 шипа выполнен обеспечением прокалывания герметизирующей мембраны, которой обычно снабжены флаконы для хранения проб. Кольцевая удерживающая пластина 32 образует юбку, выступающую наружу из тела 31 шипа, и может проходить вокруг него непрерывно или с разрывами в виде нескольких отдельных выступов.
Верхняя крышка 11 радиоизотопного генератора 16 также имеет пару отверстий 12, совмещаемых с отверстиями 2 в верхней пластине 3 и имеющих форму, позволяющую телу 31 шипа проходить через них. Таким образом, каждый из полых шипов 1 выполнен так, что его кольцевая удерживающая пластина 32 удерживается и поддерживается фиксаторами 5, расположенными на внутренней стороне верхней пластины 3, в то время как полое тело 31 шипа из наружного контейнера 17 через отверстия в пластине 3 и верхней крышке 11 проходит наружу. Каждое из отверстий 12 в верхней крышке 11 расположено у нижней части колодца 34, имеющего форму, позволяющую размещать и удерживать как флакон 35 для сбора изотопа, так и флакон 36, подающий физиологический раствор. Таким образом, оба флакона 35, 36, размещенные снаружи наружного контейнера 17, не подвергаются излучению, идущему от ионно-обменной колонки 20.
Как описано выше со ссылкой на фиг.1, полые шипы 1 удерживаются на месте опорами 29. Таким образом, тело 31 шипа проходит через совмещенные отверстия в верхней пластине 3 и верхней крышке 11 и прочно закрепляется на месте за счет взаимодействия кольцевой удерживающей пластины 32 со щелью 9, ограниченной первым и вторым буртиками 7, 8 фиксаторов 5. Удерживание пластинки 32 в щели 9 происходит за счет поддерживающего действия стягивающих элементов 13, расположенных снаружи стенок 6 фиксаторов 5, которые по существу предотвращают изгиб стенок 6 наружу.
При создании радиоизотопного генератора 16 тело 31 шипа вводят через отверстие 2 в верхней пластине 3, при этом кольцевая удерживающая пластина 32 входит в контакт с кулачковыми поверхностями 10 на паре противолежащих первых буртиков 7. Дополнительное давление, прилагаемое к удерживающей пластине 32, заставляет стенки 6, поддерживающие первые буртики 7, изгибаться наружу до момента прохождения удерживающей пластиной 32 свободного конца первых буртиков 7. По прохождении удерживающей пластиной 32 первых буртиков 7 внешнее давление на стенки 6 ослабевает, и стенки 6 “защелкиваются”, возвращаясь в свое нормальное положение с установлением удерживающей пластины 32 в щели 9, ограниченной первым и вторым буртиками 7 и 8. Затем поверх верхней пластины 3 располагают верхнюю крышку 11, совмещая отверстия 12 в верхней крышке 11 с телом 31 шипа, а стягивающие элементы 13 – с отверстиями 2 в верхней пластине 3 вблизи каждой из стенок 6. При введении верхней крышки 11 в контакт с верхней пластиной 3 стягивающие элементы 13 проходят через отверстия 2 в верхней пластине 3, располагаясь возле внешних поверхностей стенок 6 и, что является предпочтительным, в контакте с ними. Взаимодействие стягивающих элементов 13 на верхней крышке 11 и стенок 6 верхней пластины 3 обеспечивает надежное закрепление удерживающей пластины 32 полого шипа 1 в щели 9, ограниченной первым и вторым буртиками 7, 8. Затем трубки 27 и 28 присоединяют к полым шипам 1 с обеспечением протекания жидкости и закрывают наружный контейнер 17, прикрепляя к нему верхнюю пластину 3 и верхнюю крышку 11.
При необходимости прикрепления к полому шипу 1 флакона 35 или 36, пользователь помещает легко разрушаемое уплотнение флакона над заостренным концом шипа и толкает флакон вниз в направлении шипа 1. Это вызывает прокалывание уплотнения на флаконе 35 или 36 с созданием сообщения жидкости между острым шипом 1 и флаконом. После прокалывания уплотнения острым шипом 1 флакон продвигают вниз по шипу 1 до тех пор, пока он не остановится и будет удерживаться колодцем 34 в верхней крышке 11.
Для подачи в ионно-обменную колонку 20 ионов хлорида, необходимых для элюирования радиоизотопа, физиологический раствор пропускают через ионно-обменную колонку 20, создавая в ней перепад давления. Это осуществляется подсоединением флакона 36 с физиологическим раствором к впускному отверстию для элюента, которое сообщается с верхним концом 23 ионно-обменной колонки 20 через трубку 27 и полую иглу 25, и подсоединением собирающего вакуумированного флакона 35 к выпускному отверстию для элюата, которое сообщается с нижним концом 24 ионно-обменной колонки 20 через трубку 28 и полую иглу 26. Перепад давления создается за счет гидростатического давления физиологического раствора в подающем флаконе 36 и чрезвычайно низкого давления в вакуумированном собирающем флаконе 35. Это вызывает прохождение к собирающему флакону 35 через ионно-обменную колонку 20 физиологического раствора 37, увлекающего с собой дочерний изотоп.
Опора для детали проста по конструкции, но за счет взаимодействия стягивающего элемента, находящегося на одной пластине со стенкой защелкивающегося элемента, находящегося на другой пластине, обеспечено создание высоконадежной опоры для детали. Хотя в описании упомянута опора для детали, предназначенная для полого шипа, очевидно, что возможно использование предлагаемой опоры с другими деталями, которые предполагается закреплять в защелкивающемся держателе.
Например, возможно использование опоры для детали в качестве средства прикрепления верхней пластины к наружному контейнеру радиоизотопного генератора. В таком устройстве фиксаторы присоединены к внутренним сторонам стенок наружного контейнера. Каждый фиксатор отделен от стенки наружного контейнера перемычкой с образованием пространства для введения скобы между фиксатором и стенкой контейнера. Таким образом, стенка фиксатора, по существу, расположена параллельно стенке контейнера, а щель, образованная парными буртиками, установленными на стенке фиксатора, располагается, по существу, перпендикулярно стенке контейнера. При таком расположении также необходимо, чтобы верхняя пластина имела эквивалентное количество скоб для взаимодействия с соответствующими фиксаторами. В соответствии с этим, при опускании верхней пластины на место, присоединенная по периферии верхней пластины и выступающая из нее вниз скоба взаимодействует с первым из буртиков на фиксаторе. Скоба вынуждает фиксатор изгибаться в сторону от стенки контейнера, увеличивая пространство для введения скобы до момента прохождения этой скобой периферии буртика с защелкиванием фиксатора в улавливающей части скобы в щели, образованной двумя буртиками. Как уже описано выше, стягивающий элемент выступает из верхней крышки с возможностью размещения в отверстии верхней пластины так, что он по-прежнему механически связан с фиксатором и, подпирая его, предотвращает его изгибание.
К числу условий осуществления данного изобретения не относится такое размещение стягивающих средств, когда они, проходя через отверстия верхней пластины, выступают в роли внешнего упора стенки опоры для детали. Например, как вариант, предусматривается, что в стенке опоры для детали имеется глухое отверстие, в которое вводится стягивающее средство, обеспечивающее требуемую улучшенную поддержку фиксатора.
Кроме того, данное изобретение не требует, чтобы пластины опоры для детали имели отверстия, через которые проходит элемент. Вместо этого, элемент может выступать из поверхности первой пластины, несущей стенки опоры для детали (в изображенном варианте выполнения – верхняя пластина 3), причем в этом случае на второй пластине (в изображенном варианте выполнения – верхняя крышка 11) необходимо только совместить стягивающие элементы с отверстиями для стягивающих элементов в первой пластине. Кроме того, хотя выше показаны парные буртики, образующие щель, следует иметь в виду, что возможно образование щели между единственным буртиком и поверхностью первой пластины. Возможны дополнительные и альтернативные признаки данной опоры для детали, которые не выходят за пределы объема правовой охраны изобретения, заявленного в прилагаемой формуле изобретения.
Формула изобретения
1. Опора для детали, предназначенная для применения в радиоизотопном генераторе и содержащая фиксатор, установленный на первую пластину и выполненный с возможностью перемещения между положением зацепления и открытым положением, отличающаяся тем, что она дополнительно содержит стягивающий элемент, механически связанный с фиксатором и выполненный с возможностью предотвращения перемещения фиксатора в открытое положение, при этом первая пластина имеет отверстие, расположенное на фиксаторе или рядом с ним и предназначенное для введения стягивающего элемента.
2. Опора по п.1, отличающаяся тем, что указанное отверстие в указанной первой пластине является отверстием, расположенным рядом с фиксатором на стороне фиксатора, обращенной в направлении его перемещения из положения зацепления в открытое положение.
3. Опора по любому из п.1 или 2, отличающаяся тем, что указанное отверстие имеет некруглое сечение, а указанный стягивающий элемент имеет соответствующее некруглое сечение.
4. Опора по п.1, отличающаяся тем, что указанный фиксатор содержит кулачковую поверхность, выполненную с возможностью взаимодействия со стягивающим элементом для того, чтобы заставить фиксатор выйти из открытого положения.
5. Опора по п.1, отличающаяся тем, что она дополнительно содержит вторую пластину, на которой установлен указанный стягивающий элемент, причем указанная вторая пластина выполнена так, что при введении стягивающего элемента в указанное отверстие в первой пластине она занимает положение, по существу, параллельное указанной первой пластине.
6. Опора по п.1, отличающаяся тем, что указанный фиксатор имеет в целом L-образную конструкцию, состоящую из стенки и выступающего из нее буртика.
7. Опора по п.6, отличающаяся тем, что она дополнительно содержит второй буртик, расположенный, по существу, параллельно первому буртику с образованием между ними щели.
8. Опора по п.1, отличающаяся тем, что она содержит по меньшей мере два противолежащих фиксатора и соответствующие стягивающие элементы.
9. Радиоизотопный генератор, содержащий по меньшей мере одну опору для детали по любому из пп.1-8.
10. Радиоизотопный генератор по п.9, в котором указанный фиксатор установлен на закрывающей пластине генератора и содержит отверстие для помещения указанного стягивающего элемента, установленного на крышке генератора таким образом, что при введении стягивающего элемента в указанное отверстие крышка устанавливается над закрывающей пластиной.
11. Радиоизотопный генератор по п.10, который имеет два фиксатора, выполненных на закрывающей пластине по обеим сторонам центрального отверстия для детали, и в котором крышка также имеет отверстие для детали, совмещаемое с отверстием для детали в закрывающей пластине.
12. Радиоизотопный генератор по п.11, дополнительно содержащий канал для жидкости, содержащий полое, в целом цилиндрическое, тело, и удерживающую пластину, причем для надежного закрепления канала для жидкости на месте полое тело вводится в отверстия в указанной закрывающей пластине и указанной крышке, а указанная удерживающая пластина зажимается в указанных противолежащих фиксаторах.
13. Радиоизотопный генератор по п.9, дополнительно содержащий контейнер, состоящий из стенки и днища, причем ведущее в контейнер отверстие закрыто закрывающей пластиной, фиксатор расположен на указанной стенке контейнера, закрывающая пластина содержит скобу для взаимодействия с указанным фиксатором и отверстие, расположенное на скобе или рядом с ней, а на крышке имеется стягивающий элемент, выполненный с возможностью его совмещения с фиксатором при введении стягивающего элемента в отверстие в закрывающей пластине, вследствие чего предотвращается перемещение фиксатора в открытое положение.
РИСУНКИ
|
|