|
|
(21), (22) Заявка: 2006104633/06, 14.02.2006
(24) Дата начала отсчета срока действия патента:
14.02.2006
(46) Опубликовано: 10.06.2007
(56) Список документов, цитированных в отчете о поиске:
DE 19701879 A1, 23.07.1998. SU 1615435 A1, 23.12.1990. RU 2006658 C1, 30.01.1994. SU 1710814 A1, 07.02.1992. DE 19740026 A1, 13.08.1998. DE 2524856 A1, 22.01.1976. RU 2132480 C1, 27.06.1999. JP 07119584 A, 09.05.1995. JP 04103872 A, 06.04.1992. GB 2316130 A, 18.02.1998.
Адрес для переписки:
394087, г.Воронеж, ул. Мичурина, 1, ВГАУ им. К.Д. Глинки, патентный отдел, Л.В. Балбековой
|
(72) Автор(ы):
Кухарев Михаил Николаевич (RU), Бурдыкин Владимир Дмитриевич (RU), Белоглазов Алексей Валерьевич (RU)
(73) Патентообладатель(и):
Федеральное государственное образовательное учреждение высшего профессионального образования Воронежский государственный аграрный университет им. К.Д. Глинки (RU)
|
(54) ЭЛЕКТРОГИДРАВЛИЧЕСКАЯ ФОРСУНКА ДЛЯ ДИЗЕЛЯ
(57) Реферат:
Изобретение относится к двигателестроению, в частности к аккумуляторным системам подачи топлива. Изобретение позволяет улучшить качество распыливания топлива, повысить экономические, динамические и экологические показатели дизеля, повысить долговечность и надежность форсунок, снизить затраты на техническое обслуживание топливной системы. Электрогидравлическая форсунка для дизеля с аккумуляторной системой подачи топлива содержит корпус с топливоподводящими и сливными каналами, иглу распылителя, распылитель, пружину запирания иглы, мультипликатор запирания, втулку мультипликатора, жиклер камеры гидроуправления, шариковый клапан гидроуправления, шток, якорь, электромагнит, пружину клапана гидроуправления. В форсунке используется центробежно-клапанный распылитель, включающий камеру закручивания, подводящие к ней топливо тангенциальные каналы, запорную конической формы часть иглы распылителя и сопловое отверстие цилиндрической формы. Общая площадь поперечного сечения тангенциальных каналов составляет 0,2…0,3 от площади поперечного сечения соплового отверстия. Отношение диаметра камеры закручивания к диаметру соплового отверстия лежит в пределах 2,0…3,0. 3 ил.
Изобретение относится к двигателестроению, в частности к аккумуляторной системе подачи топлива дизеля.
Из известных наиболее близкой по конструкции является электрогидравлическая форсунка дизеля аккумуляторной системы подачи топлива, содержащая корпус с топливоподающими и сливными каналами, иглу распылителя, распылитель с сопловыми отверстиями, пружину запирания иглы, мультипликатор запирания, втулку мультипликатора, жиклер камеры гидроуправления, шариковый клапан гидроуправления, шток, якорь, электромагнит, пружину клапана гидроуправления (Заявка 19701879 Германия, МПК 6 F02М 63/00, заявл. 21.01.97, публ. 23.07.98 – прототип).
Недостатком известной электрогидравлической форсунки помимо необходимости дальнейшего повышения быстродействия, снижения расхода топлива на управление, демпфирования колебательных процессов подвижных систем и повышения долговечности и надежности является плохое качество распыливания топлива в самом начале и, особенно, в самом конце процесса впрыскивания, связанное с органическим недостатком конструкции закрытых форсунок с многоструйными распылителями, заключающимся в перемещении основного перепада давления топлива из запорной части распылителя в сопловые отверстия в начале впрыскивания и перемещении этого перепада давления из сопловых отверстий в запорную часть распылителя в процессе окончания впрыскивания. Такое перераспределение перепада давлений является основной причиной неудовлетворительного качества распыливания топлива в самом начале и в самом конце процесса впрыскивания. Образующиеся при этом крупные капли и даже подтекание топлива являются основной причиной дымления дизеля и закоксовывания сопловых отверстий форсунок в процессе эксплуатации.
Изобретение решает задачу улучшения качества распыливания топлива во всех фазах процесса впрыскивания, повышения экономических, динамических и экологических качеств дизеля за счет совершенствования смесеобразования и сгорания, повышения долговечности и надежности форсунок и снижения затрат на техническое обслуживание топливной аппаратуры при эксплуатации.
Техническая задача решается за счет того, что в электрогидравлической форсунке для дизеля, содержащей корпус с топливоподводящими и сливными каналами, иглу распылителя, распылитель с сопловым отверстием, пружину запирания иглы, мультипликатор запирания, втулку мультипликатора запирания, жиклер камеры гидроуправления, шариковый клапан гидроуправления, шток, якорь, электромагнит, пружину клапана гидроуправления, согласно изобретению форсунка снабжена центробежно-клапанным распылителем, включающим камеру закручивания, подводящие к ней топливо тангенциальные каналы, запорную конической формы часть иглы распылителя и сопловое отверстие цилиндрической формы.
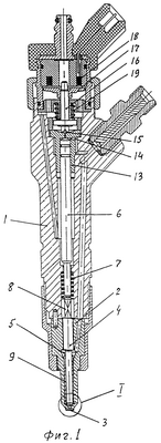
Техническая сущность изобретения поясняется графическими материалами, где:
фиг.1 – заявляемая форсунка, продольный разрез;
фиг.2 – узел 1 на фиг.1;
фиг.3 – разрез А-А узла 1 фиг.2.
Заявляемая электрогидравлическая форсунка для дизеля содержит корпус 1 с размещенными в нем топливоподводящими и сливными каналами и сквозной осевой полостью, закрепленный на корпусе полый распылитель 2 с сопловым отверстием 3, иглу 4, установленную в полости распылителя 2 с образованием подыгольной камеры 5 и сопряженную с несущей частью мультипликатора запирания 6, пружину запирания иглы 7, центрирующую проставку 8, причем между несущей частью иглы 4 и корпусом распылителя 2 размещена втулка распылителя 9, на внешней стороне которой имеются каналы 10, размещенные между боковой поверхностью втулки 9 и корпусом распылителя 2 и подводящие топливо через тангенциальные каналы 11 в камеру закручивания распылителя 12, уплотняющую часть мультипликатора запирания 6, выполненную в виде поршня, диаметр которого превышает диаметр уплотняющей части иглы 4 и который прецизионно установлен во втулке 13 мультипликатора запирания 6 с образованием камеры гидроуправления, жиклер камеры гидроуправления 14, шариковый клапан гидроуправления 15, шток 16, якорь 17, электромагнит 18, пружину клапана гидроуправления 19.
Заявляемая электрогидравлическая форсунка для дизеля работает следующим образом.
При поступлении импульса электрического тока в электромагнит 18 якорь 17 через шток 16 открывает шариковый клапан гидроуправления 15, через который происходит истечение топлива из камеры гидроуправления на слив. Топливо под высоким давлением в подыгольной камере 5 действует на дифференциальную площадку иглы 4, которая перемещается, преодолевая усилие пружины запирания иглы 7 и инерцию мультипликатора запирания 6, и происходит впрыскивание топлива в камеру сгорания дизеля через сопловое отверстие 3. В сопловое отверстие 3 топливо поступает из подыгольной камеры распылителя 5 через каналы 10, выполненные во втулке распылителя 9, тангенциальные каналы 11, выполненные на торцовой поверхности втулки 9, в камеру закручивания 12, где топливо приобретает вращательное движение.
Угловая скорость вращения топлива во время впрыскивания по мере приближения к сопловому отверстию 3 из камеры закручивания возрастает многократно, в результате чего по выходе из соплового отверстия под действием центробежных сил топливо распыливается, образуя полый, конусообразный факел. Заканчивается впрыскивание в момент прекращения подачи электрического тока в электромагнит 18. Под действием усилия сжатия пружины клапана гидроуправления 19 шток 16 прижимает шариковый клапан гидроуправления 15 к своему гнезду во втулке 13 мультипликатора запирания и слив топлива из камеры гидроуправления прекращается, давление топлива в камере гидроуправления растет, так как оно поступает из линии высокого давления через жиклер камеры гидроуправления 14 в камеру гидроуправления. Под действием высокого давления в камере гидроуправления мультипликатор запирания 6 перемещается, воздействуя на иглу 4 распылителя в направлении закрытия форсунки. Впрыскивание топлива в камеру сгорания дизеля прекращается.
В отличие от прототипа в предлагаемой конструкции электрогидравлической форсунки для дизеля аккумуляторной системы подачи топлива при любом положении иглы распылителя и всех фазах процесса впрыскивания перепад давления топлива не меняет своего расположения и дросселирование потока топлива происходит в запорной части распылителя между конической запорной частью иглы и запорной поверхностью корпуса распылителя, причем все впрыскивание от начала и до конца происходит под постоянным, максимальным перепадом давления топлива в корпусе форсунки и газов в камере сгорания дизеля, что обеспечивает достаточно высокое качество распыливания во всех фазах процесса впрыскивания без образования крупных капель плохо распыленного топлива и его подтекания. Большие давления в аккумуляторной системе подачи топлива обуславливают весьма интенсивное вращательное движение топлива в камере закручивания, которое значительно усиливается при прохождении через сопловое отверстие распылителя, и благодаря значительным центробежным силам по выходе из соплового отверстия топливо мелко распыливается и образует широкий, полый факел конической формы с большим углом при вершине. При центральном расположении форсунки относительно цилиндра двигателя такой факел хорошо согласуется с аналогичными формами камер сгорания, которые используются в двигателях с непосредственным смесеобразованием и форсунках с многоструйными распылителями. При соответствующих размерах и форме камеры сгорания предлагаемая конструкция форсунки обеспечивает хорошее смесеобразование и сгорание топлива, повышает экономичность и улучшает экологические качества рабочего процесса дизеля.
При работе дизеля в камере закручивания распылителя топливо постоянно совершает интенсивное вращательное движение с большой угловой скоростью. По закону сохранения момента количества движения во время впрыскивания по мере продвижения вращающегося топлива к сопловому отверстию угловая скорость вращения топлива многократно возрастает за счет уменьшения диаметра потока.
Значительный центробежный эффект обеспечивается благодаря тому, что общая площадь поперечного сечения тангенциальных каналов, от которой зависит интенсивность вращательного движения топлива в камере закручивания, составляет 0,2…0,3 от площади поперечного сечения соплового отверстия, а отношение диаметра камеры закручивания к диаметру соплового отверстия лежит в пределах 2,0…3,0.
Количество тангенциальных каналов выбирается не больше 3, а диаметр камеры закручивания и диаметр соплового канала подбираются для каждого дизеля индивидуально в зависимости от необходимых цикловой подачи топлива и продолжительности впрыскивания.
При использовании предлагаемой конструкции электрогидравлических форсунок можно ожидать в процессе оптимизации параметров снижение давления в аккумуляторе, что может иметь важное значение.
К преимуществам данной конструкции форсунок следует отнести малую вероятность засорения и закоксовывание соплового отверстия при эксплуатации, а также возможность без больших изменений и дополнений использовать уже разработанные и освоенные конструкции электрогидравлических форсунок, так как основные размеры распылителя вполне укладываются в их габариты.
Предлагаемая конструкция электрогидравлической форсунки может оказаться полезной в системах топливоподачи с двухфазным впрыскиванием и, особенно, при многофазной подаче топлива в дизеле.
Формула изобретения
Электрогидравлическая форсунка для дизеля с аккумуляторной системой подачи топлива, содержащая корпус с топливоподводящими и сливными каналами, иглу распылителя, распылитель, пружину запирания иглы, мультипликатор запирания, втулку мультипликатора, жиклер камеры гидроуправления, шариковый клапан гидроуправления, шток, якорь, электромагнит, пружину клапана гидроуправления, отличающаяся тем, что в ней используется центробежно-клапанный распылитель, включающий камеру закручивания, подводящие к ней топливо тангенциальные каналы, запорную конической формы часть иглы распылителя и сопловое отверстие цилиндрической формы, причем общая площадь поперечного сечения тангенциальных каналов составляет 0,2…0,3 от площади поперечного сечения соплового отверстия, а отношение диаметра камеры закручивания к диаметру соплового отверстия лежит в пределах 2,0…3,0.
РИСУНКИ
MM4A – Досрочное прекращение действия патента СССР или патента Российской Федерации на изобретение из-за неуплаты в установленный срок пошлины за поддержание патента в силе
Дата прекращения действия патента: 15.02.2008
Извещение опубликовано: 27.09.2009 БИ: 27/2009
|
|