|
|
(21), (22) Заявка: 2005102047/06, 28.01.2005
(24) Дата начала отсчета срока действия патента:
28.01.2005
(43) Дата публикации заявки: 10.07.2006
(46) Опубликовано: 10.06.2007
(56) Список документов, цитированных в отчете о поиске:
RU 20997575 C1, 20.12.1997. SU 1437530 A1, 15.11.1988. RU 2202406 С2, 12.01.2001. GB 1525021 A, 20.09.1978. DE 4412965 A1, 19.10.1995.
Адрес для переписки:
392032, г.Тамбов, ул. Никифоровская, 38, корп.1, кв.209, Ю.В.Воробьев
|
(72) Автор(ы):
Воробьев Юрий Валентинович (RU), Тетерюков Вячеслав Борисович (RU)
(73) Патентообладатель(и):
Воробьев Юрий Валентинович (RU), Тетерюков Вячеслав Борисович (RU)
|
(54) СПОСОБ И СИСТЕМА ПОЛУЧЕНИЯ И ПОДАЧИ ТОПЛИВНО-ВОДНОЙ ЭМУЛЬСИИ В ДВИГАТЕЛИ ВНУТРЕННЕГО СГОРАНИЯ И УДАЛЕНИЯ ИЗ ШТАТНОЙ ТОПЛИВНОЙ СИСТЕМЫ НЕИСПОЛЬЗОВАННОЙ ТОПЛИВНО-ВОДНОЙ ЭМУЛЬСИИ
(57) Реферат:
Изобретение относится к двигателестроению, в частности к способам и системам получения и подачи топливно-водной эмульсии в штатную систему ДВС. Изобретение позволяет получить топливно-водную эмульсию, пригодную для использования в двигателях без изменения штатной топливной системы. Способ получения и подачи топливно-водной эмульсии в ДВС и удаления из штатной топливной системы неиспользованной топливно-водной эмульсии включает подачу топлива, воды и жидких присадок, их смешивание до получения гомогенной эмульсии, подачу указанной эмульсии в штатную топливную систему. Эмульгирование подаваемых компонентов осуществляется при помощи двух эмульгаторов. Первый эмульгатор работает в режиме всасывания от штатного топливного насоса, а второй работает в режиме нагнетания от того же насоса. На стадии всасывания происходит насыщение потока смешиваемых компонентов атмосферным воздухом, а на стадии нагнетания – вытеснение воздуха. Система получения и подачи топливно-водной эмульсии в ДВС и удаления из штатной топливной системы неиспользованной топливно-водной эмульсии содержит топливный бак, емкость с водой, водяной фильтр, топливный фильтр, дозаторы, штатный топливный насос, подкачивающий насос, первый эмульгатор. Система содержит второй эмульгатор и емкость с присадками. Первый эмульгатор работает в режиме всасывания от штатного топливного насоса, второй эмульгатор работает в режиме нагнетания от того же насоса. Подкачивающий топливный насос осуществляет удаление неиспользованной топливно-водной эмульсии из штатной топливной системы после остановки ДВС и подает чистое топливо в штатную топливную систему при включении зажигания. 2 н. и 5 з.п. ф-лы, 2 ил.
Изобретение относится к двигателям внутреннего сгорания (ДВС), более конкретно к способам и системам получения и подачи топливно-водной эмульсии в штатную топливную систему ДВС.
Как известно, увлажнение топливно-воздушной смеси, подаваемой в цилиндры ДВС, позволяет улучшить экономичность, экологические показатели и температурный режим ДВС, повысить мощность двигателя и способность работать на низкооктановом топливе без детонации, а также способствует очищению камеры сгорания от нагара, что, в свою очередь, снижает вероятность возникновения детонации и перегрева двигателя. Особенно актуальным является использование топливно-водной эмульсии в случае несоответствия топлива ГОСТу и ТУ.
Снижение расхода топлива и улучшение экологических показателей достигается за счет более полного сгорания топлива и воздействия образующегося водяного пара на поршень в качестве дополнительной движущей силы.
Улучшение температурного режима достигается за счет снижения температуры, связанного с испарением водной составляющей эмульсии.
Увеличение мощности обусловлено повышением термического КПД и возможностью увеличения степени сжатия.
Возможность использования низкооктанового топлива при высокой степени сжатия связано с тем, что пары воды подавляют детонацию.
Существует несколько способов увлажнения топливно-воздушной смеси. Известен способ увлажнения топливно-воздушной смеси посредством распыления воды (патент РФ 2092709 от 10.10.97). Недостаток – способ реализуется в виде устройства, встраиваемого в карбюратор, за счет разрежения за дроссельной заслонкой, что не позволяет получать высокодисперсную топливно-водную эмульсию.
Известен способ насыщения топливно-воздушной смеси парами воды, получаемыми за счет тепла выхлопных газов (патент РФ 2136942 от 10.09.99). Недостаток – необходимость применения высокоэффективного парогенератора и относительно низкие энергетические возможности использования паров воды.
Известен способ впрыскивания воды в цилиндр во время рабочего хода поршня (патент РФ 2069274 от 20.11.96). Недостаток – наличие сложного регулирования подачи воды в цилиндры двигателя и отсутствие стадии формирования высокогомогенной топливной смеси.
Известен способ насыщения топливной смеси парами воды за счет предварительного образования воздушно-водной смеси, перевода ее в перегретый пар и всасывания во впускной коллектор (патент РФ 2094642 от 27.10.97). Недостаток – возможность образования избыточного конденсата во впускном коллекторе, что приводит к нестабильности режимных параметров.
Известен способ увлажнения воздуха, подаваемого компрессором, посредством встречных потоков паров воды и воздуха, проходящих через увлажняющее средство (патент РФ 2136041 от 25.02.94). Недостаток – способ применим преимущественно для систем с турбонаддувом.
Общим положительным фактором перечисленных способов является отсутствие избыточного накопления увлажненной топливной смеси, затрудняющего пуск двигателя.
Общим недостатком являются сложные системы получения топливно-водной эмульсии и подачи ее в цилиндры двигателя, требующие применения таких устройств и приемов, как парогенераторы, регуляторы уровня воды, турболизация потоков топливо-воздушной смеси.
Известен также способ подавления детонации подачей во впускной коллектор водного раствора аммиака (патент РФ 2072438 от 27.01.97). Недостаток – аммиак химически агрессивен по отношению к некоторым металлам и приготовление водного раствора аммиака заданной концентрации усложняет подготовку топливной смеси.
Технологически более рациональным является способ получения топливно-водной эмульсии посредством прямого смешивания топлива и воды в определенной пропорции до состояния гомогенной эмульсии и подача этой эмульсии в штатную топливную систему. Кроме того, заявленный способ имеет еще ряд преимуществ, а именно: получаемая топливно-водная эмульсия обладает более высокими энергетическими параметрами за счет практически полного использования возможности силового воздействия на поршень газообразной горючей составляющей эмульсии и паров воды, образующихся в цилиндре; система получения топливно-водной эмульсии легко встраивается в штатную топливную систему; одновременно вместе с водой и топливом можно подавать и эмульгировать другие горючие и негорючие компоненты.
Наиболее близким к заявленному изобретению является способ, содержащийся в патенте РФ 2099575 от 20.12.97, в соответствии с которым получение топливно-водной эмульсии осуществляется в три этапа: первоначально формируется под давлением водно-воздушная смесь, затем указанная смесь и топливо поступают в штатный диспергатор, в котором осуществляется «дробление» воды электрическим разрядом и частичное эмульгирование топливом, и на последнем этапе происходит окончательное эмульгирование топливно-водно-воздушной смеси, поступающей затем к форсункам. Сущность указанного изобретения состоит в том, что в штатную систему топливоподачи между диспергатором и топливным насосом высокого давления устанавливается эмульгатор, система снабжена байпасной линией, обеспечивающей работу двигателя на чистом топливе, диспергирование производится подачей импульсных электрических разрядов на воду. Системы подачи воды в диспергатор и воздухопровода включают гидравлический аккумулятор, воздушный ресивер, газовый редуктор, электромеханический клапан, электромагнитный клапан запирания воды, дозатор воды. Система подачи смеси включает топливные насосы низкого и высокого давления, эмульгатор с приводом, форсунку, установленную в камере сгорания. Излишки топливно-водной эмульсии, скопившиеся в форсунке, поступают в эмульгатор. Так как указанный способ получения топливно-водной эмульсии и система подачи ее в цилиндры двигателя внутреннего сгорания специализированы для дизельных двигателей, штатная система которых включает диспергатор и систему формирования высоковольтного электрического разряда, то эта часть системы частичного эмульгирования топлива в воду не рассматривается. Принципиальная схема топливоподачи посредством рассмотренной системы следующая. Первоначально вода и воздух подаются в гидравлический аккумулятор под давлением, откуда через дозатор водно-воздушная смесь поступает в диспергатор, и одновременно посредством насоса низкого давления в диспергатор поступает топливо. Из диспергатора водно-воздушная смесь, частично эмульгированная топливом, подается в эмульгатор, из которого поступает в насос высокого давления, и далее по топливопроводу высокого давления через форсунку поступает в камеру сгорания. Недостатком системы является то, что она переусложнена дозирующими и управляющими устройствами, в том числе дозированием подачи воздуха в воду под давлением. Кроме того, не содержится сведений о типе эмульгатора, указывается лишь наличие привода.
Рассмотренные способ и система получения и подачи топливно-водной эмульсии и подготовка к пуску двигателей внутреннего сгорания приняты в качестве прототипа.
Целью настоящего изобретения является реализация всех перечисленных преимуществ увлажнения топливно-воздушной смеси посредством прямого смешивания топлива, воды и других горючих и негорючих жидких сред и получения таким образом эмульсии, пригодной для использования во всех двигателях внутреннего сгорания без изменения штатной системы топливоподачи.
Техническая задача – получение топливно-водной эмульсии, основанное на прямом смешивании топлива, воды и возможных сопутствующих жидких присадок и реализация системы, встроенной в штатную систему топливоподачи двигателей внутреннего сгорания и обеспечивающей без специальных управляющих устройств устойчивый пуск двигателя, последующую работу двигателя в установившемся режиме и подготовку к следующему пуску, связанную с возможностью расслоя топливно-водной эмульсии.
Достигаемый технический результат – обеспечение лучших показателей экономичности, экологичности и температурного режима работы двигателя; более широкое использование низкооктанового топлива; простота конструкции и монтажа; применимость для транспортных средств, находящихся в эксплуатации.
Достижение указанного технического результата осуществляется следующим образом.
В способе получения и подачи топливно-водной эмульсии в двигатель внутреннего сгорания (ДВС) и удаления из штатной топливной системы неиспользованной топливно-водной эмульсии, включающем подачу топлива, воды и жидких присадок, их смешивание до получения гомогенной эмульсии, подачу указанной эмульсии в штатную топливную систему, согласно изобретению эмульгирование подаваемых компонентов осуществляется при помощи двух эмульгаторов, первый из которых работает в режиме всасывания от штатного топливного насоса, а второй работает в режиме нагнетания от того же насоса, при этом на стадии всасывания происходит насыщение потока смешиваемых компонентов атмосферным воздухом, а на стадии нагнетания – вытеснение воздуха. После остановки ДВС осуществляется удаление неиспользованной топливно-водной эмульсии из штатной топливной системы при помощи подкачивающего топливного насоса с электроприводом и дренажного устройства, встроенного в указанную топливную систему. Неиспользованная топливно-водная эмульсия после удаления из штатной топливной системы поступает в отстойник, откуда после пуска ДВС посредством всасывания штатным топливным насосом поступает в систему получения и подачи топливно-водной эмульсии. При включении зажигания в штатную топливную систему подается чистое топливо посредством подкачивающего топливного насоса. Подача чистого топлива в штатную топливную систему прекращается по достижении готовности топливно-водной эмульсии к воспламенению.
Система получения и подачи топливно-водной эмульсии в двигатель внутреннего сгорания (ДВС) и удаления из штатной топливной системы неиспользованной топливно-водной эмульсии, содержащая топливный бак, емкость с водой, водяной фильтр, топливный фильтр, дозаторы, штатный топливный насос, подкачивающий насос, первый эмульгатор, согласно изобретению содержит второй эмульгатор, емкость с присадками, при этом первый эмульгатор работает в режиме всасывания от штатного топливного насоса, второй эмульгатор работает в режиме нагнетания от того же насоса, подкачивающий топливный насос, осуществляющий удаление неиспользованной топливно-водной эмульсии из штатной топливной системы после остановки ДВС и подающий чистое топливо в штатную топливную систему при включении зажигания. Система содержит таймер, или термодатчик, или датчик давления, или датчик частоты вращения, а подача чистого топлива в штатную топливную систему прекращается отключением подкачивающего топливного насоса посредством таймера, или термодатчика, или датчика давления, установленного в основном топливопроводе подачи топливно-водной эмульсии, или датчика частоты вращения.
Смешивание компонентов получаемой топливной эмульсии производится в двух статических эмульгаторах лабиринтного типа, что обеспечивает простоту конструкции и малые энергозатраты. Интенсификация процесса достигается тем, что первый эмульгатор устанавливается перед штатным топливным насосом и работает в режиме всасывания и последующего эмульгирования подаваемых компонентов в присутствии атмосферного воздуха. Второй эмульгатор устанавливается за указанным топливным насосом и работает в режиме смешивания, повышая гомогенное качество первичной эмульсии, и нагнетания полученной эмульсии с вытеснением содержащегося в ней воздуха, подаваемой затем в цилиндр. В данном случае, помимо основного процесса смешивания, используется принцип барботажа атмосферным воздухом. Оба эмульгатора имеют на входе три патрубка, два из которых расположены таким образом, что создают в центральной части на входе зону разрежения. В первом эмульгаторе в один из указанных патрубков поступает топливо, в другой – вода. Во втором эмульгаторе в оба патрубка поступает первичная эмульсия. Третий патрубок установлен по оси эмульгаторов и предназначен: в первом эмульгаторе – для подачи других компонентов, например, этилового или метилового спирта, глицерина, водного раствора аммиака, во втором – для усиления циркуляционного движения эмульсии. Выход из каждого эмульгатора осуществляется через патрубок, находящийся на противоположном конце эмульгатора по его оси.
Принцип действия эмульгаторов заключается в разделении поступающих потоков жидкостей на тонкие пересекающиеся струи, чем формируется гомогенная смесь без механического или электрического привода эмульгаторов. Второй эмульгатор и штатный топливный насос дополнительно соединены топливопроводом, вход в который со стороны топливопровода подачи топливно-водной эмульсии расположен после второго эмульгатора, а выход расположен перед указанным насосом. Таким образом, избыточная топливно-водная эмульсия непрерывно циркулирует по замкнутому топливному контуру, проходя многократно через второй эмульгатор перед подачей в штатную топливную систему.
Дополнительно в указанных эмульгаторах могут быть установлены устройства, вызывающие кавитацию.
Взаимодействие полученной эмульсии с воздухом осуществляется в штатных топливных системах без применения специальных устройств. Дозирование компонентов смеси осуществляется жиклерами, подбираемыми по пропускной способности.
Так как получаемая эмульсия в жидкой фазе имеет временной интервал ее годности, исчисляемый несколькими минутами, после чего наступает расслой, то после остановки двигателя эмульсия удаляется из штатной топливной системы путем всасывания. Получение гомогенной топливно-водной смеси, пригодной для воспламенения, также имеет свой временной интервал, поэтому при пуске двигателя в штатную топливную систему подается чистое топливо при отключенной системе подачи эмульсии. Удаление топливно-водной эмульсии и подача чистого топлива осуществляется подкачивающим топливным насосом с электроприводом, включаемым напрямую от аккумулятора после остановки двигателя. Вслед за пуском двигателя отключение указанного топливного насоса осуществляется или посредством таймера, или от датчиков частоты вращения, давления и температуры.
Система приготовления топливно-водной эмульсии монтируется одним блоком или в разветвленном виде в зависимости от возможностей размещения в моторном отсеке.
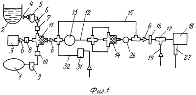
Чертежи, поясняющие изобретение:
фиг.1 – система получения и подачи топливно-водной эмульсии;
фиг.2 – система подачи чистого топлива и удаления из штатной топливной системы неиспользованной топливно-водной эмульсии.
Получение и подача топливно-водной эмульсии осуществляется следующим образом.
Штатный топливный насос 13 при открытых вентиле 4 и электромагнитном клапане 30 прокачивает смешиваемые компоненты из топливного бака 1, емкости с водой 2, емкости с присадками 3 и через водяной фильтр 5, обратные клапаны 6, топливный фильтр 9, дозаторы 7, 8, 10 и первый эмульгатор 11, откуда первоначальная эмульсия поступает в основной топливопровод 12 подачи топливно-водной эмульсии. Полученная первичная эмульсия закачивается во второй эмульгатор 14, снабженный системой циркуляции 15, где происходит окончательное эмульгирование с одновременной подачей эмульсии через электромагнитный клапан 16 в штатную топливную систему 18. В зависимости от расхода изменяется скорость циркуляции многокомпонентной топливной смеси.
Подача чистого топлива и удаление из штатной топливной системы неиспользованной топливно-водной эмульсии осуществляется следующим образом. При включении зажигания срабатывает на открытие электромагнитный клапан 30 и на закрытие – электромагнитный клапан 16. Одновременно включается подкачивающий топливный насос 21 с электроприводом. Указанный подкачивающий топливный насос 21 при открытом электромагнитном клапане 22 по топливопроводу 19 и через врезку 17 подает чистое топливо в штатную топливную систему 18. Излишки топлива по обратному топливопроводу 23 перекачиваются в топливный бак 1. Прямая подача чистого топлива отключается при срабатывании на выключение таймера 24, что рационально при положительной температуре атмосферного воздуха, или при достижении установленной температуры прогрева, фиксируемой термодатчиком 25, или в зависимости от показаний датчика давления 26. Ручное переключение используется как дублирующее.
В момент выключения зажигания от аккумулятора снова запускается подкачивающий топливный насос 21. При закрытых электромагнитных клапанах 16, 20, 22 и при открытом электромагнитном клапане 30 через дренажное устройство 27, установленное во впускном коллекторе, или в топливном колодце, или в поплавковой камере, через врезку 28 и врезку 29 топливно-водная эмульсия перекачивается в отстойник 31, из которого при запуске двигателя поступает в систему получения и подачи топливно-водной эмульсии по топливопроводу 32.
Для реализации указанного способа и указанной системы получения и подачи эмульсии используются элементы, применяемые в карбюраторных, инжекторных и работающих на газовом топливе ДВС. Дополнительно используются только указанные первый и второй эмульгаторы. В качестве примечания следует отметить необходимость замены мелкосетчатых металлических фильтров на фильтры другой конструкции.
Заявляемое изобретение на практике может быть осуществлено как на заводах, так и на малых предприятиях, в том числе в центрах технического обслуживания автомобилей с использованием существующих деталей, материалов и технологий.
Формула изобретения
1. Способ получения и подачи топливно-водной эмульсии в двигатель внутреннего сгорания (ДВС) и удаления из штатной топливной системы неиспользованной топливно-водной эмульсии, включающий подачу топлива, воды и жидких присадок, их смешивание до получения гомогенной эмульсии, подачу указанной эмульсии в штатную топливную систему, отличающийся тем, что эмульгирование подаваемых компонентов осуществляется при помощи двух эмульгаторов, первый из которых работает в режиме всасывания от штатного топливного насоса, а второй работает в режиме нагнетания от того же насоса, при этом на стадии всасывания происходит насыщение потока смешиваемых компонентов атмосферным воздухом, а на стадии нагнетания – вытеснение воздуха.
2. Способ по п.1, отличающийся тем, что после остановки ДВС осуществляется удаление неиспользованной топливно-водной эмульсии из штатной топливной системы при помощи подкачивающего топливного насоса с электроприводом и дренажного устройства, встроенного в указанную топливную систему.
3. Способ по п.2, отличающийся тем, что неиспользованная топливно-водная эмульсия после удаления из штатной топливной системы поступает в отстойник, откуда после пуска ДВС посредством всасывания штатным топливным насосом поступает в систему получения и подачи топливно-водной эмульсии.
4. Способ по п.2, отличающийся тем, что при включении зажигания в штатную топливную систему подается чистое топливо посредством подкачивающего топливного насоса.
5. Способ по п.4, отличающийся тем, что подача чистого топлива в штатную топливную систему прекращается по достижении готовности топливно-водной эмульсии к воспламенению.
6. Система получения и подачи топливно-водной эмульсии в двигатель внутреннего сгорания (ДВС) и удаления из штатной топливной системы неиспользованной топливно-водной эмульсии, содержащая топливный бак, емкость с водой, водяной фильтр, топливный фильтр, дозаторы, штатный топливный насос, подкачивающий насос, первый эмульгатор, отличающаяся тем, что содержит второй эмульгатор, емкость с присадками, при этом первый эмульгатор работает в режиме всасывания от штатного топливного насоса, второй эмульгатор работает в режиме нагнетания от того же насоса, подкачивающий топливный насос осуществляет удаление неиспользованной топливно-водной эмульсии из штатной топливной системы после остановки ДВС, и подает чистое топливо в штатную топливную систему при включении зажигания.
7. Система по п.6, отличающаяся тем, что содержит таймер, или термодатчик, или датчик давления, или датчик частоты вращения, а подача чистого топлива в штатную топливную систему прекращается отключением подкачивающего топливного насоса посредством таймера, или термодатчика, или датчика давления, установленного в основном топливопроводе подачи топливно-водной эмульсии, или датчика частоты вращения.
РИСУНКИ
|
|