|
|
(21), (22) Заявка: 2005138929/06, 15.12.2005
(24) Дата начала отсчета срока действия патента:
15.12.2005
(46) Опубликовано: 10.06.2007
(56) Список документов, цитированных в отчете о поиске:
RU 2258830 C1, 20.08.2004. RU 2028487 C1, 09.02.1995. FR 2696502 A1, 08.04.1994. DE 1298370 A, 26.09.1969. RU 2150597 C1, 10.06.2000. RU 2219440 C2, 20.12.2003. FR 2709342 A1, 03.03.1995.
Адрес для переписки:
119270, Москва, Лужнецкая наб., 2/4, АМНТК “СОЮЗ”
|
(72) Автор(ы):
Белоусов Виктор Алексеевич (RU), Волынкин Сергей Константинович (RU), Демкин Николай Борисович (RU), Шувалов Кирилл Сергеевич (RU), Шепелева Нина Георгиевна (RU), Яковлев Николай Николаевич (RU)
(73) Патентообладатель(и):
Открытое акционерное общество Авиамоторный научно-технический комплекс “СОЮЗ” (RU)
|
(54) ФОРСАЖНАЯ КАМЕРА СГОРАНИЯ ТУРБОРЕАКТИВНОГО ДВИГАТЕЛЯ
(57) Реферат:
Форсажная камера сгорания турбореактивного двигателя содержит последовательно, по направлению потока, расположенные фронтовое устройство с V-образным стабилизатором пламени и центральное тело. Внутри V-образного стабилизатора пламени размещены горелочные устройства, а сам стабилизатор выполнен из двух кольцевых сегментов, отстоящих друг от друга на расстоянии не менее максимальной толщины поперечного сечения центрального тела. Центральное тело содержит неподвижный корпус с плоскими поверхностями с обеих сторон и контактирующие с ними плоские отклоняемые панели, утолщенную закругленную в поперечном сечении входную и клиновидную выходную части. Клиновидная выходная часть и контактирующие плоские поверхности корпуса и отклоняемых панелей покрыты радиопоглощающим материалом. Плоские панели и их шарнирные соединения с корпусом центрального тела выполнены пустотелыми и их привод осуществлен с обеих боковых сторон через пустотелые рессоры. Внутри пустотелого шарнирного соединения каждой панели размещена неподвижная пустотелая цилиндрическая штанга, наружная поверхность которой по подвижной посадке сопряжена с внутренней поверхностью пустотелого шарнирного соединения. Концы каждой пустотелой цилиндрической штанги проходят внутри пустотелых рессор, пилонов и через боковые отверстия в стенке форсажной камеры соединены с трубопроводами подвода охлаждающего воздуха. Шарнирные соединения и цилиндрические штанги снабжены двумя рядами сквозных отверстий, расположенных под углом друг к другу таким образом, что при неотклоненном исходном положении панелей отверстия в штангах и шарнирных соединениях совпадают между собой передними по направлению потока рядами, а задними – не совпадают, и на оборот, при отклоненном положении панелей отверстия совпадают задними рядами, а передними – не совпадают. Внутренняя полость каждой плоской панели, с одной стороны, через сквозные отверстия соединена с внутренней полостью форсажной камеры, а с другой стороны при отклоненном положении панелей соединена через совпадающие отверстия в штанге и шарнирного соединения с внутренней полостью цилиндрической штанги. На внешней поверхности шарнирного соединения каждой панели по всей его длине выполнен тонкостенный экран обтекаемый формы, образующий внутреннюю полость между экраном и внешней поверхностью шарнирного соединения, которая соединена при неотклоненном исходном положении панелей через совпадающие передними рядами отверстий в штанге и шарнирного соединения с внутренней полостью цилиндрической штанги, а противоположная по направлению от шарнирного соединения кромка каждой плоской панели выполнена в форме эллипса и при отклонении панелей проекция обеих панелей на плоскость поперечного сечения камеры представляет собою экран в виде круга. Изобретение повышает надежность работы форсажной камеры сгорания и снижает уровень инфракрасного излучения в задней полусфере двигателя. 8 ил.
Изобретение относится к области авиадвигателестроения, в частности к форсажным камерам сгорания.
Известны форсажные камеры сгорания турбореактивного двигателя, содержащие наружную стенку и последовательно, по направлению потока, расположенные фронтовое устройство с V-образным стабилизатором пламени и центральное тело, внутри V-образного стабилизатора пламени размещены горелочные устройства, а сам стабилизатор выполнен из двух кольцевых сегментов, расположенных перед центральным телом в соответствующей полуокружности поперечного сечения форсажной камеры и отстоящих друг от друга на расстоянии не менее максимальной толщины поперечного сечения центрального тела, центральное тело закреплено на стенке форсажной камеры посредством обтекаемой формы пилонов, связано с трубопроводами охлаждающего воздуха, содержит неподвижный корпус с плоскими поверхностями с обеих сторон и контактирующие с ними плоские отклоняемые панели, утолщенную закругленную в поперечном сечении входную и клиновидную выходную части, отклоняемые панели своей передней стороной закреплены на входной части корпуса с приданием обтекаемой формы центральному телу и посредством шарнирного соединения связаны с приводом для отклонения их от контактирующих плоских поверхностей корпуса, клиновидная выходная часть и контактирующие плоские поверхности корпуса и отклоняемых панелей покрыты радиопоглощающим материалом (см. Патент России №2258830, МПК 7 F02K 3/10, 13.01.2004 г.).
Однако наличие для отклонения панелей в проточной части громоздкой шарнирно рычажной системы приводит к увеличению потерь полного давления в форсажной камере, а следовательно, и к увеличению удельного расхода топлива двигателя в целом. Подача охлаждающего воздуха через отверстия в плоских стенках центрального тела практически не охлаждает плоские панели в отклоненном состоянии и, тем самым, снижает их надежность и уменьшает эффект снижения уровня инфракрасного излучения в задней полусфере двигателя.
Задачей изобретения является достижение оптимального сочетания надежной работы форсажной камеры, величины гидравлических потерь и эффективности снижения уровня инфракрасного излучения в задней полусфере двигателя.
Указанный технический результат достигается тем, что форсажная камера сгорания турбореактивного двигателя содержит наружную стенку и последовательно, по направлению потока, расположенные фронтовое устройство с V-образным стабилизатором пламени и центральное тело, внутри V-образного стабилизатора пламени размещены горелочные устройства, а сам стабилизатор выполнен из двух кольцевых сегментов, отстоящих друг от друга на расстоянии не менее максимальной толщины поперечного сечения центрального тела, центральное тело закреплено на стенке форсажной камеры посредством обтекаемой формы пилонов, связано с трубопроводами охлаждающего воздуха, содержит неподвижный корпус с плоскими поверхностями с обеих сторон и контактирующие с ними плоские отклоняемые панели, утолщенную закругленную в поперечном сечении входную и клиновидную выходную части, отклоняемые панели своей передней стороной закреплены на входной части корпуса посредством шарнирного соединения с приданием обтекаемой формы центральному телу и связаны с приводом для отклонения их от контактирующих плоских поверхностей корпуса, клиновидная выходная часть и контактирующие плоские поверхности корпуса отклоняемых панелей покрыты радиопоглощающим материалом, при этом плоские панели выполнены пустотелыми и их привод осуществлен с обеих торцевых боковых сторон через пустотелые рессоры, проходящие через боковые отверстия в стенке форсажной камеры и пилоны, каждая рессора одним своим концом соединена с приводом, например, гидроцилиндром, а другим, например, через шлицевое соединение, – с сопрягаемым кронштейном, закрепленным на торцевой боковой стороне панели, внутри пустотелого шарнирного соединения каждой панели размещена неподвижная пустотелая цилиндрическая штанга, наружная поверхность которой по подвижной посадке сопряжена с внутренней поверхностью пустотелого шарнирного соединения, концы каждой пустотелой цилиндрической штанги проходят внутри пустотелых рессор, пилонов и через боковые отверстия в стенке форсажной камеры соединены с трубопроводами подвода охлаждающего воздуха, отбираемого, например, от компрессора двигателя, при этом шарнирные соединения и цилиндрические штанги по всей ширине отклоняемых панелей снабжены двумя рядами сквозных отверстий, расположенных под углом друг к другу таким образом, что при неотклоненном исходном положении панелей отверстия штанги и шарнирного соединения совпадают между собой передними рядами, а при отклоненном положении панелей- задними рядами, внутренняя полость каждой плоской панели с одной стороны через сквозные отверстия, выполненные на внутренней поверхности и радиопоглощающем материале, соединена с внутренней полостью форсажной камеры, а с другой стороны при отклоненном положении панелей соединена через совпадающие отверстия в штанге и шарнирном соединении с внутренней полостью цилиндрической штанги, кроме того, на внешней поверхности шарнирного соединения каждой панели на всю ее ширину выполнен тонкостенный экран обтекаемый формы с образованием внутренней полости между экраном и внешней поверхностью шармирного соединения, которая соединена при неотклоненном исходном положении панелей через совпадающие отверстия в штанге и шарнирного соединения с внутренней полостью цилиндрической штанги, причем противоположная в направлении от шарнирного соединения кромка каждой плоской панели выполнена в форме эллипса, а при отклонении панелей проекция обеих панелей на плоскость поперечного сечения камеры представляет собою экран в виде круга.
Сущность изобретения поясняется чертежами.
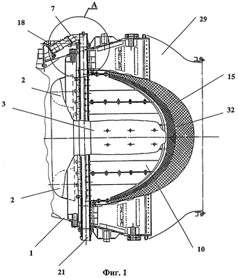
На фиг.1 представлен разрез форсажной камеры сгорания турбореактивного двигателя в исходном не отклоненном положении плоских панелей центрального тела.
На фиг.2 представлен элемент “А” форсажной камеры в увеличенном масштабе, поясняющий подвод охлаждающего воздуха к центральному телу и привод отклонения плоских панелей пустотелыми рессорами через шлицевые соединения с сопрягаемыми кронштейнами, закрепленными на боковых сторонах плоских панелей.
На фиг.3 представлен вид с боку на разрез форсажной камеры в исходном положении отклоняемых плоских панелей центрального тела.
На фиг.4 представлен вид с боку на разрез форсажной камеры с отклоненным положением плоских панелей центрального тела.
На фиг.5 представлен элемент “Б” фиг.4 входной части плоского тела в исходном положении отклоняемых плоских панелей, поясняющий связь внутренних полостей цилиндрических штанг и пустотелых шарниров с внутренними полостями между экранами и внешними поверхностями шарнирного соединения и путь поступления охлаждающего воздуха на охлаждение центрального тела.
На фиг.6 представлен элемент “Г” фиг.5 входной части плоского тела в отклоненном положении плоских панелей, поясняющий связь внутренних полостей цилиндрических штанг и пустотелых шарниров с внутренними полостями пустотелых панелей и путь поступления охлаждающего воздуха через отверстия на внутренних стенках панелей и через отверстия на радиолокационных покрытиях во внутреннюю полость форсажной камеры.
На фиг.7 представлен вид по стрелке “В” фиг.3 форсажной камеры сгорания, поясняющее расположение кольцевых сегментов V-образного стабилизатора пламени и центрального тела с пилонами относительно друг друга в исходном положении панелей.
На фиг.8 представлен вид по стрелке “Д” фиг.4 форсажной камеры сгорания, поясняющее расположение проекции плоских панелей на поперечное сечение форсажной камеры сгорания при отклонении панелей на заданный угол от исходного положения с образованием маскирующего экрана в виде круга.
Форсажная камера турбореактивного двигателя содержит наружную стенку 1, фронтовое устройство с V-образным стабилизатором 2 пламени, центральное тело 3, горелочные устройства 4, размещенные в кольцевых сегментах 5 стабилизатора 2 пламени, пилоны 6, трубопроводы 7 подвода охлаждающего воздуха, корпус 8 центрального тела с плоскими поверхностями 9, плоские отклоняемые панели 10 с утолщенной закругленной формой входной 11 и клиновидной выходной 12 частями и шарнирным соединением 13, связанным с приводом 14 отклонения панелей, радиопоглощающий материал 15, боковые стороны 16 панелей, пустотелые рессоры 17, гидроцилиндры 18, шлицевое соединение 19, кронштейны 20, цилиндрические пустотелые штанги 21, ряды сквозных отверстий 22, 23 на шарнирных соединениях 13 и 24, 25 на пустотелых цилиндрических штангах 21, внутренние полости 26 плоских панелей, сквозные отверстия 27 на внутренних поверхностях панелей и 28 – на радиопоглощающем материале, внутреннюю полость форсажной камеры 29, тонкостенные экраны 30, внутренние полости 31 между экранами и внешними поверхностями шарнирного соединения, противоположные кромки 32 панелей и проекция обеих панелей на плоскость поперечного сечения камеры, образующих маскирующий экран 33 в виде круга.
При работе двигателя на эксплуатационных режимах охлаждающий воздух, отбираемый, например, от компрессора двигателя, по трубопроводам 7 постоянно поступает в пустотелые цилиндрические штанги 21. При исходном неотклоненном положении плоских пустотелых панелей 10 от плоских поверхностей 9 неподвижного корпуса 8 центрального тела 3, закрепленного посредством пилонов 6 на наружной стенке 1 форсажной камеры, передние ряды отверстий 22 в штагах 21 совпадают с передними рядами 24 пустотелых шарнирных соединений 13, охлаждающий воздух из внутренних полостей цилиндрических штанг 21 поступает во внутренние полости 31 тонкостенных экранов 30 и, обтекая и охлаждая внешние поверхности центрального тела 3, попадает в форсажную камеру сгорания, смешивается с газами в камере сгорания и через выходное устройство выбрасывается в атмосферу.
На режимах малой заметности, когда требуется снижение уровня инфракрасного излучения и радиолокационного отражения, при поступлении из системы управления (на чертеже условно не показано) управляющего сигнала в гидроцилиндры 18, штоки гидроцилиндров 18, перемещаясь, поворачивают привод 14, под действием которого через шлицевые соединения 19 поворачиваются кронштейны 20, закрепленные на боковых сторонах 16 панелей 10, отклоняют их на потребный угол. Потребный угол определяется расчетным или экспериментальным путем из условия получения приемлемых потерь полного давления в камере и обеспечения одновременно эффективного снижения уровня инфракрасного излучения и радиолокационного отражения в задней полусфере двигателя. При повороте на потребный угол от исходного положения плоских панелей 10 от корпуса 8 центрального тела 3 противоположные по направлению от шарнирных соединений 13 криволинейные кромки 32 в виде эллипса панелей 10 образуют маскирующий экран 33 в виде круга. Одновременно при отклонении на потребный угол панелей 10 задние ряды отверстий 23 в штагах 21 совпадают с задними рядами 25 пустотелых шарнирных соединений 13 и охлаждающий воздух из внутренних полостей цилиндрических штанг 21 поступает во внутренние полости 26 панелей 10 и далее через сквозные 27 на внутренних поверхностях панелей 10 и сквозные отверстия 28 на радиопоглощающем материале 15 охлаждает плоские панели 10, попадает в форсажную камеру, образует защитный слой холодного воздуха около панелей 10, смешивается с газами в форсажной камере сгорания и через выходное устройство выбрасывается в атмосферу. Таким образом, взаимодействие охлажденных поверхностей панелей 10, образующих маскирующий экран 33 в виде круга и выходящего из них холодного воздуха, закрывают видимость горячих частей двигателя со стороны задней полусферы двигателя снижают уровень инфракрасного излучения. При вхождении радиолокационного сигнала от локатора со стороны задней полусферы двигателя, он попадает на радиопоглощающий материал 15, нанесенный на поверхностях плоских панелей 10, на клиновидной выходной части 12 и на контактирующих плоских поверхностях 9 корпуса 8 центрального тела 3, и если поглощается ими не полностью, то уже ослабленный сигнал, неоднократно попадая и отражаясь от радиопоглощающего материала на панелях 10, на плоских поверхностях 9 и на клиновидной выходной части 12, конструктивно расположенных по углами друг к другу, полностью гасится и не возвращается на локатор.
В тех случаях, когда снижение инфракрасного излучения и радиолокационного отражения не требуется, привода 14 приводят в действие пустотелые рессоры 17, плоские панели возвращаются в исходное положение, образуя при этом вместе с входной и клиновидной выходной частями 11 и 12 и корпусом 8 обтекаемой формы центральное тело 3 с подачей охлаждающего воздуха на наружную поверхность и двигатель работает как обычно на всех остальных эксплуатационных режимах.
Осуществление привода плоских отклоняемых с обеих боковых сторон через пустотелые рессоры позволяет вывести из газового потока проточной части камеры сгорания шарнирно рычажные приводные устройства, уменьшить гидравлические потери в камере и тем самым улучить удельные параметры двигателя.
Выполнение плоских отклоняемых панелей и их шарнирных соединений с корпусом пустотелыми и размещение внутри пустотелого шарнирного соединения каждой панели неподвижной пустотелой цилиндрической штанги позволяют подводить охлаждающий воздух из внутренней полости цилиндрических штанг или во внутренние полости, образованные тонкостенными экранами и внешней поверхностью шарнирных соединений при исходном неотклоненном положении панелей, или при отклоненном положении панелей через сквозные отверстия на внутренних поверхностях и радиопоглощающем материале с внутренней полостью форсажной камеры, что позволяет подводить охлаждающий воздух или на охлаждение центрального тела при положении панелей в исходном положении, или при отклоненном положении панелей дополнительно охлаждать их и создавать завесу охлаждающего воздуха за панелями по потоку, что в итоге повышает эффективность работы устройства защиты и снижает уровень инфракрасного излучения в задней полусфере двигателя.
Выполнение противоположных кромок по направлению от шарнирных соединений плоских панелей в форме эллипса позволяет придать обтекаемую форму центральному телу при исходном неотклоненном положении панелей, что уменьшает гидравлические потери по тракту камеры и массу, а при отклонении панелей на заданный угол проекция обеих панелей на плоскость поперечного сечения камеры образует маскировочный экран в виде круга, что позволяет практически перекрыть всю видимость горячих частей двигателя со стороны задней полусферы двигателя, тем самым снизить уровень инфракрасного излучения и при этом образовать вокруг себя кольцевой канал для протока газа.
Такое выполнение форсажной камеры сгорания турбореактивного двигателя с маскирующим экраном посредством совмещения его функций с использованием радиопоглощающего материала и одновременной подачей охлаждающего воздуха обеспечивает эффективное снижение уровня инфракрасного излучения и радиолокационного отражения в задней полусфере двигателя, а следовательно, и одновременное оптимальное сочетание надежной работы форсажной камеры сгорания, улучшения удельных параметров, снижения величин гидравлических потерь и массы двигателя в целом.
Формула изобретения
Форсажная камера сгорания турбореактивного двигателя, содержащая наружную стенку и последовательно по направлению потока расположенные фронтовое устройство с V-образным стабилизатором пламени и центральное тело, внутри V-образного стабилизатора пламени размещены горелочные устройства, а сам стабилизатор выполнен из двух кольцевых сегментов, отстоящих друг от друга на расстоянии не менее максимальной толщины поперечного сечения центрального тела, центральное тело закреплено на стенке форсажной камеры посредством обтекаемой формы пилонов, связано с трубопроводами охлаждающего воздуха, отбираемого, например, от компрессора двигателя, содержит неподвижный корпус с плоскими поверхностями с обеих сторон и контактирующие с ними плоские отклоняемые панели, утолщенную закругленную в поперечном сечении входную и клиновидную выходную части, отклоняемые панели своей передней стороной закреплены на входной части корпуса посредством шарнирного соединения с приданием обтекаемой формы центральному телу и связаны с приводом для отклонения их от контактирующих плоских поверхностей корпуса, клиновидная выходная часть и контактирующие плоские поверхности корпуса и отклоняемых панелей покрыты радиопоглощающим материалом, при этом плоские панели и их шарнирные соединения с корпусом центрального тела выполнены пустотелыми и их привод осуществлен с обеих боковых сторон через пустотелые рессоры, которые проходят через боковые отверстия в стенке форсажной камеры, и пилоны, и соединены одними концами с приводом, например гидроцилиндром, а другими, например, через шлицевое соединение – с сопрягаемыми кронштейнами, закрепленными на боковых сторонах панелей, внутри пустотелого шарнирного соединения каждой панели размещена неподвижная пустотелая цилиндрическая штанга, наружная поверхность которой по подвижной посадке сопряжена с внутренней поверхностью пустотелого шарнирного соединения, концы каждой пустотелой цилиндрической штанги проходят внутри пустотелых рессор, пилонов и через боковые отверстия в стенке форсажной камеры соединены с трубопроводами подвода охлаждающего воздуха, при этом шарнирные соединения и цилиндрические штанги по длине, равной ширине отклоняемых панелей, снабжены двумя рядами сквозных отверстий, расположенных под углом друг к другу таким образом, что при неотклоненном исходном положении панелей отверстия в штангах и шарнирных соединениях совпадают между собой передними по направлению потока рядами, а задними – не совпадают, и наоборот, при отклоненном положении панелей отверстия совпадают задними рядами, а передними – не совпадают, внутренняя полость каждой плоской панели с одной стороны через сквозные отверстия, выполненные на внутренней поверхности и радиопоглощающем материале, соединена с внутренней полостью форсажной камеры, а с другой стороны при отклоненном положении панелей соединена через совпадающие отверстия в штанге и шарнирного соединения с внутренней полостью цилиндрической штанги, кроме того, на внешней поверхности шарнирного соединения каждой панели по всей его длине выполнен тонкостенный экран обтекаемой формы, образующий внутреннюю полость между экраном и внешней поверхностью шарнирного соединения, которая соединена при неотклоненном исходном положении панелей через совпадающие передними рядами отверстий в штанге и шарнирного соединения с внутренней полостью цилиндрической штанги, причем противоположная по направлению от шарнирного соединения кромка каждой плоской панели выполнена в форме эллипса, и при отклонении панелей проекция обеих панелей на плоскость поперечного сечения камеры представляет собою экран в виде круга.
РИСУНКИ
|
|