|
|
(21), (22) Заявка: 2004106224/06, 02.03.2004
(24) Дата начала отсчета срока действия патента:
02.03.2004
(43) Дата публикации заявки: 10.08.2005
(46) Опубликовано: 10.06.2007
(56) Список документов, цитированных в отчете о поиске:
RU 2220301 C2, 27.12.2003. RU 2066379 C1, 10.09.1996. RU 2076216 С1, 27.03.1997. SU 2472 А, 31.03.1927. GB 396369 А, 03.08.1933. GB 2149006 А, 05.06.1985. GB 104695 А, 12.04.1917. US 4185597 А, 29.01.1980. US 4332229 А, 01.06.1982. US 912751 А, 16.02.1909. US 976858 А, 29.11.1910. DE 583813 А, 09.09.1933. DE 4337670 A1, 18.05.1995.
Адрес для переписки:
450062, г.Уфа, ул. Кольцевая, 3/1, кв.73, Е.А. Наумкину
|
(72) Автор(ы):
Ахметов Сафа Ахметович (RU), Ишмияров Марат Хафизович (RU), Ахметов Салават Сафаевич (RU), Кузеев Искандер Рустемович (RU), Наумкин Евгений Анатольевич (RU)
(73) Патентообладатель(и):
Ахметов Сафа Ахметович (RU), Ишмияров Марат Хафизович (RU), Ахметов Салават Сафаевич (RU), Кузеев Искандер Рустемович (RU), Наумкин Евгений Анатольевич (RU)
|
(54) УСТРОЙСТВО ТОПЛИВНО-УНИВЕРСАЛЬНОГО ЭКОЛОГИЧЕСКИ ЧИСТОГО ДВИГАТЕЛЯ ВНУТРЕННЕГО СГОРАНИЯ С ДВУХТАКТНЫМ РАБОЧИМ ЦИКЛОМ
(57) Реферат:
Изобретение относится к поршневым двигателям внутреннего сгорания с двухтактным рабочим циклом. Технический результат заключается в возможности создания простого по конструкции устройства экологически безопасного и топливно-универсального двигателя с высокой удельной мощностью и низким удельным расходом топлива. Согласно изобретению двигатель содержит поршневой нагнетатель воздуха двойного действия, который обеспечивает подачу воздуха в камеру сгорания в обоих тактах рабочего цикла двигателя. Поршень нагнетателя воздуха расположен соосно с рабочим поршнем в одном общем цилиндре и жестко соединен с ним штоком. Камеры нагнетания воздуха разделены друг от друга перегородкой, выполненной в виде втулки и содержащей каналы, сообщающие верхнюю и нижнюю камеры нагнетателя воздуха с камерой сгорания. Шток, соединяющий поршни, выполнен в виде плунжера, который размещается в канале втулки и содержит отверстия в средней части для перепуска сжатого воздуха из верхней и нижней камер нагнетателя воздуха в камеру сгорания. 1 з.п. ф-лы, 1 ил.
Изобретение относится к конструкциям поршневых двигателей внутреннего сгорания (ПДВС), используемых в качестве силовых установок во всех видах транспорта – автомобильном, воздушном, железнодорожном, морском и речном, также в сельскохозяйственных и строительных машинах, электростанциях, мотоциклах, нефтяной и газовой промышленностях и других гражданских и военных отраслях народного хозяйства во всех странах мира.
Известны ПДВС следующих типов, отличающихся:
1) по способу образования топливовоздушной смеси:
– с внешним смесеобразованием (карбюраторные) и
– с раздельным смесеобразованием (впрыском топлива);
2) по принципу зажигания топливо-воздушной смеси:
– с принудительным воспламенением (бензиновые) и
– с самовоспламенением от сжатия (дизельные);
3) по числу тактов рабочего цикла:
– четырехтактные и
– двухтактные;
4) по способу подачи воздуха в цилиндр:
– без наддува (всасом) и
– с наддувом от внешнего нагнетателя;
5) по способу охлаждения:
– водяного и
– воздушного.
Они состоят из цилиндра, поршня, камеры сгорания, коленчатого вала, шатуна, газораспределительного механизма с впускными и выпускными клапанами, маховика, систем подачи топлива, электрообеспечения, пуска, охлаждения и смазки.
Бензиновые ПДВС дополнительно состоят из карбюратора или устройств непосредственного (электронного) впрыска топлива и свечи зажигания, а дизельные – из топливного насоса высокого давления и распылительных форсунок (Хачиян А.С. и др. Двигатели внутреннего сгорания. – М.: Высш. школа, 1985, – 311 с.)
Бензиновые ПДВС имеют следующие недостатки:
– они предъявляют исключительно высокие эксплуатационные и экологические требования к качеству топлив, прежде всего к их фракционному и углеводородному составам. Нормальный бездетонационный режим горения и топливная экономичность достигаются применением высокооктановых бензинов, состоящих преимущественно из детонационностойких ароматических и изоалкановых углеводородов, для производства которых на НПЗ требуются дорогостоящие многостадийные каталитические процессы, такие как каталитический риформинг, алкилирование, изомеризация и другие, что уменьшает без того ограниченные ресурсы топлив и удорожает их производство и, кроме того, являющимися экологически токсичными по содержанию бензола, суммы ароматических и олефиновых углеводородов (Гуреев А.А., Фукс И.Г., Лашхи В.Л. Химмотология. – М.: Химия, 1986, – 368 с.);
– продукты сгорания бензинов, выбрасываемые в атмосферу, особенно двухтактными ПДВС, содержат в значительных количествах токсичные вещества, такие как оксид углерода (угарный газ), оксиды азота и несгоревшие углеводороды (бензол, формальдегид, ацетальдегид и др.) (Магарил Е.Р. Эксплуатационные и экологические свойства топлив для автомобильных двигателей. Екатеринбург: Урал Наука, 1999, – 176 с.).
Существенными недостатками дизельных ПДВС являются:
– большая их удельная масса, обусловливаемая проведением процесса горения топлива при высоких давлениях и степенях сжатия воздуха ( =16-28);
– приспособленность дизелей к топливам с высокой самовоспламеняемостью, состоящим преимущественно из парафинонафтеновых углеводородов с цетановым числом 40-50 и с температурными пределами выкипания 200-360°С;
– в выпускных газах дизелей из токсичных компонентов главное место занимают оксиды азота (55-85% от суммарного индекса токсичности), не поддающиеся нейтрализации в каталитических окислительных нейтрализаторах.
Общим недостатком ПДВС является приспособленность их к топливам только одного типа, т.е. их монотопливность, что вынуждает производителей топлив выпускать десятки различных их марок, что в свою очередь существенно удорожает производство и снабжение потребителей моторных топлив.
Как наиболее важным недостатком из выше перечисленных, являющимся причиной лавинообразно возрастающего глобального экологического кризиса, следует признать недопустимо высокую токсичность выбросов ПДВС. По этой причине в настоящее время для производителей автотранспортных средств приняты жесткие экологические требования по нормам токсичности типа Евро I-IV. Первопричиной высокой токсичности выпускных газов дизелей является проведение процесса горения топлива с избытком воздуха (при коэффициенте избытка воздуха =1,1-1,5), при высоких давлениях и температурах (соответственно 35-40 кгс/см2, 500-700°С в конце такта сжатия и 80-150 кгс/см2 и 1800-2000°С после самовоспламенения рабочей смеси), термодинамически и кинетически благоприятствующих образованию оксидов азота и, что положительно, более полному сгоранию топлива с незначительным образованием оксида углерода, тем самым повышению топливной экономичности двигателя. Чрезмерно жесткий термобарический режим в такте сжатия дизелей обусловливается повышенной температурой самовоспламеняемости дизельного топлива.
В отличие от дизелей воспламенение рабочей смеси в бензиновых двигателях осуществляется принудительно искровым зажиганием при менее жестком термобарическом режиме в конце такта сжатия: при давлении 6-10 кгс/см2 и температуре 350-500°С. Первопричиной токсичности выпускных газов двигателей с искровым зажиганием является неполный дожиг топлива с образованием оксида углерода и несгоревших углеводородов в результате проведения процесса бездетонационного горения рабочей смеси без достаточного избытка воздуха следующего состава: =0,7-0,9 на режиме полной нагрузки и 0,9-1,15 на малых и средних нагрузках двигателя, т.е. топливовоздушной (т.в.) смеси состава, соответствующего верхним и нижним пределам воспламенения бензиновоздушной смеси.
Известны также ПДВС с наддувом – подачей в камеру сгорания в такте всаса сжатого воздуха, применяемым для повышения удельной мощности двигателя. Однако наддув практически не оказывает влияния на экологические характеристики выпускных газов двигателей.
Известно сложное по конструкции устройство двухтактного ПДВС с нагнетателем двойного действия для подачи в камеру сгорания дополнительного заряда топливовоздушной смеси и тем самым обеспечивающим увеличение удельной мощности двигателя (Скрипов Ю.Н. Патент РФ №2066379 «Двухтактный двигатель внутреннего сгорания», опубликованный 10.09.1996, Бюл. №25). Однако в нем не обеспечиваются топливные универсальность и экономичность, а также экологичность отработавших газов.
Известен топливно-универсальный и экологичный четырехтактный ДВС с искровым зажиганием с внешним поршневым нагнетателем воздуха для осуществления двухстадийного сгорания топливовоздушной смеси, разработанный В.М.Кушулем (Кушуль В.М. Знакомьтесь – двигатель нового типа. – Л.: Судостроение, 1966, 120 с.). Существенными недостатками двигателя Кушуля В.М. являются усложнение его конструкции, удвоение требуемого количества цилиндров с поршнями и кривошипно-шатунными механизмами и увеличение объема и массы двигателя.
Ближайшим к изобретению по технической сущности прототипом является универсальный экологичный четырехтактный ДВС, предложенный Ахметовыми С.А. и С.С. (Ахметов С.А., Ахметов С.С., Патент РФ №2220301 «Устройство универсального экологически чистого поршневого двигателя внутреннего сгорания», опубл. 27.12.2003, Бюл. №36).
Двигатель содержит поршневой нагнетатель воздуха двойного действия, который обеспечивает подачу воздуха в камеру сгорания во всех четырех тактах рабочего цикла. Поршень нагнетателя воздуха расположен соосно с рабочим поршнем в одном общем цилиндре и жестко соединен с ним штоком, а камеры воздухонагнетателя разделены друг от друга перегородкой. Перед концом такта сжатия в нагретый от сжатия в камере сгорания воздух впрыскивается в топливо, не имеющее ограничений по детонационной стойкости и воспламеняемости, с образованием богатой топливовоздушной смеси, которая воспламеняется от свечи зажигания и полностью сгорает без детонации и образования токсичных газов при непрерывной подаче в камеру сгорания сжатого воздуха. Недостатком ПДВС по прототипу является проведение его рабочего цикла с излишне обильным расходом воздуха, на сжатие которого расходуется часть полезной мощности двигателя, а также применение усложненной системы газо- и воздухораспределения между камерой сгорания и воздухонагнетательными (ВН) камерами.
Достигаемый в четырехтактном двигателе по прототипу полезный технический результат (топливная универсальность, высокая удельная мощность и др.) можно существенно улучшить без ухудшения его экологичности применением его конструктивного аналога с двухтактным рабочим циклом.
Задачей предлагаемого изобретения является создание более простого по конструкции и в обслуживании устройства экологически чистого, топливно-универсального и топливно-экономичного двухтактного двигателя с высокой удельной мощностью, малыми габаритами и массой.
Указанный технический результат достигается тем, что предложенное устройство содержит цилиндр, основной (рабочий) поршень двойного действия, дополнительный поршень, жестко соединенный с рабочим поршнем соосно штоком, камеру сгорания, две ВН камеры, перегородку, изолирующую их друг от друга, свечу зажигания, форсунку, шатун, коленчатый вал, маховик, системы подачи топлива, электрообеспечения, смазки, пуска и охлаждения. В отличие от прототипа в предложенном устройстве перегородка, изолирующая ВН камеры друг от друга, выполнена в виде втулки, которая содержит вертикальный сквозной шлифованный канал, в котором размещен шток-плунжер, совершающий возвратно-поступательные движения от кривошипно-шатунного механизма, выполненный в виде шлифованной снаружи трубки с открытым и закрытым концами со стороны соответственно камеры сгорания и картерной камеры и с отверстиями в средней его части. Кроме того, втулка содержит боковые каналы для перепуска через отверстия плунжера сжатого воздуха из верхней и нижней ВН камеры в камеру сгорания. На стенке цилиндра на уровне чуть выше НМТ для рабочего поршня имеется окно для выпуска отработавших газов. Головка содержит впускной патрубок с обратным клапаном для продувки камеры сгорания и наполнения ее воздухом.
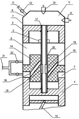
Принципиальная схема устройства предлагаемого ДВС с двухтактным рабочим циклом показана на чертеже. Оно состоит из цилиндра 1 с выпускным окном 2, рабочего поршня 3, дополнительного поршня нагнетателя воздуха 4, камеры сгорания 5, верхней и нижней ВН камер 6 и 7, головки цилиндров 8 с расположенными на ней форсункой 9, свечой зажигания 10, впускным патрубком 11, обратным клапаном 12, шатуна 13 и из не показанных на чертеже коленчатого вала, систем подачи топлива с насосом высокого давления, смазки, пуска, охлаждения и маховика, и согласно изобретению содержит перегородку-втулку 14 с каналами 15 и 16, шток-плунжер 17с отверстиями 18 и 19, размещенный в канале 20 перегородки-втулки 14, воздуховсасывающий коллектор с патрубками 21 с обратными клапанами 22.
Устройство работает следующим образом. При возвратно-поступательном движении поршней 3 и 4 осуществляется поочередное наполнение ВН камер 6 и 7 воздухом и вытеснение его в следующем такте в камеру сгорания 5 либо через канал 15 или через канал 16 в перегородке-втулке 14 и далее отверстие 18 или 19 штока-плунжера 17, а также выпуск отработавших газов через окно 2 в атмосферу.
Рабочий цикл двигателя состоит из периодически повторяющихся следующих двух тактов: такта сжатия воздуха, впрыска топлива с нагнетанием (наддувом) дополнительного заряда воздуха, воспламенения топливно-воздушной смеси от свечи зажигания и такта с рабочим циклом, выпуском отработавших газов, продувкой и наполнением рабочего цилиндра воздухом.
I. В первом такте при движении рабочего поршня 3 от НМТ к ВМТ происходит: 1) всасывание воздуха в верхнюю ВН камеру 6; 2) одновременное сжатие воздуха в камере сгорания 5 и нижней ВН камере 7; 3) непрерывное вытеснение воздуха из нижней ВН камеры 7 в камеру сгорания 5 через канал 15 в перегородке-втулке 14 в результате более интенсивного нарастания давления в камере 7 (поскольку в ней степень сжатия (  ) значительно выше, чем в камере сгорания); 4) перед концом сжатия насосом высокого давления и форсункой особой конструкции 9 (топливно-воздушного впрыска) осуществляется впрыск топлива в нагретый от адиабатического сжатия воздух с образованием богатой тонкодиспергированной топливно-воздушной смеси ( 0,7-0,9) и воспламенение ее свечой зажигания 10 за 10-15° о.к. в. до прихода рабочего поршня к ВМТ.
II. Во втором такте при движении рабочего поршня 3 от ВМТ к НМТ происходит: 1) всасывание воздуха в нижнюю ВН камеру 7; 2) после воспламенения богатая топливно-воздушная смесь быстро сгорает, в результате резко повышаются температура, а также давление газов над рабочим поршнем, которое передается на поршень, перемещая его от ВМТ к НМТ, тем самым совершается полезная работа; 3) в результате расширения объема рабочего цилиндра давление над поршнем 3 постепенно снижается, а в верхней ВН камере 6 – наоборот, интенсивно повышается от сжатия воздуха; 4) после выравнивания давлений в обеих камерах осуществляется вторая ступень процесса горения топливно-воздушной смеси в результате перепуска воздуха в камеру сгорания 5 из верхней ВН камеры 6 через канал 16 перегородки-втулки 14 и отверстие 19 плунжера 17; 5) вторая ступень горения происходит при интенсивном и непрерывном нагнетании (наддува) воздуха и обеднении рабочей смеси, при этом в результате полного и бездетонационного догорания продуктов первой ступени горения, содержащих в значительных количествах оксида углерода и несгоревших углеводородов, температура и давление над рабочим поршнем 3 вновь повышаются; 6) не доходя до НМТ поршня 3 открывается выпускное окно 2 цилиндра и отработавшие газы двигателя выбрасываются в атмосферу; 7) одновременно с выпуском осуществляется вытеснение остаточных продуктов сгорания (продувка) и наполнение рабочего объема цилиндра и камеры сгорания воздухом через впускной патрубок 11.
Работа поршневого двигателя с нагнетателем воздуха двойного действия в двухтактном режиме позволяет:
1) увеличить по сравнению с двух- и четырехтактными ДВС с одним поршнем мощность и крутящий момент предлагаемого двигателя более чем соответственно в 2 и 4 раза;
2) использовать в качестве горючего бензиновые, керосиновые и дизельные топлива и их смеси без ограничений и детонационной стойкости и воспламеняемости, а также альтернативные топлива (сжатый или сжиженный природные газы, водород, спирты и эфиры) и, что исключительно важно, значительно упростить технологию переработки углеводородного сырья и удешевить производство и увеличить ресурсы моторных топлив;
3) существенно оздоровить воздушный бассейн городов и сел;
4) отказаться от применения каталитических нейтрализаторов отработавших газов двигателя.
Формула изобретения
1. Устройство топливно-универсального экологически чистого поршневого двигателя внутреннего сгорания с двухтактным рабочим циклом, содержащее цилиндр, рабочий поршень двойного действия и дополнительный воздухонагнетательный поршень, соединенные между собой соосно в цилиндре штоком, камеру сгорания, две воздухонагнетательные камеры, перегородку, головку цилиндров, впускной патрубок, свечу зажигания, форсунку, воздуховсасывающий коллектор, шатун, коленчатый вал, маховик, системы подачи топлива, электрообеспечения, смазки, пуска и охлаждения, отличающееся тем, что перегородка, изолирующая воздухонагнетательные камеры друг от друга, выполнена в виде втулки, содержащей вертикальный сквозной и боковые каналы, сообщающие верхнюю и нижнюю воздухонагнетательные камеры с камерой сгорания.
2. Устройство по п.1, отличающееся тем, что шток, жестко соединяющий рабочий и дополнительный воздухонагнетательные поршни друг с другом, выполнен в виде размещенного в вертикальном канале втулки плунжера, содержащего отверстия в средней части для перепуска сжатого в верхней и нижней воздухонагнетательной камерах воздуха в камеру сгорания.
РИСУНКИ
MM4A – Досрочное прекращение действия патента СССР или патента Российской Федерации на изобретение из-за неуплаты в установленный срок пошлины за поддержание патента в силе
Дата прекращения действия патента: 03.03.2007
Извещение опубликовано: 10.04.2009 БИ: 10/2009
|
|