|
| На основании пункта 3 статьи 13 Патентного закона Российской Федерации от 23 сентября 1992 г. № 3517-I патентообладатель обязуется передать исключительное право на изобретение (уступить патент) на условиях, соответствующих установившейся практике, лицу, первому изъявившему такое желание и уведомившему об этом патентообладателя и федеральный орган исполнительной власти по интеллектуальной собственности, – гражданину РФ или российскому юридическому лицу. |
|
(21), (22) Заявка: 2005139002/06, 15.12.2005
(24) Дата начала отсчета срока действия патента:
15.12.2005
(46) Опубликовано: 10.06.2007
(56) Список документов, цитированных в отчете о поиске:
SU 666279 А1, 05.06.1979. SU 1437517 A1, 15.11.1988. RU 2062889 C1, 27.06.1996. SU 1544995 A, 23.02.1990. SU 1815356 A1, 15.05.1993. RU 49906 U1, 10.12.2005. RU 47978 U1, 21.03.2005. SU 371354 A1, 01.01.1973. GB 1408030 A, 01.10.1975. JP 59122716 A, 16.07.1984. JP 61108821 A, 27.05.1986. JP 60108514 A, 14.06.1985.
Адрес для переписки:
123458, Москва, ул. Твардовского, 11, кв.92, О.С. Кочетову
|
(72) Автор(ы):
Кочетов Олег Савельевич (RU), Кочетова Мария Олеговна (RU), Львов Геннадий Васильевич (RU), Львова Наталья Анатольевна (RU), Львова Юлия Геннадиевна (RU), Львов Михаил Геннадиевич (RU), Куличенко Александр Владимирович (RU), Кочетов Сергей Савельевич (RU), Кочетов Сергей Сергеевич (RU), Шестернинов Александр Владимирович (RU)
(73) Патентообладатель(и):
Кочетов Олег Савельевич (RU)
|
(54) ГЛУШИТЕЛЬ ШУМА ВЫПУСКА КОЧЕТОВА
(57) Реферат:
Изобретение относится к средствам глушения аэродинамического шума пневматического оборудования и систем выпуска сжатого газа или воздуха. Технический результат – повышение эффективности шумоглушения. Глушитель шума содержит впускной патрубок и жестко связанный с ним корпус из пористого материала. Корпус выполнен из пористого материала в виде обечайки усеченного конуса, большее основание которого посредством резьбового соединения связано с торцом впускного патрубка, а меньшее выполнено в виде сплошного диска, пористость которого меньше пористости обечайки усеченного конуса. Отношение высоты корпуса В к диаметру D впускного патрубка находится в диапазоне оптимальных величин: B/D=3,0…5,0, а отношение диаметра D большего основания обечайки усеченного конуса к диаметру d меньшего основания находится в диапазоне оптимальных величин: D/d=3,0…5,5, а отношение толщины b пористого материала обечайки к высоте корпуса В находится в диапазоне оптимальных величин: b/В=0,05…0,2. 3 з.п. ф-лы, 1ил.
Изобретение относится к средствам глушения аэродинамического шума пневматического оборудования и систем выпуска сжатого газа или воздуха.
Наиболее близким техническим решением по технической сущности является глушитель шума выхлопа, содержащий впускной патрубок и примыкающий к нему корпус из пористого материала (а.с. СССР №666279, F01N 1/24, 1972 г. – прототип).
Недостатком известного технического решения является сравнительно невысокая эффективность шумоглушения на низких частотах.
Технический результат – повышение эффективности шумоглушения.
Это достигается тем, что в глушителе шума, содержащем впускной патрубок и жестко связанный с ним корпус из пористого материала, корпус выполнен из пористого материала в виде обечайки усеченного конуса, большее основание которого посредством резьбового соединения связано с торцом впускного патрубка, а меньшее выполнено в виде сплошного диска, пористость которого меньше пористости обечайки усеченного конуса, причем отношение высоты корпуса В к диаметру D впускного патрубка находится в диапазоне оптимальных величин: B/D=3,0…5,0, а отношение диаметра D большего основания обечайки усеченного конуса к диаметру d меньшего основания находится в диапазоне оптимальных величин: D/d=3,0…5,5, а отношение толщины b пористого материала обечайки к высоте корпуса В находится в диапазоне оптимальных величин: b/В=0,05…0,2.
Корпус может быть выполнен из металлокерамики со степенью пористости, находящейся в диапазоне оптимальных величин: 30…45%, или в виде послойной и перекрестной намотки из пористых нитей, намотанных на акустически прозрачный каркас, например проволочный каркас, или из жесткого пористого шумопоглощающего материала, например металлопоролона или камня-ракушечника.
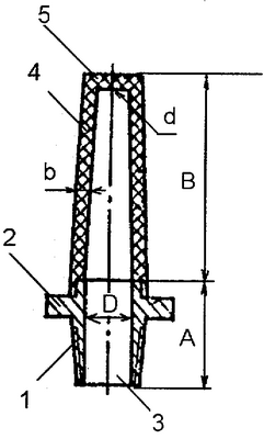
На чертеже представлен фронтальный разрез предлагаемого глушителя шума.
Глушитель шума содержит впускной патрубок 1, имеющий торец 2, отверстие 3 и два резьбовых участка, а также жестко связанный с ним корпус 4 из пористого материала. Корпус 4 выполнен из пористого материала в виде обечайки усеченного конуса, большее основание которого посредством резьбового соединения связано с торцом впускного патрубка 2, а меньшее выполнено в виде сплошного диска 5, пористость которого меньше пористости обечайки 4 усеченного конуса, причем отношение высоты корпуса В к диаметру D впускного патрубка находится в диапазоне оптимальных величин: B/D=3,0…5,0, а отношение диаметра D большего основания обечайки усеченного конуса к диаметру d меньшего основания находится в диапазоне оптимальных величин: D/d=3,0…5,5, а отношение толщины b пористого материала обечайки к высоте корпуса В находится в диапазоне оптимальных величин: b/В=0,05…0,2.
Корпус 5 может быть выполнен из металлокерамики со степенью пористости, находящейся в диапазоне оптимальных величин: 30…45%, или в виде послойной и перекрестной намотки из пористых нитей, намотанных на акустически прозрачный каркас (на чертеже не показано), например проволочный каркас, или из жесткого пористого шумопоглощающего материала, например металлопоролона или камня-ракушечника.
Глушитель шума работает следующим образом.
Звуковые волны вместе с турбулентным потоком сжатого воздуха от пневматического оборудования поступают через впускной патрубок 1, через отверстие 3 в корпус 4. При этом явление лучевого эффекта полностью исключается за счет наличия пористой перегородки в виде сплошного диска 5, а эффективность шумоглушения возрастает за счет подбора геометрических параметров корпуса-поглотителя и пористости структуры предлагаемых шумопоглощающих материалов.
Формула изобретения
1. Глушитель шума, содержащий впускной патрубок и жестко связанный с ним корпус из пористого материала, отличающийся тем, что корпус выполнен из пористого материала в виде обечайки усеченного конуса, большее основание которого посредством резьбового соединения связано с торцом впускного патрубка, а меньшее выполнено в виде сплошного диска, пористость которого меньше пористости обечайки усеченного конуса, причем отношение высоты корпуса В к диаметру D впускного патрубка находится в диапазоне оптимальных величин: B/D=3,0…5,0, а отношение диаметра D большего основания обечайки усеченного конуса к диаметру d меньшего основания находится в диапазоне оптимальных величин: D/d=3,0…5,5, а отношение толщины b пористого материала обечайки к высоте корпуса В находится в диапазоне оптимальных величин: b/В=0,05…0,2.
2. Глушитель шума по п.1, отличающийся тем, что корпус выполнен из металлокерамики со степенью пористости, находящейся в диапазоне оптимальных величин: 30…45%.
3. Глушитель шума по п.1, отличающийся тем, что корпус выполнен в виде послойной и перекрестной намотки из пористых нитей, намотанных на акустически прозрачный каркас, например проволочный каркас.
4. Глушитель шума по п.1, отличающийся тем, что корпус выполнен из жесткого пористого шумопоглощающего материала, например металлопоролона или камня-ракушечника.
РИСУНКИ
|
|