|
| На основании пункта 3 статьи 13 Патентного закона Российской Федерации от 23 сентября 1992 г. № 3517-I патентообладатель обязуется передать исключительное право на изобретение (уступить патент) на условиях, соответствующих установившейся практике, лицу, первому изъявившему такое желание и уведомившему об этом патентообладателя и федеральный орган исполнительной власти по интеллектуальной собственности, – гражданину РФ или российскому юридическому лицу. |
|
(21), (22) Заявка: 2005138999/06, 15.12.2005
(24) Дата начала отсчета срока действия патента:
15.12.2005
(46) Опубликовано: 10.06.2007
(56) Список документов, цитированных в отчете о поиске:
SU 666279 A1, 05.06.1979. SU 1544995 A, 23.02.1990. SU 1815356 A1, 15.05.1993. RU 49906 U1, 10.12.2005. RU 47978 U1, 21.03.2005. SU 371354 A1, 01.01.1973. RU 2062889 C1, 27.06.1996. GB 1408030 A, 01.10.1975. JP 59122716 A, 16.07.1984. JP 61108821 A, 27.05.1986. JP 60108514 A, 14.06.1985.
Адрес для переписки:
123458, Москва, ул. Твардовского, 11, кв.92, О.С. Кочетову
|
(72) Автор(ы):
Кочетов Олег Савельевич (RU), Кочетова Мария Олеговна (RU), Львов Геннадий Васильевич (RU), Львова Наталья Анатольевна (RU), Львова Юлия Геннадиевна (RU), Львов Михаил Геннадиевич (RU), Куличенко Александр Владимирович (RU), Кочетов Сергей Савельевич (RU), Кочетов Сергей Сергеевич (RU), Шестернинов Александр Владимирович (RU)
(73) Патентообладатель(и):
Кочетов Олег Савельевич (RU)
|
(54) АЭРОДИНАМИЧЕСКИЙ ГЛУШИТЕЛЬ КОЧЕТОВА
(57) Реферат:
Изобретение относится к средствам глушения аэродинамического шума пневматического оборудования и систем выпуска сжатого газа или воздуха. Технический результат – повышение эффективности шумоглушения. Глушитель шума содержит впускной патрубок и жестко связанный с ним корпус, содержащий шумопоглощающий элемент. Корпус содержит патрубок, выполненный в виде одной из боковых крышек корпуса, перпендикулярно к которой жестко прикреплена внутренняя цилиндрическая втулка, соосная с периферийно расположенными перфорированными втулками. Другой конец внутренней цилиндрической втулки жестко соединен со второй боковой крышкой корпуса посредством винта, взаимодействующего с резьбовой частью втулки. Во внутренней втулке выполнены калиброванные отверстия диаметром d, оси которых перпендикулярны оси втулки. Полость, образованная перфорированными втулками, заполнена шумопоглощающим элементом. Отношение длины Н внешней периферийно расположенной перфорированной втулки к ее диаметру D находится в диапазоне оптимальных величин: H/D=1,0…2,5, a отношение диаметра d калиброванных отверстий к внутреннему диаметру d1 внутренней втулки находится в диапазоне оптимальных величин: d/d1=0,3…0,9, а отношение толщины b шумопоглощающего элемента к длине Н периферийно расположенных перфорированных втулок находится в диапазоне оптимальных величин: b/Н=0,05…0,25. 3 з.п. ф-лы, 1ил.
Изобретение относится к средствам глушения аэродинамического шума пневматического оборудования и систем выпуска сжатого газа или воздуха.
Наиболее близким техническим решением по технической сущности является глушитель шума выхлопа, содержащий впускной патрубок и примыкающий к нему корпус из пористого материала (а.с. СССР №666279, F01N 1/24, 1972 г. – прототип).
Недостатком известного технического решения является сравнительно невысокая эффективность шумоглушения на низких частотах.
Технический результат – повышение эффективности шумоглушения.
Это достигается тем, что в глушителе шума, содержащем впускной патрубок и жестко связанный с ним корпус из пористого материала, корпус содержит патрубок, выполненный в виде одной из боковых крышек корпуса, перпендикулярно к которой жестко прикреплена внутренняя цилиндрическая втулка, соосная с периферийно расположенными перфорированными втулками, причем другой конец внутренней цилиндрической втулки жестко соединен со второй боковой крышкой корпуса посредством винта, взаимодействующего с резьбовой частью втулки, причем во внутренней втулке выполнены калиброванные отверстия диаметром d, оси которых перпендикулярны оси втулки, а полость, образованная перфорированными втулками заполнена шумопоглощающим элементом, причем отношение длины Н внешней периферийно расположенной перфорированной втулки к ее диаметру D находится в диапазоне оптимальных величин: H/D=1,0…2,5, а отношение диаметра d калиброванных отверстий к внутреннему диаметру d1 внутренней втулки находится в диапазоне оптимальных величин: d/d1=0,3…0,9, а отношение толщины b шумопоглощающего элемента к длине Н периферийно расположенных перфорированных втулок находится в диапазоне оптимальных величин: b/Н=0,05…0,25. Шумопоглощающий элемент 6 может быть выполнен из металлокерамики со степенью пористости, находящейся в диапазоне оптимальных величин: 30…45%, или в виде послойной и перекрестной намотки из пористых нитей, намотанных на акустически прозрачный каркас (на чертеже не показано), например проволочный каркас, или из жесткого пористого шумопоглощающего материала, например металлопоролона или камня-ракушечника.
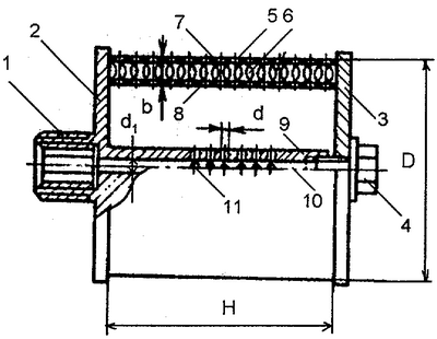
На чертеже представлен фронтальный разрез предлагаемого глушителя шума.
Глушитель шума содержит впускной патрубок 1 с отверстием и жестко связанный с ним корпус. Корпус содержит патрубок 1, выполненный в виде одной из боковых крышек 2 корпуса, перпендикулярно к которой жестко прикреплена внутренняя цилиндрическая втулка 9, соосная с периферийно расположенными перфорированными втулками 7 и 8. Диаметр 5 перфорации втулок 7 и 8 выбирается в диапазоне 1…5 мм. Другой конец внутренней цилиндрической втулки 9 жестко соединен со второй боковой крышкой 3 корпуса посредством винта 4, взаимодействующего с резьбовой частью втулки 9, причем во внутренней втулке 9 выполнены калиброванные отверстия 11 диаметром d, оси которых перпендикулярны оси втулки, а полость, образованная перфорированньми втулками 7 и 8, заполнена шумопоглощающим элементом 6, причем отношение длины Н внешней периферийно расположенной перфорированной втулки 7 к ее диаметру D находится в диапазоне оптимальных величин: H/D=1,0…2,5., а отношение диаметра d калиброванных отверстий к внутреннему отверстию 10 диаметром d1 внутренней втулки 9 находится в диапазоне оптимальных величин: d/d1=0,3…0,9, а отношение толщины b шумопоглощающего элемента к длине Н периферийно расположенных перфорированных втулок находится в диапазоне оптимальных величин: b/Н=0,05…0,25.
Шумопоглощающий элемент 6 может быть выполнен из металлокерамики со степенью пористости, находящейся в диапазоне оптимальных величин: 30…45%, или в виде послойной и перекрестной намотки из пористых нитей, намотанных на акустически прозрачный каркас (на чертеже не показано), например проволочный каркас, или из жесткого пористого шумопоглощающего материала, например металлопоролона или камня-ракушечника.
Глушитель шума работает следующим образом.
Звуковые волны вместе с турбулентным потоком сжатого воздуха от пневматического оборудования поступают через впускной патрубок 1, через его отверстие в корпус. При этом явление лучевого эффекта полностью исключается за счет наличия втулок 7 и 8, между которыми размещен шумопоглощающий элемент 6, а также крышки 3. Эффективность шумоглушения возрастает за счет подбора геометрических параметров корпуса и втулок и пористости структуры предлагаемых шумопоглощающих материалов.
Формула изобретения
1. Глушитель шума, содержащий впускной патрубок и жестко связанный с ним корпус, содержащий шумопоглощающий элемент, отличающийся тем, что корпус содержит патрубок, выполненный в виде одной из боковых крышек корпуса, перпендикулярно к которой жестко прикреплена внутренняя цилиндрическая втулка, соосная с периферийно расположенными перфорированными втулками, причем другой конец внутренней цилиндрической втулки жестко соединен со второй боковой крышкой корпуса посредством винта, взаимодействующего с резьбовой частью втулки, причем во внутренней втулке выполнены калиброванные отверстия диаметром d, оси которых перпендикулярны оси втулки, а полость, образованная перфорированными втулками, заполнена шумопоглощающим элементом, причем отношение длины Н внешней периферийно расположенной перфорированной втулки к ее диаметру D находится в диапазоне оптимальных величин: H/D=1,0…2,5, а отношение диаметра d калиброванных отверстий к внутреннему диаметру d1 внутренней втулки находится в диапазоне оптимальных величин: d/d1=0,3…0,9, а отношение толщины b шумопоглощающего элемента к длине Н периферийно расположенных перфорированных втулок находится в диапазоне оптимальных величин: b/Н=0,05…0,25.
2. Глушитель шума по п.1, отличающийся тем, что шумопоглощающий элемент выполнен из металлокерамики со степенью пористости, находящейся в диапазоне оптимальных величин: 30…45%.
3. Глушитель шума по п.1, отличающийся тем, что шумопоглощающий элемент выполнен в виде послойной и перекрестной намотки из пористых нитей, намотанных на акустически прозрачный каркас, например проволочный каркас.
4. Глушитель шума по п.1, отличающийся тем, что шумопоглощающий элемент выполнен из жесткого пористого шумопоглощающего материала, например металлопоролона или камня-ракушечника.
РИСУНКИ
|
|