|
|
(21), (22) Заявка: 2005127740/06, 05.09.2005
(24) Дата начала отсчета срока действия патента:
05.09.2005
(46) Опубликовано: 10.06.2007
(56) Список документов, цитированных в отчете о поиске:
US 4602595 А, 29.07.1986. GB 2155998 A, 02.10.1985. ЕР 0911496 А1, 28.04.1993. SU 1650929 A1, 23.05.1991. ЕР 1524414 А2, 20.04.2005. US 4569323 A, 11.02.1986.
Адрес для переписки:
606522, Нижегородская обл., г. Заволжье, ул. Советская, 1а, ОАО “Заволжский моторный завод”, отдел интеллектуальной собственности
|
(72) Автор(ы):
Тетерюков Михаил Владимирович (RU), Косолапов Александр Сергеевич (RU), Даньшин Игорь Юрьевич (RU), Каргин Анатолий Александрович (RU)
(73) Патентообладатель(и):
Открытое акционерное общество “Заволжский моторный завод” (RU)
|
(54) МАСЛООТДЕЛИТЕЛЬ СИСТЕМЫ ВЕНТИЛЯЦИИ КАРТЕРА ДВИГАТЕЛЯ ВНУТРЕННЕГО СГОРАНИЯ С ТУРБОНАДДУВОМ
(57) Реферат:
Изобретение относится к области двигателестроения, а именно к системам вентиляции картера двигателей внутреннего сгорания с турбонаддувом, применяемых на легковых и малотоннажных грузовых автомобилях. Технический результат – уменьшение габаритов двигателя за счет упрощения конструкции маслоотделителя и повышение надежности работы системы вентиляции картера двигателя внутреннего сгорания путем трехступенчатой очистки от масла масловоздушной смеси в маслоотделителе. Для этого корпус маслоотделителя выполнен за одно целое с крышкой клапанов двигателя, в верхней центральной части корпуса маслоотделителя выполнен маслоотражатель в виде пластины полусферической формы, между маслоотражателем и корпусом маслоотделителя выполнен боковой зазор, элемент для отделения масла выполнен в виде наклонных прорезей, относительно нижней части корпуса маслоотделителя, а на крышке клапанов расположен маслоотбойник в виде плоской пластины, нижняя часть корпуса маслоотделителя конической формы с отверстием для слива масла в головку цилиндров, крышка маслоотделителя с помощью трубопровода соединена с входным патрубком турбокомпрессора, установленным навстречу потоку нагнетательного воздуха турбокомпрессором. 3 з.п. ф-лы, 1 ил.
Изобретение относится к области двигателестроения, а именно к системам вентиляции картера двигателей внутреннего сгорания с турбонаддувом (в дальнейшем – двигателей), применяемых на легковых и малотоннажных грузовых автомобилях.
Известно устройство, включающее маслоотделитель, предназначенный для вентиляции двигателя и содержащий камеру с прямоточным движением картерных газов, снабженную дисковыми перегородками, и камеру с круговым (циклонным) движением картерных газов, выпускной патрубок (см. патент DE №10338807 А1 от 21.08.2003, Int. C17.: F01M 13/04).
К причине, препятствующей достижению указанного ниже технического результата при использовании известного решения, следует отнести его ограниченные объемы и поверхности, не позволяющие высокоэффективно отделять и конденсировать масло, а также расположение на переднем торце двигателя, увеличивающее габариты двигателя по его оси, что усложняет его применение на легковых и малотоннажных грузовых автомобилях, ввиду ограниченного подкапотного пространства.
Известно устройство маслоотделителя для двигателя, содержащее крышку клапанов, крышку маслоотделителя, корпус маслоотделителя с элементом для отделения масла, расположенным в центральной части, выполненным в виде спирали с несколькими витками, причем спираль образует дополнительные перемычки, выполненные в виде ребер, для отделения масла, мембрану и клапан (см. патент DE №19642219 А1 от 12.10.96, Int. C16.: F01M 13/04).
К причине, препятствующей достижению указанного ниже технического результата при использовании известного решения, является сложность выполнения конструкции маслоотделительного элемента в виде спирали и дополнительных деталей мембраны и клапана, при этом значительно увеличивается стоимость двигателя, кроме этого маслоотделительный элемент расположен в картере с горячим маслом, что ведет к увеличению габаритов двигателя и снижению эффективности конденсации частиц масла.
Наиболее близким устройством того же назначения к заявленному изобретению по совокупности признаков является устройство маслоотделителя для двигателя внутреннего сгорания, содержащее крышку маслоотделителя, корпус с элементом для отделения масла, причем корпус маслоотделителя выполнен за одно целое с крышкой клапанов двигателя, кроме этого элемент для отделения масла выполнен в виде вертикально расположенного пористого фильтра, выполненного из металлопены, через который проходит весь масляный поток (см. патент US №4602595 от 26.02.1985, Int. C14.: F01M 13/04).
К причинам, препятствующим достижению указанного ниже технического результата при использовании известного устройства, принятого за прототип, является сложность выполнения элемента для отделения масла в виде пористого фильтра из металлопены, при этом ресурс пористого фильтра из металлопены ограничивается из-за его засорения, что увеличивает сопротивление движения потока масла и снижает эффективность конденсации частиц масла.
Сущность изобретения – разработка конструкции маслоотделителя, органично встроенного в крышку клапанов двигателя и соединенного с входом турбокомпрессора.
Технический результат – уменьшение габаритов двигателя за счет упрощения конструкции маслоотделителя и повышение надежности работы системы вентиляции картера двигателя внутреннего сгорания за счет трехступенчатой очистки от масла масловоздушной смеси в маслоотделителе.
Указанный технический результат при осуществлении изобретения достигается тем, что в маслоотделителе системы вентиляции картера двигателя внутреннего сгорания с турбонаддувом, содержащим крышку маслоотделителя, корпус маслоотделителя с элементом для отделения масла, причем корпус маслоотделителя выполнен за одно целое с крышкой клапанов двигателя, особенностью является то, что нижняя часть корпуса маслоотделителя выполнена конической формы, элемент для отделения масла выполнен в виде наклонных продольных прорезей, относительно нижней части корпуса маслоотделителя, в верхней центральной части корпуса маслоотделителя выполнен маслоотражатель в виде пластины полусферической формы, при этом между маслоотражателем и корпусом маслоотделителя выполнен боковой зазор, и крышка маслоотделителя с помощью трубопровода соединена с входным патрубком турбокомпрессора, кроме этого нижняя часть корпуса маслоотделителя конической формы снабжена отверстием для слива масла в головку цилиндров, на крышке клапанов расположен маслоотбойник в виде плоской пластины, причем трубопровод установлен навстречу потоку нагнетаемого воздуха турбокомпрессором.
Выполнение маслоотделителя описанным выше образом, с использованием всей подкапотной совокупности существенных признаков позволяет двигателю в составе автомобиля выполнять нормы ЕВРО-2 по эмиссиям и иметь расход масла на уровне лучших современных отечественных и зарубежных аналогов.
Для пояснения настоящего изобретения на чертеже изображен общий вид маслоотделителя системы вентиляции картера.
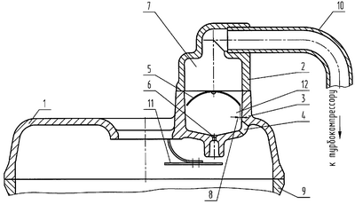
Маслоотделитель системы вентиляции картера двигателя внутреннего сгорания с турбонаддувом содержит: крышку клапанов 1, крышку маслоотделителя 2, корпус маслоотделителя 3, выполненный за одно целое с крышкой клапанов 1, элемент для отделения масла 4, выполненный в виде наклонных продольных прорезей, маслоотражатель 5 в виде полусферической пластины, отверстия 6 для слива масла в головку цилиндров 9, верхнюю камеру 7 маслоотделителя, боковой зазор 8, выполненный между корпусом маслоотделителя и маслоотражателем, маслоотбойник 11, трубопровод 10, соединяющий крышку маслоотделителя 2 с входным патрубком турбокомпрессора, емкость 12, образованную маслоотражателем и корпусом маслоотделителя.
Работа маслоотделителя осуществляется следующим образом:
Масловоздушная смесь поступает в пространство между маслоотбойником 11 и крышкой клапанов 1, при этом крупные капли масла, отскакивая от маслоотбойника 11, стекают в головку цилиндров 9, это первая ступень очистки масловоздушной смеси от масла, далее масловоздушная смесь через наклонные продольные прорези 4 поступает в емкость 12, образованную маслоотражателем 5 и корпусом маслоотделителя 3, где часть оставшихся капель масла, ударяясь о маслоотражатель 5 и корпус 3, оседает на них и стекает в головку цилиндров 9 через отверстия 6. Таким образом, осуществляется 2 ступень очистки масловоздушной смеси от масла. Кроме этого, вогнутая часть маслоотражателя 5 полусферической формы совместно с элементом для отделения масла, выполненного в виде наклонных и продольных прорезей, смягчает удары капель, уменьшая брызгообразование, а выпуклая часть маслоотражателя облегчает сток масла из верхней камеры 7 маслоотделителя. Далее масловоздушная смесь, дросселируясь через боковой зазор 8, поднимается в верхнюю камеру, образованную крышкой маслоотделителя 2 и маслоотражателем 5, где происходит окончательное осаждение и конденсирование оставшихся мелких капель, происходит 3-я ступень очистки. Для увеличения эффекта конденсации маслоотделитель расположен вдоль всей верхней части крышки клапанов, которая при движении автомобиля обдувается встречным потоком воздуха. Очищенный от масла воздух по трубопроводу 10 поступает во входной патрубок турбокомпрессора, причем трубопровод устанавливается навстречу потоку засасываемого воздуха для поддержания оптимального разрежения в масляном картере.
Преимущество заявленного изобретения состоит в том, что по сравнению с известными маслоотделителями повышается надежность работы системы вентиляции картера при снижении затрат на разработку, изготовление и эксплуатацию.
Формула изобретения
1. Маслоотделитель системы вентиляции картера двигателя внутреннего сгорания с турбонаддувом, содержащий крышку маслоотделителя, корпус маслоотделителя с элементом для отделения масла, причем корпус маслоотделителя выполнен за одно целое с крышкой клапанов двигателя, отличающийся тем, что нижняя часть корпуса маслоотделителя выполнена конической формы, элемент для отделения масла выполнен в виде наклонных продольных прорезей, относительно нижней части корпуса маслоотделителя, в верхней центральной части корпуса маслоотделителя выполнен маслоотражатель в виде пластины полусферической формы, при этом между маслоотражателем и корпусом маслоотделителя выполнен боковой зазор, и крышка маслоотделителя с помощью трубопровода соединена с входным патрубком турбокомпрессора.
2. Маслоотделитель по п.1, отличающийся тем, что нижняя часть корпуса маслоотделителя конической формы снабжена отверстием для слива масла в головку цилиндров.
3. Маслоотделитель по п.1, отличающийся тем, что на крышке клапанов расположен маслоотбойник в виде плоской пластины.
4. Маслоотделитель по п.1, отличающийся тем, что трубопровод установлен навстречу потоку нагнетаемого воздуха турбокомпрессором.
РИСУНКИ
|
|