|
|
(21), (22) Заявка: 2005129592/06, 26.09.2005
(24) Дата начала отсчета срока действия патента:
26.09.2005
(46) Опубликовано: 10.06.2007
(56) Список документов, цитированных в отчете о поиске:
RU 2176023 С2, 20.11.2001. GB 2262568 А, 23.06.1993. WO 90/01676 А1, 22.02.1990. RU 2234614 С1, 20.08.2004. DE 2117244 А, 28.10.1971. RU 2141033 C1, 10.11.1999. GB 1270993 A, 19.04.1972.
Адрес для переписки:
143000, Московская обл., г. Одинцово, ул. Бульвар Крылова, 14, кв.149, В.В.Гридину
|
(72) Автор(ы):
Гридин Валерий Владиславович (RU)
(73) Патентообладатель(и):
Гридин Валерий Владиславович (RU)
|
(54) УСТРОЙСТВО ГРИДИНА УПЛОТНЕНИЯ РОТОРНО-ЛОПАСТНОГО ДВИГАТЕЛЯ С КРЕПЛЕНИЕМ ЛОПАСТЕЙ НА ДИСКАХ (ВАРИАНТЫ)
(57) Реферат:
Устройство относится к двигателям внутреннего сгорания с неравномерным движением рабочих органов в кольцевой рабочей камере и может быть использовано в качестве роторной пневмо- и гидромашины. Техническим результатом является повышение эффективности уплотнения. Сущность изобретения заключается в том, что камера выполнена с возможностью сужения в осевом направлении для уменьшения осевых зазоров между корпусом и дисками и между дисками, размещенными в центре. А также в создании осевого уплотнения в виде масляной подушки, заполняющей пилообразное пространство насечек (зубцов, канавок) между вращающимися поверхностями, применении уплотнительного контура, собранного из пластин в форме уголков и установленного в канавки лопасти, а также заглушек, прижимных элементов и пружин. Предложенная конструкция уплотнения создает лучшие условия для создания компрессии, повышает надежность и долговечность машины. 2 н. и 12 з.п. ф-лы, 2 ил.
Изобретение относится к двигателям внутреннего сгорания с неравномерным движением рабочих органов в кольцевой рабочей камере, его наилучшее применение – в качестве секции многосекционного двигателя внутреннего сгорания, оно может также использоваться как роторная машина объемного типа, пневмо- и гидромашина, при создании насосов, компрессоров, гидроприводов.
Из патентной литературы известны машины, кольцевые рабочие камеры которых в поперечном сечении имеют прямоугольную, круглую и треугольную форму: FR 844351 А, кл. 46а5, US 3301193 А, кл. 418-36, PL 15010 А, кл. 46a5, RU 3784 U1, кл. F02В 53/00, RU 2141033 C1.
Круглая форма является очень трудной в исполнении, и кроме того, такая конструкция имеет трудновыполнимую задачу по креплению цилиндров на дисках и уплотнению осевых зазоров между вращающимися дисками и кольцевой камерой.
Камеры с треугольным сечением имеют меньший рабочий объем, используют для крепления боковые крышки, что повышает инерционную массу вращающихся деталей.
Известно уплотнение лопасти в прямоугольной камере с качающимися роторами, содержащее уплотнительные пластины, которые помещены в паз лопасти и соприкасаются друг с другом своими боковыми и торцовыми поверхностями, одновременно прижатые к поверхности трения пружинными элементами (патент Англии №1358632, кл. F01С 9/00, 1974).
Недостатком этой конструкции являются невысокие эффективность и надежность уплотнения. Низкая эффективность объясняется тем, что при работе и износе уплотнений между торцовыми поверхностями уплотнительных пластин начинают появляться зазоры. Через обращенный к камере сгорания промежуток между уплотнительными пластинами одного ряда газ сначала попадает в паз лопасти под уплотнение пластины, а затем выходит через другой промежуток на противоположную сторону этого ряда уплотнительных пластин. Так происходит, пока газ не пройдет все ряды уплотнительных пластин, находящихся в пазу, и не попадет в соседнюю камеру сгорания. Невысокая надежность объясняется тем, что пружины вставлены в пазы, прорезанные в каждой уплотнительной пластине, которые являются концентраторами напряжений.
Известно уплотнение лопасти в прямоугольной камере, содержащей цилиндрический корпус с каналами подвода и отвода среды и торцовыми крышками, лопастные роторы, подпружинные уплотнительные элементы размещены в пазах на поверхностях лопастей, подпружинные разрезные уплотнительные кольца, установленные в расточках торцевых крышек, причем сдвоенные подпружинные уплотнительные пластины выполнены с пружинным разжимом, а стороны пластин, обращенные к поверхностям рабочей камеры, выполнены ступенчатыми, причем ступеньки расположены встречно, а в угловых зонах рабочей камеры пластины размещены внахлест (патент RU 2099540, F01С 1/063, 1995).
Недостатком этой конструкции являются невысокие эффективность и надежность уплотнения. В угловых зонах образуются точечные проходы за счет того, что пластины перемещаются вдоль пазов, в которых они размещены, а газы проходят через грани пластин, противоположные рабочей поверхности, к месту стыка следующей грани и далее в пространство под лопастью, и тем же путем – на другую сторону пластины.
Целью изобретения является повышение эффективности и надежности уплотнения за счет осевого уплотнения, улучшения уплотнительных свойств уплотнительного контура, уменьшение потерь на трение.
Улучшение уплотнения возможно при уменьшении осевых зазоров в камере. Дополнительным и очень важным решением этой задачи является увеличение долговечности удержания компрессии в камере при выработке подшипников.
Технический результат достигается за счет того, что устройство уплотнения содержит прямоугольную камеру с лопастными роторами, при этом лопастные роторы закреплены на двух соприкасающихся дисках, размещенных в центре камеры, которая выполнена с возможностью сужения в осевом направлении, на каждом диске жестко крепится втулка, составляющая половину внутреннего цилиндра рабочей камеры, диски соприкасаются между собой, а втулки – с корпусом боковыми поверхностями, на которых имеются насечки (зубцы, канавки), поверхности подвергаются механической обработке, и диски садятся на радиально-упорные и/или осевые подшипники, расположенные между корпусом и втулками и между дисками. Посадка на подшипники производится при рабочей температуре двигателя. Насечки (зубцы, канавки) и поверхности, подверженные механической обработке, имеются как с одной, так и с другой стороны соприкасающихся поверхностей, при этом одна пара поверхностей находится выше или ниже другой пары относительно осевой линии, а между ними имеется канавка. Насечки (зубцы, канавки) поверхности стенок корпуса внутри камеры сгорания расположены дальше от центральной оси двигателя, чем насечки, принадлежащие втулкам, а поверхность их зубцов в своем пике точно совпадает с поверхностью стенок корпуса. У соприкасаемых поверхностей, вне зоны механической обработки имеется свободное пространство, которое определяет максимальную величину их сближения. Насечки (зубцы, канавки) соприкасаемых поверхностей имеют профиль, выполненный по методу попеременных углублений с двух противоположных сторон или аналогичному, при котором углубления в насечках (зубцах, канавках) не соединяют разные поверхности цилиндра и заполняются компрессионной смазкой.
Такое выполнение осевого уплотнения позволяет уменьшить щели между соприкасаемыми до величины расширения камеры при нагреве, и трение в них не создается соприкосновением поверхностей, т.к. излишки ее убираются при посадке дисков в подшипники.
Дополнительное решение по удержанию компрессии при выработке подшипников, осуществляется сужением камеры в осевом направлении и дополнительной посадкой дисков на подшипники.
Улучшение уплотнительных свойств уплотнительного контура достигается за счет того, что камеру прямоугольного сечения, выполненную с возможностью сужения в осевом направлении, лопастные роторы, закрепленные на двух соприкасающихся в центре камеры дисках, посаженных на радиально-упорные и/или осевые подшипники, и жестко закрепленные с втулками, боковые поверхности которых, а также поверхности дисков имеют мелкие насечки (зубцы, канавки), два и более уплотнительных контура, выполненных из перехлестывающихся боковыми поверхностями пластин и установленных в канавки лопастных роторов, при этом уплотнительный контур состоит из перехлестывающихся концами пластин в форме уголков, которые прижимаются пружинными элементами к боковой стенке канавки в направлении к центру лопасти, заглушек, которые под действием пружин изнутри лопасти перекрывают щели, образуемые между торцами перехлестывающихся уголков и корпусом лопасти, и прижимают уголки к внутренней поверхности камеры, а также канавок в стенке основания крепления лопасти, куда входят концы неперехлестывающихся уголков. Заглушки выполняются по профилю двух канавок в месте перехлестывания уголков с перекрытием части стороны каждого уголка. Толщина пластин уголков в месте перехлестывания равна высоте стенки выступа, на которой размещается другая пластина, при этом в рабочем (нагретом) состоянии уголки не должны заклиниваться. Неперехлестывающиеся концы уголков уплотнительного контура входят в канавки, выполненные в стенке основания крепления лопасти, таким образом, чтобы при упоре уголка в стенку камеры, противолежащую основанию крепления лопасти, между стенкой основания крепления лопасти и концом уголка не образовалась щель. Поверхности стенок канавок в основании крепления лопасти выполнены подлицо с поверхностями канавки уголка, кроме поверхности, прилежащей к поверхности другой пары лопастных роторов и смещенной к центральной оси двигателя на расстояние, обусловленное смещением поверхностей втулок между собой или биением в подшипниках. Неперехлестывающиеся стороны уголков уплотнительного контура прижимаются к прилежащей стенке камеры при помощи двух отдельных пружин. В основании крепления лопасти уголка, не прилежащей к другой паре лопастных роторов, имеется несквозная канавка, выполненная во втулке. Толщина пластины уголка уплотнительного контура лопасти больше расстояния между двумя соседними углублениями насечек (зубцов, канавок), выполненных в соприкасаемых поверхносях между дисками, а также дисками с корпусом.
Такое выполнение рабочей камеры, когда вершина уплотнительного уголка входит в углы камеры и точно повторяет ее контур, дает возможность лучше уплотнить камеру в поперечном сечении, т.к. при радиальном биении может образоваться только точечное отверстие, а не щель.
Такое применение уголка, в отличие от прямых пластин, позволяет увеличить площадь непрерывного соприкосновения его с поверхностью камеры, тем самым уменьшая ее износ.
Такое применение заглушки, выполняющей функцию прижима уголков к внутренней поверхности лопасти, не только перекрывает единственное место утечки газа внутрь пространства между двумя уплотнительными контурами, но упрощает всю конструкцию за счет двойного назначения пружины.
То обстоятельство, что пружинные элементы прижимают углы к боковой стенке канавки в направлении, совпадающем с направлением, создаваемым давлением сжатых газов, обеспечивает лучший прижим уплотнителей к поверхности канавок, а следовательно, повышает уплотнительные свойства контура.
Такое применение пружин, закрытых от рабочих газов внутри лопасти, позволяет использовать их в среде более щадящей, тем самым, лучше и дольше используются их свойства.
Предложенная конструкция устройства уплотнения роторно-лопастного двигателя с креплением лопастей на дисках создает лучшие условия для эффективного создания компрессии, повышает ее надежность и долговечность.
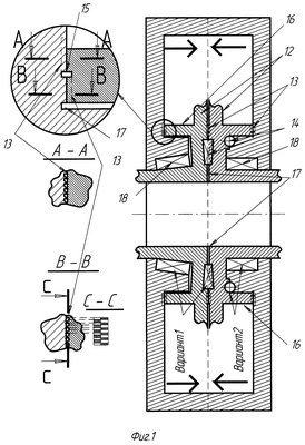
На Фиг.1 представлено устройство осевого уплотнения (с примерами двух вариантов расположения дисков на подшипниках).
На Фиг.2 представлено устройство уплотнительного контура лопасти.
Устройство осевого уплотнения содержит лопастные роторы, закрепленные на двух соприкасающихся дисках 12 (Фиг.1), размещенных в центре камеры, которая выполнена с возможностью сужения в осевом направлении (сходящиеся стрелки), на каждом диске жестко крепится втулка 16, составляющая половину внутреннего цилиндра рабочей камеры, диски 12 соприкасаются между собой, а втулки – с корпусом боковыми поверхностями, на которых имеются насечки (зубцы, канавки) 13 (см. сечение А-А, В-В, С-С), поверхности подвергаются механической обработке, и диски садятся на радиально-упорные 18 и/или осевые 14 подшипники, расположенные между корпусом и втулками и между дисками. (Для варианта 2 возможно наличие упорных 18 подшипников.)
Насечки (зубцы, канавки) 13 и поверхности, подверженные механической обработке, имеются как с одной, так и с другой стороны соприкасающихся поверхностей (см. сечение А-А и В-В), при этом одна пара поверхностей находится выше или ниже другой пары относительно осевой линии, а между ними имеется канавка 15. Насечки (зубцы, канавки) поверхности стенок корпуса внутри камеры сгорания расположены дальше от центральной оси двигателя, чем насечки, принадлежащие втулками (см. сечение А-А и В-В), а поверхность их зубцов в своем пике точно совпадает с поверхностью стенок корпуса. У соприкасаемых поверхностей, вне зоны механической обработки имеется свободное пространство 17, которое определяет максимальную величину их сближения.
Насечки (зубцы, канавки) соприкасаемых поверхностей имеют профиль (см. пример сечения С-С), выполненный по методу попеременных углублений с двух противоположных сторон или аналогичному, при котором углубления в насечках (зубцах, канавках) не соединяют противоположные поверхности цилиндра.
Устройство уплотнительного контура лопасти содержит уплотнительный контур (Фиг.2), состоящий из перехлестывающихся концами пластин 1 в форме уголков, которые прижимаются пружинными элементами 10 к боковой стенке канавки в направлении к центру лопасти (показано стрелками) 3, заглушек 4 которые под действием пружин изнутри лопасти (стрелки 1 и 2 в кружке) 4 перекрывают щели 5, образуемые между торцами перехлестывающихся уголков и корпусом лопасти и прижимают уголки 1 к внутренней поверхности камеры, а также канавок 6 в стенке основания крепления лопасти, куда входят концы неперехлестывающихся уголков. Заглушки 4 выполняются по профилю двух канавок в месте перехлестывания уголков с перекрытием части стороны каждого уголка. Поверхности стенок канавок 9 и 6 в основании крепления лопасти (см. увеличенное изображение) выполнены подлицо с поверхностями канавки уголка 1, кроме поверхности 8, прилежащей к поверхности другой пары лопастных роторов и смещенной к центральной оси двигателя на максимальное расстояние, обусловленное смещением поверхностей втулок между собой или биением в подшипниках. Неперехлестывающиеся стороны уголков уплотнительного контура прижимаются к прилежащей стенке камеры при помощи двух отдельных пружин 7. В основании крепления лопасти уголка, не прилежащей к другой паре лопастных роторов, имеется несквозная канавка 11, выполненная во втулке.
Работа устройства уплотнения состоит из осевого уплотнения, которое устанавливается первоначально при сборке двигателя. Сначала производится посадка дисков на радиально-упорные подшипники, для чего исходные поверхности должны быть немного больше диаметра радиально-упорных подшипников. Наилучшая форма насечек определяется экспериментально. Посадка производится на высокоточном оборудовании. Суть ее в том, чтобы прижимаемый диск садился на подшипник, крутясь, строго параллельно внутренней торцовой поверхности, при этом ось вращения ее должна строго совпадать с осью вращения двигателя. Возможно, после посадки поверхности промываются. Заключительная операция – это посадка двух частей двигателя с установленными дисками на осевой подшипник. Она аналогична предыдущей операции.
Устройство уплотнительного контура лопасти определяется работой пружин в заданном направлении и созданием необходимого давления в камере. Работа устройства уплотнения возможна под давлением компрессионного масла (жидкости), которое подается через систему отверстий в корпусе и дисках.
Формула изобретения
1. Устройство уплотнения камеры роторно-лопастного двигателя, содержащее камеру прямоугольного сечения и лопастные роторы, отличающееся тем, что лопастные роторы закреплены на двух соприкасающихся дисках, размещенных в центре камеры, которая выполнена с возможностью сужения в осевом направлении, на каждом диске жестко крепится втулка, составляющая половину внутреннего цилиндра рабочей камеры, диски соприкасаются между собой, а втулки с корпусом боковыми поверхностями, на которых имеются насечки (зубцы, канавки), поверхности подвергаются механической обработке и диски садятся на радиально-упорные и/или осевые подшипники, расположенные между корпусом и втулками и между дисками.
2. Устройство уплотнения по п.1, отличающееся тем, что посадка на подшипники производится при рабочей температуре двигателя.
3. Устройство уплотнения по п.1, отличающееся тем, что насечки (зубцы, канавки) и поверхности, подверженные механической обработке, имеются как с одной, так и с другой стороны соприкасающихся поверхностей, при этом одна пара поверхностей находится выше или ниже другой пары относительно осевой линии, а между ними имеется канавка.
4. Устройство уплотнения по п.3, отличающееся тем, что насечки (зубцы, канавки) поверхности стенок корпуса внутри камеры сгорания расположены дальше от центральной оси двигателя, чем насечки, принадлежащие втулкам, а поверхность их зубцов в своем пике точно совпадает с поверхностью стенок корпуса.
5. Устройство уплотнения по п.3, отличающееся тем, что насечки (зубцы, канавки) соприкасающихся поверхностей имеют профиль, выполненный по методу попеременных углублений с двух противоположных сторон или аналогичному, при котором углубления в насечках (зубцах, канавках) не соединяют противоположные поверхности цилиндра.
6. Устройство уплотнения по п.1, отличающееся тем, что у соприкасающихся поверхностей вне зоны механической обработки имеется свободное пространство, которое определяет максимальную величину их сближения.
7. Устройство уплотнения по п.5, отличающееся тем, что толщина пластины уголка уплотнительного контура лопасти больше расстояния между двумя соседними углублениями насечек (зубцов, канавок).
8. Устройство уплотнения камеры роторно-лопастного двигателя, содержащее камеру прямоугольного сечения, выполненную с возможностью сужения в осевом направлении, лопастные роторы, закрепленные на двух соприкасающихся в центре камеры дисках, посаженных на радиально-упорные и/или осевые подшипники и жестко закрепленные с втулками, боковые поверхности которых, а также поверхности дисков, имеют мелкие насечки (зубцы, канавки), два и более уплотнительных контура, выполненных из перехлестывающихся боковыми поверхностями пластин и установленных в канавки лопастных роторов, отличающееся тем, что уплотнительный контур состоит из перехлестывающихся концами пластин в форме уголков, которые прижимаются пружинными элементами к боковой стенке канавки в направлении к центру лопасти, заглушек, которые под действием пружин изнутри лопасти перекрывают щели, образуемые между торцами перехлестывающихся уголков и корпусом лопасти и прижимают уголки к внутренней поверхности камеры, а также канавок в стенке основания крепления лопасти, куда входят неперехлестывающиеся концы уголков.
9. Устройство уплотнения по п.8, отличающееся тем, что заглушки выполняются по профилю канавок в месте перехлестывания уголков и перекрывают части сторон каждого перехлестывающегося уголка.
10. Устройство уплотнения по п.8, отличающееся тем, что толщина пластин уголков в месте перехлестывания равна высоте стенки выступа, на которой размещается другая пластина, при этом в рабочем (нагретом) состоянии уголки не должны заклиниваться.
11. Устройство уплотнения по п.8, отличающееся тем, что неперехлестывающиеся концы уголков уплотнительного контура входят в канавки, выполненные в стенке основания крепления лопасти таким образом, чтобы при упоре уголка в стенку камеры, противолежащую основанию крепления лопасти, между стенкой основания крепления лопасти и концом уголка не образовалась щель.
12. Устройство уплотнения по п.8, отличающееся тем, что поверхности стенок канавок в основании крепления лопасти выполнены под лицо с поверхностями канавки уголка, кроме поверхности, прилежащей к поверхности другой пары лопастных роторов и смещенной к центральной оси двигателя на максимальное расстояние, обусловленное смещением поверхностей втулок между собой или биением в подшипниках.
13. Устройство уплотнения по п.8, отличающееся тем, что неперехлестывающиеся стороны уголков уплотнительного контура прижимаются к прилежащей стенке камеры при помощи двух отдельных пружин.
14. Устройство уплотнения по п.8, отличающееся тем, что в основании крепления лопасти уголка, не прилежащей к другой паре лопастных роторов, имеется несквозная канавка, выполненная во втулке.
РИСУНКИ
MM4A – Досрочное прекращение действия патента СССР или патента Российской Федерации на изобретение из-за неуплаты в установленный срок пошлины за поддержание патента в силе
Дата прекращения действия патента: 27.09.2008
Извещение опубликовано: 27.07.2010 БИ: 21/2010
|
|