|
|
(21), (22) Заявка: 2006125874/03, 19.07.2006
(24) Дата начала отсчета срока действия патента:
19.07.2006
(46) Опубликовано: 10.06.2007
(56) Список документов, цитированных в отчете о поиске:
US 3319717 А, 16.05.1967. SU 1696676 A1, 07.12.1991. RU 2138622 C1, 27.09.1999. RU 2194152 C2, 10.12.2002. RU 2211311 C2.27.08.2003. RU 2151279 C1, 20.06.2000. CASED HOLE APPLICATIONS, Baker Hughes Incorporated, 2001, c.70.
Адрес для переписки:
117393, Москва, ул. Профсоюзная, 56, этаж 8, офис ООО “Смит Оверсиз Сервисиз”
|
(72) Автор(ы):
Овсянкин Андрей Михайлович (RU), Килин Михаил Иванович (RU), Муфтахов Марат Гафурович (RU)
(73) Патентообладатель(и):
Овсянкин Андрей Михайлович (RU), Килин Михаил Иванович (RU), Муфтахов Марат Гафурович (RU)
|
(54) СКВАЖИННАЯ МНОГОПАКЕРНАЯ УСТАНОВКА ДЛЯ ЗАКАНЧИВАНИЯ СКВАЖИН ПРИ МНОГОПЛАСТОВОЙ СИСТЕМЕ РАЗРАБОТКИ
(57) Реферат:
Изобретение относится к области добычи углеводородов и может быть использовано для одновременно раздельной или поочередной закачки рабочей среды в один или несколько пластов. Обеспечивает оптимизацию параметров скважинной установки, возможность проведения операции по интенсификации закачки и/или притока флюида одновременно с ее установкой. На колонне НКТ ниже верхнего пласта спущен первый пакер. Выше первого пакера установлен разъединитель колонны. Между ними размещено посадочное гнездо для извлекаемого обратного клапана. Расположенный ниже первого пакера второй пакер образует совместно с первым пакером пакерную секцию, в которую входят как минимум две скважинные камеры с размещенными в каждой из них посадочными узлами для установки генератора колебаний и съемного клапана или глухой пробки, циркуляционный клапан и турбулизатор потока жидкости. Турбулизатор установлен у нижней границы перфорационных отверстий обсадной колонны в пределах разрабатываемого пласта. Количество пакерных секций, включенных в состав СМУ, соответствует количеству включенных в разработку пластов. Последняя пакерная секция образована между нижним пакером предпоследнего пласта и установленным на конце колонны НКТ клапаном однонаправленного действия. 7 з.п. ф-лы, 1 ил.
Изобретение относится к скважинной разработке и эксплуатации многопластовых месторождений углеводородов, в частности к технологии и технике одновременно раздельной эксплуатации нескольких эксплуатационных объектов одной скважиной, и может быть использовано для добычи углеводородов из скважины, а также для нагнетания рабочего агента, вытеснения пластовой жидкости, поддержания пластового давления или физико-химического воздействия на продуктивный пласт.
Известна установка для раздельной эксплуатации многопластовых нефтяных и газовых скважин, включающая колонну труб, пакеры, телескопические соединения, разъединитель колонны, пусковой клапан, рабочий клапан, циркуляционный клапан, скважинную камеру и посадочный ниппель, забойное регулирующее устройство (см. патент США №3319717).
Известная скважинная установка не позволяет производить последовательную установку и проверку герметичности пакеров, разделяющих эксплуатационные объекты, и не позволяет оперативно изменять технологические режимы путем смены клапанов, а также проводить раздельное исследование и воздействие на эксплуатационные объекты.
Цель изобретения – обеспечить возможность за одну операцию по установке скважинной многопакерной компоновки произвести операции по интенсификации закачки и/или притока, повысить эффективность использования эксплуатационных объектов, вскрываемой скважины и оптимизировать параметры скважинной установки.
Технический результат, получаемый при использовании изобретения, заключается в повышении эффективности воздействия на пласт и обеспечении независимого режима одновременной закачки технологической жидкости в каждый интервал пластов при многопластовой системе разработки. Кроме того, повышается надежность работы установки и повышение межремонтного периода работы скважины.
Поставленная задача достигается за счет того, что скважинная многопакерная компоновка (СМК) колонны НКТ для заканчивания скважин при многопластовой системе разработки содержит одну колонну НКТ с установленным на конце колонны клапаном однонаправленного действия и первый спущенный ниже верхнего пласта пакер, а также посадочное гнездо для глухой пробки. Выше первого пакера установлен разъединитель колонны, а между разъединителем и первым пакером размещено посадочное гнездо для извлекаемого обратного клапана, предназначенного для герметизации трубного пространства скважинной многопакерной компоновки после отсоединения колонны НКТ от СМК. Ниже первого пакера расположен второй пакер, образующий совместно с первым пакером пакерную секцию, в которую входят как минимум две скважинные камеры с размещенными в каждой из них посадочными узлами для установки генератора колебаний и съемного клапана или глухой пробки, циркуляционный клапан для подачи через него рабочего агента в соответствующий пласт и турбулизатор потока жидкости, размещенный между циркуляционным клапаном и вторым пакером, который установлен у нижней границы перфорационных отверстий, выполненных в обсадной колонне в пределах разрабатываемого пласта. Количество пакерных секций соответствует количеству включенных в разработку пластов, а последняя по глубине скважины пакерная секция образована между нижним пакером предпоследнего пласта и установленным на конце хвостовика клапаном однонаправленного действия или глухой пробкой.
В данной компоновке установка и извлечение любого клапана, управление циркуляционными клапанами каждой пакерной секцией осуществляется посредством канатной техники независимо друг от друга. Причем вся компоновка – одна пакерная секция или несколько спускаются за одну спуско-подъемную операцию.
Целесообразно, чтобы соотношение частот колебаний, создаваемых генераторами колебаний, расположенными в разных скважинных камерах одной пакерной секции, отличалось друг от друга на 5-7%. Это соотношение получено экспериментально при выполнении промысловых экспериментов на нагнетательной скважине.
Предпочтительно выполнение пакера гидравлического действия. Также возможно выполнение пакера механического действия или селективного типа. Последние не содержат механических или гидравлических якорей и не требуют выполнения процедуры посадки пакера.
Целесообразно выполнение генераторов колебаний в виде обратных клапанов, частоты колебаний которых определяются массой запорных подвижных элементов и жесткостью пружин.
Предпочтительно выполнение циркуляционного клапана сдвижного типа.
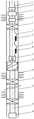
Изобретение поясняется чертежом, на котором представлена предлагаемая компоновка НКТ для заканчивания скважин при многопластовой системе разработки.
Компоновка содержит колонну НКТ 1 с установленным на конце колонны клапаном 2 однонаправленного действия и, по крайней мере, первый спущенный ниже верхнего пласта пакер 3. Выше первого пакера установлен разъединитель 4 колонны, а между разъединителем и первым пакером размещено посадочное гнездо 5 для извлекаемого обратного клапана, предназначенного для герметизации трубного пространства скважинной многопакерной компоновки после отсоединения колонны НКТ от СМК. Ниже первого пакера 3 расположен второй пакер 6, образующий совместно с первым пакером пакерную секцию, в которую входят как минимум две скважинные камеры 7, 8 с размещенными в каждой из них посадочными узлами для установки генератора колебаний 9, 10 или съемных клапанов или глухой пробки (не показаны), циркуляционный клапан 11 для подачи через него рабочего агента в соответствующий пласт и турбулизатор 12 потока жидкости, размещенный между циркуляционным клапаном 11 и вторым пакером 6, который установлен у нижней границы перфорационных отверстий 13, выполненных в обсадной колонне 14 в пределах разрабатываемого пласта. Количество пакерных секций соответствует количеству включенных в разработку пластов, а последняя по глубине скважины пакерная секция расположена между нижним пакером предпоследнего пласта и установленным на конце хвостовика 15 клапаном 16 однонаправленного действия. Для соединения пакеров, скважинных камер, циркуляционных клапанов могут использоваться переводники различных размеров, которые на чертеже не показаны.
Генераторы колебаний 9, 10, расположенные в пакерных секциях, предназначены для интенсификации процессов, связанных с притоком или закачкой рабочего агента до проектных значений по одному или нескольким пластам одновременно. В том случае, когда соотношение частот колебаний, создаваемых генераторами колебаний, расположенными в разных скважинных камерах каждой пакерной секции, будет отличаться на 5-7%, амплитуда суммарного колебания, возникающего при совместной работе генераторов, будет величиной переменной по времени. Такой режим работы генераторов наиболее интенсивно влияет на гидравлические процессы, связанные с притоком или закачкой рабочего агента. Целесообразно выполнение генератора колебаний в виде подпружиненного обратного клапана, однако могут быть применены генераторы и других известных конструкций.
Пакер 3 и остальные пакеры 6 и другие могут быть одного типа или комбинированные, например селективные, гидравлического, гидромеханического или механического действия (срабатывающие при упоре на забой, повороте колонны труб, от инерционного воздействия, при подъеме и спуске колонны НКТ, натяжении колонны и др.).
Разъединитель 4 колонны труб может быть гидравлического или механического действия.
Предпочтительно выполнение пакера гидравлического действия. В этом случае гораздо проще обеспечить надежную фиксацию пакеров в месте посадки за счет пластового давления, действующего внутри компоновки после отсоединения колонны НКТ от СМК.
Также возможно применение пакера механического действия.
Предпочтительно выполнение циркуляционного клапана сдвижного типа. Причем расстояние от нижней кромки турбулизатора до верхней кромки перфорационных отверстий должно быть не менее 2 м.
Работа с описываемой компоновкой производится следующим образом. В скважину спускают одну колонну 1 насосно-компрессорных труб с постоянным или переменным диаметром с установленным на конце колонны 1 клапаном 2 однонаправленного действия или глухой пробкой и, по крайней мере, с одним спущенным ниже верхнего пласта пакером 3, с разъединителем 4 колонны, с установленным ниже разъединителя 4 посадочным гнездом 5 для сменного (извлекаемого) обратного клапана, предназначенного для герметизации трубного пространства СМК после отсоединения колонны НКТ от СМК. Давление внутри компоновки (за счет пластового давления) обеспечивает надежную фиксацию пакеров в месте посадки и позволяет производить смену НКТ без глушения скважины. Обратный клапан устанавливается и извлекается при помощи канатной техники. Ниже пакера 3 спущены, по крайней мере, два посадочных узла 7, 8 в виде скважинных камер и один циркуляционный клапан 9, например клапан сдвижного типа (“скользящая муфта”), для подачи через них рабочего агента соответственно в нижний и/или верхний пласты, посадки пакера и опрессовки его снизу или сверху. При этом проведение работ по гидроразрыву пласта, химической, термической, химико-термической обработке пласта производят только через циркуляционные клапаны 11 типа “скользящая муфта”, что гарантирует целостность посадочных узлов съемных клапанов, которые используют только при закачке рабочих агентов в процессе эксплуатации скважины.
Пакерная секция (одна или несколько) спускаются за одну спускоподъемную операцию. В рабочее положение пакера устанавливаются снизу вверх, т.е. сначала устанавливаются пакера, находящиеся на наибольшей глубине.
Подобное решение сокращает время монтажных работ внутрискважинного оборудования, увеличивает его надежность.
Значительно повышает эффективность работ по закачке рабочих агентов наличие в компоновке турбулизатора 12, установленного ниже циркуляционного клапана 11. Выходя из него, колонны НКТ, рабочие агенты благодаря наличию турбулизатора 12 подвергаются дополнительному интенсивному перемешиванию, что активизирует их воздействие на пласт.
Поток жидкости, закачиваемой в пласт, выходит из полости НКТ через циркуляционный клапан 11, а также через генераторы колебаний 9, 10. В зависимости от выполняемой технологической операции воздействия на пласт поток жидкости может направляться через генераторы колебаний 9, 10, циркуляционный клапан 11 или через все клапана. В результате имеет место пульсирующий характер течения потока, интенсифицирующий воздействие на пласт. Управление клапанами и их замена осуществляется посредством канатной техники.
Формула изобретения
1. Скважинная многопакерная установка (СМУ) для заканчивания скважин при многопластовой системе разработки, включающая одну колонну НКТ с установленным на конце колонны запорным элементом и, по крайней мере, первым спущенным выше верхнего пласта пакером, отличающаяся тем, что установленный на конце колонны запорный элемент выполнен в виде клапана однонаправленного действия, выше первого пакера установлен разъединитель колонны и размещенное между разъединителем и первым пакером посадочное гнездо для извлекаемого обратного клапана, предназначенного для герметизации трубного пространства скважинной многопакерной компоновки после отсоединения колонны НКТ от СМУ, а расположенный ниже первого пакера второй пакер образует совместно с первым пакером пакерную секцию, в которую входят как минимум две скважинные камеры с размещенными в каждой из них посадочными узлами для установки генератора колебаний и съемного клапана или глухой пробки, циркуляционный клапан для подачи через него рабочего агента в соответствующий пласт и турбулизатор потока жидкости, размещенный между циркуляционным клапаном и вторым пакером, который установлен у нижней границы перфорационных отверстий, выполненных в обсадной колонне в пределах разрабатываемого пласта, при этом количество пакерных секций соответствует количеству включенных в разработку пластов, а последняя по глубине скважины пакерная секция образована между нижним пакером предпоследнего пласта и установленным на конце колонны НКТ клапаном однонаправленного действия.
2. Скважинная многопакерная установка по п.1, отличающаяся тем, что частоты колебаний, создаваемых генераторами колебаний, расположенными в разных скважинных камерах одной пакерной секции, отличаются друг от друга на 5-7%.
3. Скважинная многопакерная установка по п.1, отличающаяся тем, что пакер выполнен гидравлического действия.
4. Скважинная многопакерная установка по п.1, отличающаяся тем, что пакер выполнен механического действия.
5. Скважинная многопакерная установка по п.1, отличающаяся тем, что генератор колебаний выполнен в виде обратного клапана.
6. Скважинная многопакерная установка по п.1, отличающаяся тем, что циркуляционный клапан выполнен сдвижного типа.
7. Скважинная многопакерная установка по п.1, отличающаяся тем, что она выполнена в виде моноблока, спускаемого и извлекаемого из скважины за один рейс.
8. Скважинная многопакерная установка по п.1, отличающаяся тем, что расстояние от нижней кромки турбулизатора до верхней кромки перфорационных отверстий должно быть не менее 2 м.
РИСУНКИ
MM4A – Досрочное прекращение действия патента СССР или патента Российской Федерации на изобретение из-за неуплаты в установленный срок пошлины за поддержание патента в силе
Дата прекращения действия патента: 20.07.2008
Извещение опубликовано: 20.10.2009 БИ: 29/2009
|
|