|
| На основании пункта 3 статьи 13 Патентного закона Российской Федерации от 23 сентября 1992 г. № 3517-I патентообладатель обязуется передать исключительное право на изобретение (уступить патент) на условиях, соответствующих установившейся практике, лицу, первому изъявившему такое желание и уведомившему об этом патентообладателя и федеральный орган исполнительной власти по интеллектуальной собственности, – гражданину РФ или российскому юридическому лицу. |
|
(21), (22) Заявка: 2005141235/03, 29.12.2005
(24) Дата начала отсчета срока действия патента:
29.12.2005
(46) Опубликовано: 10.06.2007
(56) Список документов, цитированных в отчете о поиске:
RU 17931 U1, 10.05.2001. RU 8984 U1, 16.01.1999. SU 9766 A1, 03.01.1927. RU 2261961 C1, 10.10.2005. Строительные конструкции. / Под ред. Т.Н. Цая, т.1. – М.: Стройиздат, 1977, с.275.
Адрес для переписки:
141073, Московская обл., г. Королев-3, ул. Горького, 16, корп.3, кв.22, С.В. Кармадонову
|
(72) Автор(ы):
Кармадонов Сергей Витальевич (RU)
(73) Патентообладатель(и):
Кармадонов Сергей Витальевич (RU)
|
(54) ЖЕЛЕЗОБЕТОННАЯ ШПОНКА МНОГОСЛОЙНОЙ СТЕНЫ
(57) Реферат:
Изобретение относится к строительству, а именно к мелкоштучным конструкциям наружных стен с вертикальными прослойками, ширина которых между слоями обеспечивает возможность установки в них эффективных утеплителей Технический результат: обеспечение связи слоев стен друг с другом для совместной работы как единой конструкции. Железобетонная шпонка многослойной стены включает бетонный брусок, стержни и сетку армирования, причем чередующиеся по длине участки прямолинейного или коленчатого в плане или изогнутого по вертикали бруска имеют выпуски сетки наружу так, чтобы сетка армирования охватывала брусок во время транспортировки, хранения, а при монтаже могла быть развернута и размещена в толщине сопряженных со шпонкой слоев стены, армируя их. 7 ил.
Известны различные конструкции традиционных мелкоштучных (например, кирпичных) наружных стен с вертикальными прослойками, ширина которых между слоями обеспечивает возможность установки в них эффективных плитных утеплителей [1], а сами слои связываются друг с другом для совместной работы как единой конструкции.
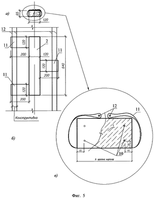
В предлагаемом техническом решении в качестве жесткого связующего элемента между слоями стены использована железобетонная шпонка, включающая бетонный брусок, стержни, сетку армирования и отличающаяся от известных решений тем, что чередующиеся по длине участки прямолинейного или коленчатого в плане или изогнутого по вертикали бруска (см. фиг.1, 2, 3, 4, где: 1 – “бесконечно” длинная шпонка; 2 – “дискретная” шпонка; 3 – схема прямоугольного сечения прямолинейной шпонки; 4 – схема прямоугольной в плане и изогнутой по вертикали шпонки; 5 – схема Т-образной в плане и изогнутой по вертикали шпонки; 6 – схема Y-образной и изогнутой по вертикали шпонки; 7 – изогнутая по вертикали шпонка прямоугольной в плане формы; 8 -изогнутая по вертикали шпонка Т-образной в плане формы; 9 – изогнутая по вертикали шпонка Y-образной в плане формы) имеют выпуски сетки 11 (фиг.5, 6) наружу так, чтобы сетка армирования охватывала брусок во время транспортировки, хранения, а при монтаже могла быть развернута и размещена в толщине сопряженных со шпонкой слоев стены, армируя их.
Предлагаемое изобретение во многом напоминает решение с планками и решетками двухветвевых металлических колонн, но в большей степени работу нагелей (шкантов) в деревянных конструкциях. Это сходство, конечно, относительно, а в кирпично-каменном исполнении ранее не применялось. Ссылки на использование перемычек в кирпичных стенах недействительны по причине их самостоятельной работы в пределах каждого слоя и не влияющих на объединение слоев кладки в единую конструкцию.
Конструкция железобетонной шпонки не имеет каких-либо особенностей и традиционна для обычного решения из бетона и арматуры 10 (фиг.5), включая и возможное преднапряжение.
Помимо проволоки армирования шпонки 10 используется арматурная проволока 12 и для армирования материала слоев стены. Армирование шпонки 10 и армирование 12 слоев стены соединены сеткой 11, эффективность работы которой, например, в кладочном растворе, выше отдельных проволок большого диаметра.
Возможно применение различных сеток [2], [4], [5], [6] (фиг.7 а,) б), в)) и даже гибкого листа из высокопрочного металла предварительно перфорированного с развальцованными краями отверстий. Наиболее привлекательно для начального внедрения применение сетки проволочной крученой с шестиугольными ячейками, предназначенной для габионных конструкций. Такая сетка тем более будет надежна в применении для мелкоштучных, например, кирпичных стен, поскольку условия ее работы неизбежно будут в менее агрессивной среде. Не исключаются и традиционные покрытия элементов сетки цинком, цинком и полимером или сплавом цинка с алюминием и мишметаллом и полимером [2], [3] фиг.7 а) [2]. На фиг.7 а) 13 – проволока кромки; 14 – основная проволока; В – размер ячейки.
Источники информации
1. Патент №2261961 Многослойная стена здания. Зарегистрировано в Государственном реестре изобретений Российской Федерации 10 октября 2005 г.
2. ГОСТ Р 51285-99 Сетки проволочные крученые с шестиугольными ячейками для габионных конструкций, Госстандарт России, Москва, 2000 г.
3. ГОСТ 5960-72 Пластикат поливинилхлоридный для изоляции и защитных оболочек проводов и кабелей. Технические условия, Издательство стандартов, М.
4. ГОСТ Р 50575-93 Проволока стальная. Требования к цинковому покрытию и методы испытания покрытия.
5. ГОСТ 3306-88 Сетки с квадратными ячейками из стальной рифленой проволоки. Технические условия. Государственный комитет СССР по стандартам, М., 1990 г.
6. ГОСТ 3826-82 Сетки проволочные тканые с квадратными ячейками. Технические условия. Государственный комитет СССР по стандартам, М., 1984 г.
Формула изобретения
Железобетонная шпонка многослойной стены, включающая бетонный брусок, стержни, сетку армирования, отличающаяся тем, что чередующиеся по длине участки прямолинейного или коленчатого в плане или изогнутого по вертикали бруска имеют выпуски сетки наружу так, чтобы сетка армирования охватывала брусок во время транспортировки, хранения, а при монтаже могла быть развернута и размещена в толщине сопряженных со шпонкой слоев стены, армируя их.
РИСУНКИ
|
|