|
|
(21), (22) Заявка: 2005116527/12, 30.05.2005
(24) Дата начала отсчета срока действия патента:
30.05.2005
(30) Конвенционный приоритет:
23.09.2004 KR 2004-76576
(43) Дата публикации заявки: 20.11.2006
(46) Опубликовано: 10.06.2007
(56) Список документов, цитированных в отчете о поиске:
ЕР 0361775 А2, 04.04.1990. Орлов П.И. Основы конструирования. – М.: Машиностроение, 1977, с.25, 26, 564-566. US 6510716 В1,28.01.2003. GB 2332212 А, 16.06.1999.
Адрес для переписки:
129010, Москва, ул. Б.Спасская, 25, стр.3, ООО “Юридическая фирма Городисский и Партнеры”, пат.пов. С.А.Дорофееву
|
(72) Автор(ы):
КИМ Сеон Гоо (KR)
(73) Патентообладатель(и):
САМСУНГ ЭЛЕКТРОНИКС КО., ЛТД. (KR)
|
(54) СТИРАЛЬНАЯ МАШИНА
(57) Реферат:
Стиральная машина имеет приводной двигатель со статором, прикрепленным к кожуху подшипников. Статор включает в себя магнитопровод, а также верхнюю и нижнюю изолирующие крышки, закрывающие соответственно верхнюю и нижнюю поверхности магнитопровода. Верхняя и/или нижняя изолирующая крышка имеет кольцеобразный фланец, который выступает внутрь от внутренней окружной поверхности этой крышки. Фланец имеет множество первых монтажных отверстий, а кожух подшипников имеет множество вторых монтажных отверстий, соответствующих первым монтажным отверстиям, посредством которых статор прикреплен к кожуху подшипников болтами. Фланец имеет позиционирующий выступ, направленный вверх, а кожух подшипников имеет на краевом участке своей внешней поверхности позиционирующую канавку, сформированную так, что позиционирующий выступ вставлен в позиционирующую канавку. Фланец установлен в заданное положение на кожухе подшипников так, что первые монтажные отверстия фланца совмещены со вторыми монтажными отверстиями кожуха подшипников. Данная конструкция обеспечивает простую и быструю сборку статора. 1 з.п. ф-лы, 8 ил.
Устройства, соответствующие настоящему изобретению, касаются стиральной машины, в частности стиральной машины, имеющей усовершенствованную конструкцию статора, прикрепленного к внешней поверхности бака для моющего раствора, позволяющую снизить материальные затраты на статор и обеспечить простоту и быстроту его сборки.
В процессе стирки белья в стиральной машине вращение вращающегося барабана происходит в прямом и обратном направлениях. В то же время, когда выстиранное белье отжимается стиральной машиной, вращающийся барабан вращается только в одном направлении и с высокой скоростью. В свою очередь, вращающийся барабан размещен с возможностью вращения в баке для воды, который заполняется моющим раствором, а с внешней стороны на баке для воды размещен приводной электродвигатель для привода вращающегося барабана во вращение.
В одном примере стиральная машина, описанная в патенте США №6510716, содержит бак для воды, вращающийся барабан, размещенный в баке для воды с возможностью вращения и закрепленный на валу, проходящем через бак для моющего раствора, и приводной электродвигатель, размещенный с внешней стороны поверхности бака для воды и предназначенный для обеспечения вращения вала и вращающегося барабана. Приводной электродвигатель включает в себя статор, прикрепленный к кожуху с подшипниками, который прикреплен к внешней поверхности бака для моющего раствора, и ротор, размещенный вокруг статора и соединенный с валом.
Статор включает в себя кольцеобразный магнитопровод, набранный из листов ферромагнитного материала, имеющих заданную форму и размер, верхние и нижние изолирующие крышки, закрывающие соответственно верхнюю и нижнюю поверхности магнитопровода, и катушку индуктивности, намотанную на магнитопровод.
Однако в стиральной машине, раскрытой в патенте США №6510716, магнитопровод имеет множество выступающих внутрь ребер, для закрепления статора на кожухе с подшипниками. В результате этого длина каждого листа ферромагнитного материала в составе магнитопровода должна быть увеличена на длину каждого выступающего ребра, что увеличивает материальные затраты на статор.
Кроме того, очень трудно совместить отверстия под болты, сформированные в каждом ребре, и отверстия под болты, сформированные в кожухе с подшипниками, вдоль прямой линии так, чтобы отверстия под болты в каждом ребре сообщались с соответствующими отверстиями под болты в кожухе с подшипниками, когда болты вставляют через отверстия в ребрах и отверстия в кожухе с подшипниками. В результате этого быстро и без труда закрепить статор на кожухе с подшипниками не удается.
Поэтому технической задачей настоящего изобретения является создание стиральной машины, имеющей усовершенствованную конструкцию статора, установленного на кожухе с подшипниками, позволяющую снизить материальные затраты на статор и обеспечить простую и быструю его сборку.
Данная техническая задача решается за счет того, что стиральная машина согласно заявленному изобретению содержит установленный в корпусе бак для воды, размещенный в баке вращающийся барабан, приводной вал которого проходит через кожух подшипников, закрепленный на внешней поверхности бака для воды, и приводной двигатель, состоящий из статора, прикрепленного к кожуху подшипников, и ротора, прикрепленного к валу таким образом, чтобы быть расположенным напротив статора, при этом статор содержит магнитопровод, имеющий верхнюю и нижнюю поверхности и верхнюю и нижнюю изолирующие крышки, закрывающие соответственно верхнюю и нижнюю поверхности магнитопровода, причем изолирующие крышки имеют кольцеобразные фланцы, выступающие внутрь из внутренней окружной поверхности крышек, а статор прикреплен к кожуху подшипников через верхнюю и нижнюю изолирующие крышки и содержит множество поддерживающих трубок, соединяющих монтажные отверстия верхней изолирующей крышки и монтажные отверстия нижней изолирующей крышки, а множество монтажных болтов, которыми статор прикреплен к кожуху подшипников, удерживаются поддерживающими трубками, при этом кожух подшипников имеет на краевом участке своей внешней поверхности позиционирующую канавку, а фланец, выполненный на верхней изолирующей крышке, имеет позиционирующий выступ, который входит в позиционирующую канавку, обеспечивая установку статора в заданное положение на кожухе подшипников.
Предпочтительно выполненный на верхней изолирующей крышке фланец имеет кольцеобразный буртик, надетый на краевой участок внешней поверхности кожуха подшипников, а позиционирующий выступ направлен внутрь от кольцеобразного буртика.
Цели и признаки изобретения станут более понятны из следующего ниже описания типичных примеров вариантов осуществления, сопровождаемых прилагаемыми чертежами, на которых:
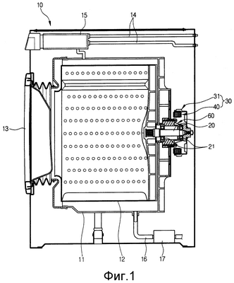
фиг.1 – продольное сечение стиральной машины согласно примеру осуществления настоящего изобретения;
фиг.2 – пространственное изображение приводного электродвигателя, размещенного снаружи бака для воды стиральной машины, показанной на фиг.1, в разобранном виде;
фиг.3 – пространственное изображение статора, соответствующего примеру осуществления настоящего изобретения, в разобранном виде;
фиг.4 – пространственное изображение крепежной конструкции между статором, представленным на фиг.3, и кожухом с подшипниками для бака с моющим раствором;
фиг.5 – сечение представленного на фиг.4 статора, который прикреплен к кожуху с подшипниками;
фиг.6 – пространственное изображение статора, соответствующего примеру осуществления настоящего изобретения, в разобранном виде;
фиг.7 – пространственное изображение крепежной конструкции между статором, представленным на фиг.6, и кожухом с подшипниками для бака с моющим раствором;
фиг.8 – сечение представленного на фиг.7 статора, который прикреплен к кожуху с подшипниками.
Ниже приведено подробное описание примеров осуществления настоящего изобретения. Примеры осуществления носят иллюстративный характер и рассмотрены со ссылками на фигуры.
Фиг. 1 является продольным сечением стиральной машины согласно настоящему изобретению, а фиг. 2 – пространственным изображением приводного электродвигателя, размещенного со стороны внешней поверхности бака для воды в составе стиральной машины, показанной на фиг. 1, в разобранном виде.
Как показано на фиг. 1, стиральная машина включает в себя корпус 10, формирующий внешний вид стиральной машины, бак 11 для воды, размещенный в корпусе 10, вращающийся барабан 12 для стирки белья, размещенный с возможностью вращения в баке 11 для воды, и дверцу 13, шарнирно прикрепленную к передней стороне корпуса 10.
В верхней части корпуса 10 размещены шланг 14 для подачи моющего раствора в бак 11 для воды и дозатор 15 для подачи стирального порошка в бак 11 для воды. В нижней части корпуса 10 размещены сливной шланг 16 и сливной насос 17 для откачки находящегося в баке 11 моющего раствора из корпуса 10.
Снаружи бака 11 для воды размещен приводной электродвигатель 30, вращающий барабан 12 в прямом и обратном направлениях. Между вращающимся барабаном 12 и приводным электродвигателем 30 размещен вал 20, один конец которого соединен с вращающимся барабаном 12, а другой – с приводным электродвигателем 30, что обеспечивает передачу вращающего усилия приводного электродвигателя 30 на барабан 12. Вал 20 проходит через бак 11 для воды.
Как показано на фиг. 2, приводной электродвигатель 30 включает в себя кольцеобразный статор 40, прикрепленный к внешней поверхности бака 11 для воды, и ротор 31, размещенный вокруг статора 40 и соединенный с валом 20.
В центре внешней поверхности к баку 11 для воды прикреплен кожух 60 с подшипниками, посредством которого статор 40 прикреплен к баку 11. В кожухе 60 на его внутренней окружной поверхности, установлены подшипники 21, посредством которых вал 20 вставлен с возможностью вращения в бак 11 для воды.
Следовательно, как показано на фиг. 1, статор 40 прикреплен к кожуху 60 с подшипниками, а ротор 31 напрямую соединен с валом 20, который, опираясь на подшипники 21, проходит через кожух 60 с подшипниками, и располагается напротив внешней окружной поверхности статора 40 для обеспечения вращения вала 20 и барабана 12.
Ниже со ссылками на фиг. 3-5 приведено описание конструкции статора 40, соответствующей первому варианту осуществления настоящего изобретения, и крепежной конструкции между статором 40 и кожухом 60 с подшипниками.
На фиг. 3 представлено пространственное изображение статора 40 в разобранном виде, на фиг. 4 – пространственное изображение крепежной конструкции между статором 40, представленным на фиг. 3, и кожухом 60 с подшипниками, а на фиг. 5 – сечение представленного на фиг. 4 статора 40, который прикреплен к кожуху 60 с подшипниками.
Как показано на фиг. 3-5, статор 40 включает в себя кольцеобразный магнитопровод 41, верхнюю и нижнюю изолирующие крышки 42 и 43, закрывающие соответственно верхнюю и нижнюю поверхности магнитопровода 41 для обеспечения их электрической изоляции, и намотанную на магнитопровод катушку 44 индуктивности, в которую подается электрический ток.
Ротор 31 включает в себя дискообразное основание 32, с которым соединен вал 20, кольцеобразный буртик 33, являющийся продолжением основания 32 и выступающий из его внешнего края по нормали, и множество магнитов 34, прикрепленных к буртику 33 и отстоящих друг от друга на заданном расстоянии.
Магнитопровод 41 статора 40 набран из кольцеобразных листов ферромагнитного материала, имеющих заданную форму. Магнитопровод 41 имеет заданную ширину, которая является расстоянием между его внутренней и внешней окружными поверхностями, и заданную толщину, которая является расстоянием между его верхней и нижней поверхностями.
Верхняя и нижняя изолирующие крышки 42 и 43 размещены соответственно на верхней и нижней поверхностях магнитопровода 41 и закрывают их. Катушка 44 индуктивности намотана на сердечники 41a магнитопровода 41 поверх закрывающих его верхней и нижней крышек 42 и 43.
Форма верхней и нижней изолирующих крышек 42 и 43 совпадает с формой соответственно верхней и нижней поверхностей магнитопровода 41, так что верхняя и нижняя изолирующие крышки 42 и 43 прикреплены соответственно к верхней и нижней поверхностям магнитопровода 41.
Как указано выше, верхняя и нижняя изолирующие крышки 42 и 43 прикреплены к магнитопроводу 41, а катушка 44 индуктивности намотана на сердечники 41a из ферромагнитного материала. Такую конструкцию имеет статор 40. Чтобы прикрепить собранный статор 40 к кожуху 60 с подшипниками, верхняя изолирующая крышка 42 снабжена кольцеобразным фланцем 45, являющимся продолжением самой крышки и выступающим из ее внутренней окружной поверхности внутрь.
В первом варианте осуществления настоящего изобретения статор 40 прикреплен к кожуху 60 с подшипниками кольцеобразным фланцем 45, выполненным заодно целое с верхней изолирующей крышкой 42. В результате необходимость в крепежной структуре между магнитопроводом 41 и кожухом 60 с подшипниками отсутствует. Следовательно, размер каждого магнитного сердечника 41a уменьшен и поэтому материальные затраты магнитопровода 41 снижены.
Чтобы обеспечить достаточную прочность крепления верхней изолирующей крышки 42 статора 40 к кожуху 60 с подшипниками, фланец 45 имеет толщину t, превышающую толщину других участков верхней изолирующей крышки 42. Во фланце 45 выполнено множество первых монтажных отверстий 46, через которые фланец 45 крепится к кожуху 60 с подшипниками. Первые монтажные отверстия 46 размещены на заданном расстоянии одно от другого.
Фланец 45 может быть сформирован не на верхней изолирующей крышке 42, а на нижней изолирующей крышке 43. То есть фланцы 45 могут быть сформированы не только на верхней изолирующей крышке 42, но и на нижней изолирующей крышке 43, что позволяет крепить статор 40 к кожуху 60 с подшипниками через верхние и нижние изолирующие крышки 42 и 43.
Кожух 60 с подшипниками имеет приблизительно форму цилиндра и имеет выполненное в центре сквозное отверстие 61. Подшипники 21 размещены на верхнем и нижнем концах сквозного отверстия 61. На краевом участке кожуха 60 с подшипниками выполнены монтажные отверстия 62, размещенные на заданном расстоянии один от другого в окружном направлении. Вторые монтажные отверстия 62 соответствуют первым монтажным отверстиям 46, сформированным во фланце 45 верхней изолирующей крышки 42.
Для того чтобы установить первые монтажные отверстия 46 по одной линии со вторыми монтажными отверстиями 62, чтобы первые монтажные отверстия 46 совместились с соответствующими вторыми монтажными отверстиями 62, когда статор 40 крепится к кожуху 60, на участке между внутренней окружной поверхностью верхней изолирующей крышкой и фланцем 45 сформирован кольцеобразный буртик 47. Кольцеобразный буртик 47 выступает вверх в сторону кожуха 60 с подшипниками. На одной стороне кольцеобразного буртика 47 сформирован позиционирующий выступ 48, направленный в сторону внутренней окружной поверхности верхней изолирующей крышки 42.
Расстояние от центра статора 40 до кольцеобразного буртика 47 равно расстоянию от центра до краевого участка внешней поверхности кожуха 60 с подшипниками. Следовательно, когда статор 40 крепится к кожуху 60 с подшипниками, кольцеобразный буртик 47 надевается на внешнюю поверхность кожуха 60 с подшипниками. В заданном положении на краевом участке внешней поверхности кожуха 60 с подшипниками сформирована позиционирующая канавка 63, которая соответствует позиционирующему выступу 48 статора 40.
При надевании кольцеобразного буртика 47 на внешнюю поверхность кожуха 60 подшипника позиционирующий выступ 48 вставляется в позиционирующую канавку 63, так что статор не может больше перемещаться относительно кожуха 60 с подшипниками, а первые монтажные отверстия 46 совмещаются со вторыми монтажными отверстиями 62.
Поскольку монтажные болты вставляются через первые монтажные отверстия 46 и вторые монтажные отверстия 62, то в указанном выше состоянии статор 40 можно легко и быстро прикрепить к кожуху 60 с подшипниками. Затем вал 20 закрепляют в центре ротора 31. В результате магниты 34 ротора 31 размещаются напротив внешней окружной поверхности статора 40 и поэтому вал 20 и барабан 12 приводятся во вращение приводным электродвигателем 30.
Ниже со ссылками на фиг. 6-8 приведено описание конструкции статора 40a, соответствующей второму варианту осуществления настоящего изобретения, а также крепежной конструкции между статором 40a и кожухом 60 с подшипниками.
На фиг. 6 представлено пространственное изображение статора 40a в разобранном виде, на фиг. 7 – пространственное изображение крепежной конструкции между статором 40a, представленным на фиг. 6, и кожухом 60 с подшипниками, а на 8 – сечение представленного на фиг. 7 статора 40a, который прикреплен к кожуху 60 с подшипниками.
Как показано на фиг. 6-8, статор 40a включает в себя кольцеобразный магнитопровод 41, конструкция которого идентична конструкции магнитопровода 40, соответствующего первому варианту осуществления, и верхние и нижние изолирующие крышки 42a и 43a, закрывающие соответственно верхнюю и нижнюю поверхности магнитопровода 41. Верхняя и нижняя изолирующие крышки 42a и 43a снабжены фланцами 45a и 45b, выступающими из соответствующих внутренних окружных поверхностей внутрь.
В статоре 40a, соответствующем второму варианту осуществления, фланцы 45a и 45b сформированы соответственно на верхней и нижней изолирующих крышках 42a и 43a так, что статор 40a крепится к кожуху 60 с подшипниками через верхнюю и нижнюю изолирующие крышки 42a и 43a, и этот статор 40a отличается от статора 40, соответствующего первому варианту осуществления.
Фланец 45a имеет толщину, равную толщине верхней изолирующей крышке 42a, а фланец 45b имеет толщину, равную толщине нижней изолирующей крышки 43a. Во фланцах 45a и 45b сформированы первые монтажные отверстия 46, размещенные на заданном расстоянии один от другого в окружном направлении. На краевом участке каждого первого монтажного отверстия 46 сформирован прилив 46a, выступающий в направлении магнитопровода 41. На каждый прилив 46a надета поддерживающая трубка 49, с помощью которой каждое первое монтажное отверстие 46, сформированное на фланце 45a верхней изолирующей крышки 42a, соединяется с каждым первым монтажным отверстием 46, сформированным на фланце 45b нижней изолирующей крышки 43a.
Для совмещения первых монтажных отверстий 46 и вторых монтажных отверстий 62 по прямой линии так, чтобы первые монтажные отверстия 46 совпадали с соответствующими вторыми монтажными отверстиями 62, статор 40a снабжен кольцеобразным буртиком 47 и позиционирующим выступом 48, а позиционирующая канавка 63 сформирована в заданном положении на краевом участке внешней поверхности кожуха 60 с подшипниками. Кольцеобразный буртик 47 статора 40a надевается на краевой участок внешней поверхности кожуха 60 с подшипниками, а позиционирующий выступ 48 статора 40a вставляется в позиционирующую канавку 63 кожуха 60 с подшипниками.
После того как позиционирующий выступ 48 статора 40a вставлен в позиционирующую канавку 63 кожуха 60 с подшипниками и, следовательно, первые монтажные отверстия 46 совмещены с соответствующими вторыми монтажными отверстиями 62, во вторые монтажные отверстия 62 через первые монтажные отверстия 46, сформированные на фланце 45a верхней изолирующей крышки 42a, и первые монтажные отверстия 46, сформированные на фланце 45b нижней изолирующей крышки 43a, по поддерживающим трубкам 49, надетым на приливы 46a верхней изолирующей крышки 42a и приливы 46a нижней изолирующей крышки 43a, ввинчивают монтажные болты 50. В результате статор 40a крепится к кожуху 60 с подшипниками.
В статоре 40a рассмотренной выше конструкции, соответствующей второму примеру осуществления, повышение прочности крепления достигается за счет поддерживающих трубок 49, связывающих между собой монтажные отверстия 46 верхней изолирующей крышки 42a и монтажные отверстия 46 нижней изолирующей крышки 43a. Следовательно, фланцы 45a и 45b, сформированные соответственно на верхней и нижней изолирующих крышках 42a и 43a, могут иметь такую же толщину, как и соответственно верхние и нижние изолирующие крышки 42a и 43a.
Кроме того, на внутренних концах фланцев 45a и 45b могут быть сформированы кольцеобразные упрочняющие ребра 51, которые позволят надежно поддерживать фланцы 45a и 45b соответственно верхней и нижней изолирующих крышек 42a и 43a и избежать их деформации.
Как показано в приведенном выше описании, статор крепится к кожуху с подшипниками кольцеобразным фланцем, сформированным на верхней и/или нижней изолирующих крышках, закрывающих соответственно верхнюю и нижнюю поверхности магнитопровода, и позиционирующий выступ, сформированный на фланце, вставляется в позиционирующую канавку, сформированную на внешней поверхности кожуха с подшипниками, так что статор не может больше перемещаться относительно кожуха 60 с подшипниками. Следовательно, настоящее изобретение позволяет снизить материальные затраты на магнитопровод и обеспечить простое и легкое крепление статора к кожуху с подшипниками и поэтому позволяет снизить стоимость производства стиральной машины.
Выше приведено описание нескольких вариантов осуществления настоящего изобретения со ссылками на чертежи. Однако специалистам в данной области техники очевидно, что в эти варианты осуществления могут быть внесены изменения, не выходящие за пределы идеи и существа изобретения, объем которого определен в формуле изобретения и ее эквивалентах.
Формула изобретения
1. Стиральная машина, содержащая установленный в корпусе бак для воды, размещенный в баке вращающийся барабан, приводной вал которого проходит через кожух подшипников, закрепленный на внешней поверхности бака для воды, и приводной двигатель, состоящий из статора, прикрепленного к кожуху подшипников, и ротора, прикрепленного к валу таким образом, чтобы быть расположенным напротив статора, при этом статор содержит магнитопровод, имеющий верхнюю и нижнюю поверхности и верхнюю и нижнюю изолирующие крышки, закрывающие, соответственно, верхнюю и нижнюю поверхности магнитопровода, причем изолирующие крышки имеют кольцеобразные фланцы, выступающие внутрь из внутренней окружной поверхности крышек, а статор прикреплен к кожуху подшипников через верхнюю и нижнюю изолирующие крышки и содержит множество поддерживающих трубок, соединяющих монтажные отверстия верхней изолирующей крышки и монтажные отверстия нижней изолирующей крышки, а множество монтажных болтов, которыми статор прикреплен к кожуху подшипников, удерживаются поддерживающими трубками, при этом кожух подшипников имеет на краевом участке своей внешней поверхности позиционирующую канавку, а фланец, выполненный на верхней изолирующей крышке, имеет позиционирующий выступ, который входит в позиционирующую канавку, обеспечивая установку статора в заданное положение на кожухе подшипников.
2. Стиральная машина по п.1, в которой выполненный на верхней изолирующей крышке фланец имеет кольцеобразный буртик, надетый на краевой участок внешней поверхности кожуха подшипников, а позиционирующий выступ направлен внутрь от кольцеобразного буртика.
РИСУНКИ
MM4A – Досрочное прекращение действия патента СССР или патента Российской Федерации на изобретение из-за неуплаты в установленный срок пошлины за поддержание патента в силе
Дата прекращения действия патента: 31.05.2008
Извещение опубликовано: 27.07.2010 БИ: 21/2010
|
|