|
|
(21), (22) Заявка: 2005128358/12, 12.09.2005
(24) Дата начала отсчета срока действия патента:
12.09.2005
(30) Конвенционный приоритет:
13.09.2004 JP 2004-265002
(46) Опубликовано: 10.06.2007
(56) Список документов, цитированных в отчете о поиске:
JP 8309083 A1, 26.11.1996. JP 5084388 A1, 06.04.1993. EP 1118703 A1, 25.07.2001. RU 2232215 C1, 10.07.2004.
Адрес для переписки:
129010, Москва, ул. Б.Спасская, 25, стр.3, ООО “Юридическая фирма Городисский и Партнеры”, пат.пов. А.В.Мицу
|
(72) Автор(ы):
ИНУЗУКА Тадаси (JP), ФУКУДА Цуйоси (JP), КОМАЦУ Такаси (JP)
(73) Патентообладатель(и):
МАЦУСИТА ЭЛЕКТРИК ИНДАСТРИАЛ КО., ЛТД. (JP)
|
(54) СТИРАЛЬНАЯ МАШИНА БАРАБАННОГО ТИПА
(57) Реферат:
Стиральная машина барабанного типа содержит корпус, узел с баком для воды, расположенный в корпусе, гаситель вибрации, нижняя часть которого закреплена у части корпуса, являющейся основанием, и узел обнаружения смещения узла с баком для воды. Узел обнаружения смещения расположен между узлом с баком для воды и частью корпуса, являющейся основанием. Гаситель вибрации удерживает узел с баком для воды в месте, находящемся ближе к передней стороне корпуса, чем центр тяжести узла с баком для воды, а узел обнаружения смещения расположен ближе к задней стороне корпуса, чем гаситель вибрации. Технический результат заключается в обнаружении вибрации бака для белья с более высокой точностью. 3 з.п. ф-лы, 9 ил.
Настоящее изобретение относится к стиральной машине барабанного типа, предназначенной для выполнения процессов стирки, полоскания и удаления воды посредством вращения вращательного барабана, в котором размещают белье.
Что касается стиральной машины барабанного типа, то поскольку вращательный барабан расположен в баке для воды таким образом, что ось его вращения ориентирована горизонтально или наклонена по отношению к горизонтальному направлению посредством приподнятой передней части, имеет место тенденция к скапливанию белья и воды, находящихся во вращательном барабане, в нижней части барабана, когда происходит вращение вращательного барабана после загрузки в него белья, а такое состояние способствует возникновению чрезмерной вибрации вращательного барабана. В частности, именно тогда, когда выполняют процесс удаления воды после процессов стирки и полоскания, белье, находящееся во вращательном барабане, содержит воду и может быть неуравновешено по отношению к одной части вращательного барабана вследствие его вращения в зависимости от типов, материалов и форм белья. Если белье расположено в таком неуравновешенном состоянии в течение процесса удаления воды, при котором вращательный барабан вращается с высоким значением числа оборотов в минуту, бак для воды, в котором расположен вращательный барабан, будет подвержен значительной вибрации, вследствие чего возникают отклоняющиеся от нормы вибрация или шум. В случае возникновения вибрации, отклоняющейся от нормы, процесс управления для устранения неуравновешенного распределения белья во вращательном барабане выполняют посредством временного прекращения вращения барабана и последующего возобновления его вращения либо посредством уменьшения числе оборотов в минуту вращательного барабана.
Для выполнения управляющей операции в ответ на возникновение вибрации, отклоняющейся от нормы, предложены различные способы быстрого обнаружения такой вибрации. Например, в японской выложенной заявке на патент № Н6-170080 (Документ 1; см. страницы 2-3, фиг.1) раскрыт способ обнаружения отклоняющейся от нормы вибрации стиральной машины. В случае этого способа оповещение о чрезмерной вибрации происходит посредством обнаружения чрезмерной вибрации на основе выходного тока инверторной цепи, при этом инверторная цепь управляет индукторным электродвигателем, который вращает вращательный барабан.
Кроме того, в японской выложенной заявке на патент № Н61-098286 (Документ 2; см. страницы 1-3, фиг.1) также раскрыт способ работы стиральной машины. В случае этого способа переходом от цикла стирки к циклу удаления воды управляют на основе выходного сигнала обнаружения вибрации, передаваемого от датчика обнаружения вибрации на баке с водой. В данном случае операцию удаления воды немедленно прекращают, как только в течение цикла удаления воды обнаруживают вибрацию, отклоняющуюся от нормы.
Однако способ согласно Документу 1, который позволяет обнаружить вибрацию, отклоняющуюся от нормы, косвенным образом, исходя из изменений выходных токов инверторной цепи, основан на допущении, что неуравновешенное состояние белья будет отображено эффективным током индукторного электродвигателя и что неуравновешенное состояние приводит к вибрации, отклоняющейся от нормы. Тем не менее изменения эффективного тока индукторного электродвигателя могут быть вызваны не только неуравновешенным распределением белья во вращательном барабане, но и различными механическими факторами, например опорой индукторного электродвигателя или чем-либо подобным. Кроме того, поскольку задаваемое значение тока для обнаружения чрезмерной вибрации определяют на основе изменений эффективного тока, могут быть получены лишние оповещения о чрезмерной вибрации, что будет приводить к слишком частой остановке вращательного барабана.
Далее, в случае способа, раскрытого в Документе 2, при котором вибрацию бака с водой обнаруживают с помощью датчика обнаружения вибрации, в течение операции уравновешивания, при которой вращательный барабан вращается с низким числом оборотов в минуту, вибрация, отклоняющаяся от нормы, может быть не обнаружена вследствие незначительных амплитуд вибрации, даже если имеет место неуравновешенное распределение белья во вращательном барабане вследствие прилипания белья к внутренней поверхности вращательного барабана. Поскольку амплитуды вибрации весьма малы для их обнаружения, пока скорость вращения вращательного барабана не достигнет высокого числа оборотов в минуту, затруднительно обнаружить отклоняющуюся от нормы вибрацию до тех пор, пока вращательный барабан не будет вращаться с высоким значением числа оборотов в минуту. Следовательно, имеется повышенная опасность того, что белье или стиральная машина могут быть повреждены отклоняющейся от нормы вибрацией, когда вращательный барабан приводят в остановленное состояние, причем замедление вращательного барабана, вращающегося с высоким числом оборотов в минуту, будет происходить значительно дольше.
Следовательно, цель настоящего изобретения заключается в создании стиральной машины, включающей в себя датчик смещения для обнаружения с высокой точностью вибрации бака для воды, в котором размещен вращательный барабан.
Согласно предпочтительному варианту осуществления настоящего изобретения создана стиральная машина барабанного типа, включающая в себя корпус; узел с баком для воды, расположенный в корпусе, при этом узел с баком для воды включает в себя цилиндрический бак для воды, имеющий донную часть, цилиндрический вращательный барабан, имеющий донную часть и расположенный в цилиндрическом баке для воды, вращающийся вал, закрепленный в центре донной поверхности цилиндрического вращательного барабана, опору для удерживания вращающегося вала, при этом опора вала жестко прикреплена к задней донной поверхности цилиндрического бака для воды и двигатель для приведения в движение барабана, подсоединенный к вращающемуся валу; гаситель вибрации, нижняя часть которого закреплена у части корпуса, являющейся основанием; и узел обнаружения смещения для обнаружения смещения узла с баком для воды, при этом узел обнаружения смещения установлен между узлом с баком для воды и частью корпуса, являющейся основанием, причем гаситель вибрации удерживает узел с баком для воды в том месте, которое находится ближе к передней стороне корпуса, чем центр тяжести узла с баком для воды, а узел обнаружения смещения устанавливают ближе к задней стороне корпуса, чем гаситель вибрации.
Вышеупомянутые и другие цели и отличительные признаки настоящего изобретения будут очевидны из приведенного далее описания предпочтительных вариантов осуществления изобретения, представленного совместно с прилагаемыми чертежами, на которых:
фиг.1 – вид в поперечном сечении большинства компонентов стиральной машины барабанного типа, выполненной согласно предпочтительному варианту осуществления настоящего изобретения;
фиг.2 – принципиальная схема блока управления стиральной машины барабанного типа, выполненной согласно предпочтительному варианту осуществления настоящего изобретения;
фиг.3 – вид в перспективе датчика смещения;
фиг.4 – вид датчика смещения в поперечном сечении;
фиг.5 – вид в перспективе детали с обмотками, которая составляет датчик смещения;
фиг.6 – вид в перспективе нижнего соединительного элемента;
фиг.7 – вид в поперечном сечении чашеобразного элемента, который составляет нижний соединительный элемент;
фиг.8 – принципиальная схема, иллюстрирующая компоновку цепи обнаружения смещения с использованием датчика смещения;
фиг.9 – график, иллюстрирующий изменения выходного напряжения цепи обнаружения смещения.
На фиг.1 представлена компоновка основных компонентов стиральной машины 1 барабанного типа, выполненной согласно предпочтительному варианту осуществления настоящего изобретения. Узел 7 с баком для воды включает в себя вращательный барабан 2, бак 3 для воды, вмещающий в себя вращательный барабан 2, и двигатель 5 для приведения в движение барабана, соединенный с вращающимся валом 2а, который расположен в корпусе 6 стиральной машины 1 совместно с приподнятой передней частью узла 7 с баком для воды, при этом вращающийся вал 2а вращательного барабана 2 удерживают посредством опоры 68, расположенной на задней поверхности бака 3 для воды. Поскольку узел 7 с баком для воды имеет тяжелые компоненты, такие как опора 68 вала и приводной двигатель 5 барабана, вблизи его задней поверхности, центр тяжести узла 7 с баком для воды находится вблизи от задней поверхности узла 7. Такая компоновка приводит к неустойчивости узла с баком для воды. Поэтому ниже узла 7 расположен гаситель 70 вибрации, который удерживает узел 7 в том месте, которое находится ближе к передней стороне, чем центр тяжести узла 7. Кроме того, между верхней опорной частью 75, закрепленной на верхней части бака 3 для воды, и верхней стороной корпуса 6 установлена первая цилиндрическая пружина 71, так что узел 7 с баком для воды смещен к верхней передней части корпуса 6. Далее, дополнительно к первой цилиндрической пружине 71 имеется вторая цилиндрическая пружина 72, установленная между задней стороной корпуса 6 и нижней задней поверхностью узла 7 с баком для воды, при этом место установки второй цилиндрической пружины 72 на нижней задней поверхности узла 7 находится на более низком уровне, чем место удерживания узла 7 с баком для воды посредством гасителя 70 вибрации. Посредством первой и второй цилиндрических пружин 71 и 72 может быть предотвращена тенденция к отпаданию узла 7 с баком для воды к задней стороне, при этом будет образована конструкция, эффективная в отношении гашения вибрации.
Цилиндрический вращательный барабан 2, имеющий основание, установлен в баке 3 для воды с возможностью вращения. Вращательный барабан 2 приводят во вращение посредством приводного двигателя 5, расположенного у задней стороны бака 3 для воды, при этом направление вращения и скорость вращения вращательного барабана 2 можно изменять. Кроме того, вращательный барабан 2 расположен наклонно, так что ось его вращения наклонена от передней стороны, соответствующей его отверстию, к задней стороне, соответствующей его части, являющейся основанием. Поэтому пользователю нет необходимости наклоняться для загрузки и выгрузки белья во вращательный барабан 2 через открывающуюся дверцу 9, установленную у наклонной поверхности, образованной с передней стороны корпуса 6. Далее, поскольку стиральная машина может быть приведена в действие без необходимости обеспечения значительного промежутка перед такой стиральной машиной 1 барабанного типа, ее можно устанавливать в небольшом пространстве, подобном ванной комнате.
Хотя на чертеже это и не показано, стиральная машина 1 барабанного типа с описанной выше компоновкой также выполняет функцию сушки с помощью вентилятора для циркуляции теплого воздуха к вращательному барабану 2 и нагревателя для создания теплого воздуха. Кроме того, создан управляющий узел для управления рядом операций, включая процессы стирки, полоскания, удаления воды и сушки в последовательности на основе программы, введенной пользователем, и контроля рабочего состояния каждого узла.
Как показано на фиг.2, блок управления обеспечивает вращение двигателя 5, служащего для приведения барабана в движение, посредством инверторной цепи 26, при этом постоянный ток, подводимый к инверторной цепи 26 в качестве энергии приведения в движение, получают посредством выпрямления переменного тока от источника 31 выпрямителем 32 и сглаживания полученного постоянного тока посредством цепи сглаживания, включающей в себя дроссельную катушку 33 и сглаживающий конденсатор 34. Кроме того, блок управления управляет вращением двигателя 5 приведения в движение барабана на основе введенной программы, обеспеченной блоком 21 задания ввода, и информации о рабочем состоянии, определяемом каждым блоком обнаружения, а также управляет операциями клапана 14 подачи воды, клапана 13 отведения воды, вентилятора 17 и нагревателя 18 посредством блока 37 приведения в движение нагрузки.
Приводной двигатель 5 барабана представляет собой бесщеточный двигатель постоянного тока, включающий в себя статор с трехфазными обмотками 5а-5с, ротор с двухполюсным постоянным магнитом и трехпозиционными датчиками 24а-24с, и вращается посредством управляющей инверторной цепи 26 широтно-импульсной модификации, включающей в себя коммутационные устройства 26а-26f. Сигналы обнаружения положения ротора от датчиков положения 24а-24с подают к управляющему устройству 20 и на основе сигналов управление с широтно-импульсной модификацией состояния включения-выключения коммутационных устройств 26а-26f выполняют посредством приводной цепи 25. Соответственно, посредством регулирования электрического тока к трехфазным обмоткам 5а-5с управляют ротором для его вращения с заданным числом оборотов.
В случае стиральной машины 1 барабанного типа с вышеупомянутой компоновкой, когда белье загружено во вращательный барабан 2 через открывающуюся дверцу 9 и задан вариант выполнения операции или осуществлен ввод для начала выполнения операции от блока 21 задания ввода, обеспеченного в верхней части корпуса 6, стиральная машина 1 барабанного типа начинает выполнение операций в соответствии с заданным ходом выполнения операций при управлении управляющим устройством 20. Количество белья, загруженного во вращательный барабан 2, определяет датчик 30 количества белья, а управляющее устройство 20 управляет открыванием и закрыванием клапана 14 подачи воды, так что вода поступает во вращательный барабан 2 до уровня, соответствующего количеству белья. Уровень воды в баке 3 с водой определяет датчик 16 уровня воды. Точнее, ток, текущий в инверторную цепь 26, колеблется в зависимости от нагрузки, оказываемой на приводной двигатель 5 барабана, когда вращательный барабан 2 вращается с заданной скоростью вращения. Таким образом, цепь 29 обнаружения тока определяет значение тока по напряжениям на обоих концах резистора 28, который последовательно подсоединен к цепи прохождения тока, а датчик 30 количества белья определяет количество белья во вращательном барабане 2 на основе обнаруженного значения тока. Кроме того, определение количества белья также может быть выполнено посредством датчика 36 смещения, который будет описан далее. В таком случае датчик 27 тока, включающий в себя резистор 28 и цепь 29 обнаружения тока, может быть выполнен так, чтобы его можно было использовать для определения крутящего момента двигателя 5 приведения в движение барабана.
Если распределение белья не уравновешено относительно части вращательного барабана 2, в частности, в течение процесса удаления воды, вращательный барабан 2 будет подвержен значительной вибрации, что, в свою очередь, также приводит к вибрации узла 7 с баком для воды, а это вызывает вибрацию, отклоняющуюся от нормы, или шум. Поэтому в том случае, когда вибрация узла 7 с баком для воды превышает заданный уровень, необходимо осуществить управление для временного прекращения вращения вращательного барабана 2 и последующего возобновления его вращения либо уменьшения скорости вращательного барабана 2 для устранения неуравновешенного распределения белья. Для обнаружения вибрации узла 7 с баком для воды между нижней опорной частью 74, на которой установлен гаситель 70 вибрации, поддерживающий узел 7 с баком для воды, и опорной плитой 73, закрепленной на являющейся основанием части корпуса 6 стиральной машины 1, установлен датчик 36 смещения (элемент обнаружения смещения).
Как показано на фиг.3 и 4, датчик 36 смещения включает в себя узел 40 с обмотками обнаружения и узел 41 со смещающимся штоком, который может быть вставлен в узел 40 с обмотками обнаружения таким образом, что он сможет перемещаться по вертикали внутри узла 40. Нижний конец узла 40 с обмотками обнаружения соединен с нижней крепежной плитой 46 через нижний соединительный элемент 44, в то время как верхний конец узла 41 со смещающимся штоком соединен с верхней крепежной плитой 47 через верхний соединительный элемент 45. Нижняя крепежная плита 46 и верхняя крепежная плита 47 входят в зацепление соответственно с опорной плитой 73 и с нижней опорной частью 74, так что датчик 36 смещения может реагировать на вибрацию узла 7 с баком для воды в трех измерениях и обнаруживать смещение узла 7 с баком для воды вследствие вибрации.
Как показано на фиг.4, узел 40 с обмотками обнаружения включает в себя деталь 57 с тремя обмотками 61-63, навитыми вокруг бобины 60 и подсоединенными к соединителю 65, и цилиндрическую деталь 58, при этом деталь 57 с обмотками, покрытая деталью 67, отформованной из полимера, с возможностью скольжения посажена по периферии цилиндрической детали 58, в которую должен быть вставлен шток 43 узла 41 со смещающимся штоком, причем таким образом, чтобы он имел возможность перемещения по вертикали.
В случае детали 57 с обмотками, показанной на фиг.4 и 5, первичную обмотку 61 наматывают вокруг приблизительно центральной части бобины 60, обеспеченной соединительными фланцами 59а-59с обмоток, а вторую вторичную обмотку 63 наматывают соосно вокруг нее, так что часть второй вторичной обмотки 63 покрывает первичную обмотку 61. Кроме того, первую вторичную обмотку 62 наматывают между соединительными фланцами 59а и 59b обмоток. После этого посредством припаивания концов соответствующих обмоток к шести соответствующим соединительным элементам 64, каждый из которых утапливают в одном из соединительных фланцев 59а-59с обмоток, может быть получена деталь с тремя намотанными обмотками, в которой три обмотки намотаны на бобину 60. Как показано в цепи обнаружения смещения согласно фиг.8, для соединения одного конца каждой обмотки с потенциалом земли, по отдельности выводя наружу соответствующие другие концы, первичную обмотку 61, первую вторичную обмотку 62 и вторую вторичную обмотку 63 соединяют с соединителем 65 с четырьмя клеммами. Как показано на фиг.5, посредством припаивания четырех соединительных пластин 66а-66d, одни из концевых частей которых служат в качестве удлинений соединительных штырей четырех клемм соединителя 65 в заданных положениях на соединительном элементе 64, каждая обмотка может быть соединена с соединителем 65 без подводящей проводки. Как показано на фиг.3 и 4, деталь 57 с обмотками покрыта деталью 67, отформованной из полимера, за исключением штекерной части соединителя 65, которая открыта наружу, так что может быть улучшена влагонепроницаемость и защита от вибрации детали 57 с обмотками.
Как показано на фиг.4, на фланце 69, образованном на нижней части цилиндрической детали 58, имеющей основание, расположена пружина 78. Соответственно, если установлена деталь 57 с обмотками, то эта деталь 57 будет смещена вверх посредством пружины 78, и в этом состоянии деталь 57 с обмотками будет прикреплена к цилиндрической детали 58 посредством навинчивания гайки 79 на винтовую часть 58а, расположенную в верхней концевой части цилиндрической детали 58. Высоту детали 57 с обмотками, прикрепленной к цилиндрической детали 58, можно регулировать посредством изменения положения гайки 79 при ее подсоединении путем навинчивания. Кроме того, как показано на фиг.5, в нижней концевой части бобины 60 образованы щелевые части, выходящие наружу ниже детали 67, отформованной из полимера, при этом с ними входят в зацепление выступы (не показаны), образованные в соединительной части пружины 78 цилиндрической детали 58, чтобы таким образом обеспечить устойчивость детали 57 с обмотками на цилиндрической детали 58, причем с предотвращением поворота на ней детали 57.
Узел 41 со смещающимся штоком, который вставляют в цилиндрическую деталь 58 узла 40 обнаружения, содержащего обмотки, так что он имеет возможность перемещения по вертикали, включает в себя шток 43, имеющий цилиндрическую форму с основанием, как показано на фиг.4. Цилиндрический феррит (магнитное тело) 42 вставляют в шток 43, при этом промежуточную деталь 48, образованную из немагнитного материала, также вставляют с опиранием на феррит 42. Кроме того, на промежуточной детали 48 устанавливают прижимную пружину 49, а колпачок 50, имеющий глобоидальную часть 45а верхнего соединительного элемента 45 у одного своего конца, посредством свинчивания соединяют с винтовой частью, образованной у верхнего конца штока 43, посредством чего феррит 42 удерживают в определенном положении. Посредством фиксации феррита 42 в определенном положении вследствие смещения пружиной может быть предотвращена деформация узла 41 со смещающимся штоком, обусловленная разностью коэффициента теплового расширения между штоком 43, изготовленным из полимера, и ферритом 42. В случае стиральной машины, поскольку колебания температуры значительны, предпочтительно использовать такую конструкцию для предотвращения деформации, вызываемой тепловым расширением.
Кроме того, поскольку феррит 42 изготавливают формованием порошка, служащего в качестве сырья, посредством его прессования и последующего спекания отформованной структуры, феррит 42 уязвим к ударам или чему-либо подобному. Однако, даже если феррит 42 разрушен, например, внутри штока 43, это не должно повлиять на его электрические свойства, поскольку феррит 42 будет прижат к ступени полой части посредством прижимной пружины 49. Следовательно, вместо использования феррита 42 с заданной стандартной длиной также можно использовать множество более коротких ферритов, устанавливаемых друг на друга, так что появляется возможность выбора между использованием одного феррита стандартной длины или использованием множества более коротких ферритов. Поэтому можно использовать феррит стандартного размера или разрушенный феррит более короткого размера. Кроме того, прижимную пружину 49 предпочтительно изготавливают из немагнитного материала, так что пружина не будет создавать помехи действию феррита 42, имеющего фиксированную длину и образованного из магнитного материала, и служит в качестве продолжения феррита 42. Однако в данном случае в предпочтительном варианте осуществления настоящего изобретения, поскольку феррит 42 смещают посредством прижимной пружины 49 через немагнитную промежуточную деталь 48, допустимо формирование прижимной пружины 49 в виде магнитного тела, то есть прижимная пружина 49 может представлять собой магнитное либо не магнитное тело. Таким образом, имеется большая возможность выбора, касающаяся материала для прижимной пружины 49. Далее, посредством обеспечения пространства с внутренней концевой стороны штока 43 и формирования отверстия 51 для выхода воды, проходящего от упомянутого пространства к наружной стороне, становится возможным выпуск сконденсированной воды из штока 43 в случае образования сконденсированной воды вследствие изменений температуры.
Поскольку шток 43 узла 41 со смещающимся штоком, имеющий вышеупомянутую конфигурацию, вставляют в цилиндрическую деталь 58 узла 40 обнаружения, содержащего обмотки, для перемещения в нем вверх и вниз, подобно поршню, перемещающемуся в цилиндре, коэффициент трения между штоком 43 и цилиндрической деталью 58 должен быть небольшим. В общем, если снижение коэффициента трения достигают путем покрытия смазкой, например консистентной смазкой, тех частей, которые скользят по отношению друг к другу, это приводит к недостатку, заключающемуся в том, что измельченные в порошок волокна или частицы пыли будут прилипать к покрывающей смазке, делая невозможным сохранение ее эксплуатационных качеств в течение продолжительного периода времени. Поэтому в предпочтительном варианте осуществления конструкции шток 43 и цилиндрическую деталь 58 формируют посредством сочетания материалов, имеющих небольшие коэффициенты трения и высокую абразивную стойкость по отношению друг к другу. Например, что-либо одно из штока 43 и цилиндрической детали 58 может быть образовано из полиацеталя, в то время как другая из этих частей может быть образована из полиамида, при этом трение между штоком 43 и цилиндрической деталью 58 может быть уменьшено, когда шток 43 перемещается относительно цилиндрической детали 58. Кроме того, поскольку эти материалы имеют высокую абразивную стойкость, может быть повышена долговечность. Далее, когда шток 43 быстро перемещается вверх и вниз внутри цилиндрической детали 58, воздух внутри цилиндрической детали 58 сжимается или расширяется. Поэтому, чтобы предотвратить сопротивление вертикальному перемещению узла 41 со смещающимся штоком, создаваемое воздухом, предпочтительно обеспечить в нижней концевой стороне цилиндрической детали 58 отверстие 80 для выпуска воздуха, выходящее из его внутренней полой части к наружной стороне. Отверстие 80 для выпуска воздуха также может быть использовано для выпуска наружу влаги или сконденсированной воды, находящейся внутри цилиндрической детали 58.
Как описано со ссылкой на фиг.1, датчик 36 смещения расположен между узлом 7 с баком для воды и частью корпуса 6, являющейся основанием, для обнаружения смещения узла 7. Исходя из того, что направление вибрации узла 7 с баком для воды является трехразмерным и при этом часть корпуса 6, являющаяся основанием, закреплена в одном положении, необходимо обеспечить монтажную конструкцию для датчика смещения 36, способную предотвратить его повреждение вследствие вибрации узла 7 с баком для воды или отклонения от его исходного положения.
Как показано на фиг.3 и 4, в узле 41 со смещающимся штоком в верхнем конце колпачка 50 посредством свинчивания соединяемого с верхним концом штока 43 образована глобоидальная часть 45а, а чашеобразная часть 45b, имеющая внутренний диаметр, соответствующий диаметру глобоидальной части 45а, смонтирована на верхней крепежной плите 47, входящей в зацепление с нижней опорной частью 74, которая прикреплена к узлу 7 с баком для воды, при этом глобоидальная часть 45а установлена в чашеобразной части 45b, так что глобоидальная часть 45а и чашеобразная часть 45b служат в качестве верхнего соединительного элемента 45. Кроме того, что касается узла 40 обнаружения, содержащего обмотки, то у нижнего конца цилиндрической детали 58 образована глобоидальная часть 44а, а чашеобразная часть 44b смонтирована на нижней крепежной плите 46, входящей в зацепление с опорной плитой 73, которая закреплена на части корпуса 6, являющейся основанием, при этом глобоидальную часть 44а устанавливают в чашеобразной части 44b, так что глобоидальная часть 44а и чашеобразная часть 44b служат в качестве нижнего соединительного элемента 44. Посредством использования монтажной конструкции для датчика 36 смещения, имеющей верхний и нижний соединительные элементы с вышеуказанной компоновкой, датчик 36 смещения может гибко реагировать на вибрацию узла 7 с баком для воды, воспринимая смещение узла 41 со смещающимся штоком по отношению к узлу 40 обнаружения, содержащего обмотки, которое соответствует величине вибрации узла 7 с баком для воды.
Как описано выше, поскольку узел 40 обнаружения, содержащий обмотки, имеет соединитель 65 и к соединителю 65 подсоединен питающий провод, когда узел 40 поворачивается, имеется опасность того, что питающий провод, подсоединенный к соединителю 65, может быть срезан или может быть отделено само соединение. Поэтому нижний соединительный элемент 44 имеет конструкцию, препятствующую вращению для предотвращения вращения узла обнаружения 40, но с сохранением при этом его свободного перемещения.
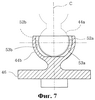
Как показано на фиг.6, глобоидальная часть 44а, образующая нижний соединительный элемент 44, оснащена парой цилиндрических выступов 52а и 52b, которые выступают противоположно от сферической поверхности глобоидальной части 44а вдоль ее диаметрального направления перпендикулярно осевому направлению штока 43. Кроме того, чашеобразная часть 44b, которая должна быть соединена с глобоидальной частью 44а, имеет пару зацепных канавок 53а и 53b в ее местах, соответствующих цилиндрическим выступам 52а и 52b глобоидальной части 44а. Точнее, зацепные канавки 53а и 53b образуют по пути, проходящему цилиндрическими выступами 52а и 52b глобоидальной части 44а, когда центральная ось С штока 43 наклонена к направлению, в котором образованы цилиндрические выступы 52а и 52b, причем это движение выполняют вокруг центра глобоидальной части 44а, как показано на виде в поперечном сечении, представленном на фиг.7. Поскольку цилиндрические выступы 52а и 52b образованы вдоль диаметрального направления глобоидальной части 44а, можно удерживать цилиндрические выступы 52а и 52b в зацеплении с зацепными канавками 53а и 53b, даже когда центральная ось С штока 43, в общем, отклоняется на 360 градусов. Если нижний соединительный элемент 44 имеет вышеуказанную конфигурацию, то, хотя сохраняется свободное движение нижнего соединительного элемента 44 по отношению к движению узла 40 обнаружения, содержащего обмотки, в направлении 360 градусов посредством зацепления глобоидальной части 44а с чашеобразной частью 44b, вращение узла 40 обнаружения, содержащего обмотки, вокруг центральной оси может быть предотвращено, поскольку цилиндрические выступы 52а и 52b входят в зацепление с зацепными канавками 53а и 53b. Кроме того, цилиндрические выступы 52а и 52b, выступающие от глобоидальной части 44а в противоположных направлениях, могут быть образованы так, что будут иметь разные диаметры, поэтому зацепные канавки 53а и 53b, соответствующие цилиндрическим выступам, соответственно 52а и 52b, также имеют разную ширину. Следовательно, становится возможным ограничение направления установки узла 40 обнаружения, содержащего обмотки, чтобы заданным образом отрегулировать монтажное соединение с соединителем 65.
Что касается глобоидальной части 44а и чашеобразной части 44b, совместно образующих соединительный элемент 44, а также глобоидальной части 45а и чашеобразной части 45b, совместно образующих верхний соединительный элемент 45, то глобоидальные части 44а и 45а и чашеобразные части 44b и 45b формируют из комбинаций материалов, обеспечивающих между ними низкий коэффициент трения, как в случае цилиндрической детали 58 и штока 43, перемещающегося в ней посредством скольжения. В предпочтительном варианте осуществления настоящего изобретения, поскольку глобоидальная часть 44а образована на одном конце цилиндрической детали 58 как единое с ней тело, нижнюю крепежную плиту 46, имеющую чашеобразную часть 44b, образованную совместно с ней как единое тело, и цилиндрическую деталь 58 выполняют из разных материалов, обеспечивающих небольшой коэффициент трения между ними. В результате глобоидальная часть 44а и чашеобразная часть 44b могут быть соединены друг с другом таким образом, что их плавное движение скольжения относительно друг друга будет обеспечено без необходимости покрытия скользящих частей смазкой, например консистентной смазкой. Подобным же образом в случае верхнего соединительного элемента 45 верхнюю крепежную плиту 47, имеющую чашеобразную часть 45b, образованную совместно с ней как единое тело, и колпачок 50, имеющий глобоидальную часть 45а, образованную совместно с ним как единое тело, выполняют из разных материалов. Одним из примеров сочетания таких материалов, обеспечивающих небольшой коэффициент трения между ними, является группа, состоящая из полиацеталя и полиамида.
Для выполнения лицевых элементов частей, выполняющих контакт скольжения, используя комбинации материалов, обеспечивающих небольшой коэффициент трения, как описано выше, предпочтительно выбрать материал для каждой части датчика 36 смещения так, как будет описано ниже. В данном случае части, обеспечивающие контакт скольжения, относятся к верхнему и нижнему соединительным элементам 44 и 45, а также к скользящим частям штока 43 и цилиндрической детали 58.
Как описано, чашеобразная часть 44b, образованная на нижней крепежной плите 46, имеет зацепные канавки 53а и 53b для предотвращения вращения узла 40 обнаружения, содержащего обмотки. В данном случае, даже если чашеобразная часть 45b, установленная на верхней крепежной плите 47, выполнена так, чтобы она имела зацепные канавки 53а и 53b, она не будет мешать свободному перемещению глобоидальной части 45а. Соответственно, можно использовать те же самые части для верхней и нижней крепежных плит 47 и 46. В дальнейшем для простоты будут использованы буквенные обозначения, при этом материал для формируемых из полимера верхней и нижней крепежных плит 47 и 46 будем называть материалом В, в то время как материал для формуемых из пластика цилиндрической детали 58 и колпачка 50, образуемых как единое тело с глобоидальными частями соответственно 44а и 45а, соответствующими чашеобразным частям соответственно 44b и 45b, будем называть материалом С. Кроме того, материал для формируемого из полимера штока 43, со скольжением перемещающегося внутри цилиндрической детали 58, представляет собой материал В, отличающийся от материала для формирования цилиндрической детали 58. Поскольку шток 43 имеет колпачок 50, а глобоидальная часть 45а образована как единое тело с колпачком 50, вышеупомянутое различие материалов становится возможным, при этом лицевые элементы частей, осуществляющих контакт скольжения, могут быть образованы из материалов соответственно В и С, посредством чего между ними будет обеспечен небольшой коэффициент трения. Например, материал В может представлять собой полиацеталь, в то время как материал С может представлять собой полиамид.
Датчик 36 смещения, имеющий описанную выше компоновку, устанавливают между опорной плитой 73 и нижней опорной частью 74, на которой установлен гаситель 70 вибрации, как показано на фиг.1. Поскольку гаситель 70 вибрации удерживает узел 7 с баком для воды в том месте, которое находится ближе к передней стороне корпуса 6, чем центр тяжести узла 7 с баком для воды, как описано ранее, датчик 36 смещения устанавливают на вертикальной линии или вблизи от этой линии, проходящей через центр тяжести узла 7 с баком для воды, то есть в том месте, которое находится ближе к задней стороне корпуса 6, чем гаситель 70 вибрации. В случае такой компоновки может быть определено среднее перемещение узла 7 с баком для воды, что позволяет повысить точность детектирования смещения. Кроме того, в том случае, если датчик 36 смещения установлен в том месте, которое находится ближе к передней части корпуса 6, чем гаситель 70 вибрации, может быть обнаружена чрезмерно высокая вибрация, когда передняя сторона вращательного барабана 2 сильно вращается, например, выполняя движение биения. Помимо этого, посредством установки датчика 36 смещения на вертикальной линии или вблизи от этой линии, проходящей через центр тяжести узла 7 с баком для воды, может быть повышена точность в случае определения количества белья, загруженного во вращательный барабан 2, посредством датчика 36 смещения, что будет описано ниже.
Далее, поскольку датчик 36 смещения может обнаружить смещение в направлении, по существу идентичном осевому направлению гасителя 70 вибрации, он может точно обнаружить вибрацию узла 7 с баком для воды. Кроме того, поскольку установка датчика 36 смещения может быть осуществлена посредством разделения компонентов для установки гасителя 70 вибрации, можно надежно установить датчик 36 смещения без необходимости использования дополнительных компонентов. Точнее, крепление датчика 36 смещения к нижней опорной части 74 и опорной плите 73 может быть легко выполнено посредством установки зацепного элемента 54 и крюкового элемента 55 в зацепные отверстия, образованные в нижней опорной части 74 и опорной плите 73, при этом зацепной элемент 54 и крюковой элемент 55 имеют одну и ту же конструкцию и образованы на каждой из верхней и нижней крепежных плит 47 и 46, как показано на фиг.3 и 4. То есть посредством установки зацепного элемента 54, имеющего криволинейную форму, в отверстие, образованное под наклоном в нижней опорной части 74 или опорной плите 73, и введения крюкового элемента 55 в другое отверстие, образованное в нижней опорной части 74 или опорной плите 73, таким образом, что верхняя крепежная плита 47 или нижняя крепежная плита 46 будут расположены параллельно нижней опорной части 74 или опорной плите 73, препятствующая разделению часть крюкового элемента 55 может быть захвачена в упомянутом другом отверстии, обеспечивая таким образом возможность установки датчика 36 смещения без использования соединительных элементов, например винтов.
В стиральной машине барабанного типа согласно предпочтительному варианту осуществления настоящего изобретения используют конструкцию для гашения вибрации, в которой узел 7 с баком для воды расположен наклонно, так что его передняя часть приподнята, при этом гаситель 70 вибрации удерживает узел 7 с баком для воды в месте, которое находится ближе к передней части стиральной машины, чем центр тяжести узла 7 с баком для воды, а первая и вторая цилиндрические пружины 71 и 72 обеспечивают упругое подвешивание узла 7 с баком для воды в заданном положении. Поскольку функция гасителя 70 вибрации становится особенно заметной в случае приведенной выше компоновки, более точное обнаружение смещения узла 7 с баком для воды может быть обеспечено посредством установки датчика 36 смещения в направлении, по существу идентичном направлению гашения вибрации гасителем 70 вибрации, как в случае предпочтительного варианта осуществления настоящего изобретения.
Обнаружение смещения узла 7 с баком для воды датчиком 36 смещения может быть осуществлено посредством соединения цепи 81 колебаний и цепи 82 обнаружения с соединителем 65, установленным в узле 40 обнаружения, содержащем обмотки. В том случае, когда узел 7 с баком для воды находится в заданном положении без совершения им смещения, феррит 42 сам по себе располагается в базовом положении, в котором не происходит смещение узла 41 со смещающимся штоком по отношению к узлу 40 обнаружения, содержащему обмотки. Соответственно, если возбужденный магнитный сигнал определенной мощности передают к основной обмотке 61 от цепи 81 колебаний, то выходные сигналы, обеспечиваемые по отношению к первой вторичной обмотке 62 и второй вторичной обмотке 63, сохраняются на определенном уровне. Цепь колебаний 81 налагает синусоидальную волну или прерывистую волну заданной частоты на первичную обмотку 61 в качестве возбужденного магнитного сигнала, а цепь обнаружения 82 с обмотками выпрямляет и сглаживает выходные сигналы, возбужденные в первой и второй вторичных обмотках 62 и 63 в результате наложения возбужденного магнитного сигнала на первичную обмотку 61, чтобы таким образом получить выходное напряжение, соответствующее смещению узла 7 с баком для воды.
В данном случае базовое положение относится к положению феррита 42, в котором его нижний конец будет расположен в месте, идентичном нижнему концу первичной обмотки 61, когда белье не загружено во вращательный барабан 2. При обеспечении базового положения положение феррита 42 внутри обмотки можно регулировать посредством управления положением по высоте узла 40 обнаружения, содержащего обмотки, который смещается вверх посредством пружины 78, по отношению к узлу 41 со смещающимся штоком посредством поворотной гайки 79, как показано на фиг.3. Поскольку невозможно обеспечить непосредственное наблюдение за ферритом 42, его положение может быть легко отрегулировано посредством поворотной гайки 79, так что каждый из выходных сигналов первой и второй вторичных обмоток 62 и 63 выходит из цепи обнаружения 82 в виде напряжения, соответствующего базовому положению.
Когда узел 41 со смещающимся штоком перемещается по вертикали внутри узла 40 обнаружения, содержащего обмотки, в ответ на смещение узла 7 с баком для воды, положение феррита 42 изменяется, так что напряжение, получаемое цепью обнаружения 82 от выходного сигнала, возбуждаемого в первой вторичной обмотке 62, колеблется так, как показано на графике А1, представленном на фиг.9. На графике А1 выходное напряжение формирует фактически прямую линию в диапазоне примерно от 10 мм со стороны расширения до 15 мм со стороны сжатия по отношению к базовому положению. Поскольку этот диапазон расширения и сжатия охватывает состояние, при котором белье может быть размещено во вращательном барабане 2, уровень перепада в узле 7 с баком для воды изменяется в зависимости от количества белья, загруженного во вращательный барабан 2. Таким образом, выходное напряжение, получаемое цепью обнаружения 82 от первой вторичной обмотки 62, можно считать подходящим для использования при обнаружении количества белья во вращательном барабане 2.
Между тем, выходное напряжение, получаемое цепью 82 обнаружения от выходного сигнала, возбуждаемого второй вторичной обмоткой 63, колеблется так, как показано на графике А2 согласно фиг.9. Согласно графику А2 выходное напряжение формирует фактически прямую линию в пределах диапазона примерно от 10 мм со стороны расширения до 40 мм со стороны сжатия по отношению к базовому положению. Поскольку этот диапазон охватывает состояние, при котором белье загружено во вращательный барабан 2 и вода подана в бак 3 до максимального уровня в течение процесса стирки, изменение выходного напряжения, получаемого цепью обнаружения 82 от выходного сигнала второй вторичной обмотки 63, предпочтительно используют при обнаружении смещения от вибрации узла 7 с баком для воды.
Путем подвода двух изменений напряжения, получаемых цепью обнаружения 82, к управляющему устройству 20 (см. фиг.2), оно может получить два вида информации обнаружения смещения, касающейся обнаружения количества белья и вибрации узла 7 с баком для воды, что приводит к надежному управлению стиральной машиной 1 барабанного типа. То есть в первоначальной стадии начала работы стиральной машины 1 уровень падения узла 7 с баком для воды изменяется в зависимости от количества белья, загруженного во вращательный барабан 2. Поэтому управляющее устройство 20 определяет количество белья на основе смещения узла 7 с баком для воды, используя выходное напряжение цепи обнаружения 82, получаемое от первой вторичной обмотки 62, и управляет открыванием/закрыванием клапана 14 подачи воды с целью подачи воды для стирки до уровня, соответствующего количеству белья, чтобы таким образом управлять операциями, например точно устанавливать продолжительность процессов стирки, полоскания и удаления воды на основе количества белья. Кроме того, если величина изменения напряжения, получаемого от выходного сигнала, возбуждаемого во второй вторичной обмотке 63 датчика 36 смещения, велика, когда управляющее устройство 20 управляет рядом процессов, управляющее устройство 20 определяет, какое отклонение от нормы произошло, и прекращает вращение приводного двигателя 5 барабана, при этом оно может уменьшить число оборотов в минуту вращательного барабана 2 или временно прекратить вращение вращательного барабана 2 и затем возобновить его вращение. Вследствие этого отклоняющаяся от нормы вибрация или шум могут быть предотвращены.
Согласно настоящему изобретению, которое описано выше, смещение узла с баком для воды может быть обнаружено посредством датчика смещения, расположенного ниже центра тяжести узла с баком для воды, подвешенного в корпусе стиральной машины через конструкцию для гашения вибрации. Поэтому можно точно обнаружить смещение узла с баком для воды, что, в свою очередь, обеспечивает выполнение управляющим устройством точного управления на основе количества белья или воды. Таким образом, количество белья, загруженного во вращательный барабан, или наличие вибрации вследствие неуравновешенного распределения белья во вращательном барабане может быть обнаружено с высокой точностью. Следовательно, поскольку стиральная машина согласно настоящему изобретению может выполнять управляющие операции на основе обнаружения смещения узла с баком для воды, вибрация, отклоняющаяся от нормы, может быть предотвращена без возникновения повреждения загруженного белья или самой стиральной машины.
Хотя настоящее изобретение показано и описано применительно к предпочтительным вариантам его осуществления, специалистам в данной области техники будет понятно, что без отклонения от существа и объема изобретения, которые определены в приведенных далее пунктах формулы изобретения, могут быть выполнены различные изменения и модификации описанного изобретения.
Формула изобретения
1. Стиральная машина барабанного типа, содержащая корпус, узел с баком для воды, расположенный в корпусе, при этом узел с баком для воды включает в себя цилиндрический бак для воды, имеющий дно, цилиндрический вращательный барабан, имеющий дно и расположенный в цилиндрическом баке для воды, вращающийся вал, закрепленный в центре донной поверхности цилиндрического вращательного барабана, опору для удерживания вращающегося вала, жестко прикрепленную к задней донной поверхности цилиндрического бака для воды, и двигатель для приведения в движение барабана, соединенный с вращающимся валом, гаситель вибрации, нижняя часть которого закреплена у части корпуса, являющейся основанием, и узел обнаружения смещения для обнаружения смещения узла с баком для воды, причем узел обнаружения смещения расположен между узлом с баком для воды и частью корпуса, являющейся основанием, при этом гаситель вибрации удерживает узел с баком для воды в месте, находящемся ближе к передней стороне корпуса, чем центр тяжести узла с баком для воды, а узел обнаружения смещения расположен ближе к задней стороне корпуса, чем гаситель вибрации.
2. Стиральная машина по п.1, в которой узел обнаружения смещения расположен вблизи вертикальной линии, проходящей через центр тяжести узла с баком для воды.
3. Стиральная машина по п.1 или 2, в которой узел обнаружения смещения установлен для обнаружения смещения узла с баком для воды в направлении, по существу, идентичном осевому направлению гасителя вибрации.
4. Стиральная машина по п.1 или 2, в которой узел с баком для воды расположен в корпусе таким образом, что ось вращения вращательного барабана наклонена к задней стороне корпуса.
РИСУНКИ
PD4A – Изменение наименования обладателя патента СССР или патента Российской Федерации на изобретение
(73) Новое наименование патентообладателя:
ПАНАСОНИК КОРПОРЭЙШН (JP)
Адрес для переписки:
129090, Москва, ул. Б. Спасская, 25, стр. 3, ООО “Юридическая фирма Городисский и Партнеры”
Извещение опубликовано: 27.03.2010 БИ: 09/2010
QA4A – Сведения о заявлении обладателя патента Российской Федерации или патента СССР на изобретение о предоставлении любому лицу права на использование изобретения (открытая лицензия) в соответствии с пунктом 2 статьи 13 Патентного закона РФ
(73) Патентообладатель:
ПАНАСОНИК КОРПОРЭЙШН (JP)
(54) СТИРАЛЬНАЯ МАШИНА БАРАБАННОГО ТИПА
Номер и год публикации бюллетеня: 16-2007
Адрес для переписки:
129090, Москва, ул. Б.Спасская, 25, стр. 3, ООО «Юридическая фирма Городисский и Партнеры»
Извещение опубликовано: 27.04.2010 БИ: 12/2010
|
|