|
|
(21), (22) Заявка: 2005134196/12, 03.11.2005
(24) Дата начала отсчета срока действия патента:
03.11.2005
(46) Опубликовано: 10.06.2007
(56) Список документов, цитированных в отчете о поиске:
ДАВИДЗОН М.И. Электромагнитная обработка водных систем в текстильной промышленности. – М.: Легпромбытиздат, 1988, с.87-89. RU 2030498 C1, 10.03.1995. SU 1559019 А2, 23.04.1990. SU 1305222 A1, 23.04.1987. US 3640803 A, 08.02.1972. GB 803095 A, 15.10.1958. IT 1206941 A, 11.05.1989.
Адрес для переписки:
432027, г.Ульяновск, Северный Венец, 32, ГОУ ВПО “Ульяновский государственный технический университет”, проректору по научной работе
|
(72) Автор(ы):
Худяков Анатолий Васильевич (RU), Сухотина Екатерина Анатольевна (RU)
(73) Патентообладатель(и):
Государственное образовательное учреждение высшего профессионального образования “Ульяновский государственный технический университет” (RU)
|
(54) СПОСОБ КРАШЕНИЯ ВОЛОКНИСТЫХ МАТЕРИАЛОВ
(57) Реферат:
Изобретение относится к текстильной промышленности, а именно к технологии крашения волокнистых материалов, в особенности для крашения белковых и полиамидных волокон кислотными и кислотными металлкомплексными красителями. Технический результат изобретения – увеличение эффективности, уменьшение длительности, снижение стоимости процесса крашения, улучшение условий техники безопасности при осуществлении процесса. При крашении волокнистых материалов ванну разделяют на две зоны перегородкой, обладающей свойством фильтра тонкой очистки воды. В большую по размеру зону вводят анод, в меньшую по размеру зону вводят катод, в воду добавляют краситель в количестве 20-60 г/л, соли серной кислоты в количестве 5-30 г/л, порошок амфотерных алюмосиликатов: монтмориллонита, бейделлита, нонтронита, каолинита (аноксита), галлуазита, талька – в количестве 1-30 г/л, каждый в отдельности или в произвольной их смеси выдерживают волокнистые материалы в анодной зоне при постоянном напряжении на электродах U=5-220 В, при температуре кипения воды при циркуляции воды и волокнистого материала способом машинной стирки белья в течение 0,3-0,6 часа волокнистого материала способом машинной стирки белья, выгрузку из ванны, отжим волокон. 1 ил.
Изобретение относится к текстильной промышленности, а именно к способам крашения волокнистых материалов, в особенности для крашения белковых и полиамидных волокон кислотными и кислотными металлкомплексными красителями.
Известны способы крашения волокнистых материалов различного рода красителями: растворимыми в воде (прямыми, кислотными, хромовыми, кислотными металлкомплексными, катионными, активными), нерастворимыми в воде (кубовыми, сернистыми, дисперсными, дисперсными активными, пигментами), азоидными, азиновыми, растворимыми производными нерастворимых красителей (кубозолями, алцианами), красителями для смеси волокон [см. Балашова Т.Д., Булушева Н.Е., Новорадовская Т.С., Садова С.Ф. Краткий курс химической технологии волокнистых материалов. – М.: Легкая и пищевая промышленность, 1984, с.71-75].
Недостатком известных способов-аналогов является недостаточная эффективность, большая длительность, высокая стоимость процесса крашения.
Наиболее близким техническим решением того же назначения к заявляемому способу по совокупности существенных признаков и максимально достижимому эффекту и потому выбранным прототипом является способ крашения, включающий предварительную обработку воды, подаваемой на покраску, магнитным полем [см. Давидзон М.И. Электромагнитная обработка водных систем в текстильной промышленности. – М.: Легпромбытиздат, 1988, с.87-89]. Этот прием дает хорошие результаты в применении наиболее распространенного крашения волокнистых материалов кислотными и кислотными металлкомплексными красителями. Способ включает омагничение воды, протекающей по диэлектрическому трубопроводу в ванну для крашения, введение в воду красителя в количестве 30-50 г/л, концентрированной серной кислоты 2-10% от массы волокна, загрузку волокнистого материала в ванну, пропитку волокнистого материала водным раствором серной кислоты и красителя, разогрев водного раствора нагревателем до температуры кипения, выдержку волокнистого материала при температуре кипения в кислотном водном растворе красителя в течение 1-1,5 часа при циркуляции воды и волокнистого материала способом машинной стирки белья.
Недостатком известного способа-прототипа является все еще недостаточная эффективность, большая длительность, высокая стоимость процесса крашения, сложность оборудования для осуществления способа, повышенная степень опасности из-за необходимости обслуживания имеющихся в системе устройства для осуществления способа хранилища трубопроводов, запорной арматуры для концентрированной серной кислоты.
Технический результат изобретения – увеличение эффективности, уменьшение длительности, снижение стоимости процесса крашения, упрощение и удешевление конструкции устройства для осуществления способа, улучшение условий техники безопасности при осуществлении способа.
Указанный технический результат при осуществлении предлагаемого способа достигается тем, что ванну для крашения разделяют на две зоны перегородкой, имеющей свойства фильтра тонкой очистки воды, в обе зоны вводят электроды, ванну заливают водой, в анодную зону ванны, большую по объему, вводят соли серной кислоты в количестве 5-30 г/л, вводят порошок амфотерных алюмосиликатов: монтмориллонита, каолинита (аноксита), галлуазита, бейделлита, нонтронита, талька, пирофилита в количестве 1-30 г/л, один из них, либо в произвольной их смеси, на электроды подают постоянное напряжение величиной 5-220 В, после того как вода в ванне с красителем закипит, загружают в анодную часть ванны волокнистый материал, выдерживают его в кипящем растворе в течение 0,3-0,6 часа при циркуляции воды и волокнистого материала способом машинной стирки белья.
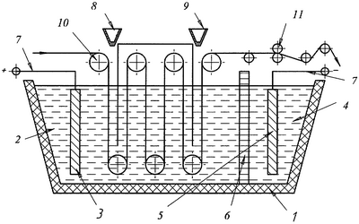
Сущность изобретения поясняется чертежом.
Водяная ванна 1 разгорожена на две зоны, в большую из которых по объему 2 погружен анод 3, в меньшую по объему 4 погружен катод 5, перегородка 6, имеющая свойства фильтра тонкой очистки воды, электроды 3 и 5 предназначены для подачи на них постоянного напряжения величиной 5-220 В по проводам 7, дозатор 8 предназначен для введения в воду анодной зоны ванны солей серной кислоты в количестве 5-30 г/л, дозатор 9 предназначен для введения в воду анодной зоны ванны порошка амфотерных алюмосиликатов: монтмориллонита, каолинита (аноксита), галлуазита, бейделлита, нонтронита, талька, пирофиллита в количестве 1-30 г/л, одного из них, либо в произвольной их смеси, приспособлением 10 осуществляют загрузку и выгрузку волокнистых материалов, приспособлением 11 отжимают волокнистые материалы.
Указанные в формуле пределы величин параметров обработки выбраны по следующим соображениям. Нижний предел количества солей серной кислоты 5 г/л необходим и достаточен для создания электролизом соли в воде ванны нижнего предела концентрации серной кислоты 2%, необходимого для крашения волокон, верхний предел количества солей 30 г/л необходим и достаточен для создания максимально допустимой при крашении концентрации серной кислоты 10%; при напряжении ниже 5 В электролиз солей серной кислоты идет слабо, при напряжении выше 220 В происходит слишком бурное кипение воды в ванне; минимальное количество порошка амфотерых алюмосиликатов 5 г/л применяют при максимально допустимых в данных условиях напряжениях на электродах – до 220 В, максимальное их количество 30 г/л необходимо и достаточно для крашения при минимальном напряжении на электродах 5 В.
Пример. Ванну 1 из пластиката толщиной 10 мм, длиной 1,5 м, шириной и высотой по 1 м, наполненную водой, с негерметично пригнанной крышкой, находящуюся под вытяжкой, разгораживают на две зоны 2 и 4 объемом 1 м3 и 0,2 м3 соответственно перегородкой 6, обладающей свойством фильтра тонкой очистки воды, – полотном войлочного нетканного материала (основа – шерсть, или полипропилен, или хлорин) толщиной 2 мм, площадью 1 кв. м, в большую по объему зону 2 вводят вдоль внешней боковой стенки плоский графитовый анод 3 площадью 1 кв. м, толщиной 3 мм, в зону 4 – аналогичный по расположению в ванне и по материалу катод 5, заливают ванну водой на 3/4 ее объема, вводят в зону 2 краситель из расчета 30 г/л, дозатором 8 вводят в зону 2 вводят медный купорос из расчета 20 г/л, дозатором 9 в зону 2 вводят порошок монтмориллонита из расчета 5 г/л, талька из расчета 5 г/л загружают приспособлением 10 в анодную зону 2 ванны шерстяную (полиамидную, полипропиленовую, хлориновую) ткань или пряжу, подают на электроды через провода 7 напряжение 100 В, разогревают воду до кипения пропусканием тока через электроды, включают в работу приспособление для машинной стирки белья, крашение проводят в течение 0,5 часа, прокрашенную ткань выгружают из машины приспособлением 10, отжимают волокна приспособлением 11.
В приведенном примере в отличие от прототипа отсутствует операция омагничения воды, в связи с чем устраняется необходимость использования громоздкого энергоемкого устройства для магнитной обработки воды, устраняется необходимость проведения дорогостоящих опасных для здоровья людей и окружающей среды операций по подвозке к месту производства концентрированного едкого натра, хранения его в специальной емкости, перекачки его в ванну для крашения по стойким к действию щелочи трубопроводам, запорной арматуре, через дозатор, что в свою очередь удешевляет процесс, улучшает условия техники безопасности, уменьшает экологическую опасность, уменьшает время обработки в процессе окрашивания из-за интенсификации процесса в 2-3 раза.
Использование предлагаемого способа позволяет упростить, удешевить, сделать более безопасным для работающего персонала и окружающей среды способ крашения волокнистых материалов.
Формула изобретения
Способ крашения волокнистых материалов, включающий введение в воду ванны для крашения красителя в количестве 20-60 г/л, выдержку волокнистых материалов при температуре кипения воды при циркуляции воды и волокнистого материала способом машинной стирки белья, выгрузку из ванны, отжим волокон, отличающийся тем, что ванну разделяют на две зоны перегородкой, обладающей свойством фильтра тонкой очистки воды, в большую по размеру зону вводят анод, в меньшую по размеру зону вводят катод, в воду добавляют соли серной кислоты в количестве 5-30 г/л, порошок амфотерных алюмосиликатов: монтмориллонита, бейделлита, нонтронита, каолинита, галлуазита, талька – в количестве 1-30 г/л, каждый в отдельности или в произвольной их смеси, крашение ведут в анодной зоне при постоянном напряжении на электродах U=5-220 В в течение 0,3-0,6 ч.
РИСУНКИ
MM4A – Досрочное прекращение действия патента СССР или патента Российской Федерации на изобретение из-за неуплаты в установленный срок пошлины за поддержание патента в силе
Дата прекращения действия патента: 04.11.2007
Извещение опубликовано: 10.05.2009 БИ: 13/2009
NF4A – Восстановление действия патента СССР или патента Российской Федерации на изобретение
Дата, с которой действие патента восстановлено: 20.03.2010
Извещение опубликовано: 20.03.2010 БИ: 08/2010
|
|