|
(21), (22) Заявка: 2004112535/02, 03.09.2002
(24) Дата начала отсчета срока действия патента:
03.09.2002
(30) Конвенционный приоритет:
26.09.2001 (пп.1-13) DE 10147543.8 29.05.2002 (пп.14-23) DE 10223906.1
(43) Дата публикации заявки: 27.03.2005
(46) Опубликовано: 10.06.2007
(56) Список документов, цитированных в отчете о поиске:
DE 19919378 А1, 05.10.2000. СН 665976 А5, 30.06.1988. ВОСКОБОЙНИКОВ В.Г. И ДР., Общая металлургия. – М.: Металлургия, 2000, с.447. US 4552343 А, 12.11.1985. US 5451035 А, 19.09.1995.
(85) Дата перевода заявки PCT на национальную фазу:
26.04.2004
(86) Заявка PCT:
EP 02/09794 (03.09.2002)
(87) Публикация PCT:
WO 03/029499 (10.04.2003)
Адрес для переписки:
129010, Москва, ул. Б. Спасская, 25, стр.3, ООО “Юридическая фирма Городисский и Партнеры”, пат.пов. Ю.Д.Кузнецову, рег.№ 595
|
(72) Автор(ы):
ХАЙНРИХ Петер (DE), ШУБЕРТ Манфред (DE)
(73) Патентообладатель(и):
СМС ДЕМАГ АКЦИЕНГЕЗЕЛЛЬШАФТ (DE)
|
(54) ДУГОВАЯ ПЕЧЬ С ЭРКЕРНЫМ ВЫПУСКОМ РАСПЛАВА И СПОСОБ ЭКСПЛУАТАЦИИ ДУГОВОЙ ПЕЧИ
(57) Реферат:
Изобретение относится к области металлургии. Дуговая печь (1) неподвижна или имеет возможность наклона для выпуска расплава или шлака и имеет эксцентричный или эксцентричный и центральный выпуск (9, 12). Выпуск (9) предусмотрен в отдельно выполненном эркере (6), который примыкает к стенке (4) нижней части кожуха (2) печи. Предусмотрен один связывающий ванну (2а) печи и эркер (6) выпускной канал (5), который проходит сквозь стенку (4). Выпускное отверстие (9а) выпуска (9) в эркере (6) в исходном положении (11), то есть в горизонтальном положении дуговой печи (1), проходит вертикально, а выпускной канал (5) проходит через стенку (4) по существу по касательной к профилю (10) футеровки. При использовании изобретения улучшаются эксплутационные свойства дуговой печи. 7 н. и 16 з.п. ф-лы, 4 ил.
Изобретение касается дуговой печи, которая при выпуске расплава или шлака неподвижна или имеет возможность наклона и которая имеет расположенный в центре и/или эксцентрично выпуск, а также способа для эксплуатации этой дуговой печи.
Известны варианты выпуска расплава из дуговых печей различных конструкций: выпуск может осуществляться посредством открытого сливного носка и наклона. Также выпуск возможен посредством сливного носка с присоединенным сифоном. У дуговых печей перечисленных конструкций из DE 8231869.7U1 и DE 19826085 A1 известен эксцентричный донный эркерный выпуск (EBT). Такой эксцентричный выпуск также используется при овальной форме пространства печи (OBT). Кроме того, при круглой форме пространства печи применяется расположенный в центре донный выпуск (CBT).
Хотя некоторые из этих видов конструкций оправдали себя, донный выпуск может быть еще улучшен, принимая во внимание производственные требования.
В основе изобретения лежит задача посредством конструктивных изменений улучшить как изготовление и эксплуатационные свойства, так и производственный процесс.
Поставленная задача в соответствии с изобретением решается благодаря тому, что выпуск предусмотрен в отдельно выполненном эркере, который примыкает к стенке нижней части кожуха печи, причем предусмотрен, по меньшей мере, один связывающий ванну и эркер выпускной канал, который проходит сквозь упомянутую стенку. Эти конструктивные изменения улучшают экономичность производства, особенно для кожухов печей, например, круглой или овальной формы. Упомянутая стенка может быть сформирована проходящей в области эркера, вследствие чего достигается более высокое постоянство формы и улучшенное закрепление огнеупорной футеровки. Отдельно выполненный эркер означает высокую гибкость в производстве, так как вследствие этого такой эркер является сменным. Замена летки осуществляется не в горячей области печи. Выпускные каналы хорошо доступны снаружи от эркера. В некоторых случаях можно использовать открытый эркер. В некоторых случаях может применяться выпускной шибер или выпускной клапан. Кроме того, экономится футеровочный материал.
Особенно предпочтителен вариант осуществления, при котором эркер присоединен к стенке нижней части кожуха печи посредством фланцевого соединения. Такое фланцевое соединение может быть сформировано даже в виде имеющей возможность поворота дверцы.
Кроме того, для значительного выпуска расплава из нижней части печи согласно другим признакам предпочтительно, что один или более сифонообразных выпускных канала проходят через упомянутую стенку приблизительно по касательной к профилю футеровки днища.
При этом расположение выпуска согласно другим признакам реализовано таким образом, что выпускное отверстие в эркере в исходном положении, то есть в горизонтальном положении дуговой печи, проходит вертикально.
Альтернатива заключается в том, что выпускное отверстие выполнено под углом, который согласован с допустимым углом наклона печи при выпуске.
Способ эксплуатации дуговой печи, которая для выпуска расплава наклоняется в одном направлении, а для выпуска шлака – в другом направлении, причем расплав выпускается эксцентрично относительно нижней части кожуха, может осуществляться таким образом, что сначала в нижней части печи прожигаются выпускные каналы со стороны эркера, а при выпуске расплава в эркер производится наклон печи, когда эркер в достаточной мере наполняется, открывается выпускное отверстие (снаружи), и при достижении необходимого количества выпущенного расплава дуговая печь возвращается обратно в исходное положение или наклоняется в другую сторону. Вследствие этого эксплуатация отличается простыми технологическими операциями.
Альтернативно дополнительный этап выполняется таким образом, что сначала в нижней части печи прожигают выпускные каналы со стороны эркера, при наклоне и выпуске расплава в эркер происходит выпуск из печи через незакрытое выпускное отверстие в эркере. Тем самым не требуется закрытие выпускного отверстия.
В варианте осуществления дополнительно может быть предусмотрено то, что после достижения вертикального положения печи выпускной канал и/или выпускное отверстие прочищают и закрывают огнеупорным материалом.
В качестве альтернативы после соответственно длительного времени эксплуатации эркер для перефутеровки отсоединяют за счет фланцевого соединения и заменяют его эркером с новой футеровкой.
Также предпочтительно, что необходимые добавки и легирующие элементы или их часть вводят в эркер во время выпуска.
Альтернативный способ эксплуатации дуговой печи, которая для выпуска расплава наклоняется, причем расплав выпускается эксцентрично относительно нижней части печи, заключается в том, что подают инертный газ в герметично и вакуум-плотно закрытый эркер, и скорость выпуска регулируют посредством управления давлением газа в эркере. При этом выпускное отверстие наклоняемой печи не должно быть закрыто. На возникающий при выпуске в зависимости от длины выпускных каналов между подом печи и эркером эффект сифона, который проявляется в пониженном давлении в эркере над зеркалом расплава, можно влиять регулированием давления газа.
Дополнительный альтернативный вариант осуществления изобретения в дуговой печи с закрываемым выпускным отверстием, нижняя часть которой неподвижна и имеет донное выпускное отверстие, реализуется таким образом, что выпуск предусмотрен в отдельно выполненном, герметичном и вакуум-плотном эркере, который примыкает к стенке нижней части печи; при этом предусмотрен, по меньшей мере, один соединяющий ванну и эркер выпускной канал, проходящий сквозь упомянутую стенку, причем нижний край выпускного канала, расположенный на стороне эркера, и верхний край выпускного отверстия эркера лежат по существу на одной высоте. При этом не требуется, чтобы дуговая печь наклонялась, вследствие чего исключается все устройство наклона. Кроме того, изменяются производственные процессы и режим работы.
Необходимое газовое пространство в эркере создается благодаря тому, что на эркере предусмотрена герметичная и вакуум-плотная крышка.
Кроме того, несмотря на крышку, выпускное отверстие эркера может сохраняться доступным благодаря тому, что на герметичной и вакуум-плотной крышке в собственном корпусе расположен полый стопор, который посредством шлюзового затвора имеет возможность разъединения или соединения с пространством эркера и открытия или закрытия отверстия.
Другие конструктивные варианты осуществления изобретения получаются благодаря тому, что к герметичной и вакуум-плотной крышке присоединен подвод газа с газовым клапаном.
Вышеописанные альтернативы с неподвижной дуговой печью могут быть рассмотрены в качестве основ для способа эксплуатации дуговой печи, расположенной неподвижно и имеющей присоединенный эркер, которая снабжена выпускным отверстием эркера и центральным донным выпускным отверстием. Такой способ заключается в том, что после открытия выпускного отверстия эркера и заполнения эркера инертным газом управление выпуском расплава осуществляют таким образом, что выпуск прекращается за счет снятия разделения в эркере, как только зеркало расплава в нижней части печи опустится ниже нижнего края выпускного канала на стороне эркера. Тем самым выпуск может прерываться без больших затрат.
Другое предпочтительное мероприятие способа заключается в том, что давление газа в эркере и в выпускном канале устанавливают на величину давления, при которой зеркало расплава находится на уровне верхнего края выпускного канала, проходящего к ванне. После осуществления закрытия выпускного отверстия эркера эркер и выпускной канал могут удерживаться свободными от металла. При этом давление в эркере может устанавливаться таким, что при постоянном незначительном расходе газа, газ по выпускному каналу со стороны внутреннего пространства печи в небольшом количестве вдувается в ванну металла. Боковое прожигание стенки или повторное закрытие выпускного канала при этом режиме эксплуатации является излишним.
В вышеописанных режимах эксплуатации давление газа внутри эркера автоматически уменьшается, как только открывается выпускное отверстие эркера. Поэтому, согласно другому варианту способа, процесс выпуска начинается в результате открытия выпускного отверстия эркера. В этот момент начинает происходить выпуск через выпускные каналы и выпускное отверстие эркера без необходимости наклона печи. Песочный наполнитель в выпускном отверстии эркера не образует отложений на его поверхности, так как она не была подвержена воздействию жидкой ванны металла. Поэтому можно исходить из того, что выпуск начинается плавно и без проблем только при отводе заслонки шибера.
Герметизация выпускного отверстия эркера может осуществляться сверху, несмотря на внешнюю герметичную и вакуум-плотную крышку. Для этого предлагается, что завершение выпуска осуществляется посредством закрытия открытого выпускного отверстия эркера входящим сквозь крышку полым стопором, через который песок засыпается до шибера. Следовательно, песок попадает через полую пробку в выпускное отверстие эркера над закрытым шибером и заполняет все пространство отверстия. Выпускной канал исключает возможность того, что находящиеся приблизительно в выпускном отверстии эркера куски скрапа препятствуют нормальному функционированию полого стопора.
Смена полого стопора возможна после его использования и закрытия шлюза на крышке. Дополнительным преимуществом является наличие “лопасти”, которая предотвращает вытекание песка из выпускного отверстия эркера.
Далее графически представлены варианты осуществления изобретения, которые ниже поясняются более подробно, и на основании которых также описываются некоторые способы эксплуатации дуговой печи:
Фиг.1 – поперечный разрез наклоняемой дуговой печи, причем представлена только нижняя часть печи;
Фиг.2 – вид сверху по фиг.1;
Фиг.3 – поперечный разрез неподвижной дуговой печи, причем представлена только нижняя часть печи;
Фиг.4 – вид сверху по фиг.3.
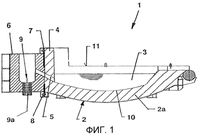
Нижеследующее описание, прежде всего, касается в основном фиг.1 и 2. От дуговой печи 1 показана только нижняя часть кожуха 2 с футерованным подом 3 и ванной 2a. Дуговая печь 1 в обоих направлениях имеет возможность наклона для выпуска расплава или шлака (фиг.1).
Выпуск 9 для расплава находится в отдельно выполненном эркере 6, который прилегает к сформированной в качестве верхнего фланца боковой стенке 4 круглой или овальной нижней части кожуха 2 (фиг.2). От пода 3 через стенку 4 проходят один или несколько выпускных каналов 5, которые проходят через стенку 4 приблизительно по касательной к профилю 10 футеровки.
Эркер 6 присоединен с возможностью разъединения к стенке 4 нижней части кожуха 2 посредством фланцевого соединения 8. Соответствующие фланцы 7 предусмотрены на эркере 6 и на нижней части кожуха 2. Выпускное отверстие 9а эркера в исходном положении 11 дуговой печи 1 направлено вертикально. Альтернативно ось выпуска 9 может быть ориентирована под углом в соответствии с допустимым углом наклона печи 1.
Для выпуска расплава и шлака дуговая печь 1 может наклоняться в одном или другом направлении, причем расплав выпускается эксцентрично к нижней части кожуха 2. В этом случае сначала в нижней части кожуха 2 прожигаются выпускные каналы 5, а при выпуске расплава в эркер 6 осуществляется процесс наклона. Эркер 6 в достаточной мере наполняется, и открывается выпускное отверстие 9а эркера, а при достижении необходимого количества выпущенного расплава дуговая печь 1 возвращается обратно в свое вертикальное положение 11 или наклоняется далее.
Другой способ может осуществляться так, что сначала в нижней части кожуха 2 со стороны эркера 6 прожигают выпускные каналы 5, а при выпуске расплава в эркер 6 начинается процесс наклона и выпуск металла из печи через незакрытый выпуск 9.
После достижения исходного положения 11 выпускной канал 5 и/или выпускное отверстие 9а эркера очищаются и закрываются, насколько необходимо, футеровочным материалом.
Альтернативно после соответственно длительной компании эркер 6 может отделяться за счет фланцевого соединения 8 для перефутеровки и заменяться эркером 6 с новой футеровкой.
Кроме того, эркер 6 может предпочтительно использоваться для введения в него во время выпуска необходимых добавок и легирующих элементов или их части.
Нижеследующее описание касается неподвижной печи по фиг.3 и 4.
На фиг.3 представлен этап способа, на котором при открытом шлюзовом затворе 13 полый стопор 14 благодаря корпусу 15 опускается через герметичную и вакуум-плотную крышку 16 (при закрытом газовом клапане 17). Давление в эркер 6 подается при открытом газовом клапане 17. Снизу выпускное отверстие 9а эркера закрыто шибером 18. На следующем этапе способа полый стопор 14 ставится в положение установки или замены при закрытом шибером 18 выпускном отверстии 9а эркера. В эркер 6 подается давление. При этом инертный газ доходит до верхней кромки выпускного канала 5 в поде 3. На третьем этапе способа начинается выпуск. Шибер 18 открывается. Имеющийся песочный заполнитель вытекает, а эркер 6 находится без избыточного давления относительно атмосферы. Далее проходит выпуск жидкого металла. Через несколько секунд после начала выпуска жидкий металл проходит через выпускное отверстие 9а эркера. На четвертом этапе способа в эркере возникает разрежение по принципу сифона. Полый стопор 14 по-прежнему находится в положении установки или замены. На пятом этапе способа полый стопор 14 опускается, и шибер 18 закрывается, поступает песок, и эркер 6 заполняется газом. Эркер 6 работает вхолостую, так же, как выпускной канал 5. Полый стопор 14 возвращается в положение установки и замены.
В случае необходимости выпуск может осуществляться через донное выпускное отверстие 12.
Список ссылочных позиций
1 – дуговая печь
2 – нижняя часть кожуха печи
2а – ванна печи
3 – (круглый) под
4 – стенка
5 – выпускной канал
6 – эркер
7 – фланец
8 – фланцевое соединение
9 – выпуск
9а – выпускное отверстие эркера
10 – профиль футеровки
11 – вертикальное положение
12 – донное выпускное отверстие
13 – шлюзовой затвор
14 – полый стопор
15 – корпус полого стопора
16 – герметичная и вакуум-плотная крышка
17 – газовый клапан
18 – шибер.
Формула изобретения
1. Дуговая печь (1), которая неподвижна или имеет возможность наклона для выпуска расплава или шлака и имеет эксцентричный или эксцентричный и центральный выпуск (9, 12), отличающаяся тем, что выпуск (9) предусмотрен в отдельно выполненном эркере (6), который примыкает к стенке (4) нижней части кожуха (2) печи, причем предусмотрен, по меньшей мере, один связывающий ванну (2а) печи и эркер (6) выпускной канал (5), который проходит сквозь стенку (4), при этом выпускное отверстие (9а) выпуска (9) в эркере (6) в исходном горизонтальном положении (11) дуговой печи (1) проходит вертикально, а выпускной канал (5) проходит через стенку (4) по существу по касательной к профилю (10) футеровки.
2. Дуговая печь по п.1, отличающаяся тем, что эркер (6) присоединен к стенке (4) нижней части кожуха (2) печи посредством фланцевого соединения (8).
3. Дуговая печь по п.1 или 2, отличающаяся тем, что один или более сифонообразных выпускных каналов (5) проходят через стенку (4) приблизительно по касательной к профилю (10) футеровки.
4. Дуговая печь (1), которая неподвижна или имеет возможность наклона для выпуска расплава или шлака и имеет эксцентричный или эксцентричный и центральный выпуск (9, 12), отличающаяся тем, что выпуск (9) предусмотрен в отдельно выполненном эркере (6), который примыкает к стенке (4) нижней части кожуха (2) печи, причем предусмотрен, по меньшей мере, один связывающий ванну (2а) печи и эркер (6) выпускной канал (5), который проходит сквозь стенку (4), при этом выпускное отверстие (9а) выполнено под углом, а выпускной канал (5) проходит через стенку (4) по существу по касательной к профилю футеровки.
5. Дуговая печь по п.4, отличающаяся тем, что эркер (6) присоединен к стенке (4) нижней части кожуха (2) печи посредством фланцевого соединения (8).
6. Дуговая печь по п.4 или 5, отличающаяся тем, что один или более сифонообразных выпускных каналов (5) проходят через стенку (4) приблизительно по касательной к профилю (10) футеровки.
7. Способ эксплуатации дуговой печи (1), которую для выпуска расплава наклоняют в одном направлении, а для выпуска шлака – в другом, причем расплав выпускают эксцентрично относительно нижней части кожуха (2) печи, отличающийся тем, что сначала в нижней части кожуха (2) печи со стороны отдельно выполненного эркера (6) прожигают выпускные каналы (5) и при выпуске расплава в эркер (6) начинают процесс наклона, затем эркер (6) наполняют в достаточной мере и открывают выпускное отверстие (9а) и при достижении необходимой массы выпущенного металла дуговую печь (1) возвращают обратно в исходное положение (11).
8. Способ по п.7, отличающийся тем, что после достижения исходного положения (11) выпускной канал (5) и/или выпускное отверстие (9а) очищают и закрывают огнеупорным материалом.
9. Способ по п.7, отличающийся тем, что для перефутеровки эркер (6) отсоединяют за счет фланцевого соединения (8) и заменяют эркером с новой футеровкой.
10. Способ по п.7, отличающийся тем, что необходимые добавки и легирующие элементы или их часть добавляют в эркер (6) во время выпуска.
11. Способ эксплуатации дуговой печи (1), которую для выпуска расплава наклоняют в одном направлении, а для выпуска шлака – в другом, причем расплав выпускают эксцентрично относительно нижней части кожуха (2) печи, отличающийся тем, что сначала в нижней части кожуха (2) со стороны эркера (6) прожигают выпускные каналы (5), а при выпуске расплава в эркер (6) начинают процесс наклона, и выпуск металла из печи осуществляется через незакрытое выпускное отверстие (9а) в эркере.
12. Способ по п.11, отличающийся тем, что для перефутеровки эркер (6) отсоединяют за счет фланцевого соединения (8) и заменяют эркером с новой футеровкой.
13. Способ по п.11, отличающийся тем, что необходимые добавки и легирующие элементы или их часть добавляют в эркер (6) во время выпуска.
14. Способ эксплуатации дуговой печи (1), которую для выпуска расплава наклоняют, причем расплав выпускают эксцентрично относительно нижней части кожуха (2) печи, отличающийся тем, что посредством подачи инертного газа в герметично и вакуумплотно закрытый эркер (6) регулируют скорость выпуска посредством управления давлением газа в эркере (6).
15. Дуговая печь (1) с закрывающимся выпускным отверстием (9а), нижняя часть кожуха (2) которой неподвижна и имеет донное выпускное отверстие (12), отличающаяся тем, что выпуск (9) предусмотрен в отдельно выполненном, герметичном и вакуумплотном эркере (6), который примыкает к стенке (4) нижней части кожуха (2), при этом предусмотрен, по меньшей мере, один соединяющий ванну (3) печи и эркер (6) выпускной канал (5), который проходит сквозь стенку (4), причем нижний край выпускного канала (5) на стороне эркера и верхний край выпускного отверстия (9а) эркера находятся по существу на одном уровне.
16. Дуговая печь по п.15, отличающаяся тем, что на эркере (6) предусмотрена герметичная и вакуумплотная крышка (16).
17. Дуговая печь по п.15 или 16, отличающаяся тем, что на герметичной и вакуумплотной крышке (16) в корпусе (15) расположен полый стопор (14), который посредством шлюзового затвора (13) имеет возможность разъединения или соединения с эркером и открытия или закрытия отверстия эркера.
18. Дуговая печь по п.15 или 16, отличающаяся тем, что к герметичной и вакуумплотной крышке (16) присоединен газовый подвод с газовым клапаном (17).
19. Способ эксплуатации неподвижно установленной дуговой печи (1), которая имеет смонтированный на кожухе эркер (6), с выпускным отверстием эркера и центральным донным выпускным отверстием (12), отличающийся тем, что после открытия выпускного отверстия (9а) отдельно выполненного эркера (6) и заполнения эркера (6) инертным газом управление выпуском расплава осуществляют таким образом, что выпуск прекращают за счет снятия разряжения в эркере (6), как только зеркало расплава в нижней части печи окажется ниже нижнего края выпускного канала (5) на стороне эркера.
20. Способ по п.19, отличающийся тем, что давление газа в эркере (6) и в выпускном канале (5) устанавливают на величину давления, при которой зеркало расплава находится на уровне верхнего края проходящего к нижней части кожуха (2) выпускного канала (5).
21. Способ по п.19 или 20, отличающийся тем, что процесс выпуска начинают посредством открытия выпускного отверстия (9а) эркера.
22. Способ по п.19 или 20, отличающийся тем, что завершение выпуска осуществляют герметизацией открытого выпускного отверстия (9а) эркера посредством вводимого через крышку (16) полого стопора (14), через который засыпают песок до шибера (18).
23. Способ по п.19 или 20, отличающийся тем, что полый стопор (14) заменяют после закрытия шлюзового затвора (13) на крышке (16).
Приоритет по пунктам и признакам:
26.09.2001 по пп.1-13 (в пп.1, 4 вариант с наклоном печи);
29.05.2002 по пп.14-23 (и для пп.1, 4 в варианте с неподвижной печью).
РИСУНКИ
|