|
|
(21), (22) Заявка: 2003107850/04, 09.08.2001
(24) Дата начала отсчета срока действия патента:
09.08.2001
(30) Конвенционный приоритет:
31.05.2001 (пп.1-31) US 09/871,583
(43) Дата публикации заявки: 20.09.2004
(46) Опубликовано: 10.06.2007
(56) Список документов, цитированных в отчете о поиске:
US 2384947 A, 18.07.1941. SU 1120043 A, 07.06.1982. JP 06057531 A, 01.03.1994. US 4469606 A, 04.09.1984. SU 825699 A, 30.04.1981. SU 737413 A, 16.12.1977.
(85) Дата перевода заявки PCT на национальную фазу:
20.03.2003
(86) Заявка PCT:
US 01/24948 (09.08.2001)
(87) Публикация PCT:
WO 02/20668 (14.03.2002)
Адрес для переписки:
119034, Москва, Пречистенский пер., 14, стр. 1, 4-ый этаж, “Гоулингз Интернэшнл, Инк.”, пат.пов. В.А.Клюкину, рег. № 0005
|
(72) Автор(ы):
ЧАНГ Ху Й. (US), ХОЛЛ Джон Р. Б. (US), ГОГИНС Марк А. (US), КРОФУТ Дуглас Г. (US), УИК Томас М. (US)
(73) Патентообладатель(и):
ДОНАЛЬДСОН КОМПАНИ, ИНК. (US)
|
(54) СОСТАВЫ ТОНКОГО ВОЛОКНА, СПОСОБЫ ИХ ПОЛУЧЕНИЯ, СПОСОБ ИЗГОТОВЛЕНИЯ ТОНКОВОЛОКНИСТОГО МАТЕРИАЛА
(57) Реферат:
Изобретение относится к технологии получения полимерных материалов, в частности к получению микро- и нановолокон с повышенной прочностью и стойкостью, которые могут найти применение в различных областях техники, включая их использование в различных фильтрах. Состав такого тонкого волокна с диаметром от 0,001 до 2 мк содержит полимер присоединения или конденсации и смолистую добавку ароматической природы с мол. весом от 500 до 3000. Добавка может располагаться на поверхности волокна. Способ включает воздействие электрического поля на раствор полимера, формирующее ускоренные пряди раствора. Последующее испарение растворителя обеспечивает образование тонкого волокна. Его собирают на подложке и подвергают термической обработке при температуре, не превышающей точки плавления полимера. Из указанного волокна формируют тонковолоконный материал. Изобретение обеспечивает получение тонких волокон и изделий из них, обладающих высокой стойкостью и прочностью. 10 н. и 21 з.п. ф-лы, 21 ил., 5 табл.
Настоящая заявка зарегистрирована как международная патентная заявка РСТ от имени компании Donaldson, Американской национальной корпорации США от 9 августа 2001 года, с обозначением всех стран кроме США и с приоритетом по заявке в США 60/230138, зарегистрированной 5 сентября 2000 года и заявке в США №09/871,582 зарегистрированной 31 мая 2001 года.
Область изобретения
Изобретение относится к полимерным материалам, которые имеют повышенную стойкость к нагреванию, влажности, действию химических веществ и механическому напряжению. Такие материалы могут использоваться при формировании тонких волокон, например, при создании микроволоконных и нановолоконных материалов с повышенной стойкостью и прочностью. Поскольку размер волокна очень мал, вопрос сохранения прочности материала приобретает первостепенную важность. Такие тонкие волокна полезны в различных областях применения. В одной из областей применения с использованием этой технологии тонкие волокна могут быть использованы для создания фильтров. Изобретение относится к полимерам, полимерным композитам, волокну, фильтрам, конструкциям фильтров и способам фильтрации. Применения этого изобретения, в частности, относятся к фильтрации частиц из потоков воздуха и жидкости (например, водных и других жидкостей). Описанная технология относится к структурам, содержащим один или несколько слоев тонких волокон в фильтрующих средах. Состав и размеры волокон выбираются для получения нужного сочетания свойств и срока службы.
Предпосылки создания изобретения
Изобретение относится к полимерным композитам с улучшенными свойствами, которые могут использоваться в различных областях применения, включая формирование волокон, микроволокон, нановолокон, волоконных сеток, волоконных матов, проницаемых структур, таких как мембраны, покрытия или пленки. Полимерные материалы согласно изобретению являются композитами, обладающими физическими свойствами, позволяющими полимерному материалу, в различных физических видах и формах, противостоять разрушительному воздействию влаги, нагревания, потока воздуха, химических веществ и механического напряжения или удара. Изобретение также в целом применимо к области фильтрующей среды для фильтрации потоков газообразных и жидких материалов. Фильтрующая среда включает, по меньшей мере, слой сетки из микро- или нановолокон в комбинации с материалом подложки в механически прочной фильтрующей среде. Эти слои вместе обеспечивают отличную фильтрацию, высокую степень захвата частиц, эффективность при минимальных ограничениях потока газа или жидкости, протекающего через фильтрующую среду. Подложка может быть помещена впереди по потоку, позади по потоку или в среднем слое. Специалисты различных отраслей промышленности в последнее время обратили серьезное внимание на применение фильтрующей среды для фильтрации, т.е. удаления нежелательных частиц из потока газа или жидкости.
При стандартном процессе фильтрации твердые частицы удаляются из потоков воздуха или других газообразных материалов или из потока жидкости, такой как гидравлическая жидкость, смазочное масло, горючее, вода или другие жидкости. Такие процессы фильтрации требуют механической прочности, химической и физической стойкости материалов микроволокон и подложки. Фильтрующая среда может подвергаться воздействию широкого диапазона температурных условий, влажности, механических вибраций и ударов и воздействию как реагирующих, так и не реагирующих, абразивных и не абразивных твердых частиц, поступающих вместе с потоком. Кроме того, часто требуется, чтобы фильтрующая среда была способна к самоочистке путем воздействия на фильтрующую среду обратного импульса давления (кратковременного изменения направления потока на обратное для удаления с поверхности налета из твердых частиц) или другого механизма очистки, способного удалять занесенные твердые частицы с поверхности фильтрующей среды. Такая обратная очистка может дать существенное улучшение среды, т.е. уменьшение перепада давления после импульсной очистки. Эффективность захвата частиц после импульсной очистки обычно не улучшается, однако эта операция снижает перепад давления, сохраняя энергию для операции фильтрации. Такие фильтры могут заменяться для обслуживания и очищаться в водных или других чистящих составах. Такие фильтрующие среды часто производятся путем прядения тонкого волокна и последующего формирования задерживающей сетки из микроволокна на пористой подложке. В процессе прядения волокно может образовывать физические связи между волокнами, связывая волоконный мат в единый слой. Такой материал затем может быть заключен в нужную оболочку фильтра, например, в кассеты, плоские диски, коробки, панели, рукава и мешки. В таких структурах среда может быть, в основном, сложена, свернута или размещена другим способом на опорных структурах.
В производстве нетканой фильтрующей среды из тонких волокон использовались различные материалы, включая стекловолокно, металл, керамику и широкий диапазон полимерных композитов. Для производства микро- и нановолокон малого диаметра использовались различные технологии. В одном способе используется пропускание материала через тонкие капилляры или отверстия либо в расплавленном виде, либо в растворе, который затем почти полностью испаряется. Волокна могут также формироваться с использованием стандартного «прядильного органа» для производства синтетического волокна, например нейлона. Также известен способ электростатического прядения. Такая технология включает использование тонкого шприца, форсунки, капиллярного или подвижного эмиттера. Эти приборы подают жидкие растворы полимеров, которые затем притягиваются к зоне сборки электростатическим полем высокого напряжения. По мере того, как материалы вытягиваются из эмиттера и ускоряются в электростатической зоне, волокно становится очень тонким и может быть сформировано в структуру волокна путем выпаривания раствора.
По мере повышения требований к фильтрующим средам возникает потребность в улучшенных материалах, способных противостоять воздействиям высокой температуры от 100 до 250 и до 300°F (150°C), высокой влажности от 10 до 90 и до 100% относительной влажности (RH), больших расходов газов и жидкостей и способных фильтровать микронные и субмикронные твердые частицы (в диапазоне от 0.01 до свыше 10 микрон) и удалять из протекающего потока как абразивные, так и не абразивные, реагирующие и не реагирующие твердые частицы.
Соответственно, возникает потребность в полимерных материалах, микро- и нановолоконных материалах и фильтрующих структурах, имеющих улучшенные характеристики при фильтрации потоков с повышенными температурами, повышенной влажностью, высокими расходами и обеспечивающих фильтрацию упомянутых микронных и субмикронных твердых частиц.
Краткое описание изобретения
Изобретение обеспечивает усовершенствованный полимерный материал. Этот полимер имеет повышенную физическую и химическую стойкость. Тонкое полимерное волокно (микроволокно и нановолокно) может быть оформлено в нужный формат изделия. Нановолокно – волокно с диаметром меньше 200 нанометров или 0,2 микрона. Микроволокно – волокно с диаметром больше 0,2 микрона, но не более 10 микрон. Это тонкое волокно может быть изготовлено в форме улучшенной многослойной среды для микрофильтрации. Слои тонких волокон согласно изобретению имеют произвольное распределение тонких волокон, которые могут быть соединены так, чтобы образовать заграждающую сетку. Характеристики фильтрации большей частью зависит от результата действия преграды из тонких волокон для прохождения твердых частиц. Структурные свойства жесткости, прочности, возможности сложения обеспечиваются подложкой, с которой сцепляются тонкие волокна. Важной особенностью задерживающих сеток из тонких волокон является то, что тонкие волокна в форме микроволокон или нановолокон обеспечивают относительно малые промежутки между волокнами. Эти промежутки между волокнами обычно находятся в диапазоне от примерно 0,01 до 25 микрон, а часто от 0,1 до 10 микрон. При выборе соответствующей подложки фильтрующие структуры, содержащие слой тонких волокон и слой целлюлозы, могут быть тонкими. Волокно добавляет меньше микрона к общей толщине фильтрующей среды, состоящей из тонкого волокна и подложки. В работе фильтры могут задерживать поступающие твердые частицы, не давая им проходить через слой из тонких волокон, и могут воспринимать значительную поверхностную нагрузку со стороны задерживаемых частиц. Частицы, содержащие пыль или другие примеси, быстро образуют пылевую корку на поверхности тонких волокон, и она поддерживает высокую начальную и общую эффективность при удалении твердых частиц. Даже при сравнительно малых размерах загрязняющих примесей, содержащих частицы размером от 0,01 до 1 микрона, фильтрующая среда имеет возможность накапливать очень большое количество пыли. Описанные здесь полимерные материалы, обладают значительно большей стойкостью к нежелательным воздействиям тепла, влаги; они способны работать при высоких расходах, при обратной импульсной очистке, противостоят истиранию при действии субмикронных твердых частиц, выдерживают действие очистки фильтров и другие необходимые условия. Улучшенные характеристики микроволокна и нановолокна получаются благодаря повышенному качеству полимерных материалов, из которых вырабатываются это микроволокно и нановолокно. Кроме того, фильтрующая среда согласно изобретению, использующая улучшенные полимерные материалы согласно изобретению, обеспечивает множество преимуществ, включая большую эффективность, меньшее ограничение расхода, большую прочность и более длительный срок службы (от действия механического напряжении или воздействия неблагоприятной среды) в присутствии абразивных примесей, кроме того, она имеет гладкую наружную поверхность, свободную от болтающихся волокон или фибрилл. Законченная структура фильтрующих материалов обеспечивает в целом более тонкую среду, дающую большую поверхность на единицу объема, меньшую скорость через среду, повышенную эффективность и меньшие ограничения расхода. Предпочтительный вариант изобретения включает смесь полимеров, состоящую из первого полимера и второго полимера, отличающуюся типом полимера, молекулярным весом или физическими свойствами. Эта композиция испытывается или обрабатывается при повышенной температуре. Смесь полимеров может быть подвержена реакции и сформирована в химически единый состав или она может быть физически объединена в композит с помощью процесса обжига. Обжиг предполагает физические изменения, такие как кристаллизация, снятие напряжения или изменение ориентации напряжений. Предпочтительные материалы с помощью химической реакции превращаются в единый полимерный композит с тем, чтобы дифференциальный сканирующий калориметрический анализ (ДСК) определял его как единый полимерный материал. Такой материал в комбинации с предпочтительными добавками может создавать поверхностное покрытие из добавок на микроволокне, которое обеспечивает олеофобность (защиту от воздействия масел), гидрофобность (защиту от влаги) или повышенную стойкость при совместном воздействии высокой температуры, высокой влажности и тяжелых условий эксплуатации. Тонкое волокно из этого класса материалов может иметь диаметр от 2 микрон до менее чем 0,01 микрона. Такие микроволокна могут иметь гладкую поверхность, содержащую отдельный слой из материала добавки или внешнее покрытие из материала добавки, который частично растворен на поверхности полимера, или вплавлен в нее, или то и другое. Предпочтительные материалы для использования в смешанных полимерных системах включают нейлон 6; нейлон 66; нейлон 6-10; сополимеры нейлона (6-66-610) и другие линейные, главным образом алифатические, композиты нейлона. Предпочтительная нейлоновая сополимерная смола (SVP-651) анализировалась на молекулярный вес с помощью титрования конечной группы (Дж.Е.Уолз и Г.Б.Тейлор, Определение молекулярного веса нейлона, «Химический анализ», т. 19, номер 7, стр.448-450 (1947)). Величина среднего молекулярного веса (Wn) находилась между 21.500 и 24.800. Состав оценивался с помощью фазовой диаграммы температуры плавления трехкомпонентного нейлона, содержащего нейлон 6 около 45%, нейлон 66 около 20% и нейлон 610 около 25%. (Стр. 286, Справочник по нейлоновьм пластикам, ред. Мелвина Кохана, издатель Хансер, Нью-Йорк (1995 г.))
Опубликованные физические свойства смолы SVP-651:
| Свойство |
Способ ASTM |
Единицы |
Стандартная величина |
| Удельный вес |
D-792 |
– |
1,08 |
| Поглощение воды |
D-570 |
% |
2,5 |
| (погружение |
|
|
|
| в воду на 24 часа) |
|
|
|
| Твердость |
D-240 |
по Шору |
D65 |
| Точка плавления |
ДСК |
°C (°F) |
154 (309) |
| Прочность на разрыв |
D-638 |
МПа (кг/дюйм2) |
50 (7,3) |
| @ Текучесть |
|
|
|
| Удлинение при |
|
|
|
| разрыве |
D-638 |
% |
350 |
| Модуль изгиба |
D-790 |
МПа (кг/дюйм2) |
180 (26) |
| Объемное удельное сопротивление |
|
|
|
| D-257 |
Ом·см |
1012 |
В таких полимерных системах может использоваться поливиниловый спирт, имеющий степень гидролиза от 87 до 99,9%. Предпочтительно в нем образованы поперечные связи. Наиболее предпочтительно, чтобы они были сшиты и содержали значительные количества олеофобных и гидрофобных добавок.
Другой предпочтительный вариант изобретения включает единичный полимерный материал, объединенный с композитом из добавок для продления срока службы волокна или улучшения эксплуатационных характеристик. Предпочтительные полимеры, применяемые в этом варианте изобретения, включают полимеры нейлона, полимеры поливинилиденхлорида, полимеры поливинилиденфторида, полимеры поливинилового спирта и, в особенности, перечисленные материалы в комбинации с сильными олеофобными и гидрофобными добавками, что может в результате дать микроволокно или нановолокно с добавками, сформировавшими покрытие на поверхности тонкого волокна. Применимы в этом изобретении также смеси подобных полимеров, такие как смеси подобных нейлонов, подобных полимеров поливинилхлорида, смесей полимеров поливинилиденхлорида. Кроме того, в этом изобретении также рассматриваются полимерные смеси или сплавы различных полимеров. В этом отношении, для формирования микроволоконных материалов по настоящему изобретению пригодны смеси совместимых полимеров. Могут быть использованы составы из примесей, таких как фтористые поверхностно-активные вещества, неионные поверхностно-активные вещества, смолы с низким молекулярньм весом, например третичная бутилфеноловая смола, имеющая молекулярный вес менее 3000. Эта смола характеризуется олигомерной связью между фенольными ядрами при отсутствие метиленовых мостовых групп. Положения гидроксила и третичной бутиловой группы могут устанавливаться произвольно по кольцу. Связи между фенольными ядрами всегда находятся после гидроксильной группы, а не располагаются произвольно. Подобным же образом полимерный материал может быть объединен со спирторастворимой нелинейной полимеризованной смолой, полученной из бисфенола А. Такой материал подобен третичной бутилфеноловой смоле, описанной выше, в том, что он сформирован с использованием олигомерных связей, которые непосредственно соединяют ароматические кольца друг с другом при отсутствии каких-либо мостовых групп, таких как алкиленовые или метиленовые группы.
Наиболее предпочтительный материал согласно изобретению содержит нановолоконный материал, имеющий размер от примерно 2 микрон до 0,01 микрона. Наиболее предпочтительный размер волокна лежит в диапазоне между 0,05 и 0,5 микрона. Такие волокна с предпочтительным размером обеспечивают превосходное действие фильтра, легкость очистки обратным импульсом и другие преимущества. Самые предпочтительные системы полимеров согласно изобретению имеют такую характеристику сцепления, что при контакте с целлюлозной подложкой прочно сцепляются с ней, так что они могут противостоять расслаивающему действию очистки обратным импульсом и другим механическим напряжениям. В таком режиме полимерный материал должен оставаться соединенным с подложкой при воздействии входного импульса очистки, что в основном соответствует стандартным условиям фильтрации, за исключением действия импульсной очистки в обратном направлении сквозь фильтрующую среду. Такое сцепление может возникнуть при действии растворителя в процессе формирования волокна, когда волокно контактирует с подложкой, или в процессе последующей обработки волокна на подложке нагреванием или давлением. Однако было найдено, что характеристики полимера играют важную роль в осуществлении сцепления, так же как и специфические химические реакции, например, при реакции с водородном, причем контакт между полимером и подложкой происходит при температуре выше или ниже Tg, и состав полимера включает добавки. Полимеры, пластифицированные растворителем или паром, могут обеспечивать надежное сцепление.
Важным аспектом изобретения является выгода, получаемая при использовании микроволоконных и нановолоконных материалов в конструкции фильтра. В такой конструкции материалы из тонких волокон согласно изобретению формируются на подложке фильтра и сцепляются с ней. Могут использоваться подложки из природных и синтетических волокон, например, связанные при прядении ткани, нетканые полотна из синтетического волокна и нетканые материалы, изготовленные из смеси целлюлозных, синтетических и стеклянных волокон, нетканые и тканые стеклянные полотна, пластиковый экран, как штампованный, так и перфорированный, а также мембраны из органических полимеров. Затем листообразная подложка или целлюлозная нетканая сетка может быть встроена в фильтрующую среду, которая помещается на пути потока воздуха или жидкости для удаления из этого потока взвешенных в нем или увлекаемых им твердых частиц. Форма и структура материала фильтра выбираются проектировщиком. Важным параметром элементов фильтра после формирования является способность противостоять воздействию тепла, влажности или того и другого. Одной из особенностей фильтрующей среды согласно изобретению является ее способность сохраняться при погружении в теплую воду в течение значительного времени. Проверка на погружение может дать полезную информацию относительно способности тонкого волокна сохранять работоспособность в условиях влажности при высокой температуре и при очистке элемента фильтра в водных растворах, которые могут содержать значительное количество сильнодействующих чистящих поверхностно-активных веществ и щелочных материалов. Нановолоконные материалы согласно изобретению могут сохранять работоспособность при погружении в горячую воду, сохраняя, по меньшей мере, 50% тонких волокон, сформированных на поверхности подложки. Сохранение, по меньшей мере, 50% тонких волокон может обеспечить достаточную эффективность волокна без потери фильтрующей способности или повышения обратного давления. Наиболее предпочтительным является сохранение, по меньшей мере, 75% волокон.
Фильтрующая среда из тонких волокон включает двухслойную или многослойную структуру, в которой фильтр состоит из одного или нескольких слоев тонких волокон, соединенных с одной или несколькими синтетическими, целлюлозными, или смешанными сетками, или разделенных ими. Другой предпочтительный вариант представляет собой структуру, включающую тонкое волокно в виде связующего состава или в смеси с другими волокнами.
Мы полагаем, что важными характеристиками нановолоконных и микроволоконных слоев в фильтрующей среде являются стойкость к воздействию температуры, влажности и действию растворителей, особенно если микроволокно контактирует с влагой или растворителем при повышенных температурах. Кроме того, вторым важным свойством материалов согласно изобретению является сцепление материала со структурой подложки. Сцепление слоя микроволокна является важной характеристикой фильтрующего материала, поскольку необходимо, чтобы такой материал мог быть изготовлен без отслоения слоя микроволокна от подложки и чтобы слой микроволокна вместе с подложкой мог быть обработан и превращен в фильтрующую среду в виде сложенных, свернутых в рулон материалов и в другие формы, без заметного расслоения. Мы обнаружили, что стадия нагревания в процессе производства, когда температура повышается до температуры плавления одного полимерного материала или чуть ниже ее, обычно ниже самой низкой температуры плавления, значительно улучшает сцепление волокон друг с другом и с подложкой. При температуре плавления или выше ее тонкое волокно может потерять свою волоконную структуру. Важно также управлять скоростью нагревания. Если волокно подвергается воздействию температуры кристаллизации в течение длительного времени, то также возможна потеря волоконной структуры. Тщательная тепловая обработка также улучшает свойства полимера, что происходит благодаря формированию внешних слоев из добавок, по мере того, как материалы добавок перемещаются к поверхности и выводят на поверхность волокна гидрофобные или олеофобные группы.
Критерием характеристики материала является его способность сохраняться неизменным при различных рабочих температурах, т.е. температурах 140°F (60°C), 160°F (71°C), 270°F (132°С), 300°F (150°C) в течение 1 часа или 3 часов, в зависимости от конечного применения, сохраняя в то же время 30%, 50%, 80% или 90% эффективности фильтра. Другим критерием для характеристик является способность материала сохраняться неизменным при различных рабочих температурах, т.е. температурах 140°F (60°С), 160°F (71°C), 270°F (132°C), 300°F (150°C) в течение 1 часа или 3 часов, в зависимости от конечного применения, в то же время, сохраняя, в зависимости от конечного применения, 30, 50, 80 или 90% действующих тонких волокон в слое фильтра. Стойкость при таких температурах важна при низкой влажности, высокой влажности и в насыщенном влагой воздухе. Считается, что микроволокно и материал фильтра согласно изобретению влагоустойчивы, если они способны сохраняться при погружении в воду при температуре выше 140°F (71°C), в то же время сохраняя эффективность в течение более 5 минут. Подобным же образом, стойкость к растворителям в микроволоконном материале и фильтрующей среде согласно изобретению получается благодаря материалу, который способен сохраняться при контакте с растворителем, таким как этанол, углеводород, гидравлическая жидкость или ароматический растворитель в течение 5 минут при 70°F (21°C), в то же время сохраняя 50% эффективности.
Нановолоконные материалы согласно изобретению могут использоваться в различных устройствах фильтров, включая фильтры с импульсной очисткой или другим типом очистки для пылесборников, газовых турбин и систем впуска воздуха двигателей; систем впуска газовых турбин, систем впуска воздуха двигателей с тяжелыми условиями работы, систем впуска воздуха двигателей легковых машин; Z-фильтров; воздуха для кабин автомобилей; воздуха для кабин внедорожных автомобилей, воздуха дисководов, удаления тонера фотокопировальных аппаратов; в фильтрах систем отопления, вентиляции и кондиционирования воздуха, как в коммерческих, так и в жилых помещениях.
Краткое описание чертежей
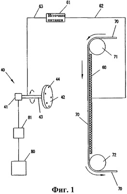
На фигуре 1 показано стандартное электростатическое устройство с движущимся эмиттером для производства тонких волокон согласно изобретению.
На фигуре 2 показано устройство, используемое для нанесения тонкого волокна на подложку фильтра, используя технологию формирования тонкого волокна, показанную на фигуре 1.
Фигура 3 – изображение стандартной внутренней структуры опорного материала и отдельное изображение тонковолоконного материала согласно изобретению в сравнении с небольшими, т.е. двух- и 5-микронными твердыми частицами.
Фигуры 4-11 – аналитические спектры электронной спектроскопии для химического анализа (ЭСХА), относящиеся к примеру 13.
На фигуре 12 показана стойкость микроволоконного материала 0,23 и 0,45 микрон согласно изобретению из примера 5.
Фигуры 13-16 иллюстрируют повышенную стойкость к температуре и влажности материалов из примеров 5 и 6 в сравнении с немодифицированным растворимым в растворителе полиамидом, сополимером нейлона.
Фигуры 17-20 демонстрируют, что смесь двух сополимеров, гомополимера нейлона и сополимера нейлона, нагретая и смешанная с добавками, образует однокомпонентный материал в виде одной фазы, связанной поперечными связями или другим химическим способом, а не два отдельных полимера.
Подробное описание изобретения
Тонкие волокна, образующие слой согласно изобретению, содержащие микро- и нановолокно, представляют собой волокно диаметром от примерно 0,001-2 микрон, предпочтительно от 0,05-0,5 микрон. Толщина типового фильтрующего слоя из тонких волокон лежит в диапазоне от 1-100 диаметров волокна с основным весом порядка 0,01-240 микрограмм/с-2.
Потоки воздуха и газа часто несут в себе твердые частицы. Необходимо удалить из потока некоторые или все твердые частицы. Например, воздушные потоки для вентиляции кабин автомобилей, воздух в дисководах компьютеров, воздух в системах отопления, вентиляции и кондиционирования воздуха, комнатная вентиляция и применения, использующие рукавные фильтры, заградительные ткани, тканые материалы; воздух к двигателям автомобилей или силовому генераторному оборудованию; потоки газа, направляемые к газовым турбинам и потоки воздуха к различным камерам сгорания часто включают в себя твердые частицы. В случае воздушного фильтра для салона автомобиля желательно удалить твердые частицы, чтобы обеспечить комфортные условия для пассажиров и/или эстетику салона. В случае потоков воздуха и газа во впускных коллекторах двигателей, газовых турбин и камер сгорания, желательно удалить твердые частицы, потому что они могут повредить внутренние рабочие органы различных рабочих механизмов. В других случаях промышленные газы производственных процессов или выхлопные газы двигателей могут содержать в себе материал в виде твердых частиц. Прежде чем такие газы могут или должны быть выброшены в атмосферу через различные последующие устройства, желательно удалить большую часть твердых частиц из этих потоков.
Общее понимание некоторых основных принципов и проблем конструкции воздушных фильтров может быть достигнуто при рассмотрении следующих типов фильтрующей среды: среды с поверхностной загрузкой и глубинной среды. Каждый из этих типов среды хорошо изучен и широко используется. Принципы их действия описаны, например, в патентах США №№5082476; 5238474 и 5364456. Полные описания этих трех патентов включены сюда в виде ссылок.
«Срок службы» фильтра обычно определяется выбранным предельным перепадом давления на фильтре. Повышение перепада давления на фильтре определяет срок службы на уровне, определенном для этого применения или этой конструкции. Поскольку это повышение перепада давления является результатом нагрузки, для систем с одинаковой эффективностью больший срок службы обычно непосредственно связан с более высокой пропускной способностью. Эффективность определяется, как способность среды захватывать твердые частицы и не пропускать их. Следует понимать, что, как правило, чем больше эффективность фильтрующей среды при удалении твердых частиц из потока газа, тем быстрее фильтрующая среда достигнет перепада давления, определенного как предельный срок службы (считая, что другие переменные величины не изменяются). В этом описании термин «неизменно для целей фильтрации» означает поддержание достаточной эффективности удаления твердых частиц из текущего потока, необходимой для выбранной области применения.
Бумажные фильтрующие элементы широко применяются в средах с поверхностной загрузкой. В целом, бумажные элементы содержат плотные маты из целлюлозных, синтетических или других волокон, ориентированных поперек потока газа, несущего твердые частицы. Бумага в основном изготовлена так, чтобы пропускать поток газа и иметь достаточно мелкий размер пор и соответствующую пористость, чтобы препятствовать прохождению через нее частиц больше определенного размера. По мере того как газы или жидкости проходят через фильтровальную бумагу, передняя по потоку сторона фильтровальной бумаги осуществляет диффузию и задерживает частицы выбранного размера из потока газа (жидкости), оставляя их на поверхности. Частицы собираются в виде пылевого брикета на передней по потоку стороне фильтрующей бумаги. В должное время пылевой брикет начнет действовать как фильтр, повышая эффективность очистки. Это иногда называется «выдерживанием», т.е. происходит увеличение по отношению к начальной величине.
Простая конструкция фильтра, подобная описанной выше, связана, по меньшей мере, с двумя проблемами. Первая заключается в том, что сравнительно простое повреждение, т.е. разрыв бумаги, приводит к выходу из строя всей системы. Вторая – в том, материал твердых частиц быстро наращивает на передней по потоку стороне фильтра тонкий пылевой брикет или слой, увеличивая перепад давления. Для повышения «срока службы» поверхностно загруженных фильтрующих сред, например бумажных фильтров, применялись различные способы. Один способ состоит в создании среды в виде складчатой или гофрированной конструкции с тем, чтобы площадь поверхности среды, противостоящая потоку газа, увеличивалась по сравнению с плоской, не сложенной складками конструкции. Хотя это увеличивает срок службы фильтра, этот способ имеет существенные ограничения. По этой причине среда с поверхностной нагрузкой нашла применение, в первую очередь, в тех областях применения, в которых используются сравнительно небольшие скорости через фильтрующую среду, в основном не более 20-30 футов в минуту, и обычно порядка 10 футов в минуту или менее. Термин «скорость» в этом контексте означает среднюю скорость материала через среду (т.е. объем потока через всю поверхность среды).
В общем, по мере того как скорость потока через гофрированную бумажную среду возрастает, срок службы фильтра уменьшается на коэффициент, пропорциональный квадрату скорости. Таким образом, когда используется фильтрующая система с поверхностной нагрузкой из гофрированной бумаги в качестве фильтра твердых частиц в устройстве, через которое протекают значительные потоки воздуха, для фильтрующей среды требуется сравнительно большая площадь поверхности. Например, стандартный цилиндрический элемент фильтра из гофрированной бумаги дизельного грузовика будет иметь диаметр 9-15 дюймов и длину около 12-24 дюймов со складками глубиной 1-2 дюйма. Таким образом, площадь фильтрующей поверхности среды (одна сторона) обычно равна от 30-300 квадратных футов.
Во многих областях применения, особенно в тех, где используются сравнительно высокие расходы, применяется фильтрующая среда другого типа, иногда называемая «глубинной» средой. Типичная глубинная среда содержит сравнительно толстый слой из сплетенного волоконного материала. Глубинная среда в целом определяется величиной ее пористости, плотности или процентом содержания твердой фракции. Например, среда с твердой фазой в 2-3% будет представлять собой мат из волокон, расположенных так, что примерно 2-3% всего объема содержит волоконные материалы (твердую фракцию), а остальное пространство заполнено воздухом или газом.
Другим полезным параметром для определения глубинной среды является диаметр волокна. Если процент твердой фракции поддерживается постоянным, а диаметр (размер) волокна уменьшается, размер пор, т.е. пространство между волокнами, уменьшается, т.е. фильтр становится более эффективным и будет лучше улавливать мелкие частицы. Обычный стандартный фильтр с глубинной средой представляет собой глубокую среду со сравнительно постоянной (или равномерной) плотностью, т.е. система, в которой твердая фаза глубинной среды остается практически постоянной по всей ее толщине. Под «практически постоянной» в этом контексте имеется в виду, что по всей толщине среды имеются лишь относительно незначительные отклонения плотности, если они вообще имеются. Такие отклонения, например, могут произойти из-за легкого сжатия наружной поверхности кожухом, в котором размещается среда фильтра.
Были разработаны устройства с глубинной средой с переменной плотностью; некоторые такие устройства описаны, например, в патентах США 4082476; 5238474 и 5364456. В целом, устройство с глубинной средой может быть спроектировано так, чтобы обеспечить «загрузку» материала твердых частиц полностью по всему его объему или на всю глубину. Таким образом, такие устройства могут быть выполнены с таким расчетом, что до окончания полного срока службы они позволяют загружать большее количество твердых частиц по сравнению с поверхностно загруженными системами. Однако, в основном, главным параметром для таких устройств является эффективность, поскольку для значительной загрузки желательно иметь среду с низким содержанием твердой фазы. Системы с переменной плотностью, в частности описанные в вышеупомянутых патентах, были разработаны для обеспечения достаточной эффективности и более длительного срока службы. В некоторых примерах в таких устройствах среда с поверхностной загрузкой используется в качестве «барьерного» фильтра.
Полимерные материалы изготавливаются в виде нетканых и тканых полотен, волокон и микроволокон. Полимерный материал обеспечивает физические свойства, требуемые для стабильности изделия. Эти материалы не должны значительно изменяться по размеру, допускать уменьшение молекулярного веса, становиться менее гибкими, или раскалываться при напряжении, или ухудшать физические свойства под действием солнечного света, влаги, высокой температуры или других вредных воздействий окружающей среды. Изобретение относится к улучшенному полимерному материалу, который может сохранять физические свойства при воздействии падающего электромагнитного излучения, например окружающего света, тепла, влаги и других физических факторов.
Полимерные материалы, которые могут быть использованы в полимерных композитах согласно изобретению, включают как полимерные материалы присоединения, так и конденсационные полимерные материалы, такие как полиолефин, полиацеталь, полиамид, полиэфир, целлюлозный простой эфир и сложный эфир, полиалкиленсульфид, полиариленоксид, полисульфон, модифицированные полимеры полисульфона и их смеси. Предпочтительные материалы, которые входят в эти родовые классы, включают полиэтилен, полипропилен, поли(винилхлорид), полиметилметакрилат (и другие акриловые смолы), полистирол и их сополимеры (включая сополимеры блока типа АВА), поли(винилиденфторид), поли(винилиденхлорид), поливиниловый спирт в разных степенях гидролиза (от 87% до 99,5%) в сшитые и не сшитые. Предпочтительные полимеры присоединения, как правило, бывают стекловидными (Tg выше комнатной температуры). Это справедливо для поливинилхлорида и полиметилметакрилата, композитов или сплавов полимера полистирола или низкомолекулярных кристаллических материалов поливинилиденфторида и поливинилового спирта. Одним классом полиамидных конденсационных полимеров являются нейлоновые материалы. Термин «нейлон» – родовое название для всех синтетических полиамидов с длинной цепью. Обычно номенклатура нейлона включает ряд чисел, как например в нейлоне 6,6, которые означают, что исходными материалами являются C6 диамин и С6 двухосновная кислота (при этом первая цифра показывает С6 диамин, а вторая цифра показывает компаунд С6 дикарбоновой кислоты). Другой нейлон может быть получен поликонденсацией эпсилон капролактама в присутствии небольшого количества воды. Эта реакция образует нейлон-6 (полученный из циклического лактама, также известного как эпсилонаминокапроновая кислота), который является линейньм полиамидом. Кроме того, рассматриваются также сополимеры нейлона. Сополимеры могут быть получены путем объединения различных соединений диамина, различных соединений двухосновной кислоты и различных составов циклического лактама в реагирующей смеси, а затем формирования нейлона с произвольно расположенными мономерньми материалами в полиамидную структуру. Например, материал нейлон 6,6-6,10-нейлон, полученный из гексаметилендиамина и смеси С6 и С10 двухосновных кислот. Нейлон 6-6, 6-6,10-нейлон, полученный путем сополимеризации эпсилонаминокалроновой кислоты, гексаметилендиамина и смеси материала С6 и С10 двухосновной кислоты.
Блок-сополимеры также применимы для реализации настоящего изобретения. С такими сополимерами важное значение имеет выбор растворителя – агента набухания. Выбранный растворитель должен быть таким, чтобы в нем растворялись оба блока. Одним примером является полимер АВА (стирол-ЕР-стирол) или АВ (стирол-ЕР) в растворителе типа метиленхлорида. Если один компонент не растворяется в этом растворителе, он образует гель. Примерами таких блок-сополимеров являются тип Кратон® из стирол-b-бутадиена и стирол-b-гидрогенизированного бутадиена (этиленпропилена), тип Пебакс® из е-капролактама-b-окиси этилена, Симпатекс® полиэфир-b-окись этилена и полиуретаны окиси этилена и изоцианатов. Полимеры присоединения, такие как поливинилиденфторид, синдиотактический полистирол, сополимер винилиденфторида и гексафторопропилена, поливиниловый спирт, поливинилацетат, аморфные аддитивные полимеры, такие как поли(акрилонитрил) и его сополимеры с акриловой кислотой и метакрилатами, полистирол, поли(винилхлорид) и его различные сополимеры, поли(метилметакрилат) и его различные сополимеры могут быть сравнительно легко спрядены в растворе, потому что они растворимы при низких давлениях и температурах. Однако для высококристаллического полимера, такого как полиэтилен и полипропилен, требуется раствор с высокой температурой и высоким давлением, если они должны быть спрядены в растворе. Поэтому прядение полиэтилена и полипропилена в растворе очень затруднительно. Электростатическое прядение в растворе является одним из способов производства нановолокон и микроволокон.
Мы обнаружили также значительные преимущества при формировании полимерных составов, содержащих два и несколько полимерных материалов в виде смеси полимеров, в формате сплава или в сшитых химических составах. Мы убеждены, что создание таких полимерных композитов улучшает их физические свойства путем изменения свойств полимера, например повышения гибкости или подвижности полимерной цепи, увеличения полного молекулярного веса и повышения прочности путем образования сеток из полимерных материалов.
В одном варианте этой концепции два родственных полимерных материала могут быть смешаны для получения выгодных свойств. Например, высокомолекулярный поливинилхлорид может быть смешан с низкомолекулярным поливинилхлоридом. Подобным же образом высокомолекулярный нейлоновый материал может быть смешан с низкомолекулярным нейлоновым материалом. Кроме того, могут быть смешаны различные категории общего полимерного вида. Например, материал высокомолекулярного стирола может быть смешан с высокопрочным низкомолекулярным полистиролом. Материал нейлон-6 может быть смешан с сополимером нейлона, таким как сополимер нейлон-6; 6,6; 6,10. Кроме того, поливиниловый спирт, имеющий низкую степень гидролиза, например 87% гидролизный поливиниловый спирт, может быть смешан с полностью или сверхгидролизованным поливиниловым спиртом, имеющим степень гидролиза между 98 и 99,9% и выше. Все эти материалы в смеси могут быть сшиты с использованием соответствующих механизмов образования поперечных связей. Нейлоны могут быть сшиты с использованием агентов поперечной связи, которые вступают в реакцию с атомом азота с образованием амидной связи. Материалы поливинилового спирта могут быть сшиты с использованием гидроксильных реактивных материалов, таких как моноальдегиды, например формальдегид, мочевины, меламин-формальдегидная смола и ее аналоги, борная кислота и другие неорганические соединения, диальдегиды, двухосновные кислоты, уретаны, эпоксиды и другие известные агенты для образования поперечных связей. Технология образования поперечных связей (сшивание полимеров) хорошо известное и понятное явление, в котором создающие поперечные связи реагенты реагируют и образуют ковалентные связи между полимерными цепями, чтобы существенно повысить молекулярный вес, химическую стойкость, общую прочность и стойкость к механическому разрушению.
Мы обнаружили, что добавки могут значительно улучшить свойства полимерных материалов, имеющих форму тонких волокон. Стойкость к воздействию тепла, влаги, удара, механического напряжения и других вредных воздействий окружающей среды может быть значительно повышена благодаря присутствию добавок. Мы обнаружили, что при обработке микроволоконных материалов согласно изобретению добавки улучшают олеофобные и гидрофобные свойства и могут содействовать повышению химической стойкости этих материалов. Мы убеждены, что тонкие волокна согласно изобретению улучшаются благодаря присутствию этих олеофобных и гидрофобных добавок, поскольку эти добавки образуют слой защитного покрытия, размытую поверхность или проникают в поверхность на некоторую глубину, улучшая основные свойства полимерного материала. Мы убеждены, что важной характеристикой этих материалов является присутствие сильной гидрофобной группы, которая может предпочтительно иметь также и олеофобный характер. Сильные гидрофобные группы включают фторуглеродные группы, гидрофобные углеводородные поверхностно активные вещества или блоки и в основном углеводородные олигомерные композиты. Эти материалы производятся в виде композитов, которые содержат часть молекул, в основном совместимых с полимерным материалом, создавая стандартную физическую связь или соединение с полимером, в то время как сильно гидрофобная или олеофобная группа, получившаяся в результате связи добавки с полимером, формирует защитный поверхностный слой, который остается на поверхности или сплавляется или смешивается с поверхностными слоями полимера. Для 0,2-микронного волокна с уровнем добавок 10% рассчитанная толщина поверхности равна примерно 50 Å, если добавки переместились к поверхности. Предполагается, что перемещение происходит благодаря несовместимости олеофобных или гидрофобных групп с основной массой материала. Толщина в 50 Å оказывается достаточной для защитного покрытия. Для волокна диаметром 0,05 микрона толщина в 50 Å соответствует 20% массы. Для толщины волокна 2 микрона толщина 50 Å соответствует 2% массы. Предпочтительно добавки используются в количестве от примерно 2-25% по весу. Олигомерные добавки, которые могут использоваться в комбинации с полимерными материалами согласно изобретению, включают олигомеры, имеющие молекулярный вес примерно от 500 до 5000, предпочтительно примерно от 500 до 3000, включая фтористые соединения, неионные поверхностно активные вещества и смолы или низкомолекулярные олигомеры.
Фторорганические смачивающие реагенты, применяющиеся в этом изобретении, представляют собой органические молекулы, выраженные формулой

в которой Rf – фторзамещенный алифатический радикал, a G – группа, которая содержит, по меньшей мере, одну гидрофильную группу, такую как катионная, анионная, неионная или амфионная группы. Предпочтительными являются неионные материалы. Rf – фторированный одновалентный алифатический органический радикал, содержащий, по меньшей мере, два атома углерода. Предпочтительно, чтобы это был насыщенный перфторалифатический одновалентный органический радикал. Однако в качестве заместителей на скелетной цепи могут присутствовать атомы водорода или хлора. Поскольку радикалы, содержащие большое количество атомов углерода, могут действовать адекватно, предпочтительны соединения, содержащие не более 20 атомов углерода, поскольку большие радикалы обычно дают менее эффективное использование фтора, чем это возможно с более короткими скелетными цепями. Предпочтительно, Rf содержит от 2-8 атомов углерода.
Катионные группы, которые могут использоваться во фторорганических агентах, применяемых в настоящем изобретении, могут включать аминную или четвертичную аммониевую катионную группу, которая может быть бескислородной (например, -NH2) или кислородсодержащей (например, окислы амина). Такие аминные и четвертичные аммониевые катионные гидрофильные группы могут иметь формулы, такие как -NH2, -(NH3)Х, -(NH(R2)2)X, -(NH(R2)3)X или -N(R2)2) О, где Х- анионный противоион, такой как галогенид, гидрат окиси, сульфат, бисульфат или карбоксилат, R2- Н или С1-18 алкиловая группа, и каждая группа R2 может быть такой же, как другие группы R2 или отличаться от них. Предпочтительно R2 это Н или С1-16 алкиловая группа, а Х – галогенид, гидроокись или бисульфат.
Анионные группы, которые могут использоваться во фторорганических смачивающих реагентах, применяемых в настоящем изобретении, включают группы, которые при ионизации могут становиться радикалами анионов. Анионные группы могут иметь такие формулы, как -СООМ,-SO3М, -OSO3М, -РО3НМ, -ОРО3М2 или -ОРО3НМ, где М есть Н, а ион металла (NR1 4)+ или SR1 4)+, где каждый R1 – независимый Н или замещенный или незамещенный C1-С6 алкил. Предпочтительно, М-Na+ или К+. Предпочтительные анионные группы фторорганических смачивающих реагентов, используемых в настоящем изобретении, имеют формулу -СООМ или -SO3М. В группу анионных фторорганических смачивающих реагентов включены анионные полимерные материалы, обычно получаемые из этиленоненасыщенных карбоксильных мономеров одно- и двухосновных кислот, имеющих парные фторуглеродные группы, присоединенные к ним. Такие материалы включают поверхностно активные вещества, поставляемые Корпорацией 3М, известные как FC-430 и РС-431.
Амфотерные группы, которые могут использоваться во фторорганическом смачивающем реагенте, применяемом в настоящем изобретении, включают группы, которые содержат, по меньшей мере, одну катионную группу из определенных выше, и по меньшей мере, одну анионную группу из определенных выше.
Неионные группы, которые могут использоваться во фторорганических смачивающих реагентах, применяемых в настоящем изобретении, включают группы, являющиеся гидрофильными, но которые при обычном рН нормального агрономического применения не ионизируются. Неионные группы могут иметь такие формулы, как -O(СН2СН2)хОН, где х>1, -SO2NH2, -SO2NHCH2CH2OH, -SO2N(CH2CH2H)2, -ONH2, -CONHCH2CH2OH или CON(CH2CH2OH)2. Примеры таких материалов включают материалы следующей структуры:

где n равно от 2-8, a m лежит в диапазоне 0-20.
Другие фторорганические смачивающие реагенты включают катионные соединения фтора, описанные, например, в патентах США 2764602, 2764603, 3147064 и 4069158. Такие амфотерные фторорганические смачивающие реагенты включают амфотерные соединения фтора, описанные, например, в патентах США 2764602; 4042522; 4069158; 4069244; 4090967; 4161590 и 4161602. Такие анионные фторорганические смачивающие реагенты включают анионные соединения фтора, описанные, например, в патентах США 2803656; 3255131; 3450755 и 4090967.
Примерами таких материалов являются неионные поверхностно-активные вещества duPont Zonyl FSN и duPont Zonyl FSO. Другой вариант добавок, которые могут быть использованы в полимерах согласно изобретению, включают низкомолекулярные соединения, фтороуглеводород акрилат, в частности материал 3M*s

где Х есть -F или -CF3, а n равно 1-7.
Кроме того, в качестве добавок для материалов, в настоящем изобретении также могут быть использованы неионные углеводородные поверхностно-активные вещества, включая этоксилаты низших спиртов, этоксилаты жирной кислоты, нонилфенол и т.п. Примеры таких материалов включают Triton Х-100 и Triton N-101.
Полезными материалами для использования в качестве добавки в композитах согласно изобретению являются третичные бутилфеноловые олигомеры. Такие материалы обычно могут быть сравнительно низкомолекулярными ароматическими фенольными смолами. Такие смолы являются фенольными полимерами, получаемыми с помощью ферментативного окислительного сочетания. Отсутствие метиленовых мостов дает уникальную химическую и физическую стойкость. Эти фенольные смолы могут быть сшиты с различными аминами и эпоксигруппами, и они совместимы с различными полимерными материалами. Эти материалы, в целом, представляются следующими структурными формулами, которые характеризуются фенольньми материалами в повторяющемся формате, в отсутствие метиленовых мостовых групп содержащими фенольные и ароматические группы.


где n равно 2-20. Примеры этих фенольных материалов включают Enzo-BPA, Enzo-ВРА/фенол, Enzo-TBP, Enzo-COP и другие родственные фенольные смолы, поставляемые фирмой Энзимол Интернейшенл Инк., (Enzimol International Inc.) Колумбус, штат Огайо.
Следует отметить, что для различных применений используются различные нановолоконные фильтрующие среды. Прочные нановолокна и микроволокна, описанные в настоящем изобретении, могут быть добавлены к любой из этих сред. Волокна, описанные в настоящем изобретении, могут также быть использованы для замены нановолоконных компонентов в этих существующих средах, обеспечивая значительное улучшение рабочих характеристик (повышенная эффективность и/или сниженный перепад давления) благодаря их малому диаметру, в то же время обеспечивая увеличенный срок службы.
Полимерные нановолокна и микроволокна известны в технике, но их использование было очень ограниченным из-за их хрупкости при механических напряжениях и их восприимчивости к разрушительному действию химических веществ из-за очень высокого отношения площади поверхности к объему. Волокна, описанные в настоящем изобретении, устраняют эти ограничения, поэтому они могут применяться в различных областях фильтрации, текстильной промышленности, в мембранах и других областях применения.
Конструкция фильтрующей среды по настоящему изобретению включает первый слой проницаемой грубой волоконной среды или подложку, имеющую первую поверхность. Первый слой тонковолоконной среды крепится к первому слою проницаемой грубой волоконной среды. Предпочтительно, чтобы первый слой грубого проницаемого волоконного материала содержал бы волокна, имеющие средний диаметр, по меньшей мере, 10 микрон, обычно и предпочтительно примерно от 12 (или 14) до 30 микрон. Предпочтительно также, чтобы первый слой проницаемого грубого волоконного материала содержал среду, имеющую основной вес не более чем 200 г/м2, предпочтительно примерно от 0,50-150 г/м2, а наиболее предпочтительно, по меньшей мере, 8 г/м2. Предпочтительно, чтобы первый слой проницаемой грубой волоконной среды имел толщину, по меньшей мере, 0,0005 дюйма (12 микрон), и обычно, и предпочтительно примерно 0,001-0,030 дюйма (25-800 микрон).
В предпочтительных конструкциях первый слой проницаемого грубого волоконного материала содержит материал, который, при оценке его отдельно от остальной конструкции с помощью теста Фрейзера на проницаемость, показывал бы проницаемость, по меньшей мере, 1 м/мин, наиболее предпочтительно примерно 2-900 м/мин. Здесь, когда дается указание на эффективности, если не определено иначе, означает ссылку на эффективность, измеренную по стандарту ASTM-1215-89, с круглыми частицами монодисперсного полистирола размером 0,78 м, при 20 футов/мин (6,1 метра/мин), как сказано в этом описании.
Предпочтительно слой тонковолоконного материала, прикрепленный к первой поверхности слоя проницаемой грубой волоконной среды, представляет собой слой нано- и микроволоконной среды, в которой волокна имеют средние диаметры не более 2 микрон, в основном и предпочтительно не более 1 микрона, а обычно и предпочтительно имеют диаметр волокон менее 0,5 микрона и в диапазоне от 0,05 до 0,5 микрона. Также, предпочтительно, чтобы первый слой тонковолоконного материала, прикрепленный к первой поверхности первого слоя проницаемого грубого волоконного материала, имел бы общую толщину не более 30 микрон, более предпочтительно не более 20 микрон, наиболее предпочтительно – не более 10 микрон, и обычно и предпочтительно, его толщина находится в пределах 1-8 (а более предпочтительно 5) средних диаметров тонкого волокна этого слоя.
Некоторые предпочтительные конструкции по настоящему изобретению включают фильтрующую среду, описанную в описании конструкции фильтра. Некоторые предпочтительные устройства для данного использования содержат среду, расположенную в цилиндрической гофрированной конфигурации, причем складки проходят, в целом, продольно, т.е. в том же направлении, что и продольная ось цилиндрического корпуса. В такой конструкции среда может быть размещена в концевых крышках, как в обычных фильтрах. Такие конструкции для обычных стандартных целей могут при желании включать прокладки, расположенные впереди и сзади по потоку.
В некоторых областях применения среда по настоящему изобретению может использоваться вместе с другими средами, например со стандартной средой, для улучшения общих рабочих характеристик фильтрации или повышения срока службы. Например, среда по настоящему изобретению может быть наложена на стандартную среду и использована в сложенных рядами структурах или может быть встроена (как единое целое) в структуру среды, включающую один или несколько участков стандартной среды. Она может быть использована впереди по потоку такой среды для обеспечения высокой нагрузки и/или позади по потоку от стандартной среды в качестве высокоэффективного барьерного фильтра.
Некоторые конструкции по настоящему изобретению могут быть также использованы в системах для фильтрации жидкости, т.е. там, где твердые частицы, которые должны быть отфильтрованы, переносятся в потоке жидкости. Некоторые конструкции по настоящему изобретению могут также использоваться в сборниках тумана, например в устройствах для фильтрации мелких капель влаги из воздуха. По настоящему изобретению разработаны также способы фильтрации. В этих способах, в основном, для фильтрации используют вышеописанную среду со всеми ее преимуществами. Как будет видно из приведенных далее описаний и примеров, среда по настоящему изобретению может быть сконструирована с расчетом обеспечения преимущества в виде сравнительно длительного срока службы в высокоэффективных системах.
Различные конструкции фильтров описаны в патентах, в которых представлены различные варианты конструкции фильтра и структур, используемых с фильтрующими материалами. Энгель и другие, патент США №4720292, описывают радиальную герметичную конструкцию для сборки фильтра, имеющего в целом цилиндрическую конструкцию фильтрующего элемента, причем элемент фильтра герметизирован с помощью сравнительно мягкой, подобной резине концевой крышки, имеющей цилиндрическую, обращенную внутрь поверхность. Калбау и др., патент США №5082476, описывают конструкцию фильтра, в котором используется глубинная среда, содержащая пористую подложку со складчатыми компонентами, объединенную с микроволоконными материалами согласно изобретению. Стифельман и др., патент США №5104537, описывают конструкцию фильтра, пригодную для фильтрации жидкой среды. Жидкость вводится в корпус фильтра, протекает через наружную часть фильтра во внутренний кольцевой сердечник и затем возвращается для активного использования в этой конструкции. Такие фильтры очень эффективны при фильтрации гидравлических жидкостей. Энгель и др., патент США №5613992, раскрывают конструкцию фильтра для воздушного коллектора обычного дизельного двигателя. В этой конструкции поступающий воздух может содержать влагу из внешней среды. Воздух проходит через фильтр, в то время как влага может стекать на дно корпуса и выводиться из него. Гиллингем и др., патент США №5820646, описывают конструкцию Z-фильтра, который использует особым образом гофрированную фильтрующую среду, включающую вставные проходы, которые требуют прохождения потока, по меньшей мере, через один слой фильтрующей среды в Z-образном тракте, чтобы получить нужную характеристику фильтрации. Фильтрующая среда, сформированная в складчатый Z-образный формат, может содержать тонковолоконную среду согласно изобретению. Глен и др., патент США №5853442, описывают конструкцию корпуса в виде рукава, содержащего фильтрующие элементы, которые могут содержать тонковолоконную среду согласно изобретению. Берхоель и др., патент США №5954849, показывают конструкцию пылесборника, который может использоваться при фильтрации обычного воздуха, содержащего много пыли, причем после обработки рабочий элемент выпускает пыль в окружающий воздух. Наконец, Гиллингем, патент на дизайн США №425189, описывает блочный фильтр, использующий Z-образную конструкцию фильтра.
Подробное описание некоторых чертежей
Микроволокно или нановолокно этого элемента может быть получено с помощью процесса электростатического прядения. Соответствующее устройство для получения волокна показано на фигуре 1. Это устройство включает резервуар 80, в котором содержится раствор полимера, из которого формируется тонкое волокно, насос 81 и излучающий прибор или эмиттер 40 вращающегося типа, к которому перекачивается раствор полимера. Эмиттер 40 в целом состоит из вращающейся муфты 41, вращающегося узла 42, содержащего множество смещенных относительно друг друга отверстий 44, и ось 43, соединяющей направленный вперед узел и вращающуюся муфту. Вращающаяся муфта 41 предусмотрена для подачи раствора полимера к направленному вперед узлу 42 через полую ось 43. Отверстия 44 разнесены по периферии направленного вперед узла 42. Иногда вращающийся узел 42 может быть погружен в резервуар с полимером (раствор полимера поступает из резервуара 80 с помощью насоса 81). Вращающийся узел 42 затем захватывает раствор полимера из резервуара и, по мере того, как он вращается в электростатическом поле, капелька раствора ускоряется этим полем в направлении сборника 70, как будет описано ниже.
В устройстве имеется плоская сетка 60, направленная в сторону эмиттера 40, но удаленная от него, на которой расположен сборник (т.е. подложка или комбинированная подложка). Воздух может прокачиваться через эту сетку. Сборник 70 пропускается вокруг роликов 71 и 72, которые расположены рядом с противостоящими краями сетки 60. Электростатический потенциал высокого напряжения поддерживается между эмиттером 40 и сеткой 60 посредством соответствующего источника электростатического напряжения 61 и проводов 62 и 63, которые присоединены к сетке 60 и эмиттеру 40 соответственно.
При работе раствор полимера перекачивается из резервуара 80 к вращающейся муфте 41 или к резервуару. Направленный вперед узел 42 вращается, при этом жидкость вытекает из отверстий 44 или захватывается из резервуара и перемещается от внешнего края эмиттера в направлении сборника 70, расположенного на сетке 60.
Разность электростатических потенциалов между сеткой 60 и эмиттером 40 наводит заряд на материале, который заставляет жидкость вытекать из эмиттера в виде тонких волокон, которые притягиваются к сетке 60, куда они поступают и собираются на подложке 12 или слое выхода 14. В случае полимера в растворе растворитель испаряется из волокон во время их полета к сетке 60; поэтому волокна попадают на подложку 12 или слой выхода 14. Тонкие волокна соединяются с волокнами подложки, первоначально прикрепленными к сетке 60. Напряженность электростатического поля выбирается так, чтобы гарантировать, что полимерный материал при движении от эмиттера к сборнику 70 получит достаточное ускорение, позволяющее превратить его в очень тонкую микроволоконную или нановолоконную структуру. Ускорение или замедление движения сборника дает возможность регулировать количество осаждаемых волокон на формирующуюся среду, управляя, таким образом, толщиной каждого слоя. Вращающийся узел 42 может принимать различные положения. Он может быть помещен в плоскость вращения так, что эта плоскость будет перпендикулярна поверхности сборника 70 или расположена под каким-то произвольным углом. Вращающееся средство может быть расположено параллельно к ней или слегка смещено от параллельной ориентации.
На фигуре 2 представлена общая блок-схема процесса и устройства для формирования слоя тонких волокон на листовой подложке или среде. На фигуре 2 листовая подложка развернута у блока 20. Листовая подложка 20а затем направляется к склеивающей установке 21, в которой множество листов подложки могут соединяться в одну для обеспечения непрерывной работы. Листовая подложка непрерывной длины направляется к установке получения тонкого волокна 22, содержащей прядильную машину, представленную на фигуре 1, в котором прядильная машина формирует тонкое волокно и укладывает это волокно в фильтрующий слой на листообразную подложку. После того как слой тонкого волокна сформирован на листообразной подложке в зоне формирования 22, слой тонкого волокна и подложка направляются к установке термообработки 23 для соответствующей обработки. Листовая подложка и слой тонкого волокна затем проверяются в устройстве контроля эффективности 24 и при необходимости обводятся на направляющем ролике 25. Листовая подложка и слой волокна затем направляются к соответствующему намоточному станку, который наматывает их на соответствующий барабан для дальнейшей обработки на стадиях 26 и 27.
На фигуре 3 представлено изображение, полученное на сканирующем электронном микрографе, которое показывает взаимное положение обычных частиц пыли, имеющих диаметр около 2 микрон и около 5 микрон, соответствующих размерам пор в стандартной целлюлозной среде и типовых структурах тонкого волокна. На фигуре 3а двухмикронная частица 31 и пятимикронная частица 32 показаны в целлюлозной среде 33, в которой размеры пор несколько превышают диаметр типовых частиц; в противоположность этому, на фигуре 3b двухмикронная частица 31 оказывается примерно равной или чуть большей, чем типовые отверстия между волокнами в волоконной сетке 35, а пятимикронная частица 32 оказывается больше, чем любое отверстие в сетке из тонких волокон 35.
Предшествующее общее описание различных аспектов полимерных и тонковолоконных материалов по настоящему изобретению, включая как микроволокна и нановолокна, так и конструкцию используемых фильтрующих сред из тонковолоконных материалов по изобретению, обеспечивает понимание общих технологических принципов действия этого изобретения.
Последующие конкретные образцы материалов являются примерами материалов, которые могут быть использованы при формировании тонковолоконных материалов по настоящему изобретению, и они демонстрируют наиболее оптимальный вариант. Эти примерные материалы были получены со следующими характеристиками, имея в виду приведенные условия процесса. Электрически спряденные волокна малого диаметра (менее 10 микрон) получаются при использовании электростатического поля, действующего в качестве силы притяжения и растягивающего струю полимера в очень тонкую нить. В процессе электропрядения может быть использован расплавленный полимер, однако волокна меньше 1 микрона лучше всего получаются из полимера в растворе. По мере того, как масса полимера вытягивается в нити малого диаметра, раствор испаряется, что содействует уменьшению размера волокна. Выбор растворителя важен по нескольким причинам. Если растворитель высыхает слишком быстро, волокна становятся плоскими и их диаметр увеличивается. Если растворитель сохнет слишком медленно, он будет заново растворять образующиеся волокна. Поэтому необходимо тщательно согласовать скорости высыхания и формирования волокон. При больших объемах производства большое количество выпускаемого воздуха помогает предотвратить образование огнеопасной атмосферы и уменьшить риск воспламенения. Помогают в этом и негорючие растворители. В производственной обстановке обрабатывающее оборудование время от времени требует чистки. Безопасные, слаботоксичные растворители сводят к минимуму воздействие вредных химических веществ на оператора. Электростатическое прядение может выполняться при расходе через эмиттер 1,5 мм/мин, расстоянии-мишени 8 дюймов, напряжении на эмиттере 88 кВ, скорости вращении эмиттера 200 об/мин и относительной влажности 45%.
Выбор системы полимера важен для данного применения. Для применения с импульсной очисткой чрезвычайно тонкий слой микроволокна может помочь свести к минимуму перепад давления и обеспечить наружную поверхность для захвата и удаления частиц. Предпочтительным является тонкий слой волокон диаметром менее 2 микрон, наиболее предпочтительно диаметром менее 0,3 микрона. Важно обеспечить хорошее сцепление между микроволокном или нановолокном и подложкой, на которую эти микроволокна или нановолокна осаждаются. Когда фильтры изготавливаются из сочетания подложки и тонкого слоя микро- и нановолокон, такая структура создает превосходную фильтрующую среду с использованием самоочистки. Очистка поверхности обратным импульсом снова восстанавливает фильтрующую среду. Поскольку к поверхности прикладывается большое усилие, тонкое волокно со слабым сцеплением с подложкой может расслоиться при поступлении к микроволокну обратного импульса, проходящего внутри фильтра через подложку. Поэтому хорошее взаимное сцепление между микроволокнами, а также сцепление между волокнами подложки и электрически спряденными волокнами важно для надежной работы фильтра.
Изделия, которые отвечают вышеприведенным требованиям, могут быть получены при использовании волокон, изготовленных из различных материалов. Малые волокна с хорошими свойствами сцепления могут быть изготовлены из таких полимеров, как поливинилиденхлорид, поливиниловый спирт и полимеры и сополимеры, содержащие различные нейлоны, например нейлон 6; нейлон 4,6; нейлон 6,6; нейлон 6,10 и их сополимеры. Превосходные волокна могут быть изготовлены из ПВДФ, но для того, чтобы изготавливать волокна достаточно малого диаметра, требуются хлорированные растворители. Нейлон 6, нейлон 66 и нейлон 6,10 могут быть спрядены электростатически. Однако растворители, такие как муравьиная кислота, m-крезол, трифтороэтанол, гексафтороизопропанол, либо неудобны в обращении либо очень дороги. Предпочтительные растворители включают воду, этанол, изопропиловый спирт, ацетон и N-метил пирролидон благодаря их слабой токсичности. Полимеры, совместимые с такими системами растворителей, оценивались всесторонне. Мы обнаружили, что волокна, изготовленные из ПВХ, ПВДХ, полистирола, полиакрилонитрила, ПММА, ПВДФ, требуют дополнительных средств сцепления, чтобы достичь необходимых структурных свойств. Мы обнаружили также, что когда полимеры растворены в воде, этаноле, изопропиловом спирте, ацетоне, метаноле и их смесях, и из них получены прочные волокна; эти волокна обладают отличным сцеплением с подложкой, таким образом создавая превосходную фильтрующую среду для области применения с самоочисткой. Самоочистка с помощью обратного импульса воздуха или вихря полезны в случаях, когда фильтрующая среда используется в условиях с очень высокой концентрацией пыли. В таких областях применения успешно использовались волокна из спирторастворимых полиамидов и поливиниловых спиртов. Примеры спирторастворимых полиамидов включают Macromelt 6238, 6239 и 6900, Elvamide 8061 и 8063 фирмы Дюпон и SVP 637 и 651 компании «Shakespeare Monofilament Company”. Другая группа спирторастворимого полиамида содержит нейлон типа 8, модифицированный алкоксиалкилом нейлон 66 (см. стр.447, Справочника по нейлоновым пластикам, ред. Мелвин Кохан, издатель Хансер, Нью-Йорк, 1995 г.). Примеры поливинилового спирта включают ПВА-217, 224 от Курари, Япония и Винол 540 компании «Air Products and Chemical Company».
Мы убедились, что фильтры могут подвергаться воздействию экстремальных условий окружающей среды. Фильтры в пустыне в Саудовской Аравии могут работать при температуре в 150°F (65°C) или выше. Фильтры, установленные в Индонезии или на побережье залива Галф Коуст в США, могут выдерживать воздействие относительной влажности свыше 90% и температуры свыше 100°F(38°C). Они могут также выдерживать действие дождя. Мы убедились, что фильтры, используемые под капотом транспортных средств, таких как автомобили, грузовики, автобусы, трактора и строительные машины, могут работать при высокой температуре (93°С), высокой относительной влажности и выдерживать воздействие химических веществ окружающей среды. Мы разработали способы проверки для оценки стойкости микроволоконных систем в суровых условиях – при погружении образцов фильтрующей среды в горячую воду (60°С) в течение 5 минут или при воздействии высокой влажности, высокой температуры и потока воздуха.
Экспериментальная часть
Следующие материалы были получены с использованием следующих условий процесса электропрядения.
Описываемые ниже материалы были спрядены с использованием системы вращающегося эмиттера или системы капиллярного шприца. Оказалось, что обе эти системы производят по существу одни и те же волоконные материалы. Расход через эмиттер был равен 1,5 мм/мин, расстояние до мишени 8 дюймов, напряжение на эмиттере 88 кВ, относительная влажность 45%, скорость вращения эмиттера 35 об/мин.
Пример 1
Влияние размера волокна
Образцы тонких волокон были изготовлены из сополимера нейлона 6, 66, 610. Смола сополимера нейлона (SVP-651) анализировалась на молекулярный вес с помощью титрования конечной группы (Дж.Е.Уолз и Г.Б.Тейлор, «Определение молекулярного веса нейлона». Химический анализ, т.19, номер 7, стр.448-450 (1947)). Величина среднего молекулярного веса находилась между 21.500 и 24.800. Композит оценивался с помощью фазовой диаграммы температуры плавления трехкомпонентного нейлона, состоящего из нейлона 6 – около 45%, нейлона 66 – около 20% и нейлона 610 – около 25% (Стр.286 Справочника по нейлоновым пластикам, ред. Мелвина Кохана, изд. Хансера, Нью-Йорк (1995 г.). Заявленные физические свойства смолы SVP-651 приведены ниже.
| Свойство |
ASTM Метод |
Единицы |
Стандартная величина |
| Удельный вес |
D-792 |
– |
1,08 |
| Поглощение воды |
D-570 |
% |
2,5 |
| (погружение на 24 ч) |
|
|
|
| Твердость |
D-240 |
D по Шору |
65 |
| Точка плавления |
ДСК |
°C (°F) |
154 (309) |
| Прочность на разрыв |
D-638 |
МПа |
50 |
| @Текучесть |
|
|
|
| Удлинение при разрыве |
D-638 |
% |
350 |
| Модуль изгиба |
D-790 |
МПа |
180 |
| Объемное удельное |
|
|
|
| сопротивление |
D-257 |
Ом·см |
1012 |
для производства волокон диаметром от 0,23 до 0,45 микрона.
Образцы были замочены в воде комнатной температуры, высушены с помощью воздушной сушки, и их эффективность была измерена. Большее волокно требует больше времени для разрушения, и его степень распада меньше, что можно увидеть на графике фигуры 12. Хотя мы не желаем ограничиваться какой-либо одной теорией, но предполагаем, что меньшие волокна, имеющие большее отношение поверхность/объем, более восприимчивы к разрушению под воздействием окружающей среды. Однако большие волокна не создают достаточно эффективную фильтрующую среду.
Пример 2;
Сшивание волокон нейлона с фенольной смолой и эпоксидной смолой
Чтобы повысить химическую стойкость волокон был проведен опыт по химическому сшиванию волокон нейлона. Описанный выше сополиамид (нейлон 6, 66, 610) был смешан с фенольной смолой, определенной как Georgia Pacific 5137, и спряден в волокно. Отношение нейлон: фенольная смола и температура плавления этой смеси показаны ниже:
| Состав |
t плавления (°С) |
| Полиамид: Фенольный = 100:0 |
65,5 |
| Полиамид: Фенольный = 80:20 |
43,3 |
| Полиамид: Фенольный = 65:35 |
34,4 |
| Полиамид: Фенольный = 50:50 |
18,3 |
Мы смогли получить сравниваемые волокна из этих смесей. Смесь 50:50 не смогла быть сшита с помощью нагревания, так как волоконная структура была нарушена. Нагревание смеси 65:35 ниже 90°С в течение 12 часов повысило химическую стойкость полученных волокон к растворению в спирте. Могут быть использованы смеси полиамида с эпоксидной смолой, такой как Epon 828 от Shell и Epi-Res 510.
Пример 3
Поверхностная модификация с помощью фтористой водоотталкивающей добавки (Scotchgard®)
Спиртовые смеси Scotchgard® PC-430 и FC-431, поставляемые компанией 3М, были добавлены к полиамиду перед прядением. Добавленное количество твердой фазы составляло 10%. Добавление Scotchgard не препятствовало формированию волокна. Испытания на стенде ТНС (стенд для испытаний воздействием температуры и влажности показали, что покрытие высокомолекулярной водоотталкивающей добавкой Scotchgard не улучшает водоотталкивающие свойства. Образцы с добавлением Scotchgard нагревались до 300°F (150°C) в течение 10 минут, как предлагалось производителем.
Пример 4
Модификация с помощью сшивающих агентов
Полимерная пленка была отлита из полиамидов с титанатовыми сшивающими агентами, поставляемыми компанией Kenrich Petrochemicals, Inc. Они включают изопропил триизостеарол титанат (KR ITS), неопентил (диаллил) окситри (диоктил) фосфат титанат (LICA12), неопентил (диаллил) окси, три (N-этилен диамино) этил цирконат (NZ44). Отлитые пленки были погружены в кипящую воду. Контрольный образец без сшивающего агента потерял свою прочность мгновенно, в то время как образцы с добавлением сшивающего агента сохраняли свою форму до 10 минут. Эти образцы с добавлением сшивающих агентов были спрядены в волокна (толщиной 0,2 микрона).
Пример 5
Модификация с помощью низкомолекулярного полимера р-трет-бугилфенола
Олигомеры пара-терт-бутилфенола с молекулярным весом в диапазоне от 400 до 1100 были закуплены на фирме Enzymol International, Колумбус, штат Огайо. Эти низкомолекулярные полимеры растворимы в нижних спиртах, таких как этанол, изопропиловый спирт и бутанол. Эти полимеры были добавлены к описанному выше сополиамиду и успешно электроспрядены в волокна 0,2 микрона. Некоторые полимеры и добавки затрудняли процесс электропрядения. В отличие от обычной фенольной смолы, описанной в примере 2, мы обнаружили, что эта группа полимеров не препятствует процессу формирования волокон. Мы обнаружили, что эта группа добавок защищает тонкие волокна от влажной среды, что видно на графике. Фигуры с 13-16 показывают, что олигомеры обеспечивают очень хорошую защиту при 140°F (60°C), влажности 100%, но характеристика ухудшается при 160°F (71°C). Мы добавляли эти примеси в пропорциях между 5% и 15% от используемого полимера и обнаружили, что они одинаково эффективно защищают волокна от воздействия высокой влажности при температуре 140°F (60°C). Мы обнаружили также, что характеристика улучшается и в случае, когда волокна подвергаются воздействию температуры в 150°С в течение короткого времени.
На таблице 1 показано действие температуры и выдержки при добавлении 10% примеси к полиамидным волокнам.
Таблица 1 Остаточная эффективность (%) после вымачивания При температуре 140°F (60°С) |
| Время нагрева |
| |
1 минута |
3 минуты |
10 минут |
| Температура |
|
| 150°С |
98,9 |
98,8 |
98,5 |
| |
98,8 |
98,9 |
98,8 |
| 130°С |
95,4 |
98,7 |
99,8 |
| |
96,7 |
98,6 |
99,6 |
| 110°С |
82,8 |
90,5 |
91,7 |
| |
86,2 |
90,9 |
85,7 |
Это оказался удивительный результат. Мы увидели поразительное улучшение водоотталкивающих свойств с этой группой добавок. Чтобы понять, как действует эта группа добавок, мы проанализировали мат из тонких волокон с помощью техники поверхностного анализа, называемой ESC А. Образцы с 10% добавкой, показанные в Таблице 1, анализировались с помощью ESC А в университете Миннесоты. Результаты приведены в Таблице 2.
Таблица 2 Поверхностная композиция (полимер: аддитивное отношение) |
| Время нагрева |
| |
1 минута |
3 минуты |
10 минут |
| Температура |
|
|
|
| 150°С |
40:60 |
40:60 |
50:50 |
| 130°С |
60:40 |
56:44 |
62:82 |
| 110°С |
63:37 |
64:36 |
59:41 |
| Без нагрева |
77:23 |
|
|
Первоначально, казалось, не имело смысла определить поверхностную концентрацию добавки, более чем вдвое превышающей объемную концентрацию. Однако мы полагаем, что это можно объяснить молекулярным весом добавок. Молекулярный вес добавки приблизительно в 600 раз меньше, чем вес начального полимера, формирующего волокно. Поскольку они меньше по размеру, они могут двигаться по испаряющимся молекулам растворителя. Таким образом, мы получаем более высокую поверхностную концентрацию добавок. Дальнейшая обработка увеличивает поверхностную концентрацию защитной добавки. Однако при выдержке 10 минут при 150°С не увеличивает концентрацию. Это может быть признаком того, что смешивание двух компонентов молекул сополиамида и олигомера образует цепной полимер, имеющий время для движения. Этот анализ научил нас тому, что надлежащий выбор последующей обработки, время и температура могут улучшить рабочие характеристики, тогда как слишком долгая экспозиция может иметь отрицательное эффект.
Далее мы исследовали поверхность микроволокна с этими добавками, используя методику вторичной ионной масс-спектроскопии (SIMS). Эта методика включает бомбардировку предмета электронами при наблюдении того, что исходит от поверхности. Образцы без добавок показывают, что при бомбардировке электронами выделяются азотные группы. Это признак того, что полиамидные группы разрушаются. Это также указывает на присутствие небольшого количества загрязнителей типа натрия и кремнийорганического материала (кремния). Образцы с добавкой без термической обработки (концентрация добавки 23% на поверхности) показывают доминирующие фрагменты t-бутила и небольшие, но однозначные пики, наблюдаемые для полиамидов. Точно так же наблюдались высокие массовые пики с массовой разницей 148 атомных единиц массы, соответствующие t-бутилфенолу. Для образца, обрабатываемого в течение 10 минут при 150°С (50% поверхности с аддитивной концентрацией, определенной электронной спектроскопии для химического анализа), было найдено присутствие фрагментов и следов t-бутила в пиках для полиамида. Этот анализ не обнаружил пики, связанные со всем t-бутилфенолом и его полимерами. Анализ также обнаружил пик, связанный с фрагментами С2Н3О.
Масс-спектрометрический анализ показал, что голые волокна полиамида выделяют фрагменты азота из экспонируемой полимерной цепи и загрязнители на при бомбардировке поверхности ионами. Добавка без термической обработки не охватывала всю поверхность. Олигомеры t-бутила свободно распределены на поверхности. Когда пучок ионов падает на поверхность, целые молекулы могут отрываться наряду с неустойчивым фрагментом t-бутила. Добавка с термической обработкой обеспечивает полный охват поверхности. Кроме того, молекулы плотно примыкают друг к другу, так что отрываются только неустойчивые фрагменты типа t-бутила и возможно СН=СН-ОН, а целые молекулы фенола t-бутила не отрываются. Электронная спектроскопия для химического анализа и масс-спектрометрия вторичных ионов выполнялись на различных глубинах от поверхности. Электронная спектроскопия для химического анализа проникает на большую глубину от поверхности до 100Å, в то время как масс-спектрометрия вторичных ионов просматривает глубину только на 10Å. Результаты обоих анализов совпадают.
Пример 6: Развитие поверхности, покрытой сополимером
Первоначально был развит нейлон типа 8, чтобы подготовить растворимую и сшиваемую смолу для покрытия и клейкого нанесения. Этот тип полимера был получен реакцией полиамида 66 с формальдегидом и спиртом в присутствии кислоты (См. Cairns, T.L.; Foster, H.D.; Larcher, A.W.; Schneider, A.K.; Schreiber, R.S. J., журнал “Chem. Soc”. 1949, 71, 651). Этот тип полимера может быть получен электростатическим прядением и может быть сшит. Однако формирование волокна из этого полимера проходит хуже, чем для сополиамидов, и сшивание может быть затруднено.
Для того чтобы приготовить нейлон типа 8, реактор высокого давления емкостью 10-галлонов был загружен следующими компонентами:
| Нейлон 66 (duPont Zytel 101) |
10 фунтов |
| Метанол |
15.1 фунтов |
| Вода |
2.0 фунта |
| Формальдегид |
12.0 фунтов |
Затем реактор был продут азотом и нагрет, по меньшей мере, до 135°С под давлением. Когда желаемая температура была достигнута, было добавлено небольшое количество кислоты в качестве катализатора. Кислотные катализаторы включают трифторуксусную кислоту, муравьиную кислоту, толуолсульфокислоту, малеиновую кислоту, малеиновый ангидрид, фталевую кислоту, фталевый ангидрид, фосфорную кислоту, лимонную кислоту и их смеси. В качестве катализатора может быть также использован полимер Nation®. После добавления катализатора реакция продолжалась 30 минут. На этом этапе получается вязкий однородный раствор полимера. После определенного времени реакции содержимое сосуда высокого давления перемещается в ванну, содержащую метанол, воду и основание, например гидроокись аммония или едкий натр, чтобы прервать реакцию. После того как раствор в достаточной степени охлажден, он осаждается в деионизированной воде. При этом формируются легкие мелкокристаллические гранулы полимера. Гранулы полимера затем центрифугируются и сушатся в вакууме. Этот полимер растворим в метаноле, этиловом спирте, бутиловом спирте и их смесях с водой в разных пропорциях. Он также растворим в смесях различных спиртов.
Полученный таким образом модифицированный алкоксиалкилом полиамид типа 8 растворяется в смеси этилового спирта с водой. Раствор полимера электрически прядется способом, описанным в патенте США №4650516 (Баррис). Со временем вязкость раствора полимера возрастает. Хорошо известно, что вязкость полимера сильно влияет на определение размера волокна. Поэтому, трудно управлять этим процессом в промышленном масштабе при непрерывном производстве. Более того, при одинаковых условиях полиамиды типа 8 не формируют микроволокно столь же эффективно, как сополиамиды. Однако если раствор приготовлен с добавлением кислотного катализатора, такого как толуолсульфокислота, малеиновый ангидрид, трифторметан сульфокислота, лимонная кислота, аскорбиновая кислота и им подобные, и волоконный мат после фомирования волокон подвергается тщательной термообработке, полученное волокно имеет очень хорошую стойкость к химическим веществам (Фигура 13). На этапе сшивания должна соблюдаться осторожность, чтобы при этом не разрушилась волоконная структура.
Мы получили удивительный результат, когда полиамид типа 8 (полимер В) смешали со спирторастворимыми сополиамидами. При замене 30% по весу модифицированного алкоксиалкилом полиамида 66 спирторастворимым сополиамидом, например SVP 637 или 651 (полимер A), Elvamide 8061, обнаружился синергический эффект. Формирование волокон из смеси происходит более эффективно, чем из каждого компонента в отдельности. Погружение в этанол и измерение эффективности фильтрации показывает остаточную эффективность фильтрации больше 98%, при этом испытание на стенде ТНС показывает результаты, сравнимые с одним полиамидом типа 8. Смесь такого типа показывает, что можно эффективно формировать волокна при отличной характеристике фильтрации сополиамида одновременно с отличной стойкостью к химическим веществам сшитого полиамида типа 8. Тест на погружение в спирт дает большое основание предполагать, что в сшитом сополиамиде использовался сополиамид, неспособный к сшиванию, обеспечивая эффективность фильтрации 98%. ДСК (смотри фигуры 17-20) смеси полимера А и В становится неотличимой от ДСК отдельного полимера А после того как они нагреты до 250°С (полностью сшитые) с той же температурой плавления. Это дает возможность предположить, что смесь полимера А и полимера В является полностью объединенным полимером, полученным путем сшивания полимера В с полимером А. Это совершенно новый класс полиамида.
Подобным же образом смешанный плавлением полиэтилен терефталат с поли(бутилен терефталатом) может иметь аналогичные свойства. Во время плавления при температурах, выше температуры плавления любого из компонентов, происходит обмен эфирной группы и образуется сополимер ПЭТ (полиэтилентерефталата) и ПБТ (полибутилентерефталата). К тому же, в наших опытах температура сшивания была ниже, чем у любого из отдельных компонентов. Не следует ожидать, что такой обмен группы может происходить при этой низкой температуре. Поэтому мы убеждены, что открыли новое семейство полиамида, получаемое путем смешивания в растворе полиамида типа А и типа В и сшивания при температуре ниже, чем точка плавления любого из компонентов.
Когда мы добавили 10% по весу олигомера t-бутилфенола (добавка 7) и подвергли термообработке при температуре, необходимой для сшивания, мы обнаружили даже лучшие результаты. Мы предположили, что гидроксильная функциональная группа олигомеров t-бутилфенола будет участвовать в реакции с функциональной группой нейлонов типа 8. Мы обнаружили, что эта система компонентов обеспечивает хорошее формирование волокон, повышенную стойкость к высокой температуре и высокой влажности, а также гидрофобность поверхности слоев тонкого волокна. Мы приготовили образцы из смеси полимера А и полимера В (образец 6А) и другой образец из смеси полимера А, полимера В и добавки 7 (образец 6В). Затем мы сформировали волокно с помощью процесса электропрядения, выдержали волоконный мат при 300°F (150°C) в течение 10 минут и подвергли анализу поверхностный состав с помощью поверхностного анализа – электронная спектроскопия для химического анализа (см. табл.3)
Таблица 3 электронная спектроскопия для химического анализа образцов 6А и 6В |
| Состав (%) |
Образец 6А |
Образец 6В |
|
| Полимер А |
30 |
30 |
|
| Полимер В |
70 |
70 |
|
| Добавка 7 |
0 |
10 |
|
| Состав поверхности |
без нагрева |
с нагревом |
без нагрева |
с нагревом |
| Полимер А&В(%) |
100 |
100 |
68,9 |
43,0 |
| Добавка 7 |
0 |
0 |
31,1 |
57,0 |
Электронная спектроскопия для химического анализа обеспечивает информацию о составе поверхности, за исключением концентрации водорода. Она обеспечивает информацию об углероде, азоте и кислороде. Поскольку добавка 7 не содержит азота, мы можем оценить отношение азотсодержащих полиамидов и добавки, не содержащей азота, путем сравнения концентрации азота. Дополнительную качественную информацию можно получить, рассматривая спектр энергии связи при 535 и 527 эВ. Связь С=O имеет энергию связи у примерно 531 эВ, а связь С-0 имеет энергию связи у 533 эВ. Сравнением высот этих двух пиков можно оценить относительную концентрацию полиамида с преобладанием С=O и добавки исключительно с С-O группами. Полимер В содержит связи С-O благодаря модификации, и после сшивания концентрация С-O уменьшится. Электронная спектроскопия для химического анализа подтверждает, что такая реакция действительно происходила, показывая относительное уменьшение связей С-O. (Фиг.4 для не обработанной термически смеси волокна полимера А и полимера В, Фиг.5 для термообработанной смеси волокна полимера А и полимера В). Когда на поверхности присутствуют молекулы добавки 7, можно ожидать большего количества связей С-O. Это как раз тот случай, который можно видеть на фигурах 6 и 7. (Фиг.6 для только что спряденной смеси волокон полимера А, полимера В и добавки 7. Фиг.7 для термообработанной смеси волокон полимера А, полимера В и добавки 7). Фигура 6 показывает, что концентрация связей С-O для примера 7 возрастает. Этот вывод согласуется с поверхностной концентрацией на основании XPS сложного спектра с фиг. от 8 до 11.
Очевидно, что молекулы олигомера t-бутила перемещаются к поверхности тонких волокон и образуют гидрофобное покрытие толщиной около 50 Å. Нейлон типа 8 содержит функциональные группы, такие как -СН2OH и СН2ОСН3, которые, как ожидается, должны реагировать с группой -ОН t-бутилфенола. Таким образом, мы ожидали увидеть меньше молекул олигомера на поверхности волокон. Мы обнаружили, что наша гипотеза оказалась неверной и что поверхность сополимера имеет тонкое покрытие.
Образцы 6А, 6В и копия образца, описанного в разделе 5, были подвергнуты тестам на стенде ТНС при температуре 160°F (71°C) и относительной влажности 100%. В предыдущем разделе образцы подвергались воздействию температуры 140°F (60°C) и относительной влажности 100%. В этих условиях t-бутилфенол защищает трехзвенный полимер сополиамида от разрушения. Однако если температура поднимается до 160°F (71°C) при относительной влажности 100%, то олигомер t-бутилфенола плохо защищает нижележащие волокна трехзвенного полимера сополиамида. Мы сравнили образцы при 160°F (71°C) и относительной влажности 100% (см. табл.4)
Таблица 4 Остаточная эффективность тонкого волокна после воздействия температуры 160°F (71°С) и относительной влажности 100% |
| Образец |
После 1 часа |
После 2 часов |
После 3 часов |
| Образец 6А |
82,6 |
82,6 |
85,9 |
| Образец 6В |
82,4 |
88,4 |
91,6 |
| Образец 5 |
10,1 |
|
|
Таблица показывает, что образец 6В помогает в защите от воздействия высокой температуры и высокой влажности.
Более поразительной оказалась разница, когда мы воздействовали на волоконный мат каплями воды. Когда мы налили немного деионизированной воды на поверхность образца 6А, капли воды сразу же растеклись по волоконному мату и намочили также бумажную подложку. С другой стороны, когда мы налили немного воды на поверхность образца 6В, вода образовала шарик и не растеклась по поверхности мата. Мы изменили поверхность образца 6В, чтобы сделать его водоотталкивающим, добавив олигомеры p-t-бутилфенола. Продукт этого типа может быть использован в качестве средства удаления водяного тумана, поскольку капли воды не будут проходить через поверхностный слой из тонких волокон образца 6В.
Образцы 6А, 6В и копия образца из раздела 5 были помещены в термостат, в котором была установлена температура 310°F (154°C). Таблица 5 показывает, что образцы 6А и 6В не изменились, в то время как образец из раздела 5 был сильно поврежден.
Таблица 5 Остаточная эффективность тонкого волокна после выдержки при 154°С |
| Образец |
После 6 часов |
После 77 часов |
| Образец 6А |
100% |
100% |
| Образец 6В |
100% |
100% |
| Образец 5 |
34% |
33% |
В то время как добавление олигомера только к полимеру А повышает стойкость слоя тонкого волокна при высокой температуре, добавление добавки 7 не оказывает влияния на действие высокой температуры.
Мы доказали, что смесь трехзвенного полимера сополиамида, модифицированного алкоксиалкилом нейлона 66 и олигомеров t-бутилфенола, обеспечивает лучшие продукты с повышенной продуктивностью в промышленности при работе тонких волокон в тяжелых условиях, чем любая из смесей трехзвенного полимера сополиамида и олигомера t-бутилфенола или трехзвенного полимера сополиамида и модифицированного алкоксиалкилом нейлона 66. В свою очередь эти две смеси компонентов являются более совершенными по сравнению с системой из одного компонента.
Пример 7
Смесь совместимых полимеров полиамидов и бисфенола А
Новое семейство полимеров может быть подготовлено путем окислительной связи фенольного кольца (Пекора, А; Сайрус, В., патент США 4900671 (1990 г.) и Пекора, А; Сайрус, В; Джонсон, М. Патент США 5153298 (1992 г.)). Особый интерес представляет полимер, изготовленный из бисфенола А, поставляемого корпорацией Энзимол (Enzymol). Окисление бисфенола А в присутствии катализатора пероксидазы соевого масла может начинаться с любой стороны из двух -ОН групп в бисфеноле А. В отличие от поликарбоната на основе бисфенола А, который имеет линейную структуру, этот тип полимера бисфенола А образует очень разветвленные полимеры. Благодаря разветвленной природе этого полимера он может снизить вязкость смеси полимеров.
Мы обнаружили, что этот тип полимера бисфенола А может быть смешан в растворе с полиамидами. Приведенный Хансеном параметр растворимости для нейлона равен 18,6. (стр.317, Справочник параметров растворимости и других параметров сцепления, ред. А.Бартон, издание CRC Press, Бока Ратон, Флорида, 1985 г.). Если вычислять параметр растворимости (стр. 61, Справочник параметров растворимости), то расчетный параметр растворимости равен 28,0. Из-за разницы в значениях параметра растворимости не следует ожидать, что эти компоненты будут смешиваться друг с другом. Однако мы обнаружили, что в растворе этилового спирта была приготовлена смесь 50:50 смолы бисфенола А с молекулярным весом 3.000 и сополиамида. Общая концентрация в растворе равнялась 10%. Один сополиамид давал бы диаметр волокна 0,2 микрона. Смесь давала слой волокон около 1 микрона. Бисфенол А с молекулярным весом 7.000 неустойчив в смеси с сополиамидом и стремится выпадать в осадок.
ДСК смеси 50:50 обеспечивает недостаточную температуру плавления. Сополиамид имеет температуру плавления около 150°С, а смола из бисфенола А – стекловидный полимер с Tg около 100. Смесь плохо плавится. Когда волоконный мат нагревается до 100°С, он исчезает. Эта смесь дает отличную фильтрующую среду, если максимальная рабочая температура является невысокой, но требуется низкий перепад давления. Эта полимерная система не сшивается приемлемым способом.
Полимер 8
Двойная роль полимера бисфенола А в качестве растворителя и твердого тела в смеси
Удивительная роль смеси с полимером бисфенола А состоит в том, что в растворе полимер бисфенола А ведет себя как растворитель, а в твердом виде полимер действует как твердая фаза. Мы нашли, что двойная роль полимера бисфенола А действительно уникальна.
Был создан следующий состав, г:
| Модифицированный алкоксилом полиамид 66: |
полимер В |
80 |
| Смола бисфенола А (мол. вес 3.000): |
полимер С |
108 |
| Этиловый спирт типа 190 |
|
827 |
| Ацетон |
218 |
| Деионизированная вода |
167 |
| Катализатор |
9,3 |
Вязкость этой смеси, измеренная вискозиметром Брукфильда, равнялась 32,6 сантипуаз. Общая концентрация полимера была 19,2%. Вязкость полимера В при 19,2% равна более 200 сантипуаз. Вязкость одного 12% полимера В в подобном растворе равна примерно 60 сантипуазам. Это является ярким примером того, что смола бисфенола А действует как растворитель, потому что вязкость общего раствора ниже ожидаемой. Полученный диаметр волокна был равен 0,157 микрона. Если при формировании волокна участвовал бы один полимер В, ожидаемый размер волокна был бы менее 0,1 микрона. Иначе говоря, полимер С участвует в формировании волокна. Мы не знаем какого-либо другого случая сохранения такой поразительной эффективности и неизменности размера волокна. Это показывает, что полимер С участвует в сшивании как твердый полимер.
Другой раствор полимера был приготовлен следующим образом, г:
| Модифицированный |
| алкоксиалкилом полиамид 66: |
Полимер В |
225 |
| Смола бисфенола А (мол. Вес 3000): |
Полимер С |
135 |
| Этиловый спирт типа 190 |
|
778 |
| Ацетон |
|
205 |
| Деионизированная вода |
|
157 |
| Катализатор |
|
11,6 |
Вязкость этой смеси равнялась 90,2 сантипуазам. Это очень низкое значение вязкости для 24% твердой фазы. Кроме того, это является свидетельством действия полимера С в качестве растворителя в этом растворе. Однако когда они прядутся в волокно в электростатическом поле, диаметр волокна равен 0,438 микрона. 15% раствор одного полимера В дал бы волокно диаметром около 0,2 микрона. В конечном состоянии полимер С способствует увеличению размера волокна. Кроме того, этот пример показывает, что этот тип полимера с разветвленной цепью действует в растворе как растворитель, а в конечном состоянии – как твердая фаза. После погружения в раствор этилового спирта сохраняется 77,9% эффективности фильтрации, а размер волокна остался неизменным.
Пример 9
Получение сшитых смесей полиамидов/полимера бисфенола А
Были приготовлены три различных образца путем сочетания смол, спиртов и воды, смешивая их в течение 2 часов при температуре 60°С. Раствор охлаждался до комнатной температуры, и к нему добавлялся катализатор, и эта смесь перемешивалась еще 15 минут. После этого измерялась вязкость раствора и из него прялись волокна.
Следующая таблица показывает эти образцы:
| Состав (г) |
Образец 9А |
Образец 9В |
Образец 9С |
| Полимер В |
12,6 |
14,7 |
3,6 |
| Полимер А |
3,6 |
5,4 |
6,3 |
| Полимер С |
7,2 |
10,8 |
12,6 |
| Этанол 190 |
89,3 |
82,7 |
79,5 |
| Изопропанол |
23,5 |
21,8 |
21,0 |
| Деионизированная вода |
18,0 |
16,7 |
15,9 |
| Катализатор |
0,45 |
0,58 |
0,79 |
| Вязкость (сантипуазы) |
22,5 |
73,5 |
134,2 |
| Размер волокна (микрон) |
0,14 |
0,258 |
0,496 |
Мы выяснили, что эта смесь эффективно создает волокна, вырабатывая примерно на 50% больше массы волокон по сравнению с составом из полимера А. Кроме того, полученные полимерные микроволокна позволяют изготовить химически стойкое волокно. После погружения в спирт фильтр, изготовленный из этих волокон, сохраняет более 90% эффективности фильтрации и неизменный диаметр волокна, хотя полимер, способный сшиваться, составляет всего 44% твердой фазы. Этот трехполимерный композит, состоящий из сополиамида, модифицированного алкоксиалкилом нейлона 66 и бисфенола А, создает химически стойкий материал, отлично формирующий волокно.
Пример 10
Модифицированный алкоксиалкилом сополимер нейлона 66 и нейлона 46
В 40-литровом реакторе высокого давления были выполнены следующие реакции, и полученные полимеры были проанализированы. После того, как была достигнута нужная температура реакции, были добавлены катализаторы и реакция длилась 15 минут. После этого раствор полимера был охлажден, осажден, полимер был промыт и высушен.
| Содержимое реактора (фунты) |
Цикл 10А |
Цикл 10В |
Цикл 10С |
Цикл 10D |
Цикл 10D |
| Нейлон 4,6 (duPont Zytel 101) |
10 |
5 |
5 |
5 |
5 |
| Нейлон 6,6 (DSM Stanyl 300) |
0 |
5 |
5 |
5 |
5 |
| Формальдегид |
8 |
10 |
8 |
10 |
8 |
| Деионизированная вода |
0,2 |
0,2 |
2 |
0,2 |
2 |
| Метиловый спирт |
22 |
20 |
20 |
20 |
20 |
| Температура реакции (°С) |
140 |
140 |
140 |
150 |
150 |
| Tg (°С) |
56,7 |
38,8 |
37,7 |
38,5 |
31,8 |
| Tm (°С) |
241,1 |
162,3 |
184,9 |
|
189,5 |
| Уровень замещения |
|
| Алкокси (вес.%) |
11,9 |
11,7 |
7,1 |
11,1 |
8,4 |
| Метилол (вес.%) |
0,14 |
0,13 |
0,14 |
0,26 |
0,24 |
ДСК полимера, выполненная с нейлоном 46 и нейлоном 66, показывает широкий разброс температуры плавления одиночного компонента, которая ниже, чем температура плавления модифицированного нейлона 46 (241°С) или модифицированного нейлона 66 (210°С). Это является свидетельством того, что во время реакции оба компонента произвольно распределены вдоль цепи полимера. Таким образом, мы убеждены, что добились получения произвольного сополимера нейлона 46 и нейлона 66 с модификацией алкоксиалкилом. Эти полимеры растворимы в спиртах и смесях спирта с водой.
| Свойство |
Стандарт ASTM |
Нейлон 6,6 |
Нейлон 4,6 |
| Tm |
|
265°С |
295°С |
| Прочность на растяжение |
D-638 |
13.700 |
8.500 |
| Удлинение при разрыве |
D-638 |
15-18 |
60 |
| Предел текучести при растяжении |
D-638 |
8000-12000 |
|
| Прочность на изгиб |
D-790 |
17.800 |
11.500 |
| Модуль изгиба ×103 фунтов на квадратный дюйм |
D-638 |
230-550 |
250 |
| Твердость на удар фут-фунт/дюйм выемки |
D-256A |
0,55-1,0 |
17 |
| Прогиб под изгибающей нагрузкой 264 фунт/кв. дюйм |
D-648 |
158 |
194 |
Оба эти полимера являются полностью кристаллическими и не растворяются в обыкновенных спиртах. Источник: «Современная энциклопедия пластиков», 1998 г.
Пример 11:
Получение сополимера сополиамидов и алкоксилалкила модифицированного сополимера нейлона 46/66 и формирование электроспряденных волокон
Образцы 10В и 10D были преобразованы в волокна, используя вышеописанный способ. Модифицированный алкоксилалкилом нейлон 46/66 (полимер D) был успешно спряден в электрическом поле. Смешивание полимера D с полимером А обеспечивает дополнительную выгоду в смысле более эффективного формирования волокна и возможность получения больших волокон без ухудшения способности полимера D к сшиванию, как можно видеть из следующей таблицы:
| |
Полимер 10В |
Полимер 10D |
| |
Один |
с/30% |
Один |
с/30% |
| |
Полимер А |
|
Полимер А |
Размер волокна, м |
0.183 |
0.464 |
0.19 |
0.3 |
| Массовое отношение волокна 1 |
1 |
3 |
1 |
2 |
| Эффективность фильтрации |
|
|
|
|
| Удерживающая способность (%) |
87 |
90 |
92 |
90 |
Массовое отношение волокна рассчитано по формуле (полная длина волокна, умноженная на площадь поперечного сечения). Удерживающая способность или эффективность фильтрации измеряется, пропитывая образец фильтра в этиловом спирте. Размер волокна после пропитки спиртом не изменился.
Пример 12
Спряденный в электрическом поле сшитый поливинилацетат
Порошки поливинилацетата (ПВА) были закуплены на фирме Aldrich Chemicals. Они растворялись либо в воде, либо в смеси 50/50 метанола и воды. Они были смешаны с агентом сшивания и катализатором сульфоновой кислоты толуола прежде, чем подвергнуться процессу электропрядения. Конечный волоконный мат был сшит в печи при температуре 150°С в течение 10 минут перед передачей на стенд ТНС.

Пример 13
В качестве подложки использовалась обычная целлюлозная среда. Эта подложка имела вес 67 фунтов на 3000 квадратных футов, проницаемость по Фрейзеру 16 футов в минуту при 0,5 дюйма водяного столба, толщиной 0,012 дюймов и эффективности слоя тонкого волокна 41,6%. Слой тонкого волокна примера 1 был добавлен к поверхности, используя процесс, описанный выше для номинального волокна диаметром 0,2 микрона. Полученный композит имеет эффективность слоя тонкого волокна 63,7%. После выдержки при 140°F (60°C) на воздухе при относительной влажности 100% в течение 1 часа один образец подложки был охлажден и высушен, после чего эффективность слоя тонкого волокна составила 36.5%. После выдержки при 140°F (60°C) на воздухе при относительной влажности 100% в течение 1 часа образец композита был охлажден и высушен, после чего эффективность слоя тонкого волокна составила 39,7%. Используя описанные выше математические формулы, было найдено, что остаточная эффективность слоя тонкого волокна после 1 часа выдержки составила 13%, при этом число эффективных тонких волокон составило 11%.
Пример 14
В качестве подложки использовалась обычная целлюлозная среда. Эта подложка имела основной вес 67 фунтов на 3000 кв. футов, проницаемость по Фрейзеру 16 футов в минуту при 0,5 дюйма водяного столба, толщину 0,012 дюймов при эффективности слоя тонкого волокна 41,6%. Слой тонкого волокна примера 5 был добавлен к поверхности, используя процесс, описанный выше для номинального волокна диаметром 0,2 микрона. Полученный композит имел эффективность слоя тонкого волокна 96,0%. После выдержки при 160°F (71°C) на воздухе при относительной влажности 100% в течение 3 часов один образец подложки был охлажден и высушен, после чего эффективность слоя тонкого волокна составила 35,3%. После выдержки при 160°F (71°C) на воздухе при относительной влажности 100% в течение 3 часов образец композита был охлажден и высушен, после чего эффективность слоя тонкого волокна составила 68,0%. Используя описанные выше математические формулы, было найдено, что эффективность слоя тонкого волокна после 3 часов выдержки составила 58%, при этом число эффективных тонких волокон составило 29%.
Пример 15
В качестве подложки использовалась обычная целлюлозная среда для фильтрации воздуха. Эта подложка имела основной вес 67 фунтов на 3000 квадратных футов, проницаемость по Фрейзеру 16 футов в минуту при 0,5 дюйма водяного столба, толщину 0,012 дюйма при эффективности слоя тонкого волокна 41,6%. Слой тонкого состоял из смеси полимера А и полимера В, причем, как описано в примере 6, полимер был добавлен к поверхности, используя процесс, описанный выше для номинального волокна диаметром 0,2 микрона. Полученный композит имел эффективность слоя тонкого волокна 92,9%. После выдержки при 160°F (71°C) на воздухе при относительной влажности 100% в течение 3 часов один образец подложки был охлажден и высушен, после чего эффективность слоя тонкого волокна составила 35,3%. После выдержки при 160°F (71°C) на воздухе при относительной влажности 100% в течение 3 часов образец композита был охлажден и высушен, после чего эффективность слоя тонкого волокна составила 86,0%. Используя описанные выше математические формулы, было найдено, что эффективность слоя тонкого волокна после 3 часов выдержки составила 96%, при этом число эффективных тонких волокон составило 89%.
Пример 16
В качестве подложки использовалась обычная целлюлозная среда для фильтрации воздуха. Эта подложка имела основной вес 67 фунтов на 3000 квадратных футов, проницаемость по Фрейзеру 16 футов в минуту при 0,5 дюйма водяного столба, толщину 0,012 дюймов при эффективности слоя тонкого волокна 41,6%. Слой тонкого волокна полимера А, полимера В, олигомера фенола тетрабутила, как описано в примере 6, был добавлен к поверхности, используя процесс, описанный выше для номинального волокна диаметром 0,2 микрона. Полученный композит имел эффективность слоя тонкого волокна 90,4%. После выдержки при 160°F (71°C) на воздухе при относительной влажности 100% в течение 3 часов один образец подложки был охлажден и высушен, после чего эффективность слоя тонкого волокна составила 35,3%. После выдержки при 160°F (71°С) на воздухе при относительной влажности 100% в течение 3 часов образец композита был охлажден и высушен, после чего эффективность слоя тонкого волокна составила 87,3%. Используя описанные выше математические формулы, было найдено, что эффективность слоя тонкого волокна после 3 часов выдержки была 97%, при этом число эффективных тонких волокон составило 92%.
Пример 17
В качестве подложки использовалась обычная целлюлозная среда для фильтрации воздуха. Эта подложка имела основной вес 67 фунтов на 3000 квадратных футов, проницаемость по Фрейзеру 16 футов в минуту при 0,5 дюйма водяного столба, толщину 0,012 дюйма при эффективности слоя тонкого волокна 41,6%. Слой тонкого волокна в виде сшитого ПВА с полиакриловой кислотой примера 12 был добавлен к поверхности, используя процесс, описанный выше для номинального волокна диаметром 0,2 микрона. Полученный композит имел эффективность слоя тонкого волокна 92,9%. После выдержки при 160°F (71°С) на воздухе при относительной влажности 100% в течение 2 часов один образец подложки был охлажден и высушен, после чего эффективность слоя тонкого волокна составила 35,3%. После выдержки при 160°F (71°C) на воздухе при относительной влажности 100% в течение 2 часов образец композита был охлажден и высушен, после чего эффективность слоя тонкого волокна составила 83,1%. Используя описанные выше математические формулы, было найдено, что эффективность слоя тонкого волокна после 2 часов выдержки составил 89%, при этом число эффективных тонких волокон составило 76%.
Пример 18 Были изготовлены следующие фильтрующие среды, используя способы, описанные в примерах 1-17 Примеры фильтрующих сред |
| Подложка |
Проницаемость подложки (Фрейзер) |
Основной вес подложки (фунт/30000 кв. фут) |
Толщина подложки (дюймы) |
Эффективность тонкой подложки (LEFS) |
Эффективность композита (LEFS) |
| Одиночное тонкое волокно на одной подложке (поток проходит через среду в любом направлении) |
(+/-10%) |
(+/-10%) |
(+/-25%) |
(+/-5%) |
(+/-5%) |
| Целлюлозная фильтрующая среда для очистки воздуха |
58 |
67 |
0,012 |
11% |
50% |
| Целлюлозная фильтрующая среда для очистки воздуха |
16 |
67 |
0,012 |
43% |
58% |
| Целлюлозная фильтрующая среда для очистки воздуха |
58 |
67 |
0,012 |
11% |
65% |
| Целлюлозная фильтрующая среда для очистки воздуха |
16 |
67 |
0,012 |
43% |
70% |
| Целлюлозная фильтрующая среда для очистки воздуха |
22 |
52 |
0,010 |
17% |
70% |
| Целлюлозная фильтрующая среда для очистки воздуха |
16 |
67 |
0,012 |
43% |
71% |
| Смесь целлюлозы и синтетики с водостойкой смолой |
14 |
70 |
0,012 |
30% |
70% |
| Огнеупорная целлюлозная фильтрующая среда для очистки воздуха |
17 |
77 |
0,012 |
31% |
58% |
| Примеры фильтрующих сред (продолжение) |
| Подложка |
Проницаемость подложки (Фрейзер) |
Основной вес подложки (фунт/30000 кв. фут) |
Толщина подложки (дюймы) |
Эффективность тонкой подложки (LEFS) |
Эффективность Композита (LEFS) |
| Огнеупорная целлюлозная фильтрующая среда для очистки воздуха |
17 |
77 |
0,012 |
31% |
72% |
| Огнеупорная синтетическая фильтрующая среда для очистки воздуха |
27 |
83 |
0,012 |
|
55% |
| Нетканый материал (полиэфир) |
1200 |
15 |
0,007 |
5% |
55% |
| Синтетическая/целлюлозная фильтрующая среда для очистки воздуха |
260 |
76 |
0,015 |
6% |
17% |
| Фильтрующая среда из синтетического материала и стекловолокна для очистки воздуха |
31 |
70 |
0,012 |
55% |
77% |
| Фильтрующая среда из синтетического материала и стекловолокна для очистки воздуха |
31 |
70 |
0,012 |
50% |
90% |
| Синтетика (Полиэфир-лутрадор) |
300 |
25 |
0,008 |
3% |
65% |
| Синтетика (Полиэфир-лутрадор) |
|
|
0,016 |
|
90% |
| Используемая фильтрующая среда была плоской, гофрированной, складчатой, гофрированной и складчатой, в виде плоских листов, складчатых плоских панелей, складчатых круглых фильтров и зетовых фильтров. |
МЕТОДИКИ ИСПЫТАНИЙ
Тест пропиткой горячей водой
Использование величины эффективности фильтрации в качестве меры числа тонких волокон, функционально удерживаемых в структуре, имеет ряд преимуществ по сравнению с другими возможными способами типа оценки по растровой электронной микроскопии.
– мера фильтрации оценивает несколько квадратных дюймов среды, выдающей лучшую среднюю величину по сравнению с очень небольшой областью, видимой через сканирующий электронный микроскоп в виде микрофотографий (обычно меньше чем 0,0001 квадратного дюйма)
– измерение фильтрации позволяет определить число волокон, остающихся функциональными в структуре. Те волокна, которые остаются, но слиплись вместе или иным образом изменены в структуре, включены только по их измеренной эффективности и функциональным возможностям.
Тем не менее, в волокнистых структурах, в которых трудно измерить эффективность фильтрации, могут использоваться другие способы для измерения процента оставшихся волокон и оценки по критерию задержания порядка 50%.
Описание:
Настоящий тест является ускоренным индикатором влагостойкости фильтрующей среды. В этом тесте используется стенд проверки эффективности слоя тонкого волокна (испытательный стенд LEFS) для измерения изменения рабочих характеристик фильтрующей среды при погружении в воду. Температура воды является критическим параметром и выбрана на основе истории срока службы исследуемой среды с целью свести к минимуму время испытаний и обеспечения возможности испытания сред различного типа. Типичные температуры воды составляют 70°F, 140°F или 160°F (21°C, 60°C или 71°С).
Процедура:
Образец диаметром 4 дюйма вырезается из фильтрующей среды. Эффективность захвата частиц загрязнителя контрольным образцом рассчитывается, используя латексные сферы размером 0,8 м в виде испытательной загрязняющей примеси в эффективности LEFS (для описания испытания эффективности слоя тонкого волокна, см. стандарт ASTM F 1215-89), при этом стенд работает со скоростью 20 футов в минуту. Образец затем погружается в дистиллированную воду (как правило, при температуре 140°F (60°C)) в течение 5 минут. Затем образец помещается на стойку сушилки и высушивается при комнатной температуре (как правило, в течение ночи). После того, как образец высушен, он неоднократно проверяется на эффективность на испытательном стенде LEFS, используя те же самые условия для первоначальных расчетов.
Эти же стадии испытания повторяются для подложки тонкого волокна без самого тонкого волокна.
Из вышеупомянутой информации можно вычислить составляющую эффективности только для тонкого волокна и результирующую потерю эффективности из-за вредного воздействия воды. После определения потери из-за тонкого волокна, можно вычислить величину остаточной эффективности.
Вычисления:
Эффективность слоя тонкого волокна:
Еi = Начальная эффективность композита;
Es = Начальная эффективность подложки;
Fe = Слой тонкого волокна
Fe = l-ЕХР (Ln(l-Ei)-Ln(l-Ex))
Остаточная эффективность слоя тонкого волокна:
Fi = Начальная эффективность слоя тонкого волокна;
Fx = Эффективность пропитанного слоя тонкого волокна; Fr = Сохраненное тонкое волокно

Процент тонких волокон, сохраняющих эффективные функциональные возможности, также может быть рассчитан по формуле:

Критерий прохождения/не прохождения испытаний: >50% сохранение эффективности
В большинстве промышленных применений фильтров с импульсной очисткой фильтр будет удовлетворительно работать при сохранении, по меньшей мере, 50% эффективности тонкого волокна.
Стенд ТНС (Влияние температуры и влажности)
Описание: цель этого стенда состоит в том, чтобы оценить устойчивость среды из тонкого волокна воздействию повышенной температуры и высокой влажности при условиях динамического потока. Испытание предназначено для моделирования тяжелых эксплуатационных режимов при промышленном применении фильтров на входе газовых турбин или на входе воздушного коллектора двигателей внутреннего сгорания. Испытательные образцы высушиваются, и эффективность слоя тонкого волокна проверяется через определенные промежутки времени. Эта система используется, главным образом, для моделирования горячих и влажных условий работы, но может также использоваться для моделирования горячих/холодных сухих рабочих режимов.
| Температура |
-31 до 390°F |
| Влажность |
от 0 до 100% относительной |
| |
влажности (максимальная температура для 100% относительной влажности – 160°F (71°C) и максимальная непрерывная продолжительность при этом условии составляет 16 часов |
| Расход |
от 1 до 35 футов в минуту |
Процедура: образец диаметром 4 дюйма вырезается из фильтрующей среды.
Эффективность захвата частиц загрязнителя контрольным образцом рассчитывается, используя латексные сферы размером 0,8 м в виде испытательной загрязняющей примеси на испытательном стенде, работающем со скоростью 20 футов в минуту.
Образец затем вставляется в патрон среды ТНС.
Время испытаний может исчисляться минутами и днями в зависимости от условий испытания.
Затем образец помещается на стойку сушилки и высушивается при комнатной температуре (как правило, в течение ночи). После того, как образец высушен, он неоднократно проверяется на эффективность на испытательном стенде LEFS, используя те же самые условия для первоначальных расчетов.
Эти же стадии испытания повторяются для подложки тонкого волокна без самого тонкого волокна.
Из вышеупомянутой информации можно вычислить составляющую эффективности только для тонкого волокна и результирующую потерю эффективности из-за вредного воздействия воды. После определения потери из-за тонкого волокна можно вычислить величину остаточной эффективности.
Тест пропиткой этиловым спиртом
Описание: в этом тесте используется испытательный стенд LEFS для измерения характеристик фильтрующей среды после ее погружения в этиловый спирт при комнатной температуре.
Процедура:
Из фильтрующей среды вырезается образец диаметром 4 дюйма. Эффективность захвата частиц загрязнителя контрольным образцом рассчитывается, используя латексные сферы размером 0,8 м в виде испытательной загрязняющей примеси на испытательном стенде работающим со скоростью 20 футов в минуту. Затем образец погружается в спирт в течение 1 минуты.
Затем образец помещается на стойку сушилки и высушивается при комнатной температуре (как правило, в течение ночи). После сушки образец неоднократно проверяется на эффективность на испытательном стенде LEFS, используя те же самые условия для первоначальных расчетов. Предыдущие стадии испытания повторяются для подложки тонкого волокна без самого тонкого волокна.
Из вышеупомянутой информации можно вычислить составляющую эффективности только для тонкого волокна и результирующую потерю эффективности из-за вредного воздействия спирта. После определения потери из-за тонкого волокна можно вычислить величину остаточной эффективности.
Критерий прохождения/не прохождения испытаний: >50% сохранение эффективности
Приведенные выше описание, примеры и данные обеспечивают полное объяснение изобретения. Однако могут быть сделаны различные изменения и варианты по отношению к раскрытому изобретению. Изобретение охвачено пунктами формулы изобретения, приведенного на следующих страницах.
Формула изобретения
1. Состав тонкого волокна с диаметром от 0,001 до 2 мкм, включающий полимер присоединения и приблизительно от 2 до 25 вес.% добавки, причем добавкой является смолистый материал, имеющий молекулярный вес приблизительно от 500 до 3000 и ароматическую природу, в котором указанная добавка смешивается в полимере.
2. Состав по п.1, отличающийся тем, что добавка представляет собой олигомер, содержащий третичный бутилфенол.
3. Состав тонкого волокна с диаметром от 0,001 до 2 мкм, включающий полимер конденсации и смолистую добавку, представляющую собой олигомер, имеющий молекулярный вес приблизительно от 500 до 3000 и ароматическую природу, в котором добавка смешивается в полимере конденсации.
4. Состав по п.3, отличающийся тем, что полимер конденсации представляет собой нейлоновый сополимер, который объединен со вторым нейлоновым полимером, отличающийся от нейлонового сополимера по составу мономера или по молекулярному весу.
5. Состав по п.4, отличающийся тем, что полимеры обрабатываются с возможностью сформировать единственный полимерный состав, как он измерен дифференциальным сканирующим калориметром, показывающим однофазный материал.
6. Состав по п.1, отличающийся тем, что диаметр волокна составляет от 0,1 до 0,5 мкм.
7. Состав по п.3, отличающийся тем, что волокно представляет собой продукт реакции реагента альдегида и смеси нейлона 4,6 и нейлона 6,6.
8. Состав по п.1, отличающийся тем, что добавка формируется как гидрофобное покрытие на поверхности тонкого волокна.
9. Состав тонкого волокна, имеющего диаметр от 0,001 до 2 мкм, включающий полимер конденсации и олигомерный аддитивный состав, имеющий молекулярный вес приблизительно от 500 до 3000.
10. Состав по п.9, отличающийся тем, что тонкое волокно имеет гидрофобный состав и гидрофобное и олеофобное покрытие сформированное на волокне.
11. Состав по п.8, отличающийся тем, что волокно, имеет диаметр приблизительно от 0,1 до 0,5 мкм.
12. Состав по п.11, отличающийся тем, что тонкое волокно представляет собой продукт реакции реагента альдегида и смеси нейлона 6 и нейлона 6,6 в присутствии спирта С1-24 и воды.
13. Состав тонкого волокна, с диаметром от 0,001 до 2 мкм, содержащий полимерный продукт реакции нейлона 6 и нейлонового сополимера, включающего циклический лактам, мономер диамина С6-10 и двухкислотный мономер С6-10, и смолистую добавку, представляющую собой олигомер, имеющий молекулярный вес приблизительно от 500 до 3000 и ароматическую природу, в котором добавка смешивается в полимере конденсации.
14. Состав по п.8, отличающийся тем, что для формирования фильтрующей среды тонкое волокно имеет размер приблизительно от 0,01 до 0,5 мкм и после выдержки на воздухе при 60°С и относительной влажности 100% в течение от 1 до 16 ч, по меньшей мере, 50% волокна остается в основном неизменным.
15. Состав по п.8, отличающийся тем, что тонкое волокно формирует слой, который может быть подвергнут действию спиртового растворителя при температуре 21°С, в результате чего после 5 мин остается, по меньшей мере, 50% волокна.
16. Состав по п.14 отличающийся тем, что фильтрующая среда также включает тканую или нетканую подложку.
17. Состав по п.16, отличающийся тем, что подложка представляет собой электростатически спряденную полимерную нетканую ткань.
18. Состав по п.8, отличающийся тем, что тонкое волокно представляет собой микроволокно, имеющее диаметр приблизительно от 0,1 до 0,5 мкм.
19. Состав по п.14, отличающийся тем, что фильтрующая среда включает подложку и слой тонкого волокна.
20. Способ изготовления состава тонкого волокна, включающего волокна, имеющие диаметр приблизительно от 0,01 до 0,5 мкм, и поверхностное покрытие, имеющее толщину менее чем приблизительно 100 А, причем способ включает формирование раствора, содержащего низший спирт, воду или их смесь и приблизительно от 3 до приблизительно 30% полимера конденсации, отличающегося от сополимера, сформированного из циклического лактама и мономера диамина С6-10 или двухкислотного мономера С6-10, и приблизительно от 2 до 25 вес.% добавки на основе полимера, причем указанной добавкой является смолистый материал, имеющий молекулярный вес приблизительно от 500 до приблизительно 3000 и ароматическую природу, в котором добавка смешивается в полимере, при этом раствор полимера подвергается действию электрического поля с потенциалом более чем 10·103 В, в результате чего в растворе формируются ускоренные пряди раствора, которые при испарении растворителя образуют тонкое волокно, собирая тонкое волокно на подложке и подвергая тонкое волокно и подложку термической обработке, при этом термическая обработка повышает температуру тонкого волокна до температуры, не превышающей точки плавления полимера.
21. Способ изготовления состава тонкого волокна, включающего волокна, имеющие диаметр приблизительно от 0,01 до 0,5 мкм, и поверхностное покрытие, имеющее толщину менее чем приблизительно 100 А, причем способ включает формирование раствора, содержащего низший спирт, воду или их смеси и приблизительно от 3 до приблизительно 30 вес.% полимера присоединения и приблизительно от 2 до 25 вес.% добавки, на основе полимера, указанной добавкой является смолистый материал, имеющий молекулярный вес приблизительно от 500 до приблизительно 3000 и ароматическую природу, в котором добавка смешивается в полимере, при этом раствор полимера подвергается действию электрического поля с потенциалом более чем 10·103 В, в результате чего в растворе формируются ускоренные пряди раствора, которые при испарении растворителя образуют тонкое волокно, собирая тонкое волокно на подложке и подвергая тонкое волокно и подложку термической обработке, при этом термическая обработка повышает температуру тонкого волокна до температуры, не превышающей точки плавления полимера.
22. Способ изготовления состава тонкого волокна, выполненного из волокна, имеющего диаметр приблизительно от 0,01 до 0,5 мкм, и поверхностное покрытие, имеющее толщину менее чем приблизительно 100 А, причем способ включает формирование раствора, содержащего низший спирт, воду или их смеси и приблизительно от 3 до приблизительно 30 вес.% полимерного состава, содержащего смесь нейлонового гомополимера и нейлонового сополимера, включающего структурные единицы производные от циклического лактама, мономера диамина С6-10 и двухкислотного мономера С6-10 и приблизительно от 2 до 25 вес.% добавки, на основе полимера, причем указанной добавкой является смолистый материал, имеющий молекулярный вес приблизительно от 500 до приблизительно 3000 и ароматическую природу, в котором добавка смешивается в полимере, при этом раствор полимера подвергается действию электрического поля с потенциалом более чем 10·103 В, в результате чего в растворе формируются ускоренные пряди раствора, которые при испарении растворителя образуют тонкое волокно, собирая тонкое волокно на подложке и подвергая тонкое волокно и подложку термической обработке, при этом термическая обработка повышает температуру тонкого волокна до температуры, не превышающей точки плавления полимера.
23. Способ изготовления тонко волоконного материала, выполненного из волокна, имеющего диаметр приблизительно от 0,01 до 2 мкм, и сформированного из линейного полимера, добавки и катализатора включающий формирование раствора, содержащего низший спирт, воду или их смеси и приблизительно от 3 до 30 вес.% полимерного состава, при этом полимерный раствор подвергается воздействию электрического поля потенциалом более порогового потенциала в вольтах, при котором в растворе формируются ускоренные пряди раствора, которые высушивают до тонкого волокна, собирая тонкое волокно на подложке и подвергая тонкое волокно термической обработке, при этом термическая обработка повышает температуру тонкого волокна до температуре, не превышающей точки плавления полимера, формирующего волокно.
24. Состав тонкого волокна, представляющий собой полимер присоединения и добавку или сшивающий агент, при этом добавкой является смолистый материал, имеющий молекулярную массу приблизительно от 500 до 3000 и ароматическую природу, при этом добавка смешивается с полимером, волокно, имеющее диаметр от 0,01 до 5 мкм, при этом волокна после выдержки на воздухе при температуре 140° по Фаренгейту и относительной влажности 100% в течение 1-16 ч, остаются в основном неизменными, по меньшей мере, на 50%.
25. Состав тонкого волокна по п.24, отличающийся тем, что тонкое волокно представляет собой продукт реакции смолы полимера присоединения и сшивающего агента, при этом волокно имеет размер приблизительно от 0,01 до 0,5 мкм, в котором после выдержки на воздухе при температуре 60°С и относительной влажности 100% в течение от 1 до 16 ч, по меньшей мере, 50% тонкого волокна остается в основном неизменным.
26. Состав тонкого волокна по п.24, отличающийся тем, что тонкое волокно представляет собой смесь двух смол полимеров присоединения и имеет диаметр от 0,01 до 0,2 мкм.
27. Состав тонкого волокна по п.24, отличающийся тем, что тонкое волокно представляет собой сшитый поливиниловый спирт, при этом волокно имеет диаметр приблизительно от 0,01 до 2 мкм.
28. Состав тонкого волокна, содержащий полимер конденсации и добавку или сшивающий агент, при этом добавкой является смолистый материал, имеющий молекулярную массу приблизительно от 500 до 3000 и ароматическую природу, при этом добавка смешивается с полимером, волокно, имеющее диаметр от 0,01 до 5 мкм, при этом волокна после выдержки на воздухе при температуре 60°С и относительной влажности 100% в течение 1-16 ч, остаются в основном неизменными, по меньшей мере, на 50%.
29. Состав тонкого волокна по п.28, отличающийся тем, что тонкое волокно представляет собой продукт реакции смолы полимера конденсации и сшивающего агента, при этом волокно имеет размер приблизительно от 0,01 до 0,5 мкм, в котором после выдержки на воздухе при температуре 60°С и относительной влажности 100% в течение от 1 до 16 ч, по меньшей мере, 50% тонкого волокна остается в основном неизменным.
30. Состав тонкого волокна по п.28, в котором тонкое волокно представляет собой смесь двух смол полимеров конденсации и имеет диаметр от 0,01 до 0,2 мкм.
31. Состав тонкого волокна по п.28, в котором тонкое волокно представляет собой сшитый поливиниловый спирт, при этом волокно имеет диаметр приблизительно от 0,01 до 2 мкм.
РИСУНКИ
|
|