|
|
(21), (22) Заявка: 2005102082/15, 26.06.2003
(24) Дата начала отсчета срока действия патента:
26.06.2003
(30) Конвенционный приоритет:
28.06.2002 BE 2002/0416
(43) Дата публикации заявки: 27.08.2005
(46) Опубликовано: 10.06.2007
(56) Список документов, цитированных в отчете о поиске:
US 3988420 A, 26.10.1976. RU 842083 A1, 30.06.1981. SU 481586 A, 10.10.1975. SU 1470663 A1, 07.04.1989. SU 561479 A, 25.01.1979.
(85) Дата перевода заявки PCT на национальную фазу:
28.01.2005
(86) Заявка PCT:
BE 03/000111 (26.06.2003)
(87) Публикация PCT:
WO 2004/002888 (08.01.2004)
Адрес для переписки:
103735, Москва, ул. Ильинка, 5/2, ООО “Союзпатент”, Н.Н.Высоцкой
|
(72) Автор(ы):
ТАКИМ Мохамед (BE)
(73) Патентообладатель(и):
ЭКОФОС (BE)
|
(54) СПОСОБ ПОЛУЧЕНИЯ ФОСФОРНОЙ КИСЛОТЫ
(57) Реферат:
Изобретение относится к получению чистой фосфорной кислоты и моногидрофосфата кальция. Способ получения фосфорной кислоты включает в себя разложение фосфатной руды первым водным солянокислым раствором с концентрацией не более 10 мас.%, разделение жидкого продукта разложения на нерастворимую твердую фазу, содержащую примеси, и на отдельную водную фазу, содержащую в виде раствора ионы фосфата, хлорида и кальция, нейтрализацию выделенной из жидкого продукта разложения водной фазы добавкой соединения кальция для получения с помощью ионов фосфата нерастворимого, выпавшего в осадок фосфата кальция, разделение нейтрализованной водной фазы на водную фазу, содержащую в виде раствора ионы кальция и хлорида, и на осажденную твердую фазу на основе водонерастворимого фосфата кальция и растворение, по меньшей мере, части выделенной, осажденной твердой фазы во втором водном солянокислом растворе, который содержит соляную кислоту в количестве, превышающем ее содержание в первом водном солянокислом растворе, с образованием водного раствора, содержащего ионы фосфата, хлорида и кальция, экстрагируемые органическим экстрагентом при экстракции в системе “жидкость-жидкость”. Способ позволяет исключить тонкое измельчение или обжиг руды и обеспечивает эффективную экстракцию для получения чистого концентрированного фосфорнокислого раствора без загрязнения окружающей среды. 3 н. и 21 з.п. ф-лы, 1 табл., 2 ил.
Область техники, к которой относится изобретение
Настоящее изобретение относится к способу получения фосфорной кислоты, в частности, чистой фосфорной кислоты, который состоит из следующих стадий:
– по меньшей мере одноразовое разложение фосфатной руды первым водным солянокислым раствором с образованием жидкого продукта разложения,
– первое разделение жидкого продукта разложения на нерастворимую твердую фазу с примесями и отдельную водную фазу, содержащую в виде раствора ионы фосфата, хлорида и кальция,
– экстракцию водного раствора, содержащего ионы фосфата, хлорида и кальция, органическим экстрагентом для получения экстракционной водной фазы с содержанием
– ионов хлора и кальция и экстракционной органической фазы с содержанием фосфорной кислоты,
– повторную экстракцию экстракционной органической фазы водным повторным экстрагентом для отделения водной фазы, получаемой при повторной экстракции и содержащей ионы фосфата, и необязательно
– концентрированно водной фазы, полученной при повторной экстракции, для образования чистого водного фосфорнокислого раствора.
Предшествующий уровень техники
Давно известны способы указанного типа, в которых применяется солянокислотное разложение руды и экстракция в системе “жидкость-жидкость” жидкой фазы, полученной при отделении нерастворимых веществ из жидкого продукта разложения (см., например, патенты США №3304157, Англии №1051521 и Испании №2013211, а также статью I.M.I. Staff Repot, Development and implementation of solvent extraction processes in the chemical process industries, в Proc. Int. Solv. Extr. Conference, ISEC’71, г.Гаага, 19-23 апреля, 1971 г., выпуск №94).
Эти способы имеют недостаток, заключающийся в том, что для разложения применяется, как правило, соляная кислота с концентрацией до 20 и даже 30 мас.%. Применяемая руда должна обладать высоким качеством, т.е. иметь повышенное содержание Р2О5, при этом требуется, как правило, ее тонкое измельчение, что повышает затраты. Во время разложения происходит интенсивный нагрев, вызываемый не только экзотермичностью реакции, но также и выделяемой при растворении энергией, следовательно, из-за этого затруднено отделение нерастворимых веществ, так как полученный жидкий продукт разложения является вязким и содержит органические вещества, перешедшие из руды. В связи с высокой температурой и концентрацией солянокислого раствора возникают существенные проблемы в отношении коррозии.
Другим крупным недостатком этих способов является экстракция относительно обедненной содержанием P2O5 водной фазы с использованием органического растворителя. Содержание Р2O5 в ней составляет не более 5-6 мас.%. Следовательно, экстракция затруднена, имеет низкую эффективность, а на стадии концентрирования водного фосфорнокислого раствора, полученного после повторной экстракции, расходуется большое количество энергии.
Наконец, из водной фазы, полученной экстракцией и содержащей в виде раствора CaCl2 и соляную кислоту, необходимо извлекать следы занесенного органического растворителя. Однако такая водная фаза имеет очень большой объем и на этом этапе также требуется большое количество энергии, в частности, в том случае, когда применяется отгонка с водяным паром.
Известен также способ солянокислотного разложения, в котором руда подвергается начальному ограниченному разложению разбавленной соляной кислотой. Обогащенная таким образом содержанием P2O5 фракция проходит затем повторное разложение более концентрированной соляной кислотой, после этого проводится экстракция в системе “жидкость-жидкость” для получения фосфорной кислоты (см. US-A-3.988.420).
Известны также и другие способы получения фосфорной кислоты, например, термический способ, основанный на сжигании фосфора, или мокрые способы, также основанные на разложении фосфатных руд кислотой, как правило, серной, причем эти способы позволяют производить гипс в значительных количествах в качестве побочного продукта.
Целью настоящего изобретения является создание усовершенствованного способа производства фосфорной кислоты и/или ее соли мокрым, солянокислотным разложением. Данный способ должен исключить приведенные выше недостатки, в частности, тонкое измельчение или обжиг добытой руды, без предъявления особого требования к ее качеству, при этом он должен обеспечить эффективную экстракцию в системе “жидкость-жидкость” для получения чистого концентрированного фосфорнокислого раствора без загрязнения окружающей среды.
Раскрытие существа изобретения
Данные проблемы решаются согласно изобретению с помощью описанного выше способа, включающего следующие стадии:
– нейтрализацию водной фазы, выделенной из жидкого продукта разложения, добавкой соединения кальция для получения с помощью ионов фосфата водонерастворимого, осаждаемого фосфата кальция,
– второе разделение нейтрализованной водной фазы на водную фазу с содержанием в виде раствора ионов кальция и хлорида и на осажденную твердую фазу на основе водонерастворимого фосфата кальция,
– растворение, по меньшей мере, части выделенной осажденной твердой фазы во втором водном солянокислом растворе с образованием водного раствора, содержащего ионы фосфата, хлорида и кальция, экстрагируемые органическим экстрагентом.
Этот способ имеет преимущество, заключающееся в разложении руды с умеренным содержанием P2O5 первой фракцией соляной кислоты, которая может быть разбавленной, в отделении твердой, обогащенной содержанием Р2О5 фазы, свободной от неразложенных, водонерастворимых веществ, и в растворении указанной твердой, обогащенной содержанием Р2O5 фазы второй более концентрированной фракцией соляной кислоты. Поскольку солянокислотное разложение протекает в разбавленной и, следовательно, невязкой среде, то отделение нерастворимых веществ происходит просто и быстро, тепловыделение отсутствует во время разложения, которое эффективно протекает при температуре окружающей среды, при этом в значительной степени решаются проблемы в отношении коррозии, вызываемой соляной кислотой.
Кроме того, экстракция в системе “жидкость-жидкость” проводится в растворенной, жидкой, богатой содержанием Р2O5 фазе и, следовательно, эффективность может быть существенно повышена. Например, количество стадий экстракции может быть значительно сокращено, при этом для возможного конечного концентрирования требуется меньший расход энергии по сравнению с известным уровнем техники.
В способе согласно изобретению качество руды не имеет большого значения. Содержание Р2О5 в ней может составлять, например, 15-38 мас.%, что не приводит к трудностям, и, следовательно, могут применяться руды оптимальной стоимости. Например, можно применять руду с содержанием 20-38 мас.% Р2O5, 34-40 мас.% Са и 5-10 мас.% примесей при соотношении между Са и Р=1,5-2,4.
В результате последующей нейтрализации получают осадок, который является “обогащенным” Р2O5 и очищенным по сравнению с рудой, так как содержание Р2O5 в нем может достигать от 40 до 50 мас.%.
Руду не требуется тонко измельчать, и она может содержать частицы размером порядка 150-500 мкм.
Применяемая при разложении соляная кислота является преимущественно разбавленной. Оптимально, чтобы ее максимальное содержание в воде составляло 10 мас.%, преимущественно 3-6 мас.%, предпочтительно 5 мас.% или менее. Поэтому такое разложение, являющееся слабо агрессивным и протекающее в невязкой среде, обладает высокой селективностью, т.е. происходит преимущественное и полное растворение Р2O5 и незначительное растворение примесей. Отделение нерастворимых и неразложенных веществ происходит просто и полностью, что позволяет затем получать нерастворимую соль сульфата, “обогащенную” содержанием P2O5 и существенно очищенную от примесей. Молярное соотношение между HCl и Са в жидком продукте разложения составляет предпочтительно от 0,6 до 1,3, оптимально от 0,7 до 1,2.
Таким образом, способ согласно изобретению позволяет использовать руду с бедным содержанием Р2O5, например, руду с примесями Fe и Mg, обеспечивая пользователю большую гибкость при выборе руды на рынке. Он также позволяет применять разбавленную соляную кислоту с более низкой стоимостью и исключить трудности, связанные с вязкостью и интенсивным нагревом во время разложения.
Отделение жидкого продукта разложения может производиться любым подходящим способом, например, фильтрацией, отстаиванием или аналогичным способом.
Получаемый при этом водный раствор содержит в виде раствора хлорид кальция CaCl2, фосфорную кислоту и водорастворимый дигидрофосфат кальция (МСР), раствор подвергается нейтрализации.
На стадии нейтрализации в указанный водный раствор вводят соединение кальция, например, гидроксид кальция, оксид кальция или водорастворимую соль кальция, такую, как карбонат кальция.
При повышении показателя рН образуется водонерастворимый моногидрофосфат кальция (DCP), выпадающий в осадок.
Этот осадок можно отделить, например, фильтрацией. Полученный кек может содержать, например, 40-50% Р2O5, 25-28% Са и возможные незначительные следы примесей.
Для растворения моногидрофосфата кальция (DCP) снова применяют соляную кислоту, но уже с более высокой концентрацией, например, 15-20 мас.%. Получают прозрачный раствор, так как нерастворимые вещества уже удалены, коэффициент экстракции будет оптимальным, поскольку содержание Р2O5 в солюбилизированном растворе относительно высокое, порядка 8-15 мас.%, преимущественно 10-13 мас.%.
На стадии экстракции можно применять любой пригодный органический экстрагент, например, экстрагенты, рекомендованные в патентах US-A-3304157, GB-1051521, GB-1142719, FR-1427531 и FR-1396077, в частности, n-бутанол.
В предпочтительном варианте выполнения изобретения способ дополнительно включает в себя – по окончании экстракции – промывку экстракционной органической фазы фракцией водной фазы, полученной при повторной экстракции, для удаления из экстракционной органической фазы соляной кислоты и хлорида кальция, а также возможных остаточных примесей. После повторной экстракции получают водный раствор с содержанием 15-25 мас.% Р2O5, что свидетельствует об очень высокой эффективности. Кроме того, остаточное содержание HCl может достигать в отдельных случаях 1-5 мас.%, что позволяет уменьшить рециркуляцию HCl и вызываемые ею проблемы коррозии.
Согласно варианту развития изобретения способ дополнительно предусматривает отгонку с водяным паром следов органического экстрагента из водной экстракционной фазы, содержащей ионы хлорида и кальция.
Как известно, следы органического экстрагента извлекаются из водной фазы, полученной экстракцией в системе “жидкость-жидкость”. Однако в способе согласно изобретению часть CaCl2, удаляемого в виде побочного продукта, уже была выделена при разделении, проводившемся после осаждения моногидрофосфата кальция (DCP). Здесь эту часть можно было удалить в том виде, в каком она присутствовала, без специальной стадии очистки. Водный раствор CaCl2, полученный экстракцией жидкой, обогащенной содержанием Р2O5 фазы согласно изобретению, присутствует в существенно меньшем объеме по сравнению с объемом, известным из уровня техники, при этом требуются значительно меньшие количества пара для отгонки органического экстрагента.
Согласно варианту развития изобретения способ дополнительно предусматривает обработку водной фазы, полученной при втором разделении и содержащей в виде раствора ионы кальция и хлорида, водным сернокислым раствором с образованием нерастворимого сульфата кальция, выпадающего в осадок, и водной фазы на основе соляной кислоты, отделение осадка сульфата кальция и, по меньшей мере, частичное рециклирование водной фазы на основе соляной кислоты для получения первого и/или второго водного солянокислого раствора. Также можно планировать применение способа согласно изобретению на промышленных участках, на которых отсутствует соляная кислота. Рециклированная соляная кислота обладает высокой степенью чистоты и не требует частого обновления.
Таким образом, можно считать, что способ согласно изобретению может применяться в двух последовательных модулях, из которых первый предназначен для получения твердой фазы на основе моногидрофосфата кальция (DCP), а второй – для производства фосфорной кислоты из этой твердой фазы на основе моногидрофосфата кальция. Ввиду отсутствия потока материала, связывающего эти оба модуля, полностью отсутствует необходимость в непосредственном следовании стадий, осуществляемых во втором модуле, за стадиями, проводимыми в первом модуле. Таким образом, можно предусмотреть, например, сушку твердой фазы на основе моногидрофосфата кальция (DCP), полученной после осаждения и отделения моногидрофосфата кальция, хранение этой твердой сухой фазы и даже транспортировку ее на участок, отличающийся от участка проведения стадий первого модуля.
Следовательно, настоящее изобретение может включать в себя и способ, в котором, по меньшей мере, часть полученного осаждением моногидрофосфата кальция (DCP) используется в иных целях, нежели в качестве базового материала для второго модуля. Например, соль фосфорной кислоты может применяться как удобрение или как корм для скота.
Настоящее изобретение включает в себя стадии, проведение которых предусмотрено для каждого модуля в отдельности.
Следовательно, изобретение касается также способа получения соли фосфорной кислоты.
Известен способ получения моногидрофосфата кальция (DCP), включающий в себя:
– по меньшей мере, одноразовое разложение фосфатной руды водным солянокислым раствором с образованием жидкого продукта разложения,
– первое разделение жидкого продукта разложения на нерастворимую твердую фазу и водную фазу,
– нейтрализацию выделенной водной фазы добавкой соединения кальция для образования с помощью содержащихся в ней ионов фосфата водонерастворимого фосфата кальция, выпадающего в осадок,
– второе разделение нейтрализованной водной фазы на жидкую фазу и осажденную твердую фазу на основе водонерастворимого фосфата кальция (см. уже упоминавшийся патент US-A-3.988.420).
Данный способ действительно является способом, в котором выделенная из жидкого продукта разложения водная фаза максимально обеднена ионами фосфата, которые могут извлекаться в виде моногидрофосфата кальция (DCP) одновременно с производством фосфорной кислоты.
Известен также способ получения моногидрофосфата кальция разложением руды концентрированным (35%-ным) солянокислым раствором с присущими ему всеми указанными выше недостатками (см. SU-A-1470663).
В отличие от описанного выше способа, известного из US-A-3.988.420, настоящим изобретением предусматривается, чтобы при разложении фосфатной руды происходило растворение содержащегося в ней фосфата, при этом жидкий продукт разложения содержит фосфат в виде его ионов, и чтобы выделенная из жидкого продукта разложения твердая фаза содержала примеси, а выделенная из продукта разложения водная фаза содержала ионы фосфата, хлорида и кальция, причем на этих стадиях водная фаза подвергается нейтрализации и второму разделению.
Изобретение относится также к способу получения фосфорной кислоты, включающему в себя:
– растворение твердой фазы на основе водонерастворимого фосфата кальция в водном солянокислом растворе с образованием солюбилизированного водного раствора, содержащего ионы фосфата, хлорида и кальция,
– экстракцию солюбилизированного водного раствора органическим экстрагентом для получения экстракционной водной фазы с содержанием ионов хлорида и кальция и получения экстракционной органической фазы с содержанием фосфорной кислоты,
– повторную экстракцию экстракционной органической фазы водным повторным экстрагентом для выделения водной фазы, получаемой при повторной экстракции и содержащей ионы фосфата, и при необходимости
– концентрированно полученной при повторной экстракции водной фазы для образования чистого водного фосфорнокислого раствора.
Следовательно, изобретение включает в себя также получение фосфорной кислоты из твердого моногидрофосфата кальция (DCP), предлагаемого на рынке и производимого в отдельных случаях любым способом.
Другие варианты выполнения способов согласно изобретению указаны в приводимых ниже пунктах формулы изобретения.
Подробные сведения и отличительные признаки изобретения содержатся в приведенном ниже, неограниченном описании вариантов выполнения способа согласно изобретению со ссылками на приложенные чертежи.
Краткое описание чертежей
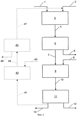
На фиг.1 представлен в виде технологической схемы модуль для очистки и обогащения руды, применяемый в варианте выполнения способа согласно изобретению,
на фиг.2 представлен в виде технологической схемы модуль для производства фосфорной кислоты, применяемый в варианте выполнения способа согласно изобретению.
Как показано на фиг.1, добытая фосфатная руда подается по трубопроводу 1 в емкость 2 для разложения, в которой она подвергается воздействию солянокислого раствора с концентрацией порядка 5 мас.%, поступающего в эту емкость по трубопроводу 3. Под фосфатной рудой понимается руда, которая не подвергалась ни обжигу, ни тонкому измельчению и которая была добыта, в частности, на рудниках, на которых она имеет порошковую форму. Если была добыта руда вулканического происхождения, то может быть предусмотрено ее одноразовое измельчение до размера частиц порядка 150-500 мкм.
В емкости 2 для разложения происходит быстрое и интенсивное растворение фосфата кальция с получением Н3PO4 и растворимого дигидрофосфата кальция (МСР). Полученная мутная жидкость подается по трубопроводу 4 в сепарирующее устройство 5, например, фильтр-пресс, в котором твердые нерастворенные вещества отводятся по 6 после добавки соответствующего эффективного ускорителя фильтрации и удаляются.
Образовавшаяся при разделении жидкая фаза содержит в растворенном виде фосфорную кислоту, монокальциевый фосфат (МСР), хлорид кальция и некоторые остаточные примеси. Эффективность разложения составляет более 80 мас.%, предпочтительно 90 мас.% и особо предпочтительно 95 мас.%, при температуре окружающей среды.
Затем жидкая фаза, выделенная из жидкого продукта разложения, подается по трубопроводу 7 в емкость 8 для нейтрализации, в которой осаждают двукальциевый фосфат (DCP) введением в жидкую фазу производных кальция по 9 для повышения показателя рН, таких, как карбонат кальция или известковое молоко.
Для отделения осадка можно, например, направить нейтрализованную жидкую фазу по 10 и подать ее на ленточный фильтр 11, на котором происходит отделение твердого вещества, т.е. мокрого кека 12 из двукальциевого фосфата, содержащего приблизительно 40-50 мас.% Р2O5 в пересчете на сухое, 25-28% Са и возможные следы примесей. Фильтрат удаляют по 13. Он представляет собой водный раствор CaCl2, который легко удаляется, так как слабо загрязнен, и даже может быть легко повторно использован. Хлорид кальция может использоваться, например, на дорогах в качестве антиобледенителя.
Очень чистый водный раствор CaCl2 можно также направить по трубопроводу 41 в реактор 42, питаемый по трубопроводу 43 водным сернокислым раствором. В этом реакторе, перемешиваемом при температуре около 60°С в течение 1 часа, образуется нерастворимый сульфат кальция, который осаждается в очень чистом виде. Жидкость, образовавшаяся при сернокислотном разложении, подается по трубопроводу 44 на разделение, производимое, например, фильтрацией в 45. Образовавшаяся твердая фаза сульфата кальция отводится по 46, а жидкая фаза, образовавшаяся из очень чистого солянокислого раствора, поступает по трубопроводу 47 в трубопровод питания разбавленной соляной кислотой 3.
Учитывая, что серная кислота более распространена и присутствует в больших количествах по сравнению с соляной кислотой, то рециклирование позволяет еще больше повысить эффективность солянокислого разложения и проводить его даже в местах, где соляная кислота является дифицитной.
С помощью изображенного на фиг.2 модуля можно производить чистую фосфорную кислоту экстракцией в системе “жидкость-жидкость”. С этой целью соль двукальциевого фосфата DCP, полученную, например, в виде кека на 12 участке ленточного фильтра 11, подают по трубопроводу 14 в емкость 15 на растворение, в которой ее растворяют под действием поступающей по 16 соляной кислотой. Однако в этом случае данная стадия проводится с применением более концентрированной соляной кислоты, например, при концентрации 15-20 мас.%. Такое растворение позволяет приготовить водный раствор с содержанием фосфорной кислоты в смеси с CaCl2, растворимой солью хлорида кальция. Этот раствор содержит Р2O5 в количестве около 10-12 мас.%, что позволяет улучшить показатели переноса на участке проведения последующих операций экстракции в системе “жидкость-жидкость” и получить во время повторной экстракции концентрированные фосфорнокислые растворы.
Удаление нерастворимых веществ проводится во время разложения в емкости 2, что позволяет избежать при экстракции в системе “жидкость-жидкость” проблем, связанных с образованием эмульсий при обработке водной фазы органическим растворителем. Применение очищенного и обогащенного содержанием Р2O5 моногидрофосфата кальция (DCP) для приготовления исходной водной фазы для экстракции обеспечивает повышенную гибкость при выборе руды и снижает количество стадий экстракции.
Солюбилизированная водная фаза подается затем по трубопроводу 38 в экстракционную колонну 17, в которую поступает противоточно по трубопроводу 18 органический растворитель, например, n-бутанол, в качестве экстрагента. Органический растворитель выборочно извлекает Р2O5 из водной фазы и поступает вместе с ним по трубопроводу 39 в промывную колонну 19, затем по трубопроводу 20 в колонну 21 повторной экстракции.
В колонне 21 повторной экстракции органическая фаза приводится в контакт с водой, подаваемой противоточно по трубопроводу 22. Вода извлекает Р2O5 из органической фазы. Полученная водная фаза отводится из колонны 21 по трубопроводу 23 и направляется частично в концентратор 24 по трубопроводу 25 и частично в промывную колонну 19 по трубопроводу 26. Здесь водная фаза с содержанием Р2O5 используется для противоточной промывки органической фазы с целью удаления хлорида и остаточных примесей, не удаленных в изображенном на фиг.1 модуле, затем водная фаза снова подается по трубопроводу 27 в емкость 15 на растворение.
Органическая фаза, полученная повторной экстракцией, подается по трубопроводу 28 в экстракционную колонну 17.
Концентратор 24 может представлять собой обычный трехкорпусный выпарной аппарат, в котором последовательно выпариваются следы растворителя, поступившие в экстракционную колону 17 по трубопроводу 29, соляная кислота, содержащаяся в растворе и поступающая по трубопроводу 30 в питающий трубопровод 16 для растворения двукальциевого фосфата, и большое количество воды, подаваемой трубопроводу по 31. Фосфорная кислота отводится по трубопроводу 33 в виде концентрированного очищенного раствора.
Полученная в экстракционной колонне 17 водная фаза подается по трубопроводу 34 в колонну 35 отгонки с водяным паром. Водяной пар поступает в колонну по 36 и захватывает содержащийся в водной фазе органический растворитель. Захваченный водяным паром органический растворитель отводится в экстракционную колонну 17 по трубопроводу 37. Водный раствор CaCl2, который может быть дополнительно обработан для удаления из него некоторых примесей тяжелых металлов, также может отводиться по трубопроводу 40.
Как можно сделать вывод, только часть CaCl2, образовавшегося после введения HCl в процесс, необходимо обрабатывать отгонкой с водным паром, что резко сокращает расходы на энергию по сравнению со способами, использующими экстракцию в системе “жидкость-жидкость” непосредственно для жидкой фазы, выделенной из жидкости, образовавшейся при солянокислотном разложении. Ниже изобретение описывается подробнее с помощью примеров своего осуществления, имеющих неограниченный характер.
Пример 1
Фосфатная руда марокканского происхождения подается в реактор с перемешиванием в количестве 15 кг/ч, в котором на нее воздействуют солянокислым раствором с концентрацией 5 мас.%. Количество подаваемого солянокислого раствора составляет 141 л/ч, в результате чего соотношение HCl/Са достигает 0,7.
Время нахождения в реакторе составляет 30 минут. После прохождения через промежуточный бак (с продолжительностью нахождения в нем около 1 ч) невязкий жидкий продукт разложения поступает в фильтр-пресс. При этом применяется температура окружающей среды. В фильтр-прессе нерастворимые вещества отделяются.
Выходящий из фильтр-пресса раствор подается в количестве 188 л/ч в два последовательно расположенных реактора для нейтрализации. Карбонат кальция поступает в них в количестве 5,8 кг/ч, что соответствует молярному соотношению между Са и Р=1. Время нахождения в обоих реакторах составляет 100 минут.
По окончании реакции и образования моногидрофосфата кальция (DCP) в пульпу на участке второго реактора нейтрализации добавляют небольшое количество известкового молока для извлечения фосфата. Концентрация известкового молока составляет 245 г Са(ОН)2/кг, а его количество, подаваемое во второй реактор, – 3 л/ч.
Затем нейтрализованную пульпу подают на ленточный фильтр. Полученный кек состоит в основном из моногидрофосфата кальция (DCP).
Добавку Са(ОН)2 рассчитывают с учетом получения пульпы с молярным соотношением Са/Р=0,2. Показатель рН фильтрованных маточных растворов составляет около 5, остаточное количество фосфата в них – менее 1 г/кг.
Пример 2
Применяются одинаковые условия, что и в примере 1, но в реакторы нейтрализации вводится только карбонат кальция в количестве 7,1 кг/ч, в результате чего молярное соотношение между Са и Р составляет 1,2.
В приводимой таблице показан состав разных продуктов, полученных во время процесса, описанного в примере 1.
| Таблица |
| |
Влажность, % |
Р2O5, % м/м |
Са, мг/кг |
Cl, мг/кг |
Na, мг/кг |
К, мг/кг |
Mg, мг/кг |
F, мг/кг |
SO4, мг/кг |
Si, мг/кг |
Fe, мг/кг |
As, мг/кг |
| Фильтрат дигидрофосфата кальция (МСР) |
|
2,76 |
28365 |
47735 |
124 |
|
50 |
50 |
50 |
|
22,0 |
0,68 |
| Кек, содержащий: нерастворимые вещества, все вещества, растворимое вещество |
33,92 |
13,52 |
325430 |
16835 |
2896 |
585 |
545 |
207384 |
12236 |
9200 |
3700 |
12 |
| 3,31 |
36327 |
37516 |
| Кек из моногидрофосфата кальция (DCP) |
Сухой |
36,27 |
289008 |
8036 |
|
|
23,5 |
|
|
|
584 |
2,01 |
| |
Влажность % |
Al мг/кг |
Cd, мг/кг |
Cu, мг/кг |
Pb, мг/кг |
Zn, мг/кг |
Ni, мг/кг |
Cr, мг/кг |
Ti, мг/кг |
V, мг/кг |
U, мг/кг |
|
| Фильтрат дигидрофосфата кальция (МСР) |
|
4 |
1,8 |
0,42 |
0,31 |
9,5 |
3,9 |
6,2 |
33,0 |
3.1 |
|
|
| Кек из моногидрофосфата кальция (DCP) |
Сухой |
139 |
0,65 |
1,3 |
3,7 |
36 |
3,5 |
73 |
7,6 |
56 |
|
|
Пример 3а
В реакторе с перемешиванием емкостью 2 л непрерывно смешивали раствор с содержанием 15% CaCl2, аналогичный фильтрованным маточным растворам в примере 1, подаваемый в количестве 4 кг/ч, с концентрированной (96%-ной) серной кислотой. Количество подаваемой серной кислоты составляло 0,54 кг/ч.
Продолжительность нахождения в реакторе: 30 минут.
Пульпа, образовавшаяся после появления кристаллов гипса, была подана на фильтр Бухнера. Температура реакции составила 40°С. Раствор выводился из фильтра в количестве 3,36 кг/ч и содержал в основном (10%-ную) соляную кислоту. Его подали на участок реактора для разложения руды в новом цикле. Гипсовый кек (в количестве 1,18 кг/ч при 30% влажности) промыли и затем удалили. Промывные растворы рециклировали вместе с фильтратом. Полученный кек содержал в основном двухводный сульфат кальция.
Добавку серной кислоты рассчитывали с учетом получения пульпы с молярным соотношением Ca/H2SO4=1.
Состав извлеченного солянокислого раствора:
S0= 4: 16544ч./млн.
Са++: 3749 ч./млн.
Cl–: 99507 ч./млн.
Пример 3b
В реакторе с перемешиванием емкостью 2 л непрерывно смешивали раствор с содержанием 15% CaCl2, подаваемого в количестве 4 кг/ч, с концентрированной (96%-ной) серной кислотой. Количество подаваемой серной кислоты составляло 0,48 кг/ч.
Продолжительность нахождения в реакторе: 30 минут.
Пульпа, образовавшаяся после появления кристаллов гипса, была подана на фильтр Бухнера. Температура реакции составила 40°С. Раствор, выводившийся из фильтра в количестве 3,41 кг/ч и содержавший в основном (10%-ную) соляную кислоту, подали на участок реактора для разложения руды в новом цикле. Гипсовый кек (в количестве 1,062 кг/ч при 30% влажности) промыли и затем удалили. Промывные растворы рециклировали вместе с фильтратом. Полученный кек содержал в основном двухводный сульфат кальция.
Добавку серной кислоты рассчитывали с учетом получения пульпы с молярным соотношением Ca/H2SO4=0,9.
Состав извлеченного солянокислого раствора:
SO= 4: 11045 ч./млн.
Са++: 6978 ч./млн.
Cl–: 101846 ч./млн.
Пример 4
Разлагали двукальциевый фосфат, полученный способом примера 1, 20%-ным солянокислым раствором. Состав жидкости, полученной после растворения: 20% Н3PO4, 10% HCl, 10% CaCl2. Жидкость приводили в контакт в противотоке с органическим растворителем, n-бутанолом, в колонне при наличии водной фазы в количестве 100 л/ч и при объемном соотношении О/А (органическая фаза/водная фаза)=2. Фосфорная и соляная кислоты перешли в растворитель, а наибольшая часть хлорида кальция и примеси остались в водной фазе (эффективность экстракции Р2O5: 80%). Органический растворитель с содержанием HCl и Н3PO4 (состав: 10% Н3PO4, 2,5% HCl, 0.8% CaCl2) приводили в трехярусном экстракторе в контакт с фракцией водного фосфорнокислого раствора, полученного на указанной ниже стадии (состав: 30% Н3PO4), при объемном соотношении О/А=6. При этой операции из органического раствора были удалены хлорид кальция и примеси, привнесенные во время экстракции в системе “жидкость-жидкость”, в результате чего были достигнуты высокие показатели чистоты. Промывной раствор был возвращен в головную часть экстракционной колонны органическим растворителем. Эффективность удаления кальция из органической фазы очень высокая: >99%.
Органический раствор промыли водой в противотоке в многотарельчатой колонне. Водой извлекли из органической фазы фосфорную и соляную кислоты. После удаления кислот органический растворитель мог повторно применяться на участке экстракции. Кроме того, фосфорнокислый раствор подается на концентрирование.
Эффективность операции: 80% повторной экстракции Р2O5. Все эти операции проводились при температуре окружающей среды.
Извлеченный разбавленный фосфорнокислый раствор выпаривали для концентрирования и удаления дистилляцией остаточных следов HCl и растворителя.
Формула изобретения
1. Способ получения фосфорной кислоты, включающий в себя
по меньшей мере, одноразовое разложение фосфатной руды первым водным солянокислым раствором с концентрацией HCl не более 10 мас.% с образованием жидкого продукта разложения,
первое разделение жидкого продукта разложения на нерастворимую твердую фазу с содержанием примесей и отдельную водную фазу с содержанием в виде раствора ионов фосфата, хлорида и кальция,
экстракцию водного раствора с содержанием ионов фосфата, хлорида и кальция органическим экстрагентом для получения экстракционной водной фазы с содержанием ионов хлорида и кальция и экстракционной органической фазы с содержанием фосфорной кислоты,
повторную экстракцию экстракционной органической фазы водным повторным экстрагентом для выделения водной фазы, получаемой при повторной экстракции и содержащей ионы фосфата, и при необходимости
концентрированно повторно экстрагированной водной фазы для получения чистого водного фосфорнокислого раствора,
отличающийся тем, что он дополнительно содержит
нейтрализацию водной фазы, выделенной из жидкого продукта разложения, добавкой соединения кальция для образования с помощью ионов фосфата водонерастворимого фосфата кальция, переходящего в осадок,
второе разделение нейтрализованной водной фазы на водную фазу с содержанием в виде раствора ионов кальция и хлорида и на осажденную твердую фазу на основе водонерастворимого фосфата кальция,
растворение (солюбилизацию), по меньшей мере, части выделенной осажденной твердой фазы во втором водном солянокислом растворе, который содержит HCl в количестве, превышающем ее содержание в первом солянокислом растворе, с образованием водного раствора, содержащего ионы фосфата, хлорида и кальция, экстрагируемые органическим экстрагентом.
2. Способ по п.1, отличающийся тем, что первый водный солянокислый раствор содержит HCl в количестве 3-6 мас.%, предпочтительно 3-5 мас.%.
3. Способ по п.1 или 2, отличающийся тем, что молярное отношение между HCl и Са в жидком продукте разложения составляет 0,6-1,3.
4. Способ по п.1 или 2, отличающийся тем, что стадия разложения проводится при температуре окружающей среды.
5. Способ по п.1 или 4, отличающийся тем, что соединение кальция для использования на стадии нейтрализации выбирается из группы, состоящей из гидроксида кальция, оксида кальция и водорастворимых солей кальция, таких, как карбонат кальция, и что водонерастворимый фосфат кальция представляет собой моногидрофосфат кальция (DCP).
6. Способ по п.1 или 2, отличающийся тем, что выделенная осажденная твердая фаза на основе нерастворимого фосфата кальция содержит 40-50 мас.% Р2O5 и 25-28 мас.% Са.
7. Способ по п.1 или 2, отличающийся тем, что второй водный солянокислый раствор содержит HCl в количестве от 15 до 20 мас.%.
8. Способ по п.1 или 2, отличающийся тем, что экстрагируемый солюбилизированный водный раствор содержит P2O5 в количестве 8-15 мас.%, предпочтительно 10-13 мас.%.
9. Способ по п.1, отличающийся тем, что после экстракции дополнительно осуществляют промывку экстракционной органической фазы фракцией водной фазы, полученной при повторной экстракции, для удаления из экстракционной органической фазы соляной кислоты, захваченного ею хлорида кальция и возможных остаточных примесей.
10. Способ по п.1, отличающийся тем, что дополнительно осуществляют отгонку с паром следов органического экстрагента из водной экстракционной фазы, содержащей ионы хлора и кальция.
11. Способ по п.9 или 10, отличающийся тем, что концентрация Р2О5 в водной фазе, полученной при повторной экстракции и содержащей ионы фосфата, составляет 15-25 мас.%.
12. Способ по п.1 или 2, отличающийся тем, что фосфатная руда содержит крупные зерна, размер которых составляет преимущественно 150-500 мкм, и что содержание P2O5 достигает 15-38 мас.%.
13. Способ по п.1 или 2, отличающийся тем, что дополнительно осуществляют обработку водной фазы, полученной при втором разделении и содержащей в виде раствора ионы кальция и хлорида, водным сернокислым раствором с образованием выпадающего в осадок нерастворимого сульфата кальция и водной фазы на основе соляной кислоты, отделение осадка сульфата кальция и, по меньшей мере, частичное рециклирование водной фазы на основе соляной кислоты для получения первого и/или второго водного солянокислого раствора.
14. Способ получения соли фосфорной кислоты, включающий следующие стадии:
по меньшей мере, одноразовое разложение фосфатной руды водным солянокислым раствором с концентрацией HCl не более 10 мас.% с образованием жидкого продукта разложения, в котором фосфат руды находится в растворенном состоянии в виде ионов фосфата,
первое разделение жидкого продукта разложения на нерастворимую твердую фазу и водную фазу, при этом твердая фаза, выделенная из продукта разложения, содержит примеси, водная фаза, выделенная из продукта разложения, содержит его ионы фосфата,
нейтрализацию выделенной водной фазы и
второе разделение нейтрализованной водной фазы на жидкую фазу и твердый продукт,
отличающийся тем, что для получения моногидрофосфата кальция (DCP) молярное отношение между HCl и Са в жидком продукте разложения составляет 0,6-1,3 и указанную нейтрализацию осуществляют добавлением, по меньшей мере, одного соединения кальция в выделенную водную фазу таким образом, чтобы получить в ней молярное соотношение Са:Р порядка 1, 2 и при этом в качестве твердого продукта второго разделения получают не растворимый в воде моногидрофосфат кальция.
15. Способ по п.14, отличающийся тем, что водный солянокислый раствор содержит HCl в количестве 3-6 мас.%, предпочтительно 3-5 мас.%.
16. Способ по п.14 или 15, отличающийся тем, что стадия разложения руды проводится при температуре окружающей среды.
17. Способ по п.14 или 15, отличающийся тем, что соединение кальция для применения на стадии нейтрализации выбирается из группы, состоящей из гидроксида кальция, оксида кальция и водорастворимых солей кальция, таких, как карбонат кальция.
18. Способ по п.14 или 15, отличающийся тем, что выделенная, осажденная твердая фаза на основе водонерастворимого фосфата кальция содержит 40-50 мас.% P2O5 и 25-28 мас.% Са.
19. Способ по п.14 или 15, отличающийся тем, что он дополнительно включает в себя обработку жидкой фазы, полученной при втором разделении и содержащей в виде раствора ионы кальция и хлорида, водным сернокислым раствором с образованием нерастворимого сульфата кальция, выпадающего в осадок, и водной фазы на основе соляной кислоты, отделение осадка сульфата кальция и, по меньшей мере, частичное рециклирование водной фазы на основе соляной кислоты для получения водного солянокислого раствора.
20. Способ получения фосфорной кислоты, включающий следующие стадии:
растворение твердой фазы на основе водонерастворимого фосфата кальция в водном солянокислом растворе, который содержит HCl в количестве от 15 до 20 мас.% с образованием водного раствора, содержащего ионы фосфата, хлорида и кальция,
экстракцию солюбилизированного водного раствора органическим экстрагентом для получения экстракционной водной фазы, содержащей ионы хлорида и кальция, и экстракционной органической фазы, содержащей фосфорную кислоту,
повторную экстракцию экстракционной органической фазы водным повторным экстрагентом для выделения водной фазы, получаемой при повторной экстракции и содержащей ионы фосфата, и необязательно
концентрированно водной фазы, полученной при повторной экстракции, для получения чистого водного фосфорнокислого раствора.
21. Способ по п.20, отличающийся тем, что экстрагируемый водный раствор содержит Р2O5 в количестве 10-13 мас.%.
22. Способ по п.20, отличающийся тем, что он дополнительно включает после экстракции стадию промывки экстракционной органической фазы фракцией водной фазы, полученной при повторной экстракции, для удаления из экстракционной водной фазы соляной кислоты, захваченного ею хлорида кальция и возможных остаточных примесей.
23. Способ по п.22, отличающийся тем, что водная фаза, полученная при повторной экстракции, содержит Р2О5 в количестве 15-25 мас.%.
24. Способ по п.20, отличающийся тем, что твердую фазу на основе водонерастворимого фосфата кальция получают способом по любому из пп.14-19.
РИСУНКИ
|
|