|
(21), (22) Заявка: 2004137263/11, 20.12.2004
(24) Дата начала отсчета срока действия патента:
20.12.2004
(43) Дата публикации заявки: 27.05.2006
(46) Опубликовано: 10.06.2007
(56) Список документов, цитированных в отчете о поиске:
SU 212140 A1, 01.01.1968. SU 1041512 A1, 15.09.1983. SU 177920 A1, 01.01.1966. US 5259721 A, 09.11.1993. US 3409158 A, 05.11.1968.
Адрес для переписки:
454080, г.Челябинск, ул. Сони Кривой, 56, ЮУТПП, пат.пов. Е.А. Крешнянской, рег.№ 690
|
(72) Автор(ы):
Зайков Владимир Николаевич (RU)
(73) Патентообладатель(и):
Зайков Владимир Николаевич (RU)
|
(54) УСТРОЙСТВО ДЛЯ ГОРИЗОНТАЛЬНОГО ШАГОВОГО ПЕРЕМЕЩЕНИЯ ТЯЖЕЛЫХ ГРУЗОВ
(57) Реферат:
Изобретение относится к устройствам для горизонтального шагового перемещения тяжелых грузов, которые могут найти применение в различных отраслях народного хозяйства, например в машиностроении для перемещения грузов в помещении с ограниченным пространством, или в строительстве, в частности для строительства и ремонта железнодорожного пути. Устройство для горизонтального шагового перемещения тяжелых грузов включает корпус с гидроприводом, обеспечивающим подъем груза и подошвы и взаимосвязанным с подошвой посредством роликового элемента с возможностью свободного перекатывания элемента по подошве, шарнирно соединенной с корпусом посредством механизма горизонтального перемещения. Механизм горизонтального перемещения выполнен в виде двух четырехзвенных шарнирных рамок, расположенных на противоположных сторонах корпуса. При этом верхние горизонтальные звенья рамок закреплены на корпусе со смещением относительно продольной оси. Функцию нижних горизонтальных звеньев выполняет подошва. Техническим результатом изобретения является разработка устройства для горизонтального шагового перемещения тяжелых грузов, простого по конструкции, компактного и легкого. 1 з.п. ф-лы, 6 ил.
Изобретение относится к устройствам для горизонтального шагового перемещения тяжелых грузов, которые могут найти применение в различных отраслях народного хозяйства, например в машиностроении для перемещения грузов в помещении с ограниченным пространством, когда невозможно применение кран-балки, или в строительстве, в частности для строительства и ремонта железнодорожного пути.
Наиболее близким по технической сущности к заявляемому техническому решению и выбранным заявителем в качестве прототипа является известное устройство для горизонтального шагового перемещения тяжелых грузов, включающее корпус с гидроприводом, обеспечивающим подъем груза (машины) и подошвы (лыжи) и взаимосвязанным с подошвой посредством роликового элемента с возможностью свободного перекатывания элемента по подошве, шарнирно соединенной с корпусом посредством механизма горизонтального перемещения, (см. описание изобретения к авторскому свидетельству №212140 от 30.01.67). Механизм горизонтального перемещения выполнен в виде дополнительного гидроцилиндра.
Недостатками этой конструкции домкрата является сложность конструкции, большая металлоемкость, как следствие, сложность управления и обслуживания устройством.
Технической задачей настоящего изобретения является разработка устройства для горизонтального шагового перемещения тяжелых грузов простого по конструкции, компактного и легкого.
Поставленная задача достигается за счет того, что в известном устройстве для горизонтального шагового перемещения тяжелых грузов, включающем корпус с гидроприводом, обеспечивающим подъем груза и подошвы и взаимосвязанным с подошвой посредством роликового элемента с возможностью свободного перекатывания элемента по подошве, шарнирно соединенной с корпусом посредством механизма горизонтального перемещения, согласно изобретению механизм горизонтального перемещения выполнен в виде двух четырехзвенных шарнирных рамок, расположенных на противоположных сторонах корпуса, при этом верхние горизонтальные звенья рамок закреплены на корпусе со смещением относительно продольной оси, а функцию нижних горизонтальных звеньев выполняет подошва.
При этом гидропривод выполнен в виде вертикально расположенных на одной оси корпуса двух гидроцилиндров, при этом на одном гидроцилиндре жестко смонтирована крепежная скоба, а на другом гидроцилиндре роликовый элемент.
Предлагаемое устройства для горизонтального шагового перемещения тяжелых грузов является простым по своей конструкции, простым в обслуживании, компактным и легким. Разработанная конструкция устройства грузоподъемностью 8 т имеет габариты 170×190×190 мм, вес 14 кг, что позволяет использовать его в качестве ручного приспособления.
Проведенные патентные исследования не выявили идентичных и сходных технических решений, что позволяет сделать вывод о новизне и изобретательском уровне заявляемого технического решения.
Отечественная промышленность располагает материалами. оборудованием и технологией для изготовления предлагаемого шагающего домкрата и возможностью его широкого использования.
Сущность изобретения поясняется чертежами, где:
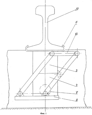
на фиг.1 – представлен общий вид устройства на первом такте: устройство подвешено к рельсу;
на фиг.2 – общий вид устройства на втором такте: шток нижнего гидроцилиндра выдвинут, подошва на грунте;
на фиг.3 – общий вид устройства сбоку на втором такте;
на фиг.4 – общий вид устройства на третьем такте: шток верхнего гидроцилиндра выдвинут, груз приподнят над грунтом;
на фиг.5 – общий вид устройства на четвертом такте: шток нижнего гидроцилиндра втянут, груз опущен с боковым смещением вправо;
на фиг.6 – схема расположения устройств при смещении блока стрелочного перевода в поперечном направлении для соединения стыков пути.
Устройства для горизонтального шагового перемещения тяжелых грузов 1 состоит из следующих основных элементов: корпуса 2 с гидроприводом, выполненным в виде вертикально расположенных на одной оси корпуса 2 двух гидроцилиндров 3 и 4, работающих раздельно, при этом на штоке 5 одного (верхнего) гидроцилиндра 3 жестко смонтирована крепежная скоба 6, а на подвижной части другого гидроцилиндра (нижнего) 4 роликовый элемент 7. Гидроцилиндры 3 и 4 могут быть выполнены с расположением штоков в противоположные стороны и в этом случае роликовый элемент 7 будет расположен на штоке 8 нижнего гидроцилиндра 4 (как показано на чертежах). При расположении гидроцилиндров 3 и 4 один на другом (или в другом) штоки будут направлены в одну сторону, и в этом случае подвижной частью нижнего гидроцилиндра 4 будет являться корпус цилиндра. на котором будет смонтирован роликовый элемент 7. Роликовый элемент 7 может быть выполнен в виде одного ролика или в виде блока роликов, обеспечивающего уменьшение контактного напряжения между роликами и поверхностью катания. Гидропривод взаимосвязан посредством роликового элемента 7 с подошвой 9 с возможностью свободного перекатывания роликового элемента 7 но ней. Гидропривод обеспечивает подъем груза 10 и подошвы 9. Последняя шарнирно соединена с корпусом 2 посредством механизма горизонтального перемещения, выполненного в виде двух четырехзвенных шарнирных рамок 11, расположенных на противоположных сторонах корпуса 2, при этом верхние горизонтальные звенья 12 рамок 11 закреплены на корпусе 2 со смещением относительно продольной оси, а функцию нижних горизонтальных звеньев выполняет подошва 9, при этом оси шарниров рамок 11 параллельны оси роликового элемента 7.
Устройство для горизонтального шагового перемещения тяжелых грузов 1 работает следующим образом. Устройство 1 закрепляют посредством скобы крепежной 5 к поднимаемому грузу 10. Например, для горизонтального смещения блока стрелочного перевода с целью соединения стыков пути устройство 1 закрепляют за подошву рельса с расположением его (устройства) между брусьями поднимаемого блока. Рабочий цикл устройства 1 состоит из четырех тактов:
– 1-й такт: устройство подвешено к рельсу, штоки 5 и 8 верхнего 3 и нижнего 4 гидроцилиндров втянуты, устройство 1 зависает над грунтом 13;
– 2-й такт: подошва 9 под собственным весом опускается на грунт 13, а шток 8 нижнего гидроцилиндра 4 выдвигается и роликом 7 поджимает подошву 9 к грунту 13;
– 3-й такт: шток 5 верхнего гидроцилиндра 3 выдвигается, приподнимая груз 10 над грунтом 13;
– 4-й такт: шток 8 нижнего гидроцилиндра 4 втягивается, груз 10 опускается с боковым смещением вправо по траектории, задаваемой рамками 11 устройства 1 и путем перекатывания ролика 7 вправо по подошве 9.
При необходимости продолжить смещение груза цикл повторяется в той же последовательности. Смещение можно остановить в любой момент, прекратив втягивание штока 8 нижнего гидроцилиндра 4, а груз 10 опустить на грунт 13 верхним гидроцилиндром 3.
Использование предлагаемого устройства 1: для перемещения закрестовинного блока 14 и совмещения его стыков с крестовинным блоком 15, достаточно применения комплекта 16 из четырех предлагаемых устройств 1 вместо применения специального крана. При этом грузоподъемность используемых устройств будет в 2-3 раза выше грузоподъемности путевого укладочного крана.
Заявителем разработано предлагаемое устройство 1 для горизонтального шагового перемещения тяжелых грузов грузоподъемностью 8 т. При рабочем давлении в гидросистеме 50 МПа (500 кгс/см2), при ходе штоков 5 и 8 гидроцилиндров 62 мм и боковом смещении за цикл 81 мм время на боковое перемещение 1500 мм составит 5 минут (при количестве 4 шт предлагаемых устройств и производительности гидронасоса – 8,6 л/мин время цикла составит 15 с).
Формула изобретения
1. Устройство для горизонтального шагового перемещения тяжелых грузов, включающее корпус с гидроприводом, обеспечивающим подъем груза и подошвы и взаимосвязанным с подошвой посредством роликового элемента с возможностью свободного перекатывания элемента по подошве, шарнирно соединенной с корпусом посредством механизма горизонтального перемещения, отличающееся тем, что механизм горизонтального перемещения выполнен в виде двух четырехзвенных шарнирных рамок, расположенных на противоположных сторонах корпуса, при этом верхние горизонтальные звенья рамок закреплены на корпусе со смещением относительно продольной оси, а функцию нижних горизонтальных звеньев выполняет подошва.
2. Устройство для горизонтального шагового перемещения тяжелых грузов по п.1, отличающееся тем, что гидропривод выполнен в виде вертикально расположенных на одной оси корпуса двух гидроцилиндров, при этом на одном гидроцилиндре жестко смонтирована крепежная скоба, а на другом гидроцилиндре – роликовый элемент.
РИСУНКИ
|