|
(21), (22) Заявка: 2005123151/11, 18.05.2005
(24) Дата начала отсчета срока действия патента:
18.05.2005
(46) Опубликовано: 10.06.2007
(56) Список документов, цитированных в отчете о поиске:
В.И.Крылов и др., Справочник “Тормозное оборудование железнодорожного подвижного состава”, М.: Транспорт, 1989. с.254. SU 190161 A1, 01.01.1967. JP 2003232471 A, 22.08.2003. WO 0120217 A, 22.03.2001. SU 423695 A1, 15.04.1974.
(85) Дата перевода заявки PCT на национальную фазу:
03.10.2005
(86) Заявка PCT:
RU 2005/000273 (18.05.2005)
Адрес для переписки:
620034, г.Екатеринбург, ул. Одинарка, 6, ЗАО “НПП ТОРМО”
|
(72) Автор(ы):
Муртазин Антон Владиславович (RU), Жерновой Виктор Григорьевич (RU), Муртазин Владислав Николаевич (RU)
(73) Патентообладатель(и):
ЗАО “НПП ТОРМО” (RU)
|
(54) ТРОЙНИК ВОЗДУШНОЙ ТОРМОЗНОЙ МАГИСТРАЛИ
(57) Реферат:
Изобретение относится к области железнодорожного транспорта, а именно к устройству тройника с кронштейном трубопровода воздушной магистрали железнодорожного транспортного средства. Тройник состоит из корпуса с полостью и кронштейном для крепления тройника на раме железнодорожного грузового вагона и имеет резьбовые патрубки. Один патрубок для связи полости с контуром воздухораспределителя, а два других патрубка для связи полости с тормозным магистральным воздухопроводом. Тройник снабжен защитным карманом V-образной формы, получаемым из стенки корпуса и стенки конусной вставки с входным отверстием, поджатой лабиринтным узлом прохождения воздуха из тормозной магистрали в цепь воздухораспределителя с отверстиями. Отверстия расположены под углом к входу цепи трубопровода воздухораспределителя. Достигается увеличение надежности соединений воздушной тормозной магистрали и защита воздухораспределителя от попадания влаги и посторонних частиц, в особенности при опрокидывании грузовых вагонов. 8 з.п. ф-лы, 4 ил.
Изобретение относится к железнодорожному транспорту, а именно к устройству тройника с кронштейном трубопровода воздушной магистрали железнодорожного транспортного средства, служащего для соединения трубопровода воздухораспределителя с тормозной магистралью.
Известен тройник трубопровода железнодорожного транспортного средства, содержащий корпус с полостью и кронштейном для крепления тройника на раме транспортного средства и имеющий резьбовые патрубки, один для связи полости с разобщительным краном и два для связи полости с тормозной магистралью. При этом в полости имеется выступ, служащий для ограничения хода подсоединяемого трубопровода (SU. А.с. №899383, В60Т 17/04, 1979 г.).
Однако наличие переходной области между ограничительным выступом и трубопроводом может приводить к образованию мест скопления пыли и других посторонних частиц, что снижает надежность действия тормозных приборов. Установка дополнительных фланцев сопряжения приводит к образованию дополнительных зон для возможного скопления пыли и ее возможному попаданию в воздухораспределитель, особенно при разгрузке грузовых вагонов путем опрокидывания. А наличие резьбовых соединений не содействует получению надежных уплотнений магистрали и требует использования дополнительных приемов. Наиболее близким по совокупности существенных признаков заявляемому тройнику является тройник, содержащий корпус с полостью и кронштейном для крепления тройника на раме железнодорожного транспортного средства и имеющий резьбовые патрубки для связи полости с разобщительным краном в контуре магистрали воздухораспределителя и с тормозной магистралью (Тормозное оборудование железнодорожного подвижного состава. /Справочник/ В.И.Крылов, В.В.Крылов, В.Н.Ефимов, П.Т.Демушкин. – М.: Транспорт, 1989 г., с.254).
Однако здесь также при подсоединении трубопроводов образуются зоны возможного скопления пыли, которая может попасть в воздухораспределитель, особенно при разгрузке вагонов путем опрокидывания. Использование резьбовых соединений не гарантирует надежной плотности воздушной магистрали.
Заявляемое устройство решает задачу повышения надежности работы оборудования воздушной тормозной магистрали железнодорожного транспортного средства.
Технический результат, который будет получен при осуществлении данного изобретения, заключается в том, что увеличится надежность соединений воздушной тормозной магистрали и защита воздухораспределителя от попадания влаги и посторонних частиц, в особенности при опрокидывании грузовых вагонов.
Указанный технический результат достигается тем, что в известном тройнике защита воздухораспределителя от посторонних частиц осуществлена за счет образования защитного кармана V-образной формы, получаемого из стенки корпуса и стенки вставки, имеющей входное отверстие и поджатой кольцом конусной лабиринтного узла прохождения воздуха из тормозной магистрали в цепь воздухораспределителя с отверстиями в кольце, размещенными под углом к входному отверстию трубопровода указанного воздухораспределителя, при сохранении общего воздушного сопротивления этой магистрали.
Кроме того, указанный технический результат достигается тем, что в конструкции лабиринтного узла дополнительно может быть образован, по крайней мере, еще один лабиринтный проход, образуемый внешним и дополнительными кольцами лабиринтного узла для воздуха из магистрали с отверстиями, расположенными под углом и/или перпендикулярно к отверстиям первого кольцевого лабиринтного прохода при сохранении общего воздушного сопротивления магистрали.
Лабиринтный узел прохождения воздуха может быть выполнен в виде кольцевого или отличного от кольцевой формы лабиринта, например прямоугольного в плане лабиринта.
Лабиринтный узел может быть выполнен в виде отдельной детали, сопрягаемой с корпусом тройника посредством уплотняющих эластичных прокладок.
Кольцо лабиринтного узла может быть выполнено в разрезе в прямоугольном виде или в иной форме, например иметь коническую или трапецеидальную форму,
Кроме того, указанный технический результат достигается тем, что в конструкции тройника над входным отверстием в лабиринтный узел устанавливается защитный зонтик в виде полого конуса с диаметром основания, большим диаметра входного отверстия, при сохранении общего воздушного сопротивления магистрали воздухораспределителя.
Кроме того, указанный технический результат достигается тем, что в указанном тройнике плотность соединений магистрали достигается за счет установки уплотняющих эластичных прокладок между штуцером трубопровода и корпусом тройника.
Указанный технический результат достигается также тем, что в конструкции тройника уплотняющая эластичная прокладка может устанавливаться между гайкой и патрубком тройника.
Кроме того, указанный технический результат достигается тем, что в указанном тройнике в полости тройника поверхность может быть покрыта материалом с минимальным коэффициентом трения, например стеклокерамикой или похожим на нее материалом.
Заявляемое устройство обладает новизной в сравнении с известной конструкцией, отличаясь от нее наличием таких существенных признаков, как:
а) присутствие в указанной области конусной вставки с входным отверстием, образующим проход для воздушного потока в цепь воздухораспределителя, поджатой лабиринтным узлом, с отверстиями, расположенными под углом к входу в магистраль указанного воздухораспределителя и формирующей защитный карман V-образной формы совместно стенками корпуса и указанной конусной вставки,
б) введение в лабиринтный узел, по крайней мере, еще одного дополнительного лабиринтного прохода для воздуха из магистрали с отверстиями расположенными под углом и/или перпендикулярно к отверстиям первого лабиринтного прохода при сохранении общего воздушного сопротивления магистрали,
в) выполнение в предлагаемом устройстве лабиринтного узла прохождения воздуха в виде кольцевого или отличного от кольцевой формы лабиринта, например прямоугольного в плане лабиринта,
г) выполнение лабиринтного узла в виде отдельной части, сопрягаемой с корпусом тройника посредством уплотняющих эластичных прокладок.
д) выполнение кольца лабиринтного узла в виде прямоугольной или отличной от прямоугольной формы в разрезе, например конической или трапецеидальной формы,
е) использование защитного зонтика над входным отверстием конусной вставки в виде полого конуса с диаметром основания, большим диаметра входного отверстия, при сохранении общего воздушного сопротивления магистрали воздухораспределителя.
ж) введение в предлагаемый тройник уплотняющих эластичных прокладок между штуцером трубопровода и корпусом тройника,
з) в указанном тройнике эластичная прокладка может устанавливаться между гайкой и патрубком тройника,
и) а также, в указанном тройнике в полости тройника поверхность может быть покрыта материалом с минимальным коэффициентом трения, например стеклокерамикой или похожим материалом.
Сравнение предлагаемого устройства не только с прототипом, но и с другими техническими решениями в данной области техники не позволило выявить в них признаки, аналогичные заявляемым признакам. Такое отличие от прототипа дает возможность утверждать о соответствии предлагаемого решения критерию патентоспособности изобретения “новизна”.
Изобретательский уровень подтверждается тем, что отличительные признаки заявляемой конструкции, а именно указанные выше признаки, не описаны в известных источниках информации и не являются очевидными.
Отсутствие в заявляемых признаках невыполнимых условий (качеств) позволяет говорить о возможности промышленного осуществления заявляемого изобретения.
Изобретение поясняется чертежами.
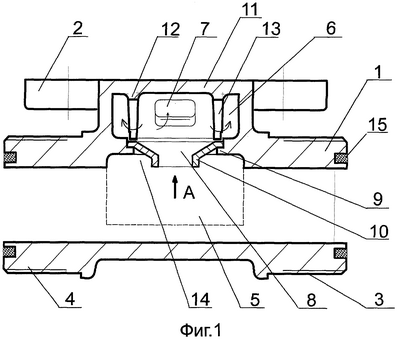
На фиг.1 схематично приведена конструкция заявляемого устройства, которая позволяет показать заявляемые отличия по защите цепи воздухораспределителя от посторонних частиц с лабиринтным узлом и конусной вставкой с входным отверстием. На фиг.2 показан вид А на фиг.1 предпочтительного варианта выполнения лабиринтной части заявляемого устройства. А на фиг.3 схематично представлен общий вид в разрезе этой части вместе с зонтиком под входным отверстием в лабиринтный узел и далее – в контур воздухораспределителя. На фиг.4 представлен вариант реализации заявляемых отличий в уплотнениях воздушной магистрали тройника.
Тройник имеет корпус 1 с кронштейном 2 для крепления к раме вагона. Он оснащен патрубками 3 и 4 с наружной резьбой для подсоединения штуцеров трубопровода воздушной тормозной магистрали (на чертеже не показаны). Между патрубками расположена полость воздушной магистрали 5. В верхней части тройника, содержащей крепежный кронштейн 2, имеется вторая полость 6 с входом в контур трубопроводов воздухораспределителя 7. Полости 5 и 6 соединены отверстием 8 в корпусе тройника, на образующей которого сделаны выступы 9, используемые для установки на них конической вставки 10. Полость 6 ограничивается крышкой 11 лабиринтного узла, цилиндрическое или коническое кольцо 12 которого опирается на коническую вставку 10. В кольце напротив друг друга под углом к входу в контур магистрали воздухораспределителя 7 расположены отверстия 13. Наружная поверхность конической вставки 10 и образующая поверхность отверстия на корпусе создают некую полость 14, так называемый карман, в котором задерживается часть посторонних частиц при опрокидывании грузового вагона. С торца патрубков 3 и 4, там где подсоединяются штуцера трубопровода воздухораспределителя, вводятся уплотняющие элементы 15. Стрелками на чертеже показано движение воздушного потока в направлении входа в контур воздухораспределителя. Более подробно лабиринтный характер движения воздушных потоков показан на фиг.2. Здесь изображены коническая вставка 10, крышка 11 с кольцом 12, в котором выбраны отверстия 13, расположенные к входу в контур воздухораспределителя под некоторым углом. Кольцо и образующая поверхность корпуса образуют лабиринтный проход 16 для воздуха в контур воздухораспределителя. По крайней мере, может иметься еще одно дополнительное кольцо 17 с отверстиями 18 в нем, которое вместе с внутренней поверхностью кольца 12 создают дополнительный лабиринтный проход 19 для воздуха. Высота и форма места соприкосновения дополнительного кольца 17 с конической вставкой 10 выбирается таким образом, чтобы исключить возможность прохождения воздуха, минуя отверстия 18. Указанные отверстия располагаются под углом и/ или перпендикулярно относительно отверстий 13. Стрелками показано направление движения воздушных потоков при рабочих режимах тормозной магистрали. На общем виде фиг.3 в разрезе кроме указанных деталей приведен зонтик 20 над конической вставкой 10.
На фиг.4 детально показано техническое решение для уплотнений мест стыковки со штуцерами трубопроводов. Здесь 2 – патрубок с наружной резьбой и местами для установки уплотняющих элементов 21 и 22. К уплотняющему элементу 21 подводится торец штуцера трубопровода 23 и поджимается гайкой 24. Дополнительно между гайкой и корпусом тройника может быть установлено эластичное уплотнение 22. Проволочный штифт 25 ограничивает перемещение гайки и используется для ее фиксации. При использовании рабочих режимов (зарядка, отпуск) воздушное давление в магистрали повышается и, следовательно, легкие посторонние частицы могут поступать в контур воздухораспределителя. Заявляемые изменения в конструкции тройника, а именно лабиринтное поступление воздуха, наличие кармана возле входного отверстия в контур воздухораспределителя и защитный зонтик над входным отверстием позволяют снизить поступление примесей и влаги в контур магистрали воздухораспределителя и значительно повысить надежность воздушной тормозной магистрали. Такой же эффект будет наблюдаться и при разгрузке грузовых вагонов путем опрокидывания. Давление при этом не изменяется, и нет движения воздуха. Посторонние включения при опрокидывании могут попасть под действием силы тяжести, прежде всего, в карман и там задержаться. А от прямого проникновения в контур воздухораспределителя защитой послужит зонтик над входным отверстием. Надежность воздушной тормозной магистрали повышается также и при замене внутренних резьбовых соединений на наружные с использованием эластичных уплотняющих прокладок. Для такого использования в основании патрубка делается специальная проточка под форму эластичной прокладки. При этом форма прокладки может быть как простой прямоугольной, так и в виде манжеты, использующей эффект дополнительного поджатия со стороны повышенного давления. Вращающаяся гайка поджимает плоскость штуцера трубопровода к эластичной прокладке, чем и достигается необходимая плотность соединения. После требуемого поджима гайка стопорится штифтом. Поэтому указанные изменения в конструкции приводят и к упрощению сборочных работ при монтаже тройника или ремонтных работах.
Предлагаемый тройник воздушной тормозной магистрали обладает широкой применимостью в тормозных системах различных технических средств, в том числе и на различных видах транспортных средств. Его универсальность и повышенная эффективность в эксплуатации обеспечивают возможность его применения в базовых тормозных системах различного вида.
Формула изобретения
1. Тройник воздушной тормозной магистрали, состоящий из корпуса с полостью и кронштейном для крепления тройника на раме железнодорожного грузового вагона и имеющий резьбовые патрубки – один для связи полости с контуром воздухораспределителя, а два других для связи полости с тормозным магистральным воздухопроводом, отличающийся тем, что он снабжен защитным карманом V-образной формы, получаемым из стенки корпуса и стенки конусной вставки с входным отверстием, поджатой лабиринтным узлом прохождения воздуха из тормозной магистрали в цепь воздухораспределителя с отверстиями, расположенными под углом к входу цепи трубопровода воздухораспределителя, при сохранении общего воздушного сопротивления этой магистрали.
2. Тройник воздушной тормозной магистрали п.1, отличающийся тем, что в конструкции лабиринтного узла дополнительно может быть образован, по крайней мере, еще один лабиринтный проход, образуемый внешним и дополнительными кольцами указанного узла с отверстиями, расположенными под углом и/или перпендикулярно отверстиям первого кольцевого лабиринтного прохода при сохранении общего воздушного сопротивления магистрали.
3. Тройник воздушной тормозной магистрали по п.1, отличающийся тем, что лабиринтный узел может быть выполнен в виде кольцевого или отличного от кольцевой формы лабиринта, например прямоугольного в плане лабиринта, при сохранении общего воздушного сопротивления магистрали.
4. Тройник воздушной тормозной магистрали по п.1, отличающийся тем, что лабиринтный узел может быть выполнен в виде отдельной детали, сопрягаемой с корпусом тройника посредством уплотняющих эластичных прокладок.
5. Тройник воздушной тормозной магистрали по п.1, отличающийся тем, что в разрезе кольцо лабиринтного узла может быть выполнено в прямоугольном виде или в иной форме, например иметь коническую или трапецеидальную форму.
6. Тройник воздушной тормозной магистрали по п.1, отличающийся тем, что дополнительно содержит в конструкции над входным отверстием в лабиринтный узел защитный зонтик в виде полого конуса с диаметром основания, большим диаметра входного отверстия, при сохранении общего воздушного сопротивления магистрали воздухораспределителя.
7. Тройник воздушной тормозной магистрали по п.1, отличающийся тем, что плотность соединений магистрали достигается за счет установки уплотняющих эластичных прокладок между штуцером трубопровода и патрубком тройника.
8. Тройник воздушной тормозной магистрали по п.1, отличающийся тем, что дополнительно в указанном тройнике уплотняющая эластичная прокладка устанавливается между гайкой и патрубком тройника.
9. Тройник воздушной тормозной магистрали по п.1, отличающийся тем, что в полости тройника поверхность покрыта материалом с минимальным коэффициентом трения, например стеклокерамикой или похожим материалом.
РИСУНКИ
|