|
|
(21), (22) Заявка: 2004128456/12, 26.02.2003
(24) Дата начала отсчета срока действия патента:
26.02.2003
(30) Конвенционный приоритет:
26.02.2002 (пп.1-14) SE 0200590-8
(43) Дата публикации заявки: 10.06.2005
(46) Опубликовано: 10.06.2007
(56) Список документов, цитированных в отчете о поиске:
JP 3180600 А, 06.08.1991. US 6277226 B1, 21.08.2001. WO 99/44814 A, 10.09.1999. US 5374468 A, 20.12.1994. US 6277464 B1, 21.08.2001.
(85) Дата перевода заявки PCT на национальную фазу:
27.09.2004
(86) Заявка PCT:
SE 03/00327 (26.02.2003)
(87) Публикация PCT:
WO 03/072344 (04.09.2003)
Адрес для переписки:
129010, Москва, ул. Б.Спасская, 25, стр.3, ООО “Юридическая фирма Городисский и Партнеры”, пат.пов. С.А.Дорофееву
|
(72) Автор(ы):
АНДЕРССОН Андерс (SE), СААРВЕЛИ Эва-Ли (SE)
(73) Патентообладатель(и):
СКА ХАЙДЖИН ПРОДАКТС АБ (SE)
|
(54) СПОСОБ И УСТРОЙСТВО ДЛЯ ИЗГОТОВЛЕНИЯ МНОГОСЛОЙНОГО ПОЛОТНА ИЗ ГИБКОГО МАТЕРИАЛА, ТАКОГО, КАК БУМАГА И НЕТКАНЫЙ МАТЕРИАЛ, И ИЗДЕЛИЕ, ИЗГОТОВЛЕННОЕ ЭТИМ СПОСОБОМ
(57) Реферат:
Способ изготовления многослойного полотна из гибкого материала посредством склеивания слоев, в котором первый валик с трехмерным рисунком из чередующихся рельефных и углубленных участков вводят в соприкосновение с устройством для нанесения клея. Наносят клей на первый полотнообразный гибкий материал в первом зазоре по рисунку, соответствующему конфигурации вершин рельефных участков. При этом конфигурацию рисунка первого валика выбирают таким образом, чтобы наносить клей на первый полотнообразный гибкий материал разреженно распределенно по всей площади, покрывая при этом от 0,03 до 9% от общей площади. Второй полотнообразный гибкий материал вводят в соприкосновение со стороной первого полотнообразного материала, на которую нанесен клей, во втором зазоре между вторым валиком и прижимным валиком. Причем второй валик имеет трехмерный рисунок из чередующихся рельефных и углубленных участков, соответствующий рисунку первого валика. При этом натяжения первого и второго полотнообразных гибких материалов являются, по существу, одинаковыми, когда их подают во второй зазор. Причем первый и второй валики с рисунками находятся в точном совпадении друг с другом, так что первый и второй полотнообразные гибкие материалы объединяют и склеивают вместе по рисунку, соответствующему конфигурации вершин рельефных участков первого валика. Предложенное изобретение также относится к изделию из полотнообразного материала. Заявленное изобретение обеспечивает создание многослойного полотна с хорошими прочностными, а также абсорбционными свойствами. 2 н. и 12 з.п. ф-лы, 6 ил.
Область техники
Настоящее изобретение относится к способу изготовления многослойного полотна из гибкого материала, такого как бумага и нетканый материал, посредством склеивания слоев. Оно в частности относится к изготовлению тонких изделий, как, например, туалетной и кухонной бумаги, бумажных полотенец, салфеток, прокладок, носовых платков, материала для вытирания и т.п. Кроме того, изобретение относится к многослойному полотну из гибкого материала, такого как бумага и нетканый материал, содержащему, по меньшей мере, первый и второй слои, которые соединены друг с другом посредством склеивания по рисунку из нанесенного клея. Изобретение касается также изделия, изготовленного из многослойного полотна.
Предпосылки к созданию изобретения
Очень распространено наслоение двух или большего числа тонких слоев для изготовления готового тонкого изделия, посредством этого получают более гибкое и более мягкое тонкое изделие, чем при использовании одного единственного слоя, с такими же толщиной и базовым весом, как и у слоистого изделия. Кроме того, улучшаются абсорбционная способность и объем.
Наслоение двух или большего числа тонких слоев часто осуществляют посредством склеивания. Кроме того, часто выполняют механическое тиснение слоев до их склеивания вместе. Известно также наслоение двух слоев только посредством механического тиснения, при котором в тисненых местах происходит механическое соединение слоев.
Как известно, например, из ЕР-А-796727, вначале осуществляют тиснение двух бумажных слоев в трехмерную структуру с чередующимися приподнятыми и углубленными частями, после чего наносят клей на один из слоев и соединяют слои в зазоре между двумя валиками для тиснения так, чтобы склеивались друг с другом приподнятые части соответствующих слоев. Подобный способ тиснения показан в патентном документе P-А-738588, согласно которому клей создает также окрашивающий эффект.
В WO 95/08671 приводится пример т.н. гнездового тиснения, при котором два отдельно тисненых слоя соединяют и скрепляют так, что приподнятые части одного слоя входят в углубленные части противоположного слоя.
Из US-А-5443889 известен способ наслоения двух бумажных слоев, которые подают на валики с рельефными рисунками, при этом указанные валики имеют чередующиеся приподнятые и углубленные части, и клей наносят на один слой, когда он поступает на валик. Затем склеивают вместе два бумажных слоя в зазоре между двумя валиками с рельефными рисунками, которые точно совпадают друг с другом, так что происходит соединение и сдавливание бумажных слоев по рисунку, соответствующему приподнятым частям валиков с рельефными рисунками.
Недостаток, который имеет место в связи с тиснением бумажного полотна в тех случаях, когда его сдавливают местами, заключается в том, что происходит значительное уменьшение прочности в тиснении и в местах нанесения клея, что влияет на прочностные свойства всего бумажного изделия. Не является необычным уменьшение прочности тисненой бумаги на вплоть до 70% по сравнению с прочностью соответствующей нетисненой бумаги.
В US-A-3672950 описывается способ изготовления стеганого или пружинящего тонкого изделия из склеенных слоев, при котором клей в виде определенного рисунка наносят на один тонкий слой в зазоре между первым валиком с рельефным рисунком и прижимным валиком. Этот слой наслаивают на другой слой в зазоре между тем же самым прижимным валиком и вторым валиком, который имеет рельефный рисунок, соответствующий рельефному рисунку первого валика, и вращается в точном совпадении с первым валиком. Во время процесса наслоения два слоя находятся в разных напряженных состояниях, так что образуется стеганое или пружинящее изделие.
Цель и наиболее существенные признаки изобретения
Целью настоящего изобретения является создание способа изготовления многослойного полотна из гибкого материала, такого как бумага и нетканый материал и их сочетаний, при котором наслаивают друг на друга, по меньшей мере, два слоя гибкого материала. При наслоении, по существу, обеспечивается сохранение структуры материала слоев, а также его прочностных свойств. Кроме того, готовое изделие имеет высокие абсорбционную способность и объем.
Согласно изобретению это достигается тем, что первый валик, имеющий трехмерный рисунок из чередующихся рельефных углубленных участков, вводят в соприкосновение с устройством для нанесения клея, наносят клей на первый полотнообразный гибкий материал в первом зазоре по рисунку, соответствующему конфигурации вершин рельефных участков, при этом рисунок первого валика выбирают таким образом, чтобы наносить клей на указанный первый полотнообразный гибкий материал в местах нанесения клея, покрывающих площадь, соответствующую от 0,03 до 9% общей площади полотнообразного гибкого материала, и разреженно распределенных, по существу, по всей площади первого полотнообразного гибкого материала, второй полотнообразный гибкий материал вводят в соприкосновение со стороной указанного первого полотнообразного материала, на которую нанесен клей, во втором зазоре между вторым валиком, имеющим трехмерный рисунок из чередующихся приподнятых и углубленных частей, соответствующий рисунку указанного первого валика, и прижимным валиком, при этом натяжения полотен указанных первого и второго полотнообразных гибких материалов являются, по существу, одинаковыми, когда их подают во второй зазор, а первый и второй валики с рисунками находятся в точном совпадении друг с другом, так что первый и второй полотнообразные гибкие материалы сдавливают и склеивают вместе по рисунку, соответствующему конфигурации вершин рельефных участков указанного первого валика с рисунком.
При этом способе не будет происходить никакого фактического тиснения полотна материала в связи с процессом наслоения, а будет осуществляться только склеивание слоев по рисунку из нанесенного клея. Посредством этого предотвращается уменьшение прочности готового изделия, при этом образуются пустоты между слоями в промежутках между местами нанесения клея, что увеличивает объем и абсорбционную способность. После процесса наслоения, по существу, сохраняется объем отдельных слоев.
Согласно одному варианту осуществления изобретения используют окрашенный клей.
В одном варианте осуществления изобретения, по меньшей мере, на одном из слоев до его наслоения на противолежащий слой формируют трехмерный рисунок.
Согласно другому варианту осуществления изобретения, по меньшей мере, на двух слоях их наслоения формируют трехмерный рисунок, при этом, по меньшей мере, два слоя имеют разные рисунки, например, один рисунок является сравнительно мелким, а другой рисунок – сравнительно крупным.
Согласно еще одному варианту осуществления изобретения, по меньшей мере, один слой усиливают полосками клея или отверждаемого клеящего вещества, например латекса. Указанное отверждаемое вещество отверждают после процесса наслоения.
Размер каждого места нанесения клея составляет от 0,15 до 150 мм2, предпочтительно от 0,5 до 100 мм2 и более предпочтительно от 1 до 15 мм2. В другом варианте осуществления изобретения размер каждого места нанесения клея составляет от 150 до 400 мм2. Количество мест нанесения клея на единицу площади составляет от 25 до 350000, предпочтительно от 300 до 180000 и более предпочтительно от 800 до 50000 мест нанесения клея на один м2. Необходимо отметить, что места нанесения клея могут быть равномерно распределены по площади полотнообразного материала, но они могут быть также неравномерно распределены, например могут быть расположены группами, находящимися на расстоянии друг от друга.
В этой связи термин “место” относится к любой форме мест нанесения клея, как, например, к небольшим точкам, линиям, фигурам, буквам, узорам или любой заданной форме.
Кроме того, изобретение относится к многослойному полотну из гибкого материала, такого как бумага и нетканый материал, содержащему, по меньшей мере, один первый и один второй слои, которые соединены друг с другом склеиванием в местах нанесения клея, образующих рисунок из нанесенного клея, при этом места нанесения клея покрывают площадь, соответствующую от 0,03 до 9% общей площади слоя, и разреженно распределены, по существу, по всей площади слоя, и одна наружная поверхность указанного многослойного полотна, по существу, не имеет никаких оттисков напротив мест нанесения клея, в то время как противоположная наружная поверхность указанного многослойного полотна имеет небольшие оттиски в материале, образованные в связи с соединением слоев.
Дополнительные отличительные признаки изобретения раскрыты в нижеследующем описании и в формуле изобретения.
Описание чертежей
В дальнейшем изобретение будет подробнее описано со ссылкой на вариант его осуществления, показанный на сопровождающих чертежах:
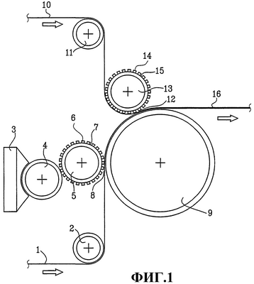
фиг.1 – схематический вид сбоку устройства для осуществления способа согласно изобретению,
фиг.2 – схематический вид в разрезе варианта выполнения двухслойной бумаги, изготовленной согласно этому способу,
фиг.3а-с – виды в плане некоторых рисунков из нанесенного клея на бумажном слое согласно изобретению,
фиг.4 – схематический вид в разрезе варианта выполнения трехслойной бумаги согласно изобретению.
Описание примера воплощения изобретения
На фиг.1 показано устройство для изготовления двухслойного материала, например бумаги, особенно тонкой бумаги. Первое бумажное полотно 1 вокруг валика 2 подают к пункту нанесения клея. На нем имеется клеевая камера 3, из которой клей наносится на валик 4 для нанесения клея. Валик 4 для нанесения клея соприкасается с первым валиком 5 с рисунком, по периферии которого имеется рисунок из чередующихся рельефных 6 и углубленных 7 участков. Валик 4 для нанесения клея соприкасается только с вершинами рельефных участков 6, так что клей наносится только на них. Бумажное полотно 1 вводят в зазор 8 между первым валиком 5 с рисунком и соосно расположенным прижимным валиком 9. Таким образом, клей будет наноситься на первое бумажное полотно 1 в виде рисунка, соответствующего конфигурации вершин рельефных участков 6. Сила сжатия в зазоре между валиком 5 с рисунком и прижимным валиком 9 является достаточно большой только для того, чтобы обеспечить передачу клея к бумажному полотну 1. Однако предпочтительно не должно быть никакой деформации бумажного полотна, т.е. никакого вдавливания рельефных участков 6 валика 5 с рисунком в бумажное полотно.
Второе бумажное полотно 10 вокруг валика 11 подают в зазор 12 между вторым валиком 13 с рисунком и соосно расположенным прижимным валиком 9. Второй валик 13 имеет трехмерный рисунок из рельефных 14 и углубленных 15 участков, соответствующий рисунку на первом валике 5. Термин “соответствующий” в этом отношении означает, что по сравнению с рельефными участками 6 первого валика 5 с рисунком рельефные участки 14 имеют или одинаковые форму и размер эффективной площади поверхности, или одинаковую форму, но бульшую эффективную площадь поверхности, так чтобы выступать за пределы внешней периферии мест нанесения клея первым валиком 5 с рисунком, или другую форму и бульшую эффективную площадь поверхности. Например, рисунок из нанесенного клея, образованный первым валиком 5 с рисунком, может быть в виде групп из трех точек, расположенных в виде треугольника, как это показано на фиг.3а, при этом рельефные участки 14 второго валика 13 с рисунком либо могут быть точно такими же или несколько бульшими, чем рисунок из нанесенного клея, либо могут быть, например, в форме треугольника 19, покрывающего три точки. Во всех этих случаях относительные положения рисунков на двух валиках 5 и 13 соответствуют друг другу.
Когда полотна указанных первого и второго слоев 1 и 10 поступают во второй зазор 12, они имеют, по существу, одинаковое натяжение. Благодаря этому не будет происходить никакого сокращения из-за наслоения. Два валика 5 и 13 с рисунками вращаются при точном совпадении друг с другом, так что первое и второе бумажные полотна 1 и 10 сдавливают и склеивают по рисунку, который соответствует рисунку из нанесенного клея, образованному первым валиком 5 с рисунком.
Предпочтительно использовать один соосно установленный прижимной валик 9 для обоих валиков 5 и 13 с рисунками, как это показано на фиг.1. Однако можно было бы использовать также и два отдельных прижимных валика для первого и второго валиков 5 и 13 с рисунками и синхронизировать их так, чтобы они вращались при точном согласовании.
В этом втором зазоре давление также должно быть небольшим, но достаточно высоким только для того, чтобы обеспечивать склеивание вместе двух бумажных полотен 1 и 10. Давление во втором зазоре не должно быть больше того, что требуется лишь для выдавливания небольших оттисков 19, которые расположены на поверхности второго слоя 10, обращенной к второму валику 13 с рисунком, непосредственно против мест нанесения клея.
Противоположная наружная поверхность многослойного полотна, т.е. поверхность, обращенная к центральному прижимному валику 9, будет, по существу, сохранять свой рисунок и во время процесса наслоения не будет подвергаться никакому выдавливанию оттисков в материале напротив мест нанесения клея. Слоистый многослойный материал обозначен позицией 16.
Рисунок на двух валиках 5 и 13 может быть произвольным, но его следует выбирать таким образом, чтобы наносить клей на бумажное полотно 1 на площади, соответствующей от 0,03 до 9%, предпочтительно от 0,1 до 6% общей площади поверхности бумажного полотна 1. В данном случае места нанесения клея разреженно распределены, по существу, на всей площади слоистого изделия. При способе согласно изобретению можно обеспечить очень четкое размещение мест нанесения клея, при этом требуется очень небольшое количество клея. Это дает преимущества в отношении мягкости, облегаемости, абсорбции и т.д. В том случае, когда рисунок из нанесенного клея содержит множество отдельных мест нанесения клея, количество мест нанесения клея на единицу площади должно составлять от 25 до 350000, предпочтительно от 300 до 180000 и более предпочтительно от 800 до 50000 мест нанесения клея на один м2. Согласно одному варианту осуществления изобретения размер каждого места нанесения клея составляет от 0,15 до 150 мм2, предпочтительно от 0,5 до 100 мм2 и более предпочтительно от 1 до 15 мм2. Согласно другому варианту осуществления изобретения размер каждого места нанесения клея составляет от 150 до 400 мм2, при этом клей наносят в виде определенных составных рисунков, содержащих тонкие линии шириной, например, 1 мм, образующие, например, знак или изобразительный рисунок. В таком варианте воплощения изобретения количество мест нанесения клея на один м2 будет находиться в нижней части вышеуказанного интервала, например меньше чем 800.
В случае больших мест нанесения клея могут быть использованы растровые рисунки, означающие, что каждая единица рисунка из нанесенного клея представляет собой совокупность множества небольших растровых точек. В этом случае размер места нанесения клея определяется как очерченная площадь сочетания растровых точек, образующих единицу рисунка из нанесенного клея.
Согласно другому варианту осуществления изобретения рисунок из нанесенного клея состоит из непрерывных линий, образующих, например, сетку.
Предпочтительные клеи – это те клеи, которые обычно используют для бумаги, как, например, карбоксиметилцеллюлоза (КМЦ), поливиниловый спирт (ПВС), сополимер этилена и винилацетата (СЭВА), поливинилацетат (ПВА), сополимер этилена и акриловой кислоты, сополимер винилацетата и акриловой кислоты, сополимер стирола и акриловой кислоты, полиуретан, поливинилиденхлорид, крахмал, химически модифицированный крахмал, дестрин, водорастворимые полимеры, как, например, латексы и мутные коллоиды, в которых взвешены в воде натуральный или синтетический каучук или пластмасса. В случае использования полотен из других материалов, чем бумага, конечно, выбирают клеи, пригодные для этих материалов.
Предпочтительно использовать клеи, имеющие сравнительно высокое содержание сухого вещества, так как это дает возможность для четкого размещения мест нанесения клея.
Можно также использовать окрашенные клеи, которые придают материалу визуальный эффект и тем самым украшающий эффект.
На фиг.2 показан пример двухслойной бумаги, которая изготовлена согласно изобретению и на которой места нанесения клея между двумя слоями бумаги 1 и 10 обозначены позицией 17. Между местами 17 нанесения клея бумажные слои 1 и 10 остаются свободными и не скреплены друг с другом, при этом образуются пустые пространства 18, которые увеличивают объем и абсорбционную способность материала, т.е. те свойства, которые имеют важное значение, например, для мягкой бумаги. После наслоения, по существу, сохраняется весь объем из отдельных слоев. На втором бумажном полотне 10 непосредственно против мест нанесения клея имеются небольшие оттиски 19, образованные валиком 13 с рисунком.
На фиг.3а-с показано несколько примеров рисунков из нанесенного клея, при этом разные рисунки образованы отдельными местами 17 нанесения клея в виде точек или линий. Кроме того, места 17 нанесения клея могут быть в виде непрерывных линий для образования, например, сетчатого рисунка.
Бумажные полотна 1 и 10, подлежащие наслоению, могут быть или ровными, или иметь трехмерный рисунок, образованный ранее в технологическом процессе, например, во время формования, обезвоживания и/или сушки бумажного полотна. Трехмерный рисунок может быть также образован посредством тиснения сухих бумажных полотен до их наслоения. Способ согласно изобретению очень подходит для такого рисунка, который сохраняется, по существу, неизменным во время процесса наслоения.
На фиг.4 показан вариант выполнения трехслойной бумаги, в которой слои 1, 10 и 20 до их наслоения подвергали трехмерному формованию, например тиснению. Рисунки, образованные при тиснении, – разные, так что рисунок среднего слоя 10 крупнее, чем рисунки двух наружных слоев 1 и 20. В таком случае получается очень объемное изделие. Как показано, места 17 нанесения клея между слоями 1 и 10 могут быть смещены относительно мест нанесения клея между слоями 10 и 20 или могут быть расположены непосредственно против друг друга. Конечно, могут быть использованы другие сочетания разных рисунков, полученных при тиснении, чем то, которое показано на фиг.4. Могут быть созданы многослойные изделия с разными рисунками на противоположных сторонах, если два наружных слоя имеют разные рисунки тиснения, как, например, одну сторону с более крупным рисунком и одну сторону с более ровным рисунком. Кроме того, могут быть использованы т.н. рисунки микротиснения. Более того, один или несколько слоев могут быть нетиснеными, а в случае изготовления двухслойного изделия получают двухстороннее изделие, если один слой является тисненым, а другой слой – нетисненым или имеющим другую структуру тиснения.
Кроме того, рисунки тиснения, используемые для разных слоев, могут быть одинаковыми. В этом случае слои могут быть совместно тиснеными и затем отделенными друг от друга до их наслоения способом согласно изобретению. Более того, они могут быть раздельно тиснеными до наслоения.
Важное преимущество изобретения заключается в том, что при этом способе наслоения бумага, по существу, сохраняет свои прочностные свойства. При многих других способах наслоения, при которых осуществляют тиснение и деформацию бумажных полотен в связи с их наслоением, уменьшаются прочностные свойства. В случае, если наслоенное многослойное полотно имеет, по существу, ровный рисунок, оно может быть переработано в плотные рулоны или сложенные изделия, что означает экономию в пространстве и расходах.
Кроме того, вследствие прочного соединения слоев, обеспечиваемого местами нанесения клея, наслоенное многослойное изделие при желании можно подвергнуть тиснению после процесса наслоения, тем самым образуя более мягкий материал. Эффективное соединение слоев достигается вследствие эффекта отчетливого склеивания, обеспечиваемого вторым валиком 13 с рисунком, вращающимся в точном совпадении с валиком 4 для нанесения клея. Этот эффект соединения слоев не уменьшается при переработке бумажного изделия, например при сматывании в рулоны, что может происходить в случае соединения слоев тиснением.
Конечно, вышеописанным способом могут быть наложены один на другой три или большее число бумажных слоев. Таким образом, в первый и/или второй зазор можно вводить два или большее число слоев.
В разных слоях могут быть использованы различные сорта бумаги с разными свойствами в отношении абсорбционной способности, базового веса, способа их изготовления, состава волокон и химических добавок.
Кроме того, способ пригоден для использования с бумажными слоями, имеющими отверстия, так как основная часть отверстий будет оставаться целой на протяжении всего процесса наслоения и не будет заполняться клеем, что обычно происходит в случае склеивания слоев.
Кроме того, по меньшей мере, один бумажный слой может быть усилен тонкими полосками клея или отверждаемого клеящего вещества, как например, латекса. Усиление может быть выполнено, например, снаружи слоистого изделия после процесса наслоения и в точном согласовании с этим процессом. В случае использования отверждаемого клеящего вещества его отверждают после процесса наслоения, например, термообработкой. При усилении бумажных слоев этим способом могут быть применены очень тонкие материалы, которые в противном случае было бы невозможно использовать ввиду того, что они имеют недостаточную прочность для обращения с ними при процессе переработки или в раздатчике.
Многослойное полотно может быть использовано для изготовления любого заданного изделия, как, например, рулонов, сложенных полотенец, материалов для вытирания, носовых платков, прокладок и т.п. Было бы полезно использовать многослойное полотно согласно изобретению в т.н. рулонах без сердечников и с центральной выдачей, в которых бумага отбирается из центра рулона. В рулоне из обычного многослойного полотна, в котором слои соединены посредством тиснения, самые внутренние витки сдавлены весьма сильно, так что тиснение оказывается более или менее нарушенным, а изделие – неудовлетворительным. С другой стороны, при изготовлении многослойного полотна согласно изобретению процесс наложения слоев один на другой отделен от какого-либо структурирования, например, тиснением и т.п., так что самые внутренние витки рулона без сердечника будут обеспечивать получение полезного изделия.
Формула изобретения
1. Способ изготовления многослойного полотна (14) из гибкого материала, такого, как бумага и нетканый материал, посредством склеивания слоев, отличающийся тем, что первый валик (5) с рисунком, имеющий трехмерный рисунок из чередующихся рельефных (6) и углубленных (7) участков, вводят в соприкосновение с устройством (4) для нанесения клея; наносят клей на первый полотнообразный гибкий материал (1) в первом зазоре (8) по рисунку, соответствующему конфигурации вершин рельефных участков (6), при этом конфигурацию рисунка первого валика (5) с рисунком выбирают таким образом, чтобы наносить клей на указанный первый полотнообразный гибкий материал (1) в местах (17) нанесения клея, покрывающих площадь, соответствующую от 0,03 до 9% от общей площади первого полотнообразного гибкого материала (1), и разреженно распределенных, по существу, по всей площади первого полотнообразного гибкого материала (1), второй полотнообразный гибкий материал (10) вводят в соприкосновение со стороной указанного первого полотнообразного материала (1), на которую нанесен клей, во втором зазоре (12) между вторым валиком (13), имеющим трехмерный рисунок из чередующихся рельефных (14) и углубленных (15) участков, соответствующий рисунку указанного первого валика (5) с рисунком, и прижимным валиком (9), при этом натяжения указанных первого и второго полотнообразных гибких материалов (1, 10) являются, по существу, одинаковыми, когда их подают во второй зазор (12), а первый и второй валики (5, 13) с рисунками находятся в точном совпадении друг с другом, так что первый и второй полотнообразные гибкие материалы (1, 10) объединяют и склеивают вместе по рисунку, соответствующему конфигурации вершин рельефных участков (6) указанного первого валика (5) с рисунком.
2. Способ по п.1, отличающийся тем, что клей наносят на указанный первый полотнообразный гибкий материал (1) в местах (17) нанесения клея, покрывающих площадь, составляющую от 0,1 до 6% от общей площади первого полотнообразного гибкого материала (1).
3. Способ по п.1 или 2, отличающийся тем, что рисунок, образуемый рельефными участками (14) второго валика (13) с рисунком, имеет большую площадь, чем площадь рисунка, образуемого рельефными участками (6) первого валика (5) с рисунком, так что рисунок второго валика (13) с рисунком выступает за пределы мест (17) несения клея, образуемых первым валиком (5) с рисунком.
4. Способ по п.1 или 2, отличающийся тем, что в качестве клея используют окрашенный клей.
5. Способ по п.1 или 2, отличающийся тем, что, по меньшей мере, на одном полотнообразном гибком материале (1, 10) перед наслоением на противолежащий полотнообразный гибкий материал формируют трехмерный рисунок, выполняемый на влажном полотнообразном гибком материале во время сушки влажного материала и/или в его сухом состоянии.
6. Способ по п.5, отличающийся тем, что, по меньшей мере, на двух полотнообразных гибких материалах (1, 10) перед наслоением формируют трехмерный рисунок, при этом рисунки формируются, по меньшей мере, на двух материалах, имеющих разные структуры, например один рисунок является сравнительно мелким, а другой – сравнительно крупным.
7. Способ по п.1 или 2, отличающийся тем, что, по меньшей мере, один полотнообразный гибкий материал усиливают полосками клея или отверждаемого клеящего вещества, например латекса.
8. Способ по п.7, отличающийся тем, что указанное клеящее вещество отверждают после процесса наслоения.
9. Способ по п.1 или 2, отличающийся тем, что размер каждого места (17) нанесения клея составляет от 0,15 до 150 мм2, предпочтительно от 0,5 до 100 мм2 и более предпочтительно от 1 до 15 мм2.
10. Способ по п.9, отличающийся тем, что размер каждого места (17) нанесения клея составляет от 150 до 400 мм2.
11. Способ по п.9 или 10, отличающийся тем, что количество мест (17) нанесения клея на единицу площади составляет от 25 до 350000, предпочтительно от 300 до 180000 и более предпочтительно от 800 до 50000 мест нанесения клея на 1 м2.
12. Изделие из полотнообразного материала, такое, как рулон, сложенное полотенце, материал для вытирания, носовой платок, прокладка, отличающееся тем, что указанным полотнообразным материалом является многослойное полотно, полученное способом по любому из пп.1-11.
13. Изделие по п.12, отличающееся тем, что является рулоном без сердечника и с центральной выдачей.
14. Изделие по п.12 или 13, отличающееся тем, что указанным полотнообразным материалом является тонкая бумага.
РИСУНКИ
|
|