|
|
(21), (22) Заявка: 2004105158/02, 22.07.2002
(24) Дата начала отсчета срока действия патента:
22.07.2002
(30) Конвенционный приоритет:
23.07.2001 DE 10135845.8
(43) Дата публикации заявки: 10.06.2005
(46) Опубликовано: 10.06.2007
(56) Список документов, цитированных в отчете о поиске:
US 2363437 A, 21.11.1944. US 2369408 A, 13.02.1945. SU 1038213 A1, 30.08.1983. RU 2008183 C1, 28.02.1994. SU 1220762 A1, 30.03.1986. RU 2140846 C1, 10.11.1999.
(85) Дата перевода заявки PCT на национальную фазу:
24.02.2004
(86) Заявка PCT:
DE 02/02671 (22.07.2002)
(87) Публикация PCT:
WO 03/011525 (13.02.2003)
Адрес для переписки:
129010, Москва, ул. Б.Спасская, 25, стр.3, ООО “Юридическая фирма Городисский и Партнеры”, пат.пов. Е.И.Емельянову
|
(72) Автор(ы):
АРТМАНН Йозеф (DE)
(73) Патентообладатель(и):
ШЛИК РОТО-ДЖЕТ-МАШИНЕНБАУ ГМБХ (DE)
|
(54) УЗЕЛ ЛОПАСТНОГО РАБОЧЕГО КОЛЕСА
(57) Реферат:
Изобретение относится к узлу лопастного рабочего колеса для обработки поверхности изделий с помощью средств для струйной обработки. Узел содержит подводящую трубу и примыкающую к ней неподвижную огибающую трубу с соплом для средства для струйной обработки, лопастное рабочее колесо и распределительный элемент. Лопастное рабочее колесо выполнено в виде нескольких радиально расположенных забрасывающих лопастей, закрепленных на одной стороне диска с возможностью получения между каждыми двумя забрасывающими лопастями области отбрасывания средства для струйной обработки. Распределительный элемент выполнен в виде нескольких направляющих перемычек с поперечным сечением в форме звезды и с возможностью вращения. Распределительный элемент проходит соосно лопастному рабочему колесу и соединен с последним без возможности проворачивания один относительно другого. Каждая направляющая перемычка распределительного элемента примыкает к соответствующей забрасывающей лопасти лопастного рабочего колеса. Упомянутые направляющие перемычки выполнены из условия образования между ними направляющих каналов распределительного элемента. Каждый из направляющих каналов выходит во внутреннюю область отбрасывания средства для струйной обработки лопастного рабочего колеса. Сопло огибающей трубы выполнено с возможностью выхода в направляющий канал. В результате предотвращаются завихрения-турбулентности, и сводится к минимуму трение и износ в узле лопастного рабочего колеса. 11 з.п. ф-лы, 3 ил.
Изобретение относится к узлу лопастного рабочего колеса для обработки поверхности изделий с помощью средств для струйной обработки, содержащему подающую трубу для средства для струйной обработки, лопастное рабочее колесо, состоящее из нескольких расположенных в радиальном направлении забрасывающих лопастей, закрепленных, по меньшей мере, на одном боковом диске, причем, соответственно, между каждыми двумя забрасывающими лопастями заключена область для отбрасывания средства для струйной обработки.
Для обработки поверхностей изделий частицы средства для струйной обработки с помощью лопастных рабочих колес ускоряются до высоких скоростей, при попадании на деталь они оказывают абразивное действие, т.е. отделяют от поверхности, например, ржавчину, окалину или старое лакокрасочное покрытие, или изменяют структуру поверхностных слоев, например, при (Shot-Peening) обработке дробью. Известные лопастные рабочие колеса устроены таким образом, что средство для струйной обработки через подводящую трубу для средства для струйной обработки направляется на распределительный элемент или крыльчатку, где оно подвергается ускорению. Распределительный элемент или крыльчатка окружены направляющим кожухом для струи, который имеет отверстие направляющего кожуха для струи. Через отверстие направляющего кожуха для струи средство для струйной обработки подается во внутреннюю область между забрасывающими лопастями. Там оно вследствие воздействия инерционных и динамических сил с имеющейся радиальной скоростью попадает во внешнюю область отбрасывания средства для струйной обработки, а затем к периферии лопастного колеса, где оно отбрасывается с окружной скоростью, имеющейся на окружной поверхности лопастного колеса.
При исследованиях выяснилось, что пути течения средства для струйной обработки внутри турбины для струйной обработки подвергаются воздействию сильной турбулентности и значительно отклоняются от свойств потока, принятых в качестве модели и положенных в основу при конструировании известных узлов лопастных рабочих колес. Турбулентность сильно тормозит движение средства для струйной обработки внутри лопастного рабочего колеса и к тому же способствует повышенному износу вследствие сильного эффекта рассеивания. Так, например, можно констатировать износ теоретически свободных от воздействия средства для струйной обработки обратных сторон забрасывающих лопастей, который связан с хаотическим движением средства для струйной обработки, в частности, в области отбрасывания средства для струйной обработки между двумя забрасывающими лопастями.
Эта проблема лежит также в основе узла лопастного рабочего колеса согласно указанному типу, известного из патента ФРГ DE 19536723 А1. Там предлагают выполнять крыльчатку в виде вспомогательного лопастного рабочего колеса. Благодаря этому достигается эксцентрическая подача средства для струйной обработки. Средство для струйной обработки, таким образом, уже перед его вступлением в область отбрасывания средства для струйной обработки должно двигаться по круговой траектории, и при выходе из распределительного элемента через отверстие направляющего кожуха выполнять спиралеобразное движение, благодаря чему в значительной степени должна предотвращаться возможность соударений с забрасывающими лопастями. Для дальнейшего канализирования движения средства для струйной обработки согласно уровню техники все же требуются дополнительные вспомогательные забрасывающие лопасти между забрасывающими лопастями, благодаря чему увеличивается число изнашиваемых частей. К тому же благодаря вспомогательным элементам канализирования лишь смягчается воздействие хаотического движения средства для струйной обработки, не оказывая большого противодействия вызывающим его причинам. Как и прежде требуется направляющий кожух для струи, чтобы воздействовать на положение и ширину сектора, подвергаемого струйной обработке.
В патенте ФРГ DE 19838733 С1 приводится другое устройство, работающее по принципу эксцентрической подачи средства для струйной обработки, при котором питающее отверстие подающей трубы для средства для струйной обработки эксцентрически попадает на вспомогательное лопастное колесо, так что средство для струйной обработки вводится непосредственно в камеры лопастей вспомогательного лопастного колеса. Указанные выше недостатки, а именно лишь простое ослабление хаотического движения средства для струйной обработки и требование направляющего кожуха для струи, здесь также имеют место.
Из патента US 2363437 известен узел лопастного рабочего колеса, в котором тоже предусмотрен эксцентрический подвод средства для струйной обработки через трубопровод. Такая подача средства для струйной обработки происходит непосредственно в камеры лопастей, причем забрасывающие лопасти для отклонения падающего вниз средства для струйной обработки на своих периферийных концах выполнены изогнутыми. Однако средство для струйной обработки отбрасывается на лопасти и их концы, что ведет к турбулентностям.
Поэтому ставится задача усовершенствовать узел лопастного рабочего колеса указанного вначале вида таким образом, чтобы средство для струйной обработки попадало в область отбрасывания средства для струйной обработки по определенной траектории истечения, и сводились к минимуму трение и износ, вызываемые турбулентным движением.
Эта задача в узле лопастного рабочего колеса для обработки поверхности изделий средствами для струйной обработки, содержащем подводящую трубу для средства для струйной обработки, лопастное рабочее колесо, состоящее из нескольких радиально расположенных забрасывающих лопастей, которые закреплены, по меньшей мере, с одной стороны диска, причем между каждыми двумя забрасывающими лопастями заключена область отбрасывания средства для струйной обработки, согласно изобретению решается тем, что распределительный элемент с выполненным в виде звезды, образованным из нескольких направляющих перемычек поперечным сечением проходит соосно лопастному рабочему колесу и соединен с ним без возможности проворачивания относительно друг друга, причем распределительный элемент выполнен вращающимся и окружен неподвижной огибающей трубой, которая имеет выемку, к которой примыкает подводящая труба для средства для струйной обработки, при этом каждая направляющая перемычка распределительного элемента примыкает к соответствующей забрасывающей лопасти лопастного рабочего колеса, и причем каждый образованный между направляющими перемычками направляющий канал распределительного элемента выходит во внутреннюю область отбрасывания средства для струйной обработки лопастного рабочего колеса.
Оказалось, что упорядоченного движения истечения можно достичь с помощью отказа от дополнительных элементов, как, например, от направляющего кожуха для струи и крыльчатки. Средство для струйной обработки попадает в распределительный элемент с расположенными эксцентрически направляющими каналами для средства для струйной обработки и направляется там по более длинному пути. Вследствие этого в узких направляющих каналах для средства для струйной обработки разрушаются еще имеющиеся турбулентности, и средству для струйной обработки сообщается принудительное направленное движение. Благодаря соединению без возможности проворачивания между распределительным элементом и лопастным рабочим колесом при узле лопастного рабочего колеса согласно изобретению исключаются поверхности соударения в направлении истечения после того, как средство для струйной обработки сразу вошло в направляющие каналы для средства для струйной обработки. Вместо этого достигается плавное отклонение средства для струйной обработки по большим радиусам и скосам. Направляющие перемычки примыкают непосредственно к забрасывающим лопастям. Направляющие каналы для средства для струйной обработки распределительного элемента впадают в виде воронки в области отбрасывания средства для струйной обработки лопастного рабочего колеса и повторяют естественное движение истечения.
С помощью направленного истечения средства для струйной обработки, обусловленного изобретением, дополнительно достигается следующее:
определенное количество средства для струйной обработки подается в виде струи из подводящей трубы в направляющий канал для средства для струйной обработки. Так как больше не возникает никакой турбулентности, то эта порция средства для струйной обработки вплоть до входа в область отбрасывания средства для струйной обработки проходит заданный конструктивно путь истечения, для чего ей требуется определенное, устанавливаемое эмпирическим путем время воздействия.
Благодаря управляемому в отношении времени и/или места направлению средства для струйной обработки из подводящей трубы в один из направляющих каналов для средства для струйной обработки можно, таким образом, оказывать влияние на то, в какой момент времени и/или в каком месте эта порция попадает в область отбрасывания средства для струйной обработки и в конечном итоге отбрасывается. Таким образом, можно отказаться от требуемого согласно уровню техники направляющего кожуха для струи с отверстием направляющего кожуха для ограничения подвергаемого струйной обработке сектора. Скорость истечения можно изменять, например, путем изменения числа оборотов лопастного рабочего колеса, благодаря чему можно оказать влияние на место и время отбрасывания.
В особенно предпочтительной форме выполнения подводящая труба для средства для струйной обработки установлена под углом 45°-90° относительно оси вращения и впадает в, по меньшей мере, один направляющий канал для средства для струйной обработки на окружной поверхности распределительного элемента. Тем самым осуществляется выдача порции средства для струйной обработки одновременно одной струей. При вращающемся распределительном элементе выдача может осуществляться также очень быстро: открытый по бокам направляющий канал для средства для струйной обработки захватывает порцию из подводящей трубы и вращается дальше. Подоспевающие с вращением направляющие перемычки кратковременно перекрывают вытекание из подводящей трубы, пока перед подводящей трубой не окажется следующий порожний направляющий канал для средства для струйной обработки.
Предпочтительной является другая форма выполнения изобретения, при которой подводящая труба для средства для струйной обработки установлена с возможностью смещения, по меньшей мере, вдоль части оси распределительного элемента. Это имеет то преимущество по сравнению с воздействием путем изменения числа оборотов, что эффект, получаемый от смещения места подачи, можно определять непосредственно, в то время как при изменении числа оборотов каждый раз следует подождать достижения нового числа оборотов.
На количество средства для струйной обработки, которое отбрасывается каждой забрасывающей лопастью, и таким образом на подвергаемый с помощью узла лопастного рабочего колеса струйной обработке сектор оказывает влияние длина выдаваемой порции.
Поэтому предпочтительно, если подводящая труба для средства для струйной обработки имеет выходное сопло, которое может регулироваться в отношении ширины в свету, так чтобы можно было подавать различные по длине потоки средства для струйной обработки, которые приводят к изменению длины сформированной струи.
Другие предпочтительные варианты выполнения изобретения раскрыты в других зависимых пунктах формулы изобретения и в приведенных далее примерах выполнения, которые поясняются более подробно на основе чертежей. Показывают:
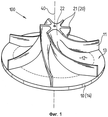
фиг.1 – узел лопастного рабочего колеса в перспективном изображении,
фиг.2 – узел лопастного рабочего колеса в разрезе по оси вращения и
фиг.3 – узел лопастного рабочего колеса на виде сверху.
Как показывает фиг.1, в узле лопастного рабочего колеса 10 согласно изобретению направляющие перемычки 21 распределительного элемента 20 и забрасывающие лопасти 11 лопастного рабочего колеса 10 переходят друг в друга. Направляющие каналы 22 для средства для струйной обработки воронкообразно впадают во внутреннюю область 12 отбрасывания средства для струйной обработки, которая находится, соответственно, между забрасывающими лопастями 11. Плавные, сильно скругленные пути истечения делают возможным направленный поток средства для струйной обработки и не позволяют даже возникнуть сильной турбулентности. Благодаря эксцентрически размещенным и относительно узким в поперечном сечении направляющим каналам 22 для средства для струйной обработки средство для струйной обработки постоянно направляется вдоль периферии распределительного элемента 20 вплоть до лопастного рабочего колеса 10 и вынуждено перемещаться по заданному пути истечения. Внутренняя область 12 отбрасывания средства для струйной обработки переходит бесшовно во внешнюю область 13 отбрасывания средства для струйной обработки, которая тянется вплоть до края лопастного рабочего колеса 10. В то время как внутренняя область 12 отбрасывания средства для струйной обработки сформирована предпочтительно в виде желоба и установлена наклонно по отношению к оси 40 вращения, с тем, чтобы достичь, по возможности, плавного перехода от направляющих каналов 22 для средства для струйной обработки во внутренние области 12 отбрасывания средства для струйной обработки, внешняя область 13 отбрасывания средства для струйной обработки направлена под углом 90° относительно оси вращения в целях обеспечения того, чтобы средство для струйной обработки отбрасывалось под прямым углом относительно оси вращения.
Распределительный элемент 20 выполнен предпочтительно по типу зубчатого колеса с косым зубом или транспортного шнека. Возможным является также скручивание распределительного элемента 20 либо на части его длины, либо по всей длине. Благодаря этому достигается то, что направляющие каналы 22 для средства для струйной обработки установлены наклонно относительно оси 40 вращения, и при вращающемся распределительном элементе 20 благодаря подъему направляющих перемычек 21 создается осевой принудительный поток в направлении лопастного рабочего колеса 10, если даже ось 40 вращения расположена горизонтально.
На фиг.2 показан предпочтительный вариант выполнения узла 100 лопастного рабочего колеса, при котором выдача средства для струйной обработки осуществляется на периферии распределительного элемента 20. Вращающийся распределительный элемент 20 окружен неподвижной огибающей трубой 32, которая имеет выемку, к которой примыкает подводящая труба 30 для средства для струйной обработки. Подводящая труба 30 для средства для струйной обработки снабжена соплом 32, имеющим регулируемые направляющие пластинки 33, чтобы можно было регулировать длину подаваемого потока средства для струйной обработки. В положении, представленном на фиг.2, сопло 32 выходит в направляющий канал 22 для средства для струйной обработки. При дальнейшем вращении распределительного элемента 20 подача средства для струйной обработки на короткое время прерывается с помощью направляющей перемычки 21, которая перемещается перед соплом 32. Затем заполняется следующий направляющий канал 21 для средства для струйной обработки.
Лопастное рабочее колесо 10 вместе с поворотным распределительным элементом 20 выполнены в виде крыльчатки насоса и действуют при высоком числе оборотов как воздушный насос, так что средство для струйной обработки может подсасываться от точки выдачи вдоль направляющих каналов 22 для средства для струйной обработки.
На фиг.3 схематически представлено, как порция 50.1 средства для струйной обработки в виде струи протекает из направляющего канала 22 для средства для струйной обработки в область 12 отбрасывания средства для струйной обработки и там движется вдоль отбрасывающей лопасти 11. Порция 50.2 средства для струйной обработки достигла уже наружной окружной поверхности лопастного рабочего колеса 10 и начинает как раз отбрасываться. Порция 50.3 средства для струйной обработки почти полностью отброшена. Образуется сектор 52, подвергнутый струйной обработке.
При варианте выполнения согласно фиг.3 распределительный элемент 20 вставлен в лопастное рабочее колесо 10 в виде отдельной части и примыкает к нему бесшовно. Обе части соединены друг с другом таким образом, что не может последовать никакого проворачивания распределительного элемента 20 относительно лопастного рабочего колеса 10. В целях ухода и в случае износа, однако, компоненты можно отделить друг от друга. Это действительно также для отбрасывающих лопастей 11, которые известным способом закреплены на боковом диске 14 с возможностью разъема.
Формула изобретения
1. Узел лопастного рабочего колеса для обработки поверхности изделий средствами для струйной обработки, содержащий подводящую трубу для средства для струйной обработки, лопастное рабочее колесо в виде нескольких радиально расположенных забрасывающих лопастей, закрепленных, по меньшей мере, с одной стороны диска с получением между каждыми двумя забрасывающими лопастями области отбрасывания средства для струйной обработки, отличающийся тем, что он снабжен распределительным элементом, выполненным с возможностью вращения и с поперечным сечением в форме звезды, образованным из нескольких направляющих перемычек, который проходит соосно с лопастным рабочим колесом и соединен с последним без возможности проворачивания один относительно другого, и неподвижной огибающей трубой с соплом, имеющей выемку, к которой примыкает подводящая труба для средства для струйной обработки, при этом каждая направляющая перемычка распределительного элемента примыкает к соответствующей забрасывающей лопасти лопастного рабочего колеса, причем каждый образованный между направляющими перемычками направляющий канал распределительного элемента выходит во внутреннюю область отбрасывания средства для струйной обработки лопастного рабочего колеса, а сопло огибающей трубы выполнено с возможностью выхода в направляющий канал.
2. Узел по п.1, отличающийся тем, что подводящая труба для средства для струйной обработки установлена под углом 45-90° к оси вращения распределительного элемента и входит, по меньшей мере, в один направляющий канал для средства для струйной обработки на окружной поверхности распределительного элемента.
3. Узел по п.2, отличающийся тем, что подводящая труба для средства для струйной обработки установлена с возможностью смещения, по меньшей мере, вдоль части оси распределительного элемента.
4. Узел по п.2 или 3, отличающийся тем, что подводящая труба для средства для струйной обработки имеет огибающую трубу с соплом с регулируемой шириной.
5. Узел по п.4, отличающийся тем, что подводящая труба для средства для струйной обработки имеет огибающую трубу с соплом, высота раскрытия которого соответствует ширине периферийной части направляющего канала для средства для струйной обработки.
6. Узел по п.1, отличающийся тем, что направляющие каналы для средства для струйной обработки выполнены длиной, составляющей от 1 до 5 высот забрасывающих лопастей.
7. Узел по п.1, отличающийся тем, что направляющие перемычки установлены наклонно к оси вращения распределительного элемента с образованием распределительным элементом формы в виде зубчатого колеса с косым зубом.
8. Узел по п.1, отличающийся тем, что направляющие перемычки распределительного элемента по его длине повернуты относительно друг друга между осевыми концами распределительного элемента с образованием распределительным элементом спиралеобразной конфигурации.
9. Узел по п.1, отличающийся тем, что лопастное рабочее колесо и распределительный элемент выполнены как одно целое.
10. Узел по п.1, отличающийся тем, что лопастное рабочее колесо и распределительный элемент соединены друг с другом с возможностью разъема.
11. Узел по п.1 или 2 отличающийся тем, что плоскость внутренней области отбрасывания средства для струйной обработки расположена под углом 45-85° к оси вращения распределительного элемента.
12. Узел по п.1, отличающийся тем, что забрасывающие лопасти выполнены прямыми и расположены на диске в радиальном направлении.
РИСУНКИ
|
|