|
|
(21), (22) Заявка: 2005100341/02, 11.01.2005
(24) Дата начала отсчета срока действия патента:
11.01.2005
(43) Дата публикации заявки: 20.06.2006
(46) Опубликовано: 10.06.2007
(56) Список документов, цитированных в отчете о поиске:
SU 869941 А, 07.10.1981. SU 256175 А, 04.11.1969. SU 346907 А, 05.04.1977. SU 1080918 А, 23.03.1984. RU 2118227 С1, 27.08.1998. US 3478814 A, 18.11.1969.
Адрес для переписки:
398050, г.Липецк, пл. Плеханова, 5, Межрегиональный общественный фонд “Социально-духовное развитие”
|
(72) Автор(ы):
Бирюков Николай Иванович (RU), Башилов Николай Михайлович (RU), Коршиков Владимир Дмитриевич (RU), Карташов Вячеслав Иванович (RU), Ильин Игорь Александрович (RU), Долинюк Владимир Иванович (RU)
(73) Патентообладатель(и):
Межрегиональный общественный фонд “Социально-духовное развитие” (RU)
|
(54) СПОСОБ ОХЛАЖДЕНИЯ И УПРОЧНЕНИЯ ГРАФИТОВОГО ДОРНА ПРИ НЕПРЕРЫВНОМ ЛИТЬЕ ПОЛЫХ МЕТАЛЛИЧЕСКИХ ЗАГОТОВОК ЧЕРЕЗ ГОРИЗОНТАЛЬНЫЙ КРИСТАЛЛИЗАТОР
(57) Реферат:
Изобретение относится к литейному производству, в частности к изготовлению полых профилей равномерного сечения методом непрерывного литья на литейных машинах горизонтального типа. Подачу охлаждающей среды со стороны металлоприемника во внутреннюю полость дорна осуществляют по теплоизолированному трубопроводу. В качестве охлаждающей среды используют адиабатически расширяющийся в полости дорна сжатый воздух при его истечении из сопла подающего трубопровода, а поверхностный слой внутренней полости дорна упрочняют методом термодиффузионной металлизации. Изобретение повышает безопасность и надежность эксплуатации литейных машин. 1 ил.
Способ охлаждения и упрочнения графитового дорна при непрерывном литье полых металлических заготовок через горизонтальный кристаллизатор.
Изобретение относится к литейному производству, в частности к изготовлению полых профилей равномерного сечения методом непрерывного литья на литейных машинах горизонтального типа.
Известен способ охлаждения графитового дорна, сочлененного по внутренней полости с металлической оправкой, с использованием в качестве охлаждающей среды воды, с подводом ее в полость оправки дорна со стороны металлоприемника (А.С. СССР 256175, B22D 11/04, 1969 г.).
Недостатком этого способа является прохождение прямого трубопровода холодной воды к дорну и обратного (горячей воды) сквозь толщу расплава в металлоприемнике, что крайне нежелательно по соображениям производственной безопасности (не может быть исключена вероятность прорыва жидкого металла через нарушенный в процессе эксплуатации участок защитной оболочки трубопроводов с последующим паровым взрывом, сопровождающимся выбросом жидкого металла).
Известен способ водяного охлаждения графитового дорна в горизонтальном кристаллизаторе, в котором подвод и отвод охлаждающей среды производится попеременно в двух точках по длине дорна со стороны вытягивания слитка (А.С. СССР 346907, В22D 11/14, 1977 г.).
Недостатком этого способа является ненадежность в работе, невозможность получения длинных полных заготовок. Сборка системы охлаждения требует большей точности, а в процессе работы велика вероятность выхода ее из строя вследствие сильного нагрева заготовкой.
Известен способ охлаждения графитового дорна с металлической оправкой во внутренней полости с использованием в качестве охлаждающей среды водовоздушной смеси, образуемой путем дозированной подачи через смеситель в трубопровод холодной воды сжатого воздуха, при этом водовоздушная смесь подводится в полость дорна со стороны металлоприемника (А.С. СССР 869941, В22D 11/04, 1981 г.). Сжатый воздух используется здесь в качестве активатора теплообмена благодаря увеличению турбулентности омывающего полость дорна потока охлаждающей среды (возрастание критерия Рейнольдса Re), а сопутствующий эффект адиабатического охлаждения в связи с внезапным расширением сжатого воздуха при его истечении в полость дорна в данном случае незначителен. Основной недостаток этого способа тот же, что и по рассмотренному выше согласно А.С. 256175 – опасность парового взрыва в металлоприемнике.
Другим недостатком предложенных в А.С. 256175 и 869941 схем охлаждения является двухслойная конструкция дорна с сочленением внутренней конической поверхности графитового корпуса с полой, тоже конической металлической оправкой – во избежание непосредственного контакта воды с графитом, что привело бы к активной эрозии полости дорна из этого материала. Проблема в изготовлении и эксплуатации такого дорна заключается в необходимости достижения плотного контакта сопрягающихся поверхностей графитового корпуса и металлической оправки, гарантированного весьма точно исполненной взаимно отвечающей конусностью этих поверхностей и введением пружинного прижима оправки. При этом усилие от прижимного устройства, передающееся через оправку графитовой оболочке дорна, однонаправлено с воздействующим на нее усилием вытяжки закристаллизовавшегося слитка, складывается с ним, увеличивая вероятность обрыва дорна.
Из других областей металлургии известен способ охлаждения газово-жидкостной смесью конца копья, используемого для измерений свойств расплава, или кислородного копья (фурмы) для продувки расплава кислородом (патент Германии, С21С 5/46, F27D 9/00, номер и дата международной публикации WO 99/46412, 16.09.1999 г.). Применительно к назначению этих устройств указанные выше проблемы безопасности (паровой взрыв) практически отсутствуют, так как копья для измерений и кислородные фурмы вводятся в расплав сверху, кратковременно и периодически, а не в непрерывном режиме.
Задачей изобретения является повышение безопасности и надежности в эксплуатации литейных машин непрерывного литья горизонтального типа при изготовлении полых заготовок.
Поставленная задача достигается использованием известного термодинамического эффекта охлаждения при адиабатическом расширении сжатых газов.
Предлагаемый способ включает подачу охлаждающей среды со стороны металлоприемника во внутреннюю полость дорна по теплоизолированному трубопроводу, при этом в качестве охлаждающей среды используют адиабатически расширяющийся в полости дорна сжатый воздух при его истечении из сопла подающего трубопровода, а поверхностный слой внутренней полости дорна упрочняют методом термодиффузионной металлизации.
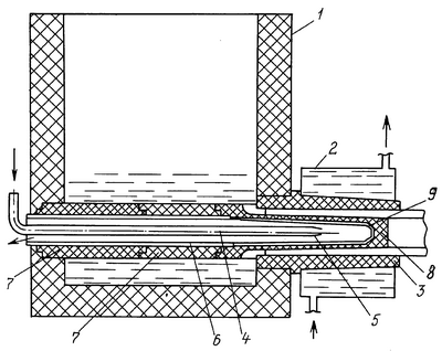
Реализуется предлагаемый способ благодаря тому, что известный горизонтальный кристаллизатор в виде металлической водяной рубашки с графитовым вкладышем – фильерой, формирующей наружную поверхность слитка, снабжен пустотелым графитовым дорном, внутренняя поверхность которого упрочнена методом термодиффузионной металлизации, а охладителем является расширяющийся при истечении из сопла в полость дорна сжатый воздух. Предложенный способ поясняется чертежом, на котором изображены: металлоприемник 1, водяная рубашка кристаллизатора 2, графитовая фильера 3, трубопровод подачи сжатого воздуха 4 с соплом 5, ограждающая труба 6 с теплоизоляционными катушками 7, пустотелый графитовый дорн 8 с металлизованным поверхностным слоем 9.
При допустимом давлении сжатого воздуха в пределах сетевого в литейных цехах (0,4…0,5 МПа) и без предварительного его охлаждения коэффициент теплоотдачи от внутренней поверхности дорна, как один из решающих факторов его стойкости на обрыв, безусловно будет уступать при водяном охлаждении. Компенсирующими эту разницу в уровне коэффициента являются др. факторы, присущие предлагаемому способу:
– исключение необходимости в металлической оправке в полости дорна и, соответственно, прижимного пружинного устройства, вектор усилия которого направлен на растяжение графитовой оболочки дорна, увеличивая вероятность его обрыва;
– диффузионно-металлизованный слой внутренней поверхности дорна, одновременно с предотвращением возможной ее эрозии от динамического воздействия при истечении сжатого воздуха с присутствием, хотя и незначительной, парофазы (при недостаточном предварительном осушении), является упрочняющей дорн армирующей оболочкой;
– аварийные издержки из-за отрыва дорна (энерго- и трудозатраты, связанные с приготовлением расплава на объем металлоприемника и с возобновлением работы литейной установки, расход графитового припаса, снижение производительности и пр.) могут предопределить экономическую обоснованность достаточно глубокого предварительного охлаждения сжатого воздуха через змеевик на его трубопроводе в специальной охладительной камере.
Следствием возможного аварийного прорыва сжатого воздуха в ванну металлоприемника при допустимом давлении в подающем трубопроводе (согласованном с ферростатическим напором над ним в конкретных условиях) будет безопасный барботаж расплава, сходный с имеющим место, например, при рафинирующей продувке жидкого металла аргоном или в кислородном конвертере.
Формула изобретения
Способ охлаждения и упрочнения графитового дорна при непрерывном литье полых металлических заготовок через горизонтальный кристаллизатор, включающий подачу охлаждающей среды со стороны металлоприемника во внутреннюю полость дорна по теплоизолированному трубопроводу, отличающийся тем, что в качестве охлаждающей среды используют адиабатически расширяющийся в полости дорна сжатый воздух при его истечении из сопла подающего трубопровода, а поверхностный слой внутренней полости дорна упрочняют методом термодиффузионной металлизации.
РИСУНКИ
|
|