|
|
(21), (22) Заявка: 2005132756/15, 25.10.2005
(24) Дата начала отсчета срока действия патента:
25.10.2005
(46) Опубликовано: 10.06.2007
(56) Список документов, цитированных в отчете о поиске:
SU 1681924 A1, 07.10.1991. SU 1212522 A, 23.02.1986. SU 553993 A, 17.05.1977. US 6206349 В1, 27.03.2001. US 6513795 В2, 04.02.2003. US 5523062 A, 04.06.1996. SU 1289536 A1, 15.02.1987. RU 2045333 C1, 10.10.1995.
Адрес для переписки:
105066, Москва, ул. Старая Басманная, 21/4, МГУ инженерной экологии, Проректору по научной работе А.В.Каталымову
|
(72) Автор(ы):
Дмитриева Галина Борисовна (RU), Беренгартен Михаил Георгиевич (RU), Пушнов Александр Сергеевич (RU), Поплавский Виктор Юлианович (RU)
(73) Патентообладатель(и):
Московский государственный университет инженерной экологии (RU)
|
(54) РЕГУЛЯРНАЯ НАСАДКА ДЛЯ ТЕПЛО- И МАССООБМЕННЫХ АППАРАТОВ
(57) Реферат:
Изобретение относится к конструкциям регулярных насадок, которые применяются в процессах ректификации, абсорбции, очистки и осушки природного газа, а также в качестве смесителей жидких и газовых потоков, в качестве разделителей фаз в сепарационных устройствах, в качестве контактных элементов в конденсаторах смешения, в качестве оросителей градирен и может найти применение практически во всех технологических процессах нефтяной, газовой, химической и других смежных отраслях промышленности. Регулярная насадка состоит из собранных в пакеты гофрированных листов, установленных вертикально и параллельно с наклоном гофр соседних листов под углом к горизонту в противоположные стороны, соприкасающихся выступающими гофрами друг с другом и образующих между собой свободные каналы сложной геометрической формы. Насадка снабжена проставками, выполненными в виде блока горизонтально уложенных в ряды параллельно друг другу объемных элементов, причем оси симметрии элементов, лежащих в соседних по высоте рядах, взаимно перпендикулярны. Отношение высоты пакета из гофрированных листов к высоте блока проставки находится в пределах 2-5. Общая высота блока проставок находится в пределах 1,0-4,0 эквивалентных диаметров одного элемента. Эквивалентный диаметр каналов пакета из гофрированных листов и эквивалентный диаметр элемента блока проставки находятся в соотношении 0,4-0,8. Элементы блока проставки представляют собой тела вращения, которые выполнены в виде многозаходных геликоидов, причем число заходов составляет 2-4. Элементы блока проставки уложены в ряды с зазором относительно друг друга, причем шаг, на расстоянии которого оси симметрии соседних элементов располагаются друг от друга, составляет 1,7-2,5 диаметра одного элемента. Изобретение позволяет повысить интенсивность процессов тепло- и массообмена за счет турбулизации газовых потоков и перераспределения жидкости. 3 з.п. ф-лы, 2 ил.
Изобретение относится к конструкциям регулярных насадок, которые применяются в процессах ректификации, абсорбции, очистки и осушки природного газа, а также в качестве смесителей жидких и газовых потоков, в качестве разделителей фаз в сепарационных устройствах, в качестве контактных элементов в конденсаторах смешения, в качестве оросителей градирен, и может найти применение практически во всех технологических процессах нефтяной, газовой, химической и других смежных отраслей промышленности.
Известна регулярная насадка фирмы «Глитч» (патент ЕР 0130745 А2, МПК: F28F 25/08, В01D 53/18, F28С 1/02 от 21.06.84), которая выполнена из вертикально установленных гофрированных листов, соприкасающихся выступающими гофрами друг с другом. Гофры соседних соприкасающихся друг с другом листов выполнены по диагонали в противоположных направлениях. Листы выполнены с отверстиями или просечками в виде арок, отогнутых треугольников, прямоугольников или четырехлистников, расположенными на сторонах гофр.
Известна регулярная насадка фирмы «Зульцер» (патент США №4643853, НКИ: 261-112 от 17.02.87), которая выполнена из вертикально установленных гофрированных листов, соприкасающихся выступающими гофрами друг с другом. Гофры на каждом из листов расположены по диагонали и выполнены с отверстиями или насечками вдоль или поперек гофр.
Недостатком таких насадок является то, что они недостаточно эффективно обеспечивают равномерное распределение газовых и жидкостных потоков по поперечному сечению аппарата.
Наиболее близкой к предлагаемому изобретению является регулярная насадка, которую содержит тепломассообменный аппарат (авторское свидетельство SU №1681924 A1, В01J 19/30 от 07.10.1991), состоящая из контактных пакетов, собранных из гофрированных листов, установленных вертикально и параллельно с наклоном гофр соседних листов под углом к горизонту в противоположные стороны, соприкасающихся выступающими гофрами друг с другом и образующих между собой свободные каналы сложной геометрической формы. Контактные пакеты насадки расположены по высоте аппарата с промежутками, в которых размещены перераспределительные пакеты или проставки, выполненные аналогично контактным пакетам из гофрированных листов, но имеющие меньшую высоту и меньший шаг гофрирования листов.
К недостаткам этой конструкции относится отсутствие перемешивания и турбулизации газовых и жидкостных потоков внутри контактных и перераспределительных пакетов насадки и, как следствие, несущественное повышение эффективности тепло- и массообменных процессов.
Также недостатком известных конструкций насадок является то, что их наибольшая тепло- и/или массообменная эффективность проявляется при проведении определенных технологических процессов, что ограничивает область их применения.
Задача изобретения:
– повысить интенсивность процессов тепло- и массообмена за счет турбулизации газовых потоков, поступающих из закрытых каналов пакета из гофрированных листов, с помощью дополнительной их закрутки и перемешивания в блоке проставки;
– создать дополнительную пленочно-капельную зону контакта фаз, что приведет к увеличению массообменной эффективности насадки и уменьшению капитальных затрат;
– повысить интенсивность процессов тепло- и массообмена за счет перераспределения и поперечного перемешивания жидкости, поступающей из закрытых каналов пакета из гофрированных листов, с помощью ее дополнительного перемещения в горизонтальном направлении в блоке проставки.
Технический результат, который может быть получен при использовании данного изобретения, заключается в достижении турбулизации потоков газа на входе в пакет регулярной насадки из гофрированных листов, получении дополнительной пленочно-капельной области взаимодействия газовой и жидкой фаз, достижении перемешивания жидкостных потоков в поперечном сечении аппарата перед входом в нижерасположенный пакет регулярной насадки из гофрированных листов и как следствие в повышении тепло- и массообменной эффективности известных регулярных насадок массообменных аппаратов и оросительных устройств градирен, а также в расширении сферы применения насадки.
Указанный технический результат достигается тем, что в регулярной насадке для тепло- и массообменных аппаратов, состоящей из расположенных с промежутками по высоте аппарата контактных пакетов, собранных из гофрированных листов, установленных вертикально и параллельно с наклоном гофр соседних листов под углом к горизонту в противоположные стороны, соприкасающихся выступающими гофрами друг с другом и образующих между собой свободные каналы сложной геометрической формы, и размещенных в промежутках по высоте между контактными пакетами блоков проставок, согласно изобретению блоки проставок выполнены в виде горизонтально уложенных в ряды параллельно друг другу объемных элементов, причем оси симметрии элементов, лежащих в соседних по высоте рядах, взаимно перпендикулярны, а общая высота блока проставок находится в пределах 1,0÷4,0 эквивалентных диаметров одного элемента, при этом отношение высоты пакета из гофрированных листов к высоте блока проставки находится в пределах 2÷5.
Эквивалентный диаметр каналов пакета из гофрированных листов и эквивалентный диаметр элемента блока проставки могут находиться в соотношении 0,4÷0,8.
Элементы блока проставки могут быть телами вращения, которые выполнены в виде многозаходных геликоидов, причем число заходов может составлять 2÷4.
Элементы блока проставки, представляющие собой многозаходные геликоиды, должны быть уложены в ряды с зазором относительно друг друга, причем шаг, на расстоянии которого оси симметрии соседних элементов располагаются друг от друга, может составлять 1,7÷2,5 диаметра одного элемента.
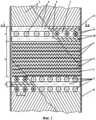
На фиг.1 изображена регулярная насадка, снабженная блоком проставки из объемных элементов, представляющих собой четырехзаходные геликоиды; на фиг.2 изображен в плане блок проставки из четырехзаходных геликоидов (разрез А-А фиг.1).
Регулярная насадка для тепло- и массообменных аппаратов состоит из контактных пакетов 1, собранных из гофрированных листов 2, установленных вертикально и параллельно с наклоном гофр 3 соседних листов под углом ( ) к горизонту в противоположные стороны, соприкасающихся выступающими гофрами 3 друг с другом и образующих между собой свободные каналы 4 сложной геометрической формы, и размещенных в промежутках по высоте аппарата 8 между контактными пакетами 1 блоков проставок 5, которые выполнены в виде горизонтально уложенных в ряды параллельно друг другу объемных элементов 7, причем оси симметрии 9 элементов 7, лежащих в соседних по высоте рядах 6, взаимно перпендикулярны, а общая высота блока проставок 5 (h) находится в пределах 1,0÷4,0 эквивалентных диаметров одного элемента 7, при этом отношение высоты пакета 1 из гофрированных листов 2 (Н) к высоте блока проставки 5 (h) находится в пределах 2÷5.
Компоновка регулярной насадки в аппарате 8 выполнена так, что эквивалентный диаметр каналов 4 пакета 1 из гофрированных листов 2 и эквивалентный диаметр элемента 7 блока проставки 5 находятся в соотношении 0,4÷0,8.
Элементы 7 блока проставки 5 выполнены, например, в виде многозаходных геликоидов 10, заходы 11 которых в количестве 2÷4 образуют спиралевидные каналы 12, причем геликоиды уложены в ряды 6 с шагом (t), составляющим 1,7÷2,5 диаметра (D) одного геликоида 10.
Регулярная насадка работает следующим образом. Жидкая фаза подается на верхний торец пакета 1, собранного из гофрированных листов 2 и стекает по их поверхности в виде тонкой пленки, контактируя с восходящими по свободным каналам 4 пакета 1, образованным взаиморасположением гофрированных листов 2, потоками газа, таким образом, массообмен между жидкостью и газом происходит в пленочном режиме. Расположение гофр 3 в листах 2 под углом к горизонту обеспечивает рациональное использование рабочего объема аппарата 8 вследствие увеличенного пути прохождения жидкости и ее эффективного перераспределения в местах соприкосновения гофр 3 соседних листов 2 пакета 1.
Пройдя пакет 1 из гофрированных листов 2, жидкость перетекает в блок проставки 5, выполненный, например, из уложенных в ряды 6 с зазором относительно друг друга многозаходных геликоидов 10. Жидкость растекается по поверхностям ребер 11 многозаходных геликоидов 10 верхнего ряда 6 блока проставки 5 в виде пленки, перемещаясь по сложной траектории, и подвергается взаимодействию с восходящими потоками газа. По мере накопления жидкости на поверхности ребер 11 геликоида 10 она срывается с них в виде капель и попадает на следующий нижележащий ряд 6 геликоидов 10, расположенных перпендикулярно геликоидам 10 верхнего ряда 6, и на третий ряд 6 геликоидов 10, размещенных аналогично геликоидам 10 верхнего ряда 6. В результате достигается перемешивание жидкости за счет переориентации ее движения, что способствует интенсификации тепло- и массообмена.
Газовые потоки попадают в блок проставки 5 из свободных каналов 4 нижерасположенного пакета 1 из гофрированных листов 2, закручиваются, попадая в спиралевидные каналы 12, образованные ребрами 11 геликоидов 10, и перетекают на следующий вышележащий ряд 6 геликоидов 10. Таким образом обеспечивается поперечное перемешивание газа и его турбулизация, а взаимодействие газа и жидкости в блоке проставки 5 носит пленочно-капельный характер, что повышает эффективность тепло- и массообмена между ними. Пройдя блок проставки 5, газ распределяется по свободным каналам 4 вышерасположенного пакета 1 из гофрированных листов 2, а жидкость растекается по поверхности гофрированных листов 2 пакета 1, расположенного ниже блока проставки 5.
Размещение проставок между пакетами из гофрированных листов позволяет:
– повысить интенсивность процессов тепло- и массообмена за счет турбулизации газовых потоков, поступающих из закрытых каналов расположенного ниже проставки пакета из гофрированных листов, с помощью дополнительной их закрутки и перемешивания в блоке проставки;
– создать дополнительную пленочно-капельную зону контакта фаз, что ведет к увеличению массообменной эффективности насадки и уменьшению капитальных затрат;
– повысить интенсивность процессов тепло- и массообмена за счет перераспределения жидкости, поступающей из закрытых каналов расположенного выше проставки пакета из гофрированных листов, с помощью ее дополнительного перемещения по поверхности элементов блока проставки в горизонтальном направлении, что обеспечивает перемешивание жидкости и ее равномерное распределение по поперечному сечению аппарата.
Компоновка пакетов и проставок как основных составляющих регулярной насадки таким образом, что отношение высоты пакета из гофрированных листов к высоте блока проставки находится в пределах 2÷5 обусловлено тем, что для выполнения проставкой функции турбулизатора и перераспределителя газовых и жидкостных потоков необходимо, чтобы ее высота была не менее 1/5 высоты пакета из гофрированных листов, с другой стороны, процессы тепло- и массообмена между фазами протекают в основном внутри пакета на поверхности гофрированных листов, поэтому высоту пакета из гофрированных листов целесообразно выполнять как минимум в 2 раза большей, чем высоту проставки.
Выполнение блока проставки таким образом, что общая высота блока из элементов находится в пределах 1,0÷4,0 эквивалентного диаметра одного элемента, т.е. блок проставки состоит из 1÷4 рядов элементов, причем оси симметрии элементов, лежащих в соседних по высоте рядах блока проставки, взаимно перпендикулярны, обусловлено тем, что для выполнения функции турбулизатора и перераспределителя газовых и жидкостных потоков достаточно одного ряда элементов, для повышения турбулизации можно увеличить количество рядов, располагая каждый последующий ряд с поворотом на 90° по отношению к предыдущему, однако с увеличением количества рядов растет гидравлическое сопротивление насадки по газу, поэтому полезный эффект от наличия проставки сохраняется при количестве рядов элементов не более 4.
Из соображений соответствия размера каналов в пакете, имеющих сложную геометрическую форму, с размерами каналов, образованных в блоке проставки взаиморасположением элементов, насадка должна выполняться таким образом, чтобы эквивалентный диаметр свободных каналов в пакете из гофрированных листов был не менее 0,2 эквивалентных диаметров элемента блока проставки, для того чтобы в блоке проставки придать нужное направление потокам газа, поступающим из свободных каналов пакета, и турбулизировать их. С другой стороны, эквивалентный диаметр свободных каналов в пакете из гофрированных листов должен быть не более 0,8 эквивалентных диаметров элемента блока проставки, поскольку в противном случае эквивалентный диаметр свободных каналов в проставке может оказаться меньше эквивалентного диаметра свободных каналов в пакете из гофрированных листов, тогда проставка перекроет поток газа и создаст гидрозатвор для жидкости, что приведет к захлебыванию аппарата.
Выполнение блока проставки из элементов, представляющих собой тела вращения, которые выполнены в виде многозаходных геликоидов, способствует закручиванию газовых потоков, поступающих из закрытых каналов расположенного ниже проставки пакета из гофрированных листов, по спиралям, созданным поверхностью ребер многозаходных геликоидов, и, тем самым, турбулизации газового потока. Минимальное число заходов многозаходного геликоида 2, а максимальное ограничено уменьшением площади свободных каналов для прохода газа в блоке проставки и составляет 4.
Расположение элементов, представляющих собой многозаходные геликоиды, в ряду блока проставки с зазором относительно друг друга обусловлено необходимостью создания в блоке проставки свободных каналов для прохода газа. Размер шага, на расстоянии которого оси симметрии соседних элементов располагаются друг от друга, должен быть не более 2,5 диаметра одного элемента, чтобы потоки газа, поступающие из свободных каналов нижерасположенного пакета из гофрированных листов, в блоке проставки приняли спиралевидное направление, и не менее 1,5 диаметра одного элемента, чтобы площадь свободных каналов в блоке проставки была достаточной для интенсивного беспрепятственного прохождения газа и жидкости.
Предлагаемая регулярная насадка позволяет повысить эффективность тепло- и массообмена на 15-30% в процессах абсорбции, ректификации, очистки, осушки газов, охлаждения жидкостей и т.п., проста в изготовлении и может быть получена при реконструкции известных регулярных насадок, собранных из гофрированных листов, согласно изобретению путем размещения по высоте между пакетами из гофрированных листов соответствующих проставок, позволяющих интенсифицировать процессы тепло- и массообмена за счет турбулизации газовых потоков и перераспределения потоков жидкости.
Формула изобретения
1. Регулярная насадка для тепло- и массообменных аппаратов, состоящая из расположенных с промежутками по высоте аппарата контактных пакетов, собранных из гофрированных листов, установленных вертикально и параллельно с наклоном гофр соседних листов под углом к горизонту в противоположные стороны, соприкасающихся выступающими гофрами друг с другом и образующих между собой свободные каналы сложной геометрической формы, и размещенных в промежутках по высоте между контактными пакетами блоков проставок, отличающаяся тем, что блоки проставок выполнены в виде горизонтально уложенных в ряды параллельно друг другу объемных элементов, причем оси симметрии элементов, лежащих в соседних по высоте рядах, взаимно перпендикулярны, а общая высота блока проставок находится в пределах 1,0-4,0 эквивалентных диаметров одного элемента, при этом отношение высоты пакета из гофрированных листов к высоте блока проставки находится в пределах 2-5.
2. Насадка по п.1, отличающаяся тем, что эквивалентный диаметр каналов пакета из гофрированных листов и эквивалентный диаметр элемента блока проставки находятся в соотношении 0,4-0,8.
3. Насадка по п.1, отличающаяся тем, что элементы блока проставки представляют собой тела вращения, которые выполнены в виде многозаходных геликоидов, причем число заходов составляет 2-4.
4. Насадка по п.1 или 3, отличающаяся тем, что элементы блока проставки уложены в ряды с зазором относительно друг друга, причем шаг, на расстоянии которого оси симметрии соседних элементов располагаются друг от друга, составляет 1,7-2,5 диаметров одного элемента.
РИСУНКИ
|
|