|
|
(21), (22) Заявка: 2005135429/12, 14.04.2004
(24) Дата начала отсчета срока действия патента:
14.04.2004
(30) Конвенционный приоритет:
15.04.2003 FI 20030574
(43) Дата публикации заявки: 20.03.2006
(46) Опубликовано: 10.06.2007
(56) Список документов, цитированных в отчете о поиске:
US 5526775 А, 18.06.1996. WO 00/20818 A1, 13.04.2000. EP 0574176 A1, 15.12.1993. RU 2130802 C1, 27.05.1999. RU 2028543 C1, 09.02.1995.
(85) Дата перевода заявки PCT на национальную фазу:
15.11.2005
(86) Заявка PCT:
FI 2004/000231 (14.04.2004)
(87) Публикация PCT:
WO 2004/091768 (28.10.2004)
Адрес для переписки:
129010, Москва, ул. Б.Спасская, 25, стр.3, ООО “Юридическая фирма Городисский и Партнеры”, пат.пов. Г.Б. Егоровой, рег.№ 513
|
(72) Автор(ы):
ХЮППЯНЕН Тимо (FI), КАУППИНЕН Кари В. О. (FI), ЛЕХТОНЕН Пекка (FI), ВИЛОККИ Харри (FI), ВАЛИАХО Киммо (FI)
(73) Патентообладатель(и):
ФОСТЕР ВИЛЕР ЭНЕРГИЯ ОЙ (FI)
|
(54) СПОСОБ И УСТРОЙСТВО ДЛЯ РЕГЕНЕРАЦИИ ТЕПЛА В РЕАКТОРЕ С ПСЕВДООЖИЖЕННЫМ СЛОЕМ
(57) Реферат:
Изобретение относится к способу и устройству для регенерации тепла в реакторе с псевдоожиженным слоем. Реактор с псевдоожиженным слоем содержит печь, камеру теплообмена, выпускной канал, соединенный с нижней частью камеры теплообмена для удаления материала в виде частиц из камеры теплообмена в печь, и по существу вертикальный вспомогательный канал для перемещения материала в виде частиц из камеры теплообмена в печь и из печи в камеру теплообмена. Нижняя часть вспомогательного канала снабжена соплами для газа для псевдоожижения и трубой для потока для соединения вспомогательного канала с печью. Верхняя часть снабжена трубой для потока для соединения вспомогательного канала с камерой теплообмена. Печь, камера теплообмена, выпускной канал и вспомогательный канал образуют единую конструкцию, имеющую выпускной канал и вспомогательный канал, размещенные примыкающими между печью и камерой теплообмена. Изобретение обеспечивает точное регулирование эффективности теплообмена для всех видов нагрузок реактора. 2 н. и 21 з.п. ф-лы, 5 ил.
Настоящее изобретение относится к способу и устройству для регенерации тепла в реакторе с псевдоожиженным слоем. Настоящее изобретение главным образом относится к способу и устройству для перемещения материала в виде частиц между камерой теплообмена и печью реактора с псевдоожиженным слоем.
Реактор с псевдоожиженным слоем согласно настоящему изобретению содержит печь, имеющую слой материала в виде частиц, и дно, ограничивающее печь снизу и содержащее сопла для газа для псевдоожижения; камеру теплообмена, снабженную теплообменными поверхностями для регенерации тепла из материала в виде частиц; и выпускной канал, соединенный с нижней частью камеры теплообмена для выпуска материала в виде частиц из камеры теплообмена в печь.
Общеизвестно снабжение реактора с псевдоожиженным слоем камерой теплообмена, в которой тепло регенерируется из материала слоя в виде частиц в теплообменную среду. Камера теплообмена часто соединена с горячей циркуляцией реактора с циркулирующим псевдоожиженным слоем, посредством чего камера теплообмена принимает горячий материал слоя из сепаратора горячей циркуляции. Камера теплообмена может, однако, также быть отдельным агрегатом, который принимает горячий материал непосредственно из печи реактора.
При работе реактора с псевдоожиженным слоем типа реактора с циркулирующим псевдоожиженным слоем с высокой эффективностью, другими словами, при высокой нагрузке, газ для псевдоожижения подается через решетку в печи с высокой скоростью, и большое количество материала в виде частиц увлекается с газом, выпускаемым из реактора. Когда горячий материал слоя, отделенный от выпускаемого газа посредством сепаратора частиц, направляется в камеру теплообмена, достаточное количество материала, подлежащего охлаждению, обычно принимается при высоких нагрузках камерой теплообмена. Однако, возможно, что при определенных условиях, главным образом при низких нагрузках реактора, поток частиц из сепаратора не является достаточным для достижения требуемой эффективности теплообмена. В таком случае необходимо увеличить поток горячего материала в камеру теплообмена посредством подачи дополнительного материала слоя непосредственно из печи.
Также возможно, что, главным образом при высоких нагрузках, поток частиц из горячей циркуляции больше, чем требуется в камере теплообмена для достижения требуемой эффективности теплообмена. Таким образом может быть выгодно подать часть материала из горячей циркуляции обратно в печь без его прохода через теплообменные поверхности камеры теплообмена.
В патенте США № 5526775 раскрыта камера теплообмена, объединенная с реактором с циркулирующим псевдоожиженным слоем и соединенная с горячей циркуляцией реактора. Горячий материал слоя перемещается в верхнюю часть камеры теплообмена из сепаратора частиц, и охлажденный материал поднимается из нижней части камеры теплообмена в печь по вертикальному выпускному каналу. Общая стенка между печью и камерой теплообмена в верхней части камеры теплообмена снабжена отверстиями, через которые горячий материал слоя принимается камерой теплообмена также непосредственно из печи. Через эти отверстия также возможно выпускать неохлажденный материал как слив, когда объем потока горячей циркуляции выше, чем требуемый для достижения желаемой эффективности теплообмена.
Количество материала, перемещаемого в камеру теплообмена через отверстие в стенке конструкции, описанной в патенте США № 5526775, не может быть отрегулировано независимо. Отверстия размещены в стенке реактора в области, где средняя плотность слоя не очень высока. Таким образом, возможно, что при низких нагрузках количество горячего материала, проходящего в камеру теплообмена через отверстия, является недостаточным, если площадь отверстий не является относительно большой. Другой проблемой является то, что в положении слива в некоторых случаях трудно контролировать отношение потоков материала, проходящих через отверстия слива и выпускной канал, и таким образом также эффективность теплообмена.
В патенте США № 4947804 раскрыта камера теплообмена, соединенная непосредственно с печью. Материал из печи перемещается в камеру теплообмена через незначительно наклонную трубу для подачи, в которой создается псевдоожижение. Труба для подачи соединена с нижней частью камеры теплообмена в области слоя с высокой плотностью, посредством чего количество унесенного материала может в некоторых случаях оставаться слишком малым. В этом устройстве возможные большие частицы в печи, которые могут либо быть внесены с топливом, либо образованы только в печи, могут также вызвать проблемы. Такие большие частицы могут понизить эффективность теплообмена в камере теплообмена посредством закупоривания трубы для подачи или пространств между теплообменными поверхностями.
В патенте США № 5540894 раскрыта камера обработки, в которую материал перемещается из печи через вертикальный подъемный канал. Материал выпускается из камеры обработки через отдельные отверстия из верхней части камеры или через так называемые оребренные отверстия в центральной части камеры обработки. Проблема этой камеры состоит в том, что выпускаемый материал может быть обработан недостаточно.
В патенте США № 4896717 раскрыта камера теплообмена, в которую материал подается из сепаратора горячей циркуляции в ее нижнюю часть и в которой охлажденный материал выпускается из ее верхней части в печь, как слив по вертикальному каналу. Эта конструкция не обеспечивает возможность независимого регулирования количества материала, подаваемого в нее.
Задачей настоящего изобретения является создание способа и устройства, в которых вышеупомянутые проблемы известного уровня техники сведены к минимуму.
Более конкретно, задачей настоящего изобретения является создание реактора с псевдоожиженным слоем и способа работы реактора с псевдоожиженным слоем, где эффективность теплообмена может быть эффективно отрегулирована для всех видов нагрузок.
Задачей настоящего изобретения является главным образом создание реактора с псевдоожиженным слоем и способа работы реактора с псевдоожиженным слоем, где создается достаточный и точно отрегулированный поток материала в камеру теплообмена при всех условиях нагрузки реактора.
Для достижения этих задач созданы реактор с псевдоожиженным слоем и способ работы реактора с псевдоожиженным слоем, отличительные признаки которых описаны в отличительной части независимого пункта формулы изобретения на устройство и в независимом пункте на способ, а также в зависимых п.п.2-16, касающихся устройства, и зависимых п.п.18-23, касающихся способа.
Таким образом, отличительным признаком реактора с циркулирующим псевдоожиженным слоем в соответствии с настоящим изобретением является то, что реактор с псевдоожиженным слоем содержит по существу вертикальный вспомогательный канал для перемещения материала в виде частиц из камеры теплообмена в печь и из печи в камеру теплообмена, причем нижняя часть вспомогательного канала снабжена соплами для газа для псевдоожижения и трубой для потока для соединения вспомогательного канала с печью, и верхняя часть вспомогательного канала снабжена трубой для потока для соединения вспомогательного канала с камерой теплообмена.
Камера теплообмена в соответствии с настоящим изобретением может быть предпочтительно соединена с горячей циркуляцией реактора с циркулирующим псевдоожиженным слоем, но она может быть также соединена непосредственно с печью реактора с псевдоожиженным слоем, например, реактора с барботажным псевдоожиженным слоем.
Выпускной канал камеры теплообмена предпочтительно соединен с камерой теплообмена ниже ее теплообменных поверхностей, и вспомогательным каналом выше теплообменных поверхностей соответственно. Посредством этих каналов либо охлажденный материал из нижней части камеры, либо неохлажденный материал из верхней части камеры может перемещаться из камеры теплообмена в печь.
В соответствии с предпочтительным вариантом осуществления настоящего изобретения выпускной канал является по существу вертикальным, нижняя часть выпускного канала снабжена соплами для газа для псевдоожижения, и нижняя часть выпускного канала снабжена трубой для потока для соединения камеры теплообмена с выпускным каналом, и верхняя часть снабжена трубой для потока для соединения выпускного канала с печью. Таким образом, имеется предпочтительно по меньшей мере два по существу вертикальных канала между камерой теплообмена и печью: выпускной канал, соединенный с нижней частью камеры теплообмена, и вспомогательный канал, соединенный с верхней частью камеры теплообмена.
Материал, подлежащий выпуску из нижней части камеры теплообмена, предпочтительно псевдоожижается в вертикальном выпускном канале таким образом, что материал поднимается вверх по каналу, после чего он выводится через трубу для потока в верхней части выпускного канала в печь. Соответственно неохлажденный материал может быть выпущен из верхней части камеры как слив по второму, по существу вертикальному каналу вниз, после чего он выводится через трубу для потока в нижней части вспомогательного канала в печь. Посредством регулирования количества материала, выпускаемого из нижней части камеры теплообмена через выпускной канал, возможно эффективно регулировать эффективность теплообмена камеры теплообмена.
Основной особенностью настоящего изобретения является то, что вспомогательный канал, соединенный с верхней частью камеры теплообмена, может быть использован для выпуска избытка неохлажденного материала как слива из верхней части камеры теплообмена, или альтернативно для подачи горячего материала слоя в камеру теплообмена. Обычно вспомогательный канал используется как канал для слива при высоких нагрузках и как канал для подачи вспомогательного материала при низких нагрузках.
Обычно большое количество устройств, требуемых для различных операций, должно быть размещено в ограниченном пространстве в нижней части реактора с псевдоожиженным слоем. Обычно имеются три различных вида потоков твердых частиц между печью и камерой теплообмена: поток охлажденных твердых частиц из нижней части камеры теплообмена в печь, поток неохлажденных твердых частиц из верхней части камеры теплообмена в печь, и поток горячих твердых частиц в камеру теплообмена. В различных рабочих положениях реактора с псевдоожиженным слоем объемы потоков этих различных потоков материала могут быть значительно большими, что является причиной того, что для каждого потока требуется канал для потока достаточного размера. В соответствии с настоящим изобретением материал перемещается по тому же каналу для потока в различных рабочих положениях либо из печи в камеру теплообмена, либо из камеры теплообмена в печь. Таким образом, посредством использования такого устройства пространство, необходимое для каналов для потока твердых частиц, сводится к минимуму, что снова делает более легким наладку различных работ в нижней части печи.
В соответствии с настоящим изобретением нижняя часть вспомогательного канала снабжена соплами для газа для псевдоожижения. Путем изменения скорости потока газа, проходящего через сопла, возможно отрегулировать скорость потока и направление потока материала, входящего во вспомогательный канал. Если скорость потока газа для псевдоожижения является низкой, никакой материал не проходит вверх в канале из трубы для потока в нижней части в трубу для потока в верхней части, но канал служит только как канал для слива для выпуска материала из камеры теплообмена. Когда скорость газа для псевдоожижения превышает определенную предельную скорость, которая также для мелкодисперсных материалов обычно выше 1 м/с, горячий материал слоя начинает проходить из печи в камеру теплообмена.
Когда скорость газа для псевдоожижения повышается, количество горячего материала слоя, проходящего в камеру теплообмена, увеличивается, и в то же время увеличивается эффективность теплообмена в камере теплообмена. Таким образом, вспомогательный канал в соответствии с изобретением оперативно отклоняется от отверстия для потока, известного как проход для слива, так что вспомогательный канал также работает как входной канал, который регулируется независимо от остальной работы реактора.
Реактор с псевдоожиженным слоем в соответствии с настоящим изобретением предпочтительно выполнен таким образом, что печь, камера теплообмена, выпускной канал и вспомогательный канал образуют единую конструкцию, в которой выпускной канал и вспомогательный канал расположены примыкающими между печью и камерой теплообмена. Выпускной канал и вспомогательный канал предпочтительно расположены у стенки между камерой теплообмена и печью, примыкающими таким образом, что они имеют, по меньшей мере частично, один и тот же уровень высоты. По меньшей мере часть стенок печи и камеры теплообмена, объединенной с ней, предпочтительно выполнены из кипятильных труб, соединенных друг с другом посредством так называемых ребер, которые могут, по меньшей мере частично, быть футерованными огнеупорами.
Когда в камере теплообмена и выпускном канале создается псевдоожижение, гомогенное и с равномерной скоростью, уровни псевдоожиженных слоев находятся в них в равновесии приблизительно при одном и том же уровне высоты. Если скорости псевдоожижения в камере теплообмена и выпускном канале отклоняются друг от друга, плотность слоя в области с бульшим псевдоожижением ниже, чем в области с меньшим псевдоожижением. Соответственно высота слоя, находящегося в равновесии, выше в области с большим псевдоожижением, чем в области с меньшим псевдоожижением.
Поток материала через выпускной канал вызывает трение, что является причиной того, что давление для создания потока должно быть на определенную величину выше на дне камеры теплообмена, чем на дне выпускного канала. Это является причиной того, что в положении потока высота слоя может быть на более высоком уровне в камере теплообмена, чем в выпускном канале.
Следует отметить на практике, что в устройстве, описанном в патенте США № 5526775 при работе при высоких нагрузках, регулирование потока материала, проходящего через выпускной канал посредством изменения скорости псевдоожижения в выпускном канале в некоторых условиях, является трудным. При очень низких скоростях газа для псевдоожижения в выпускном канале поток материала в выпускном канале останавливается, посредством чего весь материал выходит как слив через отверстия в верхней части камеры, и эффективность теплообмена в камере остается очень низкой. Неожиданный признак, который должен быть отмечен, состоит в том, что когда скорость псевдоожижения в выпускном канале повышается таким образом, что материал начинает проходить в выпускной канал, слой материала, накопленный в камере теплообмена, может в некоторых положениях немедленно проталкивать весь горячий материал, входящий в камеру, через выпускной канал. Посредством этого эффективность теплообмена в камере теплообмена быстро повышается до высокой величины, и требуемое точное регулирование эффективности теплообмена не достигается.
Естественным решением вышеописанной проблемы является добавление трения, создаваемого выпускным каналом, например посредством уменьшения ширины канала. Проблемой в таком устройстве является то, что узкий канал имеет высокий риск закупоривания, например, в связи с беспорядочными большими частицами или накоплениями, образующимися в канале. В настоящее время было отмечено, что возможность регулирования эффективности теплообмена в камере теплообмена может быть улучшена посредством поддержания достаточно малой разности в высотах между нижними кромками более высокой трубы для потока сливного канала и более высокой трубы для потока выпускного канала. Посредством этого высота слоя материала, накапливающегося в камере теплообмена, никогда не поднимается до такого уровня, при котором она будет обеспечивать прохождение всего материала через выпускной канал.
В соответствии с предпочтительным вариантом осуществления настоящего изобретения труба для потока в верхней части вспомогательного канала находится на более высоком уровне, самое большее приблизительно на 500 мм, наиболее предпочтительно самое большее около 300 мм, чем труба для потока в верхней части выпускного канала. В некоторых положениях, например, когда подвижность материала слоя особенно высокая, может быть необходимо пригнать трубу для потока в верхней части вспомогательного канала на тот же или даже более низкий уровень высоты, чем труба для потока в верхней части выпускного канала.
Расположение труб для потока в верхней части каналов таким образом, который описан выше, обеспечивает посредством изменения скорости псевдоожижения в выпускном канале возможность регулирования желаемой части материала, чтобы она проходила через камеру теплообмена и выходила через выпускной канал со дна камеры теплообмена. Остаток горячего материала выходит как слив через вспомогательный канал прямо в печь и не имеет возможности контактировать с теплообменными поверхностями. Таким образом, посредством изменения величины части, выходящей через выпускной канал, возможно эффективно регулировать эффективность теплообмена в камере теплообмена.
В соответствии с предпочтительным вариантом осуществления настоящего изобретения материал перемещается в камеру теплообмена в дополнение к вспомогательному каналу также через первые входные средства. Когда камера теплообмена соединена с котлом для циркулирующего псевдоожиженного слоя, первые входные средства предпочтительно содержат трубу для возврата, ведущую из сепаратора горячей циркуляции в камеру теплообмена. Когда камера теплообмена соединена с печью котла для циркулирующего псевдоожиженного слоя, первые подающие средства предпочтительно содержат отверстия в стенке, соединяющие камеру теплообмена и печь.
Возможно, чтобы большая часть горячего материала входила в камеру теплообмена через вспомогательный канал в соответствии с изобретением. Предпочтительно, первые подающие средства, однако, расположены таким образом, что большая часть горячего материала входит через первые подающие средства, и вспомогательный канал в соответствии с изобретением используется только тогда, когда требуется регулирование потока материала способом, описанным выше.
В соответствии с предпочтительным вариантом осуществления настоящего изобретения реактор с псевдоожиженным слоем содержит по меньшей мере два примыкающих выпускных канала таким образом, что вспомогательный канал в соответствии с изобретением будет расположен между двумя выпускными каналами. Большая камера теплообмена может также содержать ряд вспомогательных каналов в соответствии с изобретением, которые предпочтительно расположены между двумя выпускными каналами.
Чередующееся расположение выпускных каналов и вспомогательных каналов обеспечивает компактность конструкции, посредством которой большое количество материала слоя, выпускаемого из камеры теплообмена, может быть эффективно и равномерно распределено в печи. В большом реакторе с псевдоожиженным слоем предпочтительно имеется ряд камер теплообмена, расположенных примыкающими. Посредством использования расположения выпускного канала в соответствии с описанным выше в этих камерах возможно обеспечить равномерный поток частиц между камерами теплообмена и печью.
Объем камеры теплообмена должен быть достаточным, чтобы в нее было можно вставить требуемое количество теплообменных поверхностей. Выгодным решением для повышения объема камеры является размещение дна камеры на более низком уровне высоты, чем решетка печи. Таким образом, труба для потока в нижней части вспомогательного канала находится предпочтительно на более высоком уровне, чем труба для потока в нижней части выпускного канала.
Существуют частицы большего размера, чем остальной материал слоя на решетке печи, которые могут нарушить работу камеры теплообмена, например, посредством закупоривания входного канала или пространств между теплообменными поверхностями. Частицами, большими, чем остальные частицы слоя, могут также быть уголь или частицы какого-нибудь другого топлива, которые при входе в камеру теплообмена могут сгореть не полностью и повысить содержание моноксида углерода в отходящем газе из реактора. Для того чтобы избежать указанных выше проблем, было доказано, что преимущественно размещать трубу для потока в нижней части вспомогательного канала на более высоком уровне, чем уровень решетки печи, предпочтительно на уровне по меньшей мере на 200 мм выше, чем уровень высоты решетки. Ступень ниже трубы для потока предотвращает вход опасных больших частиц во вспомогательный канал или камеру теплообмена.
Труба для потока в нижней части вспомогательного канала обычно содержит по меньшей мере короткую по существу горизонтальную часть канала, в дне которой имеются сопла для газа для псевдоожижения. Для того чтобы предотвратить проход больших частиц со дна печи во вспомогательный канал, было отмечено, что преимущественно, чтобы по существу горизонтальная часть канала выступала наружу, поднимаясь из печи. Наклон подъема части канала предпочтительно составляет примерно 10-20 градусов. Сопла для газа для псевдоожижения, расположенные по существу в горизонтальной части канала, могут предпочтительно быть соплами, направляющими газ для псевдоожижения в печь, например, так называемыми ступенчатыми решетчатыми соплами. Посредством использования направляющих сопел поток материала может быть направлен на решетку на дне из трубы для потока вспомогательного канала, что снова уменьшает риск прохода больших частиц со дна печи во вспомогательный канал. Когда используются ступенчатые решетчатые сопла, труба для потока вспомогательного канала может предпочтительно быть на уровне решетки на дне, таким образом, что ступенчатая решетка на по существу горизонтальной части канала представляет собой расширение ступенчатой решетки на дне печи.
Для обеспечения потока мелкодисперсного материала в камеру теплообмена одновременно с предотвращением входа в нее больших частиц возможно расположить сопла для газа для псевдоожижения преимущественно на различных уровнях высоты во вспомогательном канале. Поскольку сопла для газа для псевдоожижения расположены на различных уровнях высоты, скорость потока газа для псевдоожижения в верхней части вспомогательного канала является большей, чем в нижней части канала. Например, скорость псевдоожижения в нижней части вспомогательного канала может быть приблизительно 1 м/с, в средней части приблизительно 2 м/с и в верхней части канала приблизительно 3 м/с или даже больше.
Далее настоящее изобретение описано более подробно посредством примера со ссылками на прилагаемые чертежи, на которых:
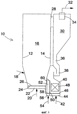
Фиг.1 схематически иллюстрирует вертикальное поперечное сечение реактора с циркулирующим псевдоожиженным слоем, горячая циркуляция в котором обеспечивается посредством камеры теплообмена;
Фиг.2 схематически иллюстрирует вертикальное поперечное сечение камеры теплообмена в соответствии с изобретением;
Фиг.3 схематически иллюстрирует вид спереди камеры теплообмена в соответствии с изобретением в направлении от печи;
Фиг.4 схематически иллюстрирует горизонтальное поперечное сечение реактора с псевдоожиженным слоем, имеющего две камеры теплообмена в соответствии с изобретением;
Фиг.5 схематически иллюстрирует вертикальное поперечное сечение второй камеры теплообмена в соответствии с настоящим изобретением.
На Фиг.1 показано схематическое вертикальное поперечное сечение реактора 10 с циркулирующим псевдоожиженным слоем, имеющего камеру 40 теплообмена в соответствии с настоящим изобретением. Реактор с циркулирующим псевдоожиженным слоем содержит печь 16, ограниченную стенками 12, 14 кипятильных труб, причем печь содержит средство 18 для подачи топлива, например угля или биотоплива, инертного материала слоя, например песка, и возможных добавок, например известняка. Реактор также содержит средство 20 для подачи кислородсодержащего газа для псевдоожижения, обычно воздуха, с заранее заданной скоростью через холодильник 22 и сопла 26 для газа для псевдоожижения, размещенные в дне 24 печи, в нижнюю часть печи 16. Обычно скорость воздуха для псевдоожижения в печи реактора с циркулирующим псевдоожиженным слоем составляет 3-8 м/с. Печь обычно содержит также сопла для вторичного воздуха, которые, однако, не показаны на фиг.1.
Топливо реагирует в печи с кислородом газа для псевдоожижения и вырабатывает отходящие газы, которые поднимаются в верхнюю часть печи, и материал слоя уносится вместе с ними. Отходящие газы и материал в виде частиц, унесенный вместе с ними, выходят в сепаратор 30 для частиц через трубу 28, расположенную в верхней части печи. Большая часть материала в виде частиц в сепараторе для частиц отделяется от дымовых газов, и очищенные газы 32 выпускаются через выпускную трубу 34 в конвекционную секцию, не показанную на фиг.1, и далее через дымовую трубу в окружающую среду. Материал в виде частиц, отделенный в сепараторе 30 для частиц, выводится в камеру 40 теплообмена через канал 36 возврата и газонепроницаемое уплотнение 38 в его нижней части.
Слой из возвращенного горячего материала в виде частиц образуется в камере 40 теплообмена. Камера 40 теплообмена содержит средство 42 для подачи газа для псевдоожижения в камеру при заданной скорости через холодильник 44 и сопла 46. Скорость газа для псевдоожижения в камере теплообмена обычно относительно низкая, обычно ниже 1 м/с. Таким образом, слой в камере теплообмена представляет собой так называемый барботажный псевдоожиженный слой, который действует так же, как и жидкость, и который имеет хорошо ограниченную верхнюю поверхность.
Камера 40 содержит теплообменные поверхности 48, которые используются для передачи тепла от материала горячего псевдоожиженного слоя к теплообменной среде, проходящей внутри теплообменных поверхностей. Путем изменения скорости газа для псевдоожижения в камере теплообмена возможно регулировать до определенной степени эффективность теплообмена в камере. Обычно поверхность слоя в камере теплообмена находится выше теплообменных поверхностей, посредством чего теплообменные поверхности находятся внутри псевдоожиженного слоя.
Охлажденные частицы проходят в по существу вертикальный выпускной канал 52 через отверстие 50 в нижней части камеры 40 теплообмена. Выпускной канал 52 снабжен средством 54, при помощи которого возможно подавать газ для псевдоожижения в нижнюю часть канала при заранее заданной скорости через холодильник 56 и сопла 58. Псевдоожиженный материал поднимается вверх в выпускном канале 52 и выходит обратно в печь 16 через отверстие 60 в верхней части канала. Скорость газа для псевдоожижения в выпускном канале может изменяться в различных рабочих положениях, но в большинстве случаев она приблизительно та же или незначительно выше, чем скорость газа для псевдоожижения в камере теплообмена.
Фиг.2 схематически иллюстрирует вертикальное поперечное сечение камеры теплообмена в соответствии с настоящим изобретением, на которой показан по существу вертикальный вспомогательный канал 62. На Фиг.2 показан другой разрез камеры теплообмена реактора с циркулирующим псевдоожиженным слоем, показанного на фиг.1, или она может быть разрезом независимой камеры теплообмена, которая не соединена с горячей циркуляцией реактора с циркулирующим псевдоожиженным слоем, но непосредственно соединена с печью реактора, например, реактора с барботажным псевдоожиженным слоем. В обоих случаях предпочтительно два по существу вертикальных канала соединены с камерой 40 теплообмена, выпускной канал 52 в соответствии с фиг.1 и вспомогательный канал 62 в соответствии с фиг.2.
Нижняя часть по существу вертикального вспомогательного канала 62, показанного на фиг.2, снабжена трубой 64 для потока в нижней части печи 16, и его верхняя часть снабжена трубой 66 для потока в верхней части камеры 40 теплообмена. Канал предпочтительно соединен с печью в области, где плотность псевдоожиженного слоя выше, и с камерой теплообмена на уровне верхней поверхности псевдоожиженного слоя или выше нее. Дно канала 62 снабжено соплами 68 для газа для псевдоожижения, через которые возможно подавать газ для псевдоожижения при заранее заданной скорости.
Когда скорость газа для псевдоожижения в канале 62 является достаточно высокой, обычно выше 1 м/с, горячий материал слоя перемещается через канал из нижней части печи 16 в камеру 40 теплообмена. Количество перемещающегося материала может быть эффективно отрегулировано посредством изменения скорости газа для псевдоожижения в канале 62. Материал слоя, перемещающийся через канал 62, может образовать большую часть потока горячего материала, проходящего в камеру 40 теплообмена, но предпочтительно большая часть горячего материала поступает несколько другим способом, и только поток вспомогательного материала, требуемого для регулирования эффективности теплообмена в камере теплообмена, проходит через канал 62.
В соответствии с предпочтительным вариантом осуществления скорость потока газа для псевдоожижения в канале 62 и таким образом скорость потока вспомогательного материала, перемещающегося в камеру 40 теплообмена по каналу 62, регулируется на основе температуры, измеренной при помощи средства 70, теплообменной среды, выходящей из теплообменных поверхностей 48. Скорость потока газа для псевдоожижения в канале 62 может также быть отрегулирована на основе температуры в камере 40 теплообмена, печи 16 или выпускном канале 52, или материала в виде частиц в них.
Когда скорость газа для псевдоожижения в канале 62 является меньшей, чем определенная предельная скорость, обычно меньше, чем 1 м/с, никакой материал не перемещается через канал 62 из печи 16 в камеру 40 теплообмена. Посредством этого возможно, чтобы материал проходил в другом направлении через канал, как слив из верхней части камеры 40 теплообмена в печь 16. Слив имеет место, если больше материала проходит другим путем в камеру 40, чем может выходить через выпускной канал 52. Материал может проходить в камеру 40 теплообмена из сепаратора 30 реактора с циркулирующим псевдоожиженным слоем и/или, например, через отверстия 72 в части 14а стенки, общей для камеры 40 и печи 16.
Дно 74 канала 62 в устройстве на фиг.2 расположено на уровне, который выше, чем дно 24 печи 16. Ступень 76 между этими уровнями высоты предотвращает возможность входа больших частиц со дна печи в канал 62 или камеру 40 теплообмена. Высота ступени 76 предпочтительно составляет по меньшей мере приблизительно 200 мм.
Камера 40 теплообмена предпочтительно содержит два примыкающих выпускных канала 52 и вспомогательный канал 62, расположенный, по меньшей мере частично, на том же уровне, что и выпускные каналы. На фиг.3 схематически показан вид спереди части 14а стенки, общей для печи и камеры теплообмена, показанный в направлении от печи. На фиг.3 показано предпочтительное соответственное размещение отверстий для потока двух выпускных каналов 52 и вспомогательного канала 62, расположенного между ними. На фиг.3 отверстия для потока, открытые в печь, показаны посредством непрерывной линии, и отверстия для потока, открытые в камеру теплообмена и каналы для потока в части 14а стенки, показаны посредством пунктирной линии.
Для того чтобы иметь возможность эффективно регулировать поток материала через выпускные каналы 52 камеры теплообмена в положении слива, необходимо отметить, что нижняя кромка 80 верхнего отверстия 66 для потока вспомогательного канала 62 была преимущественно не намного выше, чем нижняя кромка 78 верхних отверстий 60 для потока выпускных каналов 52. Предпочтительно, чтобы нижняя кромка 80 верхнего отверстия 66 для потока вспомогательного канала 62 была самое большее на 500 мм выше, наиболее предпочтительно самое большее на 300 мм выше, чем нижняя кромка 78 верхних отверстий 60 для потока выпускных каналов 52.
Нижняя кромка 82 нижней трубы 64 для потока вспомогательного канала 62 на фиг.3 выше, предпочтительно по меньшей мере на 200 мм выше, чем уровень дна 24 печи. Для того, чтобы создать максимальный объем камеры, дно камеры теплообмена находится предпочтительно ниже, чем решетка печи. Таким образом, нижние трубы 50 для потока выпускных каналов 52 предпочтительно находятся ниже, чем нижняя труба 64 для потока вспомогательного канала 62. На фиг.3 также показаны отверстия 72 в верхней части общей стенки 14а, причем через эти отверстия может проходить горячий материал из верхних частей псевдоожиженного слоя в печи в верхнюю часть камеры теплообмена.
На фиг.4 показано горизонтальное поперечное сечение реактора с псевдоожиженным слоем, на котором показаны печь 16, две камеры 40 теплообмена и у обеих камер для теплообмена два выпускных канала 52, расположенные примыкающими между печью и камерой теплообмена, и вспомогательный канал 62, расположенный между ними. В устройстве на фиг.4 материал, подлежащий возврату из камеры 40 теплообмена, равномерно распределен по всей ширине стенки 14 печи 16, и материал может быть равномерно перемещен в камеру 40 теплообмена из области стенки 14.
На фиг.5 показано вертикальное поперечное сечение вспомогательного канала 62 камеры 40 теплообмена в соответствии с предпочтительным вариантом осуществления настоящего изобретения. Устройство, показанное на фиг.5, отличается от устройства на фиг. 2 тем, что здесь нет ступени между дном 74 вспомогательного канала 62 и дном 24 печи, но уровень дна 24 продолжается непосредственно до дна 74 вспомогательного канала 62. В устройстве, показанном на фиг.5, дно по существу горизонтальной нижней части 84 наклонено по направлению к печи. Обычно средний наклон дна составляет 10-20 градусов.
На дне по существу горизонтальной нижней части 84 вспомогательного канала 62 предпочтительно создается псевдоожижение посредством ступенчатой решетки 86, которая направляет газ для псевдоожижения почти горизонтально по направлению к печи. Наклонное дно и направленный газ для псевдоожижения эффективно предотвращают возможность входа больших частиц со дна печи в канал 62. Ступенчатая решетка 86 в нижней части вспомогательного канала может предпочтительно быть продолжением ступенчатой решетки 26′ дна печи, которая направляет большие частицы по направлению к выпускному каналу 88 для материала в центральной части решетки.
Газ для псевдоожижения подается в устройство, показанное на фиг.5, также в вертикальную центральную часть канала. Газ для псевдоожижения, подаваемый в центральную часть, например, на двух уровнях высоты, обеспечивает постепенно увеличивающуюся скорость газа для псевдоожижения. Низкая скорость псевдоожижения в нижней части предотвращает подъем больших частиц, например, больших частиц топлива, в канал 62, и высокая скорость в верхней части обеспечивает, чтобы часть мелкодисперсного материала в горячем материале поднималась в камеру теплообмена. В соответствии с предпочтительным вариантом осуществления скорость псевдоожижения в нижней части канала 62 составляет примерно 1 м/с, в центральной части примерно 2 м/с и в верхней части примерно 3 м/с.
Изобретение, описанное выше в связи с вариантами осуществления, является в настоящее время как наиболее предпочтительное, но необходимо понять, что изобретение никоим образом не ограничивается ими, но охватывает также ряд других устройств в объеме, ограниченном формулой изобретения, приведенной ниже.
Формула изобретения
1. Реактор (10) с псевдоожиженным слоем, содержащий
печь (16), имеющую слой материала в виде частиц и дно (24), снабженное соплами (26) для газа для псевдоожижения, причем дно ограничивает печь снизу,
камеру (40) теплообмена, снабженную теплообменными поверхностями (48) для регенерации тепла из материала в виде частиц, и
выпускной канал (52), соединенный с нижней частью камеры теплообмена для удаления материала в виде частиц из камеры (40) теплообмена в печь (16),
отличающийся тем, что
он содержит, по существу, вертикальный вспомогательный канал (62) для перемещения материала в виде частиц из камеры (40) теплообмена в печь (16) и из печи (16) в камеру (40) теплообмена, причем нижняя часть вспомогательного канала (62) снабжена соплами (68) для газа для псевдоожижения, которые регулируются независимо от других сопел для псевдоожижения реактора, и трубой (64) для потока для соединения вспомогательного канала с печью (16), и верхняя часть вспомогательного канала (62) снабжена трубой (66) для потока для соединения вспомогательного канала (62) с камерой (40) теплообмена.
2. Реактор с псевдоожиженным слоем по п.1, отличающийся тем, что выпускной канал (52) является, по существу, вертикальным, нижняя часть выпускного канала снабжена соплами (58) для газа для псевдоожижения и нижняя часть выпускного канала снабжена трубой (50) для потока для соединения камеры (40) теплообмена с выпускным каналом (52), и верхняя часть снабжена трубой (60) для потока для соединения выпускного канала (52) с печью (16).
3. Реактор с псевдоожиженным слоем по п.2, отличающийся тем, что печь (16), камера (40) теплообмена, выпускной канал (52) и вспомогательный канал (62) образуют единую конструкцию, имеющую выпускной канал (52) и вспомогательный канал (62), расположенные примыкающими между печью (16) и камерой (40) теплообмена.
4. Реактор с псевдоожиженным слоем по п.2, отличающийся тем, что он содержит два выпускных канала (52) и вспомогательный канал (62) расположен между двумя выпускными каналами.
5. Реактор с псевдоожиженным слоем по п.2, отличающийся тем, что выпускной канал (52) и вспомогательный канал (62) по меньшей мере частично расположены на одном и том же уровне высоты.
6. Реактор с псевдоожиженным слоем по п.5, отличающийся тем, что труба (66) для потока в верхней части вспомогательного канала (62) расположена на уровне высоты самое большее примерно на 500 мм выше, чем труба (60) для потока в верхней части выпускного канала (52).
7. Реактор с псевдоожиженным слоем по п.6, отличающийся тем, что труба (66) для потока в верхней части вспомогательного канала (62) расположена на уровне высоты самое большее примерно на 300 мм выше, чем труба (60) для потока в верхней части выпускного канала (52).
8. Реактор с псевдоожиженным слоем по п.2, отличающийся тем, что труба (64) для потока в нижней части вспомогательного канала (62) расположена на уровне высоты более высоком, чем труба (50) для потока в нижней части выпускного канала (52).
9. Реактор с псевдоожиженным слоем по п.1, отличающийся тем, что труба (64) для потока в нижней части вспомогательного канала (62) расположена на уровне высоты по меньшей мере на 200 мм выше, чем дно (24) печи.
10. Реактор с псевдоожиженным слоем по п.1, отличающийся тем, что нижняя часть вспомогательного канала (62) расположена на уровне дна (24) печи и труба (64) для потока в нижней части вспомогательного канала содержит сопла (86) для газа для псевдоожижения, причем сопла направляют газ для псевдоожижения в печь (16).
11. Реактор с псевдоожиженным слоем по п.1, отличающийся тем, что труба (64) для потока в нижней части вспомогательного канала (62) снабжена соплами (86) ступенчатой решетки.
12. Реактор с псевдоожиженным слоем по п.1, отличающийся тем, что сопла для газа для псевдоожижения расположены на различных уровнях высоты вспомогательного канала (62).
13. Реактор с псевдоожиженным слоем по п.1, отличающийся тем, что реактор содержит средства (70) для измерения температуры печи (16), камеры (40) теплообмена или выпускного канала (52), или материала в виде частиц в одном из них, или теплообменной среды, проходящей через теплообменные поверхности (48), расположенные в камере теплообмена, и средства для регулирования скорости потока газа для псевдоожижения, который подается в нижнюю часть вспомогательного канала (62) на основе измеренной температуры.
14. Реактор с псевдоожиженным слоем по п.1, отличающийся тем, что камера (40) теплообмена содержит первые средства (72, 30, 36) для подачи материала в виде частиц из реактора с псевдоожиженным слоем в камеру (40) теплообмена.
15. Реактор с псевдоожиженным слоем по п.14, отличающийся тем, что печь (16) и камера (40) теплообмена имеют часть (14а) общей стенки и первые средства для подачи материала в виде частиц в камеру (40) теплообмена содержат по меньшей мере одно отверстие (72) в части (14а) общей стенки.
16. Реактор с псевдоожиженным слоем по п.14, отличающийся тем, что он представляет собой реактор с циркулирующим псевдоожиженным слоем, верхняя часть печи которого снабжена выпускным отверстием (28) для выпуска отработавших газов и частиц, унесенных с ними из печи (16), и первые средства для подачи материала в виде частиц в камеру (40) теплообмена содержат сепаратор (30) для отделения частиц от отработавших газов печи и канал (36) возврата для направления по меньшей мере части отделенных частиц в камеру (40)теплообмена.
17. Способ регенерации тепла в реакторе (10) с псевдоожиженным слоем, включающий следующие стадии:
(a) подают содержащее углерод топливо (18) и кислородсодержащий газ (20) для псевдоожижения в печь реактора,
(b) подают частицы горячего материала слоя из печи (16) в верхнюю часть камеры (40) теплообмена,
(c) регенерируют тепло из частиц горячего материала слоя в камере (40) теплообмена, посредством чего производят частицы охлажденного материала слоя,
(d) выпускают частицы охлажденного материала слоя из нижней части камеры (40) теплообмена,
отличающийся тем, что содержит следующую стадию:
(e) выпускают частицы горячего материала слоя в первом рабочем положении реактора (10) с псевдоожиженным слоем как слив из верхней части камеры теплообмена в печь вниз вдоль, по существу, вертикального вспомогательного канала (62) и перемещают во втором рабочем положении реактора (10) с псевдоожиженным слоем частицы горячего материала слоя из печи (16) в камеру (40) теплообмена вверх вдоль, по существу, вертикального вспомогательного канала (62) посредством газа для псевдоожижения, подаваемого в нижнюю часть вспомогательного канала (62) через сопла (68) внутри вспомогательного канала, которые регулируют независимо от других сопел для псевдоожижения реактора.
18. Способ по п.17, отличающийся тем, что количество горячего материала слоя, перемещаемого из печи (16) в камеру теплообмена, регулируют посредством изменения количества газа для псевдоожижения, подаваемого в нижнюю часть вспомогательного канала (62).
19. Способ по п.18, отличающийся тем, что включает следующую стадию:
(f) измеряют температуру печи (16), камеры (40) теплообмена или выпускного канала (52), или материала в одном из них, или температуру теплообменной среды, проходящей через теплообменные поверхности (48), расположенные в камере теплообмена, и регулируют количество газа для псевдоожижения, подаваемого в нижнюю часть вспомогательного канала на стадии (е), на основе температуры, измеренной на стадии (f).
20. Способ по п.17, отличающийся тем, что при высоких нагрузках реактора с псевдоожиженным слоем частицы горячего материала слоя выпускают как слив из верхней части камеры (40) теплообмена вниз вдоль, по существу, вертикального вспомогательного канала (62) и при низких нагрузках реактора с псевдоожиженным слоем частицы горячего материала слоя перемещают посредством газа для псевдоожижения, подаваемого в нижнюю часть вспомогательного канала (62) из печи (16) в камеру теплообмена вверх вдоль, по существу, вертикального вспомогательного канала (62).
21. Способ по п.17, отличающийся тем, что реактор (10) с псевдоожиженным слоем представляет собой реактор с циркулирующим псевдоожиженным слоем, при этом стадию (b) выполняют посредством подачи частиц, отделенных посредством сепаратора (30) из горячей циркуляции реактора с циркулирующим псевдоожиженным слоем, в камеру (40) теплообмена.
22. Способ по п.17, отличающийся тем, что стадию (b) осуществляют посредством подачи материала в виде частиц прямо из печи (16) в камеру (40) теплообмена через отверстие (72) в ее части (14а) общей стенки.
23. Способ по п.17, отличающийся тем, что во втором рабочем положении на стадии (е) газ для псевдоожижения подают во вспомогательный канал (62) больше, чем на одном уровне высоты.
РИСУНКИ
|
|