|
|
(21), (22) Заявка: 2004135070/11, 28.04.2003
(24) Дата начала отсчета срока действия патента:
28.04.2003
(30) Конвенционный приоритет:
29.04.2002 US 10/134,407
(43) Дата публикации заявки: 10.08.2005
(46) Опубликовано: 10.06.2007
(56) Список документов, цитированных в отчете о поиске:
US 6267204 B1, 31.07.2001. US 4455099 A, 19.06.1984. US 4416555 A, 22.11.1983. US 4037890 A, 26.07.1977. US 3075690 A, 29.01.1963. SU 263567 A, 21.09.1970. SU 1274759 A1, 07.12.1986.
(85) Дата перевода заявки PCT на национальную фазу:
29.11.2004
(86) Заявка PCT:
US 03/13114 (28.04.2003)
(87) Публикация PCT:
WO 03/092878 (13.11.2003)
Адрес для переписки:
101000, Москва, пер. М.Златоустинский, 10, кв.15, бюро “ЕВРОМАРКПАТ”, И.А.Веселицкой
|
(72) Автор(ы):
ХАРКЛИРОУД Майк Л. (US)
(73) Патентообладатель(и):
КОНОКОФИЛЛИПС КОМПАНИ (US)
|
(54) ПРИВОД МЕШАЛКИ
(57) Реферат:
Изобретение относится к приводу вращающейся мешалки химического реактора. Привод мешалки расположен в корпусе реактора и имеет приводной двигатель, соединенный валом с расположенной в корпусе реактора мешалкой. Вал проходит в корпус реактора через дно корпуса привода, на котором расположен стояк, препятствующий попаданию собирающейся на дне смазки внутрь корпуса реактора. К валу над стояком крепится экран, препятствующий попаданию смазки сверху в стояк. Для эффективной смазки и охлаждения подшипников вала используется закрепленный на валу маслосборник. Технический результат направлен на повышении надежности привода мешалки реактора. 3 н. и 28 з.п. ф-лы, 4 ил.
Настоящее изобретение относится к приводу вращающейся мешалки. В изобретении, в частности, предлагается предназначенный для перемешивания химических веществ и материалов в условиях высокой температуры и высокого давления привод, который не имеет расположенных на валу уплотнений и в котором в качестве опор вала можно использовать обычные подшипники.
В химической промышленности часто используют реакторы с мешалками, которые повышают эффективность протекающих в реакторах химических реакций. Мешалки предназначены, в частности, для равномерного перемешивания реагентов или образования однородной суспензии материалов с различной плотностью или перемешивания фаз, таких как эмульсии или суспензии твердых веществ в жидкостях. Обычно мешалки имеют одну или несколько расположенных в корпусе реактора лопастей или лопастных колес, закрепленных на вращающемся валу. Вал мешалки проходит через стенку корпуса реактора и соединяется с приводным двигателем, который вращает вал и закрепленные на нем лопасти или лопастные колеса. Свободное и устойчивое вращение нагруженного поворотными, поперечными и осевыми нагрузками вала обеспечивается подшипниками, которые, как правило, расположены у стенки корпуса реактора.
Используемые в химических реакторах мешалки должны надежно работать в течение достаточно длительного времени без частых поломок и перебоев в работе. Большинство промышленных химических установок имеют очень сложную конструкцию и требуют больших эксплуатационных расходов. Выход из строя одного из ректоров может привести к остановке большой части всей установки, а разборка (и сборка) привода мешалки с целью ремонта требует значительного времени и может нарушить непрерывный процесс обработки загруженной в реактор порции исходных материалов. Более того, остановка реактора в процессе обработки загруженной в него порции исходных материалов может потребовать до возобновления всего технологического процесса тщательной и трудоемкой очистки реактора.
При работе в тяжелых условиях, в частности при высокой температуре и высоком давлении, обычные приводы мешалок не обладают необходимой надежностью. В обычных реакторах двигатель привода мешалки расположен в окружающей среде низкого давления, и поэтому соединенный с двигателем приводной вал должен иметь уплотнения, сальники и/или подшипники, расположенные в том месте, где вал проходит внутрь реактора через стенку его корпуса. При работе в тяжелых условиях расположенные в зоне высоких температур и больших перепадов давлений уплотнения и сальники приводного вала мешалки часто выходят из строя. Кроме того, уплотнения, сальники и/или подшипники приводного вала мешалки требуют смазки, которая при работе в тяжелых условиях быстро теряет свои качества, а иногда и попадает внутрь реактора и загрязняет находящиеся в реакторе исходные реагенты и продукты реакции.
Применение обычных средств для решения проблем, возникающих при работе привода мешалки в тяжелых условиях, не дает должного эффекта. Так, например, в реакторах часто используют механические манжетные уплотнения, расположенные на стенке корпуса реактора между зонами высокого и низкого давления. Такие уплотнения достаточно надежны, однако будучи изготовленными из эластомеров, они не могут работать при высоких температурах. При высоких температурах вместо манжетных уплотнений часто используют металлические сильфонные уплотнения, которые, однако, не могут работать при высоких перепадах давлений. Для уплотнения проходящего через стенку корпуса реактора вала привода мешалки можно также использовать набивные сальниковые уплотнения. Такие уплотнения могут надежно работать при высоком давлении, но при высоких температурах их эксплуатация сопряжена с определенными проблемами. Герметичность таких уплотнений при работе при высоком давлении обеспечивается высокой степенью сжатия сальниковой набивки, при которой возникают значительные силы трения, которые вызывают дополнительное выделение тепла. При высокой температуре в реакторе и наличии трения материалы, из которых изготавливают сальниковую набивку, быстро изнашиваются и уплотнение выходит из строя.
Расположение всего привода мешалки (двигателя и приводного вала) внутри корпуса реактора, которое решает проблему уплотнения вала в зоне высокого перепада давлений, не всегда допустимо. Приводной двигатель менее приспособлен для работы в тяжелых условиях, чем подшипники вала из-за наличия в нем подшипников и других элементов, которые не выдерживают высоких температур и не могут работать в коррозионной атмосфере реактора. При расположении всего привода мешалки внутри корпуса реактора подшипники вынуждены работать при высокой температуре и потенциально в агрессивной среде. Кроме того, расположение всего привода мешалки внутри корпуса реактора заметно усложняет доступ к нему. При таком расположении привода всегда существует вероятность загрязнения реактора, особенно при использовании в приводе гидравлических двигателей.
Для решения проблемы надежной работы привода мешалки приводной вал можно выполнить в виде двух валов и расположить приводной двигатель и одну часть вала вне корпуса реактора, а другую часть вала пропустить через стенку внутрь корпуса. Для соединения двух валов можно использовать магнитную муфту. Для этого на расположенном снаружи и соединенном с двигателем валу устанавливают большие магниты, а другие магниты крепят к расположенному внутри реактора и соединенному с мешалкой валу. Магниты, расположенные по разные стороны от выступающей наружу стенки корпуса реактора, создают магнитное поле и при вращении двигателя приводят во вращение мешалку, закрепленную на конце вала, расположенного внутри корпуса реактора.
Применение магнитных муфт не только сопряжено с достаточно высокими затратами и ограничено величиной крутящего момента, который можно передать от приводного двигателя расположенной внутри реактора мешалке, но и требует использования в качестве опор вала подшипников, которые должны работать в тяжелых условиях в преобладающей в реакторе атмосфере. Такие подшипники даже при их изготовлении из специальных дорогих материалов часто преждевременно выходят из строя и являются причиной недопустимого загрязнения реактора. Кроме того, поскольку крутящий момент, передаваемый магнитной муфтой, обратно пропорционален квадрату толщины расположенной между магнитами стенки корпуса реактора, при достаточно большой толщине стенки, от которой зависит прочность корпуса реактора, магнитные муфты не могут передавать большие крутящие моменты. Помимо этого при необходимости увеличения крутящего момента магниты должны быть расположены на большем расстоянии от валов, что неизбежно приведет к увеличению размеров корпуса и толщины стенки, через которую магниты взаимодействуют друг с другом и которая должна быть рассчитана на рабочее давление реактора. Сравнительно небольшая величина передаваемого крутящего момента и сравнительно большие размеры магнитных муфт существенно ограничивают возможности их применения в приводе мешалок.
Все вышесказанное подтверждает необходимость в создании привода мешалки реактора, который мог бы надежно работать в тяжелых условиях с минимальной опасностью падения давления или загрязнения реактора. Такой привод помимо этого не должен иметь уплотнений, изготовленных из обычных материалов и обычных деталей. Кроме того, двигатель такого привода должен надежно работать в условиях высокого давления, которое может изменяться во времени.
Для решения этих задач в настоящем изобретении предлагается привод мешалки, предназначенный для использования в химических реакторах. Предлагаемый в изобретении привод имеет бесконтактные уплотнения, отделяющие его от реактора, и при этом работает при давлении, равном или близком давлению в корпусе реактора. Привод отделен от реактора теплоизолирующей перегородкой, благодаря наличию которой внутри корпуса привода поддерживается температура, которая существенно меньше температуры внутри корпуса реактора. Во избежание возможного попадания жидкости из корпуса привода в корпус реактора предназначены два перекрывающих друг друга экрана, один из которых выполнен в виде расположенного на дне корпуса привода стояка, а другой – в виде закрепленной на валу юбки. Подшипники, в которых вращается вал привода, погружены в смазку, которой заполнен один или несколько расположенных вокруг вала маслосборников. В выполненном таким образом приводе вал не проходит из среды высокого давления в среду низкого давления, а основные элементы привода, такие как подшипники и двигатель, изолированы от высоких температур среды, которая находится внутри корпуса реактора.
В одном из вариантов осуществления изобретения предлагаемый в нем привод мешалки содержит корпус с внутренней полостью и двигатель, расположенный внутри корпуса. Внутри корпуса расположена подшипниковая опора вала с гнездом для установки одного или нескольких подшипников. Приводной вал, вокруг которого расположен маслосборник, вращается в подшипниках и приводится во вращение двигателем. Расположенный вокруг вала маслосборник образует заполняемую смазкой внутреннюю полость, в которой находится по меньшей мере часть подшипников, погруженных в находящуюся в маслосборнике смазку. Заполняемый смазкой маслосборник соединен с приводным валом и вращается вместе с ним.
Корпус подшипников имеет верхнюю часть, которая выполнена в виде множества несущих рычагов или сплошного диска и расположена вне вращающегося маслосборника, и нижнюю консольную часть, которая выполнена в виде сплошного цилиндра, в котором расположено гнездо для установки подшипников. Вал, один или несколько подшипников и консольная часть подшипниковой опоры образуют смазочный колодец, а подшипниковая опора имеет коллектор для подачи смазки к подшипникам. Под маслосборником расположено дно корпуса привода с отверстием для прохода вала, которое окружено вертикальным стояком, через который проходит вал привода. На валу закреплена юбка, которая окружает и перекрывает стояк и имеет кольцевой выступ, который в радиальном направлении перекрывает кольцевой выступ стояка. Привод соединен с системой циркуляции, предназначенной для непрерывной подачи в двигатель привода рабочей жидкости и смазки в подшипники привода.
В другом варианте осуществления изобретения предлагаемый в нем привод мешалки содержит корпус с дном и расположенный в корпусе двигатель, соединенный с валом, который проходит через дно корпуса. На дне корпуса вокруг вала расположен стояк, а на валу над стояком закреплен экран, препятствующий попаданию смазки в стояк. Экран имеет юбку, которая перекрывает верхнюю часть стояка и имеет кольцевой выступ, который в радиальном направлении перекрывает кольцевой выступ стояка. В корпусе рядом с дном выполнено сливное отверстие. На валу закреплен маслосборник, внутри которого расположен подшипник. Маслосборник имеет вертикальную стенку, верхний край которой расположен над подшипниками, которые расположены внутри маслосборника в консольной опоре, которая имеет каналы для прохода смазки к подшипникам. Предлагаемый в изобретении привод соединен с предназначенной для подачи в корпус привода различных материалов и веществ магистралью, которая проходит через стояк и оканчивается внутри стояка рядом с валом. Дно корпуса привода и расположенный ниже дна корпуса участок вала имеют теплоизоляцию.
В еще одном варианте осуществления изобретения предлагается способ повышения долговечности подшипника привода мешалки, заключающийся в том, что на валу привода в корпусе опоры устанавливают один или несколько подшипников, вокруг подшипников размещают маслосборник, через подшипники пропускают собирающуюся во вращающемся маслосборнике смазку до его полного переполнения, смазывая и охлаждая этой смазкой подшипники, и обеспечивают непрерывную циркуляцию смазки через подшипники привода. Корпус реактора и привода мешалки разделяют расположенной под маслосборником вокруг вала перегородкой. Во избежание попадания смазки в корпус реактора используют расположенный на перегородке вокруг вала стояк, а смазку подшипников непрерывно охлаждают вне корпуса привода мешалки.
Более подробно перечисленные выше варианты осуществления изобретения рассмотрены в приведенном ниже описании со ссылкой на прилагаемые к описанию чертежи. В этом же описании со ссылкой на соответствующие чертежи и в формуле изобретения подробно рассмотрены и другие отличительные особенности, задачи и преимущества настоящего изобретения.
Краткое описание чертежей
На прилагаемых к описанию чертежах показано:
на фиг.1 – фрагмент привода мешалки в разрезе,
на фиг.2 – привод мешалки в разрезе,
на фиг.3 – фрагмент показанного в разрезе гидравлического привода, предназначенного для работы в условиях высокого давления, и,
на фиг.4 – схема системы циркуляции рабочей жидкости и смазки для предлагаемого в изобретении привода.
На всех чертежах одни и те же или схожие элементы обозначены одними и теми же позициями.
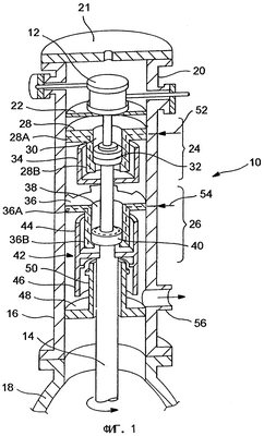
На фиг.1 в разрезе показан фрагмент предлагаемого в изобретении привода 10 мешалки. Привод 10 имеет двигатель 12, соединенный с валом 14, который проходит от двигателя внутрь корпуса 18. Вал 14 соединен с мешалкой (не показанной на чертеже), предназначенной для перемешивания жидкости в корпусе 18. Все основные компоненты привода 10 расположены в корпусе 16, который может быть расположен, как показано на чертеже, над корпусом 18 или частично либо полностью внутри корпуса 18. Корпусом 18 может служить емкость для длительного хранения различных жидкостей, емкость, в которой протекает один из промежуточных этапов определенного процесса, корпус реактора или другой сосуд высокого давления, используемый в химической или другой промышленности.
Корпус 16 привода может иметь любую форму, в том числе и показанную на чертеже форму полого герметичного цилиндра, внутренние стенки которого служат опорой для различных компонентов привода 10. Внутри корпуса 16 и корпуса 18 поддерживается по существу одно и то же высокое давление порядка нескольких сотен фунтов на кв.дюйм. Температура внутри корпуса 18 обычно составляет несколько сотен градусов по Фаренгейту и по существу превышает температуру внутри корпуса 16. Внутреннее пространство корпуса 18 сообщается с внутренним пространством корпуса 16, и любые находящиеся в корпусе 18 и в корпусе 16 газы могут перемешиваться друг с другом. В другом варианте при создании внутри корпуса 16 давления, несколько большего давления внутри корпуса 18, находящиеся в корпусе 18 газы не будут попадать в корпус 16, а при контролируемом сбросе давления в корпусе 16 до давления, меньшего давления в корпусе 18, находящиеся в корпусе 18 газы будут попадать в корпус 16. Аналогичным образом и газы, подаваемые в корпус 16, могут попадать из него в корпус 18.
Двигатель 12 привода расположен внутри корпуса 16, закрытого съемной крышкой 21, обеспечивающей возможность доступа к двигателю. В качестве двигателя 12 можно использовать гидравлический двигатель объемного типа. В качестве двигателя привода можно также использовать двигатели любого типа, которые могут обеспечивать вращение вала 14, например электрические или пневматические двигатели. Наличие крышки 21 обеспечивает возможность сборки, обслуживания и по меньшей мере частичной разборки привода 10. Кроме того, некоторые основные детали привода 10 можно собрать в отдельных корпусах и в собранном виде закрепить в корпусе привода.
Под двигателем 12 в корпусе 16 можно расположить установочную плиту 22 с соответствующими устройствами для крепления двигателя 12. Установочную плиту 22 можно выполнить сплошной или с отверстиями для подачи внутрь корпуса 20 двигателя через корпус 16 соответствующей смазки. Установочную плиту 22 можно выполнить съемной, обеспечив тем самым возможность доступа к другим расположенным в корпусе 16 элементам привода. Вместо плиты для установки двигателя 12 можно использовать и другие установочные устройства, например поперечные стержни или установочные рычаги.
Вал 14 привода вращается в одной или двух опорах 24, 26 с подшипниками качения. Опора 24 состоит из двух подшипников 32 качения, корпуса 28 опоры и маслосборника 34. Корпус 28 опоры имеет верхнюю часть 28А, которая прижимается к внутренней поверхности стенки корпуса 16, и расположенный снизу цилиндрический консольный стакан 28В. Верхнюю часть 28А корпуса можно закрепить непосредственно на внутренней поверхности стенки корпуса 16 или на расположенных на внутренней поверхности стенки корпуса установочных элементах (не показаны), позволяющих легко демонтировать корпус 28 опоры из корпуса привода. Верхнюю часть 28А корпуса опоры можно выполнить в виде крестовины с радиальными спицами или стержнями, проходящими от цилиндрического стакана 28В до стенки корпуса 16. Такие радиальные спицы можно выполнить в виде стержней или лапок на внешней поверхности цилиндрического стакана или в виде отдельных элементов. При наличии радиальных спиц между внутренней поверхностью стенки корпуса 16 и верхней частью 28А корпуса 28 опоры остается свободное пространство, которое можно использовать для прохода смазки и для доступа к нижней опоре 26 вала. Верхнюю часть 28А корпуса опоры можно также выполнить в виде сплошной плиты или диска.
Нижний стакан 28В корпуса опоры имеет форму цилиндра с внутренним отверстием, размеры которого приблизительно соответствуют размерам подшипников 32. Внутри стакана 28В выполнена небольшая расточка для установки по плотной посадке подшипников 32. В принципе стакан 28В может иметь и любую другую форму.
Расположенные в стакане 28В подшипники 32 образуют нижнюю стенку заполняемого смазкой колодца 30. Необходимое для смазки подшипников 32 масло подается по маслопроводу 52 либо непосредственно к подшипникам, либо в колодец 30. Перекачиваемое по маслопроводу 52 масло попадает в колодец 30 в одном или нескольких местах через соответствующие каналы (показанные на чертеже пунктирной линией). Попадающая в колодец смазка проходит через подшипники 32 либо под избыточным давлением в маслопроводе 52, либо под действием силы тяжести. Для подачи смазки в подшипники 32 можно также использовать и любые другие устройства, расположенные, например, над корпусом 28 опоры. Во избежание заклинивания или перегрева подшипников 32 при нормальной работе привода количество подаваемого (непрерывно или периодически) в корпус опоры свежего масла должно обеспечивать полное погружение подшипников в масло и их постоянную смазку и охлаждение.
Расположенный в нижней части корпуса опоры стакан 28В частично находится внутри маслосборника 34, в котором собирается смазка, проходящая из колодца 30 через подшипники 32. Маслосборник 34, который герметично закреплен на валу 14, вращается вместе с валом 14. Верхняя кромка маслосборника 34 должна быть расположена выше подшипников 32, но ниже верхней части 28А корпуса опоры. В этом случае подшипники 32 оказываются полностью погружены в смазку, и находящаяся в колодце 30 смазка не может попасть на верхнюю поверхность верхней части 28А корпуса опоры. Расположенный вокруг вала маслосборник 34 можно не крепить на валу 14 и выполнить неподвижным (а не вращающимся). При таком выполнении маслосборника некоторое количество смазки может вытекать из маслосборника 34 через зазор между валом 14 и примыкающей к нему внутренней поверхностью маслосборника.
Вторая опора 26 вала имеет один подшипник 40, расположенный в корпусе 26 опоры, и маслосборник 42. Вторая опора 26 должна быть расположена в том месте вала 14, которое максимально нагружено крутящим моментом и/или поперечными нагрузками. Расположенная на определенном расстоянии от первой опоры 24 вторая опора 26 образует вторую точку крепления вала 14 и тем самым существенно повышает его жесткость.
Аналогично первой опоре 24 корпус 36 второй опоры 26 имеет верхнюю часть 36А, которая прижимается к внутренней поверхности стенки корпуса 16, и расположенный снизу цилиндрический стакан 36В. Подаваемое в опору из маслопровода 54 масло проходит через выполненные в корпусе 36 опоры каналы (показанные на чертеже пунктирными линиями) и попадает в колодец 38, образованный нижним стаканом 36В корпуса опоры и расположенным в нем подшипником 40. Корпуса 28 и 36 опор вала, в которых расположены подшипники, могут иметь не только цилиндрическую, но и любую другую форму и могут быть выполнены в виде перфорированных корзин, несущих рычагов или подвешенных на рычагах колец.
Протекающая через подшипник 40 смазка собирается в маслосборнике 42. Маслосборник 42, который герметично закреплен на валу 14, вращается вместе с ним. Маслосборник 42 состоит из верхнего стакана 44, в котором собирается смазка, и расположенной под ним юбки 46, образующей экран, препятствующей свободному прохождению смазки. Верхняя кромка стакана 44 маслосборника 42 должна быть расположена выше подшипника 40, но ниже верхней части 36А корпуса 36 второй опоры. В этом случае подшипник 40 оказывается полностью погружен в смазку, и находящаяся в колодце 38 смазка не может попасть на верхнюю поверхность верхней части 36А корпуса 36 опоры. Маслосборник 42 можно также выполнить отдельно от расположенной снизу юбки.
Нижний край юбки 46, имеющей форму цилиндра, расположен над дном 48 корпуса привода. Отделяющая внутреннюю полость корпуса 16 привода от внутренней полости корпуса 18 перегородка, образованная дном 48 корпуса привода, может быть расположена у нижнего края корпуса 16, а также в плоскости, расположенной выше или ниже нижнего края корпуса 16. На верхней поверхности перегородки 48 расположен выполненный в виде вертикальной цилиндрической втулки стояк 50, ось которого совпадает с осью юбки 46 маслосборника. Стояк 50 входит внутрь юбки 46 и ограничивает попадание или препятствует попаданию жидкости из корпуса 18 в корпус 16 и из корпуса 16 в корпус 18. Стояк 50 может иметь любую другую форму, препятствующую прохождению жидкости из корпуса 16 в корпус 18. Расположенная вокруг стояка 50 юбка маслосборника 42 образует экран, препятствующий попаданию в него жидкости из корпуса привода.
Дно 48 корпуса привода и юбка 46 маслосборника отделяют внутреннюю полость корпуса 16 привода от внутренней полости корпуса 18. Имеющий змеевидную форму зазор между стояком 50 и юбкой 46 образует между корпусом 18 и корпусом 16 гидравлическое уплотнение. Это уплотнение, однако, не препятствует прохождению газов, и поэтому давление в корпусе 16 минимально, в частности всего на одну атмосферу, отличается от давления в корпусе 18.
Строго говоря, предлагаемый в изобретении привод мешалки может работать без всякого уплотнения между валом 14 и стояком 50. Более того, стояк 50 вместе с юбкой 46 маслосборника препятствуют утечке жидкой смазки из корпуса 16 привода и попаданию в корпус 16 привода из корпуса 18 различных химических продуктов. Предлагаемое в настоящем изобретении решение позволяет создать привод мешалки, не имеющий никаких уплотнений. При этом, однако, настоящее изобретение не ограничено приводами, которые вообще не имеют никаких уплотнений. В предлагаемом в изобретении приводе можно, в частности, использовать установленное на валу 14 контактное уплотнение или сальниковую набивку (изготовленную, например, из пропитанного графитом материала) или уплотнение лабиринтного типа, которое позволяет поддерживать в корпусе привода и в корпусе 18 разное давление или теплоизолировать корпус привода от корпуса 18. В этой связи, однако, необходимо подчеркнуть, что практическая реализация настоящего изобретения не требует обязательного применения таких уплотнений и что изобретение в равной степени относится и к приводам с уплотнениями, и к приводам без уплотнений.
Для смазки привода 10 можно использовать любую смазку и/или охлаждающую жидкость, которая может смазывать подшипники 32, 40, при этом смазка может быть не только одного типа, но и представлять собой смеси разных жидкостей, обладающих необходимыми свойствами. В качестве примера таких жидкостей можно назвать рабочую жидкость для гидросистем, минеральное масло, масло на основе нефтепродуктов, синтетические охлаждающие или смазывающие жидкости, воду или жидкости на основе воды. Предпочтительно для смазки подшипников 32, 40 вала и в качестве рабочей жидкости двигателя 12 использовать одну и ту же жидкость.
На фиг.2 в разрезе показан предлагаемый в изобретении привод 10 мешалки. Двигатель 12 и вал 14 привода расположены в корпусе 16. Подаваемая в двигатель 12 по трубопроводу 70 рабочая жидкость сливается в трубопровод 72. Использование в качестве двигателя 12 гидравлического двигателя объемного типа позволяет легко регулировать скорость его вращения и при необходимости изменять направление его вращения. Вытекающая из двигателя 12 рабочая жидкость собирается на плите 22 и сливается вниз через выполненные в плите 22 отверстия. Соединенная с верхней частью корпуса 16 линия 74 вентиляции предназначена для сброса давления в корпусе 16, нижняя часть которого сообщается с его верхней частью через сливные отверстия плиты 22.
Двигатель 12 соединен с валом 14 муфтой 76. Муфту 76 можно использовать для центрирования выходного вала двигателя 12 с валом 14 и извлечения двигателя 12 из корпуса 16. Для соединения двигателя с валом можно использовать любые муфты 76 – не только жесткие, но и упругие.
На фиг.2 так же, как и на фиг.1, показаны опоры 24, 26 с подшипниками качения, каждая из которых имеет свой маслосборник 34, 42. Смазку в корпус 28 первой опоры подают по маслопроводу 52, а в корпус 36 второй опоры – по маслопроводу 54. Маслопроводы 52 и 54 можно соединить с расположенными в корпусах 28, 36 опор соответственно коллекторами 84, 86. Смазку одновременно подают в расположенные над подшипниками 32, 40 колодцы 30, 38 и в расположенные под подшипниками 32, 40 маслосборники 34, 42.
Верхний край маслосборника 34, 42 расположен выше подшипника или подшипников 32, 40. Поэтому при соответствующем количестве смазки, подаваемой в колодцы 30, 38, расположенные в них подшипники 32, 40 оказываются полностью погружены в смазку. Нижний маслосборник 42 можно выполнить более глубоким, чем верхний маслосборник 34, обеспечив за счет большего объема смазки более эффективное охлаждение нижнего, более горячего участка вала 14.
В качестве подшипников 32 можно использовать два расположенных рядом навстречу друг другу радиально-упорных шариковых подшипника, воспринимающих двусторонние осевые усилия. В качестве подшипников 32 можно также использовать и расположенные на расстоянии друг от друга и навстречу друг другу конические роликовые подшипники. В другом варианте в качестве опоры вала можно также использовать и любые другие подшипники, в том числе различные конические роликоподшипники, игольчатые подшипники, упорные шарикоподшипники и подшипники скольжения. Опору вала можно также выполнить в виде одного подшипника или нескольких подшипников разного типа, включая плавающие магнитные подшипники. Вместо радиально-упорных подшипников, воспринимающих двусторонние осевые усилия, можно также использовать и радиально-упорные подшипники, передающие осевые усилия только в одном направлении. Крепление подшипников 32 на валу 14 в осевом направлении осуществляется с помощью фиксатора 83, который можно выполнить в виде резьбовой втулки, гайки, напрессованной на вал втулки, штифта или стопорного кольца либо в виде другого предназначенного для этого устройства. Точно так же и другую опору вала можно выполнить в виде одного подшипника 40 или нескольких подшипников одного и того же или разного типа.
Смазка, которая сливается через край вращающегося маслосборника 42, собирается на дне 48 корпуса привода. Дно 48 корпуса привода покрыто слоем теплоизоляции, ограничивающей передачу тепла из корпуса 18 в корпус 16 привода. Рядом с дном 48 расположен сливной патрубок 56, через который из корпуса 16 сливается подаваемая в него жидкая смазка. Для более эффективного слива смазки из корпуса 16 сливной патрубок 56 можно выполнить больших размеров. Дно 48 корпуса привода можно выполнить таким образом, чтобы на нем всегда оставалось некоторое количество смазки, образующей дополнительную теплоизоляцию между корпусом 18 и корпусом 16. Для дополнительной теплоизоляции корпуса 16 от корпуса 18 в дне 48 корпуса привода можно выполнить внутренние каналы (не показаны) для прохода охлаждающей жидкости. Дно 48 корпуса привода может быть расположено не только на границе между корпусами 16 и 18, но и внутри корпуса 16.
Нижний стояк 50 примыкает к верхней и к нижней поверхностям дна 48 корпуса привода и проходит концентрично рядом с валом 14. Расположенная внутри корпуса 18 часть вала закрыта теплоизолирующим кожухом 90, ограничивающим температуру вала и передачу тепла из корпуса 18 в корпус 16 привода. Верхний край теплоизолирующего кожуха 90 охватывает снаружи нижнюю часть стояка 50 и образует вместе с ней колодец для сбора грязи, который также ограничивает распространение выделяющегося в корпусе 18 тепла. На наружной поверхности верхней части стояка 50, расположенной внутри юбки 46 нижнего маслосборника, и на внутренней поверхности юбки выполнены кольцевые выступы 92, образующие уплотнение, ограничивающее слив смазки из корпуса 16. Кольцевые выступы 92 могут иметь не только показанную на чертеже плоскую форму, но и любую другую форму, при которой между валом и корпусом привода образуется щелевидный канал змеевидной формы.
Все перечисленные выше устройства позволяют уменьшить количество тепла, которое передается из корпуса 18 в корпус 16 привода. Расположенный на валу 14 теплоизолирующий кожух 90 препятствует прямому нагреву вала, а его верхняя часть ограничивает нагрев привода за счет конвективной передачи тепла. Распространению тепла из корпуса 18 в корпус привода препятствует также покрытое слоем теплоизоляции дно 48 корпуса привода. Определенная часть тепла поглощается также собирающейся на дне 48 корпуса привода смазкой, которая затем сливается из корпуса привода через патрубок 56. Конвективному распространению тепла препятствует и стояк 50, который отделен от расположенного внутри него вала 14 и от расположенной снаружи юбки 46 маслосборника небольшим зазором (и уплотнением, образованным кольцевыми выступами 92). Кроме того, находящаяся внутри вращающихся маслосборников 34, 42 и в колодцах 30, 38 в контакте с валом 14 смазка отбирает часть тепла от вала и ограничивает распространение тепла вверх по валу 14.
Во время работы двигатель 12 создает приложенный к валу 14 крутящий момент. Подаваемая в корпус привода по маслопроводам 52, 54 смазка заполняет колодцы 30, 38 и вращающиеся маслосборники 34, 42. Вместо маслопроводов для смазки подшипников можно использовать соответствующие идущие к подшипникам каналы, выполненные в стенках корпуса 16 привода и в корпусах опор 28, 36. Подаваемая в колодцы 30, 38 смазка под напором насоса или под действием силы тяжести проходит через подшипники 32, 40 в маслосборники 34, 42. Когда уровень смазки в колодце 30, 38 становится выше уровня верхнего края маслосборника 34, 42 соответственно смазка начинает перетекать через верхний край маслосборника. При этом расположенные ниже верхнего края маслосборника 34, 42 подшипники 32, 40 оказываются полностью погружены в смазку. Очевидно, что изменением высоты верхнего края маслосборника 34, 42 можно регулировать количество находящейся в маслосборнике смазки. Верхнюю часть 36А корпуса 36 нижней опоры можно выполнить в виде нескольких рычагов, соединяющих стенку корпуса 16 с консольной внутренней частью 36В корпуса опоры и образующих расположенные между ними окна, через которые переливающаяся через край верхнего маслосборника 34 смазка сливается на дно 48 корпуса привода. Смазка, которая переливается через край вращающегося нижнего маслосборника 42, сливается непосредственно на дно 48 корпуса привода. Собирающаяся на дне 48 корпуса привода смазка выходит из корпуса привода через сливной патрубок 56. Направление движения смазки показано на чертеже стрелками, обозначенными буквой “а”.
Внутрь корпуса привода по трубопроводу 88 можно подавать различные материалы и вещества в газообразном, жидком или порошкообразном состоянии. Трубопровод 88 проходит внутрь корпуса 16 привода через сливной патрубок 56, и его выходное отверстие расположено в стенке стояка 50 рядом с валом 14. Выходящие из трубопровода 88 через отверстие в стенке стояка газы проходят вдоль вала 14 вниз в корпус 18 и вверх в корпус 16. Такие газы используют, в частности, для создания определенной атмосферы в корпусе 18, а также для уменьшения количества вредных газов, попадающих из корпуса 18 в корпус 16.
По трубопроводу 88 в корпус привода можно подавать любой газ, который участвует в процессах, протекающих в корпусе 18, или газы, в том числе воздух, которые поддерживают определенный перепад давлений между корпусом 16 привода и корпусом 18.
В описанном выше приводе подшипники вала защищены от воздействия высокой температуры внутри корпуса 18. Поэтому в таком приводе можно использовать любые, в том числе и сравнительно дешевые, подшипники, условия работы которых позволяют повысить надежность и долговечность всего привода. Описанный выше привод не имеет подшипников или каких-либо других элементов, расположенных между двумя зонами с существенно разным давлением. Поэтому такой привод может надежно работать без всяких уплотнений или других аналогичных устройств, рассчитанных на работу при высоком давлении. Описанные выше решения позволяют защитить подшипники вала от воздействия высоких температур в корпусе 18 без использования рассчитанных на работу при высоком давлении уплотнений вала 14 и изолируют внутреннее пространство корпуса 18 от окружающей атмосферы. Более того, во время работы привода давление внутри корпуса 16 привода по существу не отличается от давления в корпусе 18. Отсутствие уплотнений существенно уменьшает опасность загрязнения и исключает возможность их преждевременного выхода из строя и утечки газов или других материалов.
На фиг.3 частично в разрезе показан гидравлический двигатель 130, который может работать в условиях высокого давления. Стандартные гидравлические двигатели заполняют рабочей жидкостью, которая находится в двигателе под определенным избыточным давлением. При нормальной работе находящаяся внутри двигателя рабочая жидкость под действием избыточного давления проходит через расположенные на концах двигателя подшипники. В таких гидравлических двигателях расположенные на концах двигателя подшипники непрерывно смазываются рабочей жидкостью, попадающей в них из рабочей полости двигателя. Проходящая через подшипники рабочая жидкость собирается в расположенных на концах двигателя сборниках и снова подается в двигатель или сливается в виде утечек в окружающую атмосферу. При работе обычного гидравлического двигателя в условиях высокого давления, которое больше давления рабочей жидкости внутри двигателя, рабочая жидкость остается в центре двигателя и не попадает в подшипники. При отсутствии смазки или при недостаточной смазке и в результате воздействия коррозионных газов подшипники могут быстро выйти из строя.
Некоторые гидравлические двигатели имеют отверстия, которые сообщаются с камерами, расположенными внутри двигателя рядом с подшипниками. При работе в условиях высокого давления через эти отверстия в расположенные рядом с подшипниками полости под определенным давлением закачивают смазку, которая попадает в подшипники и смазывает их. Для адекватной и непрерывной смазки подшипников давление, под которым смазку закачивают в двигатель, необходимо постоянно регулировать в зависимости от изменения окружающего давления. Такое регулирование давления смазки требует использования дорогих и сложных замкнутых систем смазки с датчиками давления и регулирующими клапанами.
Предлагаемый в изобретении двигатель 130 может работать без сложных систем регулирования давления смазки в условиях высокого давления, которое может изменяться во времени. Двигатель 130 имеет впускное отверстие 132 и выпускное отверстие 134 для подачи и слива рабочей жидкости. Рабочая жидкость попадает в двигатель под избыточным давлением через впускное отверстие 132 и сливается из двигателя через выпускное отверстие 134. Протекающая через двигатель 130 рабочая жидкость создает крутящий момент, под действием которого происходит вращение вала 136 двигателя. Вал 136 двигателя можно соединить с мешалкой (см. выше) или с другим вращающимся устройством.
Вал 136 двигателя вращается в верхнем и нижнем подшипниках 138 и 140, в качестве которых можно использовать обычные шарикоподшипники или соответствующие подшипники любого другого типа. Подшипники 138 и 140 выполнены съемными и крепятся в корпусе двигателя с помощью верхней и нижней крышек 142 и 144 соответственно. Для уплотнения выходящего из корпуса двигателя конца вала предназначена манжета 146, допускающая утечку рабочей жидкости, которая собирается в соответствующем сборнике и повторно используется в гидросистеме двигателя.
В нижней части корпуса двигателя над нижним подшипником 140 выполнено соединенное с нижней полостью 152 отверстие 148 для прохода смазки. Аналогичное отверстие 156 выполнено и в верхней части корпуса двигателя, которое соединено с (не показанной) верхней полостью, в которой расположен верхний подшипник 138. Нижнее и верхнее отверстия 148 и 156 соединены соответственно с трубками 150, 158, по которым в двигатель 130 подается смазка. На верхних концах трубок 150, 158 закреплены маслоприемники 154, 160. Над маслоприемниками 154, 160 расположены закрепленные в верхней крышке 166 двигателя подводящие трубки 164, 162, между концами которых и маслоприемниками 154, 160 имеются воздушные зазоры 170, 168. Два маслоприемника 154, 160 и две подводящие трубки 164, 162 можно заменить одним маслоприемником и одной подводящей трубкой.
Во время работы подаваемая в подводящие трубки 162, 164 смазка собирается в маслоприемниках 154, 160. Маслоприемники 154, 160 можно выполнить в виде воронок определенного размера, в которые из подводящих трубок 164, 162 попадает основная часть смазки. Собирающаяся в маслоприемниках 154, 160 смазка под действием небольшого напора сливается в трубки 150, 158 и попадает в двигатель 130 и в подшипники 140, 138. В другом варианте в маслоприемниках 154, 160 можно постоянно поддерживать определенное избыточное давление, достаточное для смазки подшипников двигателя 130 при изменениях окружающего давления.
Расход смазки в подводящих трубках 162, 164 может быть постоянным или же перемененным. При использовании в системе смазки насоса объемного типа, работающего с постоянной частотой вращения, расход подаваемой в двигатель смазки практически остается постоянным. При подаче в двигатель избыточного количества смазки и переполнении маслоприемников 154, 160 переливающуюся через их края лишнюю смазку собирают, фильтруют и снова используют для смазки двигателя. Во избежание переполнения маслоприемников 154, 160 можно вообще перестать подавать в двигатель смазку или соответствующим образом уменьшить количество смазки, подаваемой в двигатель по трубкам 162 и 164. Количество подаваемой в двигатель смазки обычно уменьшают при снижении частоты вращения вала двигателя. Кроме того, во избежание переполнения маслоприемников 154, 160 в них можно установить (не показанные) указатели уровня и в требуемый момент прекратить подачу в двигатель смазки.
В другом варианте в одном или двух отверстиях 148, 156, через которые смазка проходит в подшипники, можно оставить воздушный зазор. Выполненные с воздушным зазором отверстия 148, 156 можно использовать в качестве маслоприемников и для распыления смазки или образования в воздушном зазоре масляного тумана, обеспечивающего необходимую смазку подшипников.
Предлагаемый в этом варианте осуществления изобретения двигатель может работать в условиях высокого давления без всякого специального механизма компенсации перепада давлений. Использование резервуара с жидкой смазкой, давление в котором постоянно меняется при изменении внешнего давления среды, в которой работает двигатель 130, позволяет создать за подшипниками 138, 140 давление, несколько большее давления перед подшипниками 138, 140. При таком перепаде давлений во время работы двигателя 130 в подшипниках 138, 140 постоянно будет поддерживаться определенный уровень смазки, необходимый для их нормальной работы.
На фиг.4 показана схема системы 100 циркуляции рабочей жидкости и смазки для предлагаемого в изобретении привода 10. Систему 100 циркуляции можно выполнить в виде замкнутого контура и использовать ее для подачи в привод 10 рабочей жидкости и для смазки и охлаждения подшипников привода и других элементов, расположенных в корпусе привода. В качестве рабочей жидкости и для смазки, и охлаждения подшипников целесообразно использовать одну и ту же жидкость. Систему 100 можно также использовать для сбора сливающейся из привода рабочей жидкости и смазки, ее фильтрации и вторичного использования в приводе 10 и для контроля любых газов внутри корпуса привода 10.
Рабочее давление в корпусе 16 привода поддерживается с помощью уловителя 104, соединенного с линией 74 вентиляции корпуса и с линией 122 слива смазки. Линия 122 слива смазки должна иметь определенные размеры, при которых она не заполняется полностью вытекающей из корпуса 16 смазкой и допускает возможность прохождения через нее газа. Размеры линии 122 слива можно также выбирать таким образом, чтобы во время работы привода она была полностью заполнена смазкой.
Уловитель 104, который работает как сепаратор, в котором происходит отделение смазки от газа, соединен с накопительным резервуаром 102, который имеет вентиляционный стояк 110, в который попадают оставшиеся в смазке газы. Попадающие в вентиляционный стояк 110 газы либо сбрасываются в атмосферу, либо сжигаются на выходе из стояка. Эти газы можно также собирать в специальной емкости и хранить в ней для последующего использования или переработки. Газы вместе с жидкостью попадают из корпуса привода по линии 74 вентиляции в уловитель 104, который в свою очередь соединен с резервуаром 102. Проходящая через привод 10 смазка по линии 122 слива сливается в уловитель 104 или же сразу в резервуар 102. Используемая в гидравлическом двигателе привода рабочая жидкость сливается из корпуса привода в резервуар 102 по линии 72 слива. На соединенных с резервуаром 102 сливных линиях можно установить фильтры 106, 108, предназначенные для очистки от грязи рабочей жидкости и смазки, которая после очистки подается из резервуара в привод 10.
Находящуюся в резервуаре 102 жидкость можно использовать в качестве рабочей жидкости в гидравлическом двигателе привода 10 и для смазки и охлаждения различных элементов привода 10, в частности подшипников приводного вала. Для охлаждения выходящей из привода 10 рабочей жидкости и смазки предназначен кожухотрубчатый теплообменник 112. В качестве охлаждающей жидкости в теплообменнике 112 можно использовать воду из градирни или достаточно холодную жидкость из любого другого источника. Для охлаждения рабочей жидкости и смазки можно также использовать и любые другие теплообменники. Кроме того, теплообменник 112 можно установить не только на выходе из резервуара 102, но и перед резервуаром.
Для подачи рабочей жидкости в гидравлический двигатель привода 10 и для смазки и охлаждения подшипников привода 10 предназначены насосы 114, 118 объемного типа. Насос 114 выполнен в виде шестеренного насоса с приводным двигателем 116. Насос 114 перекачивает рабочую жидкость из резервуара 102 в гидравлический двигатель привода 10 по нагнетательному трубопроводу 70. Для привода насоса используют приводной двигатель 116 с регулируемой скоростью вращения. Использование для работы объемного гидравлического двигателя привода 10 насоса 114 объемного типа с регулируемым приводным двигателем позволяет регулировать частоту вращения привода 10. Для работы двигателя привода 10 можно также использовать и другие насосы, в том числе насосы не объемного типа.
В качестве насоса 118 также используют шестеренный насос с приводным двигателем 120. Насос 118 забирает жидкость из резервуара 102 и подает ее под избыточным давлением в привод для смазки и охлаждения подшипников и других элементов привода 10. Для подачи смазки в подшипники привода предназначены трубопроводы 52 и 54. Смазку можно также по трубопроводам 162 и 164 подавать и в подшипники двигателя привода 10. Кроме того, по трубопроводу 88 в корпус 16 привода можно подавать и другие вещества и материалы, в частности газ, о чем говорилось выше.
В описанном выше приводе (двигателе) подшипники и другие элементы привода изолированы от атмосферы высокой температуры корпуса, что позволяет при наличии системы сбора протекающей через подшипники смазки использовать в нем обычные дешевые подшипники. В качестве подшипников в таком приводе (двигателе) можно, например, использовать подшипники открытого типа, т.е. подшипники без уплотнений с непрерывным протеканием смазки через различные элементы подшипника, такие как ролики, шарики или иглы, или другие различные промежуточные элементы, расположенные между дорожками качения. Отсутствие заметного перепада давлений на подшипниках не требует использования подшипников, рассчитанных на работу при перепаде давлений, и позволяет тем самым повысить долговечность подшипников привода (двигателя).
Кроме того, в предлагаемом в изобретении приводе (двигателе) в качестве рабочей жидкости двигателя, смазки и охлаждающей жидкости можно использовать одну и ту же жидкость. Использование одной и той же жидкости позволяет уменьшить количество деталей привода и повысить надежность и снизить стоимость привода. В этой связи необходимо отметить, что для работы предлагаемого в изобретении привода (двигателя) можно использовать не только систему, показанную на чертежах, но и любые другие системы с другими элементами, которые обеспечивают возможность работы гидравлического двигателя и смазки и охлаждения его подшипников и других элементов.
Описанный выше вариант осуществления изобретения не исключает возможности и других конструктивных решений. Так, в частности, для более равномерного распределения нагрузки и более эффективного охлаждения каждого подшипника в качестве опор вала можно использовать другое количество и другое расположение подшипников разного типа. Кроме того, описанный выше привод можно выполнить в виде привода “тандемного” типа с одним или несколькими двигателями и с двумя или несколькими расположенными в одном корпусе приводными валами, каждый из которых имеет один или несколько подшипников и вращающиеся маслосборники. Привод “тандемного” типа обычно используют в реакторах с двумя или несколькими мешалками и, в частности, в тех случаях, когда мешалки должны вращаться навстречу друг другу.
Необходимо подчеркнуть, что практически настоящее изобретение может быть реализовано и путем других конструктивных решений, не искажающих его основной идеи и не выходящих за его объем. Так, в частности, описанный выше привод и двигатель могут работать в разных окружающих условиях и состоять из расположенных по-разному элементов. Все другие, кроме описанных выше, вариантов возможного осуществления изобретения полностью отражены в формуле изобретения.
Формула изобретения
1. Привод мешалки, содержащий корпус с внутренней полостью, двигатель, расположенный внутри корпуса, подшипниковую опору, закрепленную внутри корпуса с гнездом для установки подшипников, один или несколько подшипников, расположенных в гнезде опоры, приводной вал, который вращается в одном или нескольких подшипниках и приводится во вращение двигателем, и расположенный вокруг вала маслосборник с заполняемой смазкой внутренней полостью, в которой находится по меньшей мере часть одного или нескольких подшипников, погруженных в находящуюся в маслосборнике смазку.
2. Привод по п.1, в котором маслосборник соединен с приводным валом и вращается вместе с ним.
3. Привод по п.1, в котором подшипниковая опора имеет верхнюю часть, которая расположена вне внутренней полости вращающегося маслосборника, и нижнюю консольную часть, при этом гнездо опоры для установки подшипников расположено в консольной части опоры и по меньшей мере частично во внутренней полости вращающегося маслосборника.
4. Привод по п.3, в котором верхняя часть подшипниковой опоры выполнена в виде множества несущих рычагов.
5. Привод по п.3, в котором верхняя часть подшипниковой опоры выполнена в виде жесткого диска.
6. Привод по п.3, в котором консольная часть подшипниковой опоры выполнена в виде полого цилиндра.
7. Привод по п.6, в котором вал, один или несколько подшипников и консольная часть подшипниковой опоры образуют смазочный колодец.
8. Привод по п.1, в котором подшипниковая опора имеет коллектор для подачи смазки к подшипникам.
9. Привод по п.1, в котором под маслосборником расположено дно с отверстием для прохода вала.
10. Привод по п.9, в котором над дном корпуса вокруг отверстия для прохода вала расположен вертикальный стояк, благодаря наличию которого сливающаяся на дно смазка не попадает в отверстие для прохода вала.
11. Привод по п.10, содержащий закрепленную на валу юбку, которая перекрывает расположенный с ней на одной оси стояк.
12. Привод по п.11, в котором юбка и стояк имеют внутреннюю и наружную поверхности, при этом на внутренней поверхности юбки и на наружной поверхности стояка имеются кольцевые выступы, которые перекрывают друг друга.
13. Привод по п.1, в котором двигатель представляет собой гидравлический двигатель.
14. Привод по п.13, который содержит систему циркуляции жидкости, в которой сливающиеся в нее из двигателя рабочая жидкость и смазка подшипников перемешиваются друг с другом, а затем снова используются в двигателе и для смазки подшипников.
15. Привод мешалки, содержащий корпус с дном, который крепится к корпусу реактора, двигатель, расположенный в корпусе, приводной вал, соединенный с двигателем и проходящий через отверстие в дне корпуса, стояк, расположенный на дне корпуса привода над отверстием для прохода вала на одной оси с валом, и экран, закрепленный на приводном валу над стояком, препятствующий попаданию жидкости в стояк.
16. Привод по п.15, в котором экран имеет юбку, расположенную на оси стояка и перекрывающую его верхнюю часть.
17. Привод по п.15, в котором в корпусе рядом с дном выполнено сливное отверстие.
18. Привод по п.15, в котором юбка и стояки имеют внутреннюю и наружную поверхности, при этом на внутренней поверхности юбки и на наружной поверхности стояка имеются кольцевые выступы, которые перекрывают друг друга.
19. Привод по п.15, который имеет закрепленный на валу концентрично маслосборник с внутренней полостью для смазки и установленный на валу подшипник, расположенный во внутренней полости маслосборника.
20. Привод по п.19, в котором маслосборник имеет вертикальную стенку, верхний край которой расположен над одним или несколькими подшипниками.
21. Привод по п.20, в котором маслосборник крепится к юбке.
22. Привод по п.20, который имеет консольную опору подшипника, которая по меньшей мере частично расположена внутри маслосборника.
23. Привод по п.20, в котором опора подшипника имеет цилиндрическую часть с внутренней полостью, внутри которой расположена по меньшей мере часть подшипника.
24. Привод по п.23, в опоре подшипника которого имеется один или несколько каналов для прохода смазки, которая проходит по этим каналам к расположенному в опоре подшипнику.
25. Привод по п.15, содержащий магистраль для подачи в корпус привода различных материалов и веществ, которая проходит через стояк и оканчивается внутри стояка рядом с валом.
26. Привод по п.15, дно корпуса которого имеет теплоизоляцию, защищающую корпус привода от проникновения тепла из корпуса реактора.
27. Привод по п.26, в котором часть вала проходит через дно корпуса привода внутрь корпуса реактора и по меньшей мере частично покрыта слоем теплоизоляции.
28. Способ повышения долговечности подшипника привода мешалки, который имеет вал, проходящий внутрь корпуса реактора, заключающийся в том, что на валу в корпусе опоры устанавливают один или несколько подшипников, на валу вокруг одного или нескольких подшипников устанавливают вращающийся вместе с валом маслосборник, через один или несколько подшипников пропускают собирающуюся во вращающемся маслосборнике смазку до его полного переполнения, смазывая и охлаждая этой смазкой подшипники, и обеспечивают циркуляцию смазки через подшипники привода.
29. Способ по п.28, в котором корпус реактора и по меньшей мере часть привода мешалки разделяют расположенной под маслосборником вокруг вала перегородкой.
30. Способ по п.29, в котором во избежание попадания смазки в корпус реактора используют расположенный на перегородке вокруг вала стояк.
31. Способ по п.28, в котором смазку подшипников охлаждают вне корпуса привода мешалки.
РИСУНКИ
MM4A – Досрочное прекращение действия патента СССР или патента Российской Федерации на изобретение из-за неуплаты в установленный срок пошлины за поддержание патента в силе
Дата прекращения действия патента: 29.04.2008
Извещение опубликовано: 20.09.2010 БИ: 26/2010
|
|