|
(21), (22) Заявка: 2004117697/15, 10.06.2004
(24) Дата начала отсчета срока действия патента:
10.06.2004
(43) Дата публикации заявки: 20.11.2005
(46) Опубликовано: 10.06.2007
(56) Список документов, цитированных в отчете о поиске:
SU 1245353 А2, 23.07.1986. RU 2062949 C1, 27.06.1996. SU 1446417 A1, 23.12.1988. GB 1557958 A, 19.12.1979. JP 55099376 A, 29.07.1980.
Адрес для переписки:
445667, Самарская обл., г. Тольятти, ул. Белорусская, 14, Тольяттинский Государственый Университет, патентный отдел
|
(72) Автор(ы):
Соболев Алексей Александрович (RU)
(73) Патентообладатель(и):
Тольяттинский Государственный Университет (RU)
|
(54) УСТАНОВКА ДЛЯ ОЧИСТКИ ГАЗОВ ОТ ПЫЛИ
(57) Реферат:
Изобретение предназначено для очистки производственных пылегазовых выбросов, преимущественно от сушильных барабанов, в строительной, химической, энергетической и других отраслях промышленности. Установка включает группу циклонов, пылеуловитель вентиляционный мокрый и систему вентиляции, включающую в качестве побудителей тяги два последовательно установленных по ходу газа вентилятора. Первый вентилятор с нагнетающей стороны подключен к входному патрубку мокрого пылеуловителя, а второй со всасывающей стороны – к его выходному патрубку. Технический результат: обеспечение экологической безопасности технологии при широком диапазоне изменения технологических параметров, что достигается путем расширения функциональных возможностей системы вентиляции и стадии мокрого пылеулавливания. 1 ил.
Изобретение относится к технике очистки газов и воздуха от твердых дисперсных частиц и может быть использовано в промышленности строительных материалов, химической, энергетической и других отраслях промышленности для очистки производственных пылегазовых выбросов, преимущественно от сушильных барабанов.
Нарушения технологического режима сушки, сопровождающиеся изменением температуры в широком интервале, влагосодержания, а также объемного расхода отходящих газов, обуславливают нестабильность работы и пылеулавливающего оборудования.
Регулирование же процессов сушки и обеспыливания возможно, но представляет большие трудности. Оптимизация таких процессов связана с необходимостью применения систем автоматического регулирования и управления, при этом в случае значительных изменений условий работы объекта и его параметров находят применение самоприспосабливающиеся системы.
Во всех этих случаях предполагается, что функционирование этих систем происходит с применением средств управления и контроля на основе приборов и автоматических устройств.
Наиболее часто в промышленных установках пылеулавливания используются схемы двухступенчатой пылеочистки. В качестве первой ступени, как правило, используют аппарат грубой очистки (например, циклон), а в качестве второй – аппарат тонкой очистки (рукавный фильтр или электрофильтр – в случае сухой очистки, и мокрые пылеуловители различной конструкции – в случае мокрой очистки).
Известна установка для очистки газов от пыли, включающая циклон, мокрый пылеуловитель и систему вентиляции, причем в качестве мокрого пылеуловителя используют мокрый скруббер, а система вентиляции включает вентилятор, установленный между циклоном и мокрым пылеуловителем /Плановский А.Н., Муштаев З.И., Ульянов В.М. Сушка дисперсных материалов в химической промышленности. – М.: Химия, 1979. – с.230/.
Очистке здесь подвергаются отработанные газы из сушильных барабанов, используемых в типовых схемах химических производств, мокрое пылеулавливание производят в режиме нагнетания.
Описанная установка не обеспечивает достаточную эффективность пылеулавливания при изменении технологических параметров в широком диапазоне, так как в ней не предусмотрена возможность адаптации к изменяющимся условиям режима проведения технологического процесса.
Известна установка для очистки газов от пыли, включающая группу циклонов, мокрый пылеуловитель и систему вентиляции, причем в качестве мокрого пылеуловителя используют мокрый скруббер, а система вентиляции включает вентилятор, установленный после мокрого пылеуловителя /Гордон Г.М., Пейсамов И.Л. Пылеулавливание и очистка газов в цветной металлургии. – М.: Металлургия, 1977. – с.378-379/.
Очистке подвергают газы, выбрасываемые из сушильных барабанов производства медных, пиритных и других видов концентратов, мокрое пылеулавливание здесь производят в режиме отсасывания.
В этой установке также не предусмотрена возможность адаптации процесса обеспыливания к меняющемуся режиму процесса сушки.
Очистке подвергают газы из сушильного барабана стекольного производства, мокрое пылеулавливание производят в режиме отсасывания.
Как и в предыдущих случаях, описанная установка не обеспечивает возможность приспособления процесса пылеулавливания к меняющимся условиям режима сушки и состояния отходящих газов из сушильного барабана.
Известна наиболее близкая к предлагаемому изобретению установка для очистки газов от пыли, включающая циклон, мокрый пылеуловитель и систему вентиляции, причем в качестве мокрого пылеуловителя используют ротоклон, а система вентиляции включает вентилятор, установленный между циклоном и мокрым пылеуловителем /Дубинская Ф.Е., Алексеева Е.Д. Очистка газов в производстве минеральных удобрений. – М.: ЦИНТИХИМНЕФТЕМАШ, 1983. – с.24-25/.
Очистке здесь подвергаются газы, выбрасываемые из сушильных барабанов производства фосфоритной муки, мокрое пылеулавливание производят в режиме нагнетания.
В описанной установке используют струйный пылеуловитель мокрого типа, то есть такой пылеуловитель, принцип действия которого основан на механизме инерционного осаждения пылевых частиц из струй при обтекании перегородок, встроенных в пылеуловитель.
Но в случае, когда в технологии обеспыливания используется только один вентилятор, причем независимо от того на какой стороне мокрого пылеуловителя он установлен, установка является недостаточно эффективной при изменении в широком диапазоне технологических параметров запыленного газа, поступающего из процесса сушки.
Задача, на решение которой направлено заявляемое изобретение, заключается в том, чтобы обеспечить экологическую безопасность технологии при широком диапазоне изменения технологических параметров, достигаемую путем расширения функциональных возможностей системы вентиляции и стадии мокрого пылеулавливания.
Для достижения названного технического результата предлагается установка для очистки газов от пыли, включающая группу циклонов, пылеуловитель мокрый струйного типа и систему вентиляции, в которой система вентиляции включает в качестве побудителей тяги два последовательно установленных по ходу газа вентилятора, при этом первый вентилятор с нагнетающей стороны подключен к входному патрубку пылеуловителя, а второй со всасывающей стороны – к его выходному патрубку.
Включение в систему вентиляции в качестве побудителей тяги двух последовательно установленных по ходу газа вентиляторов обеспечивает взаимное влияние каждого из них на работу другого; подключение первого вентилятора с нагнетающей стороны к входному патрубку мокрого пылеуловителя, а второго со всасывающей стороны – к его выходному патрубку дает возможность использовать сам мокрый пылеуловитель в качестве системы, способной приспосабливаться к изменяющимся параметрам поступающего в него запыленного газа.
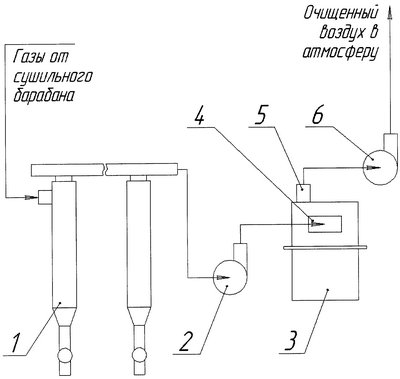
Предлагаемое изобретение иллюстрируется чертежом, на котором схематически изображена установка для очистки газов от пыли.
Предлагаемая установка для очистки газов от пыли содержит группу циклонов 1, вентилятор 2, мокрый пылеуловитель 3 с входным патрубком 4 и выходным патрубком 5, а также вентилятор 6.
Предпочтительнее использовать в качестве первого побудителя тяги дымосос, создающий большой напор и разрежение, способный преодолевать большие сопротивления, а в качестве второго побудителя тяги – вентилятор, мощность которого может быть в 1,5-2 раза меньше мощности дымососа, а в качестве мокрого пылеуловителя струйного типа – пылеуловитель вентиляционный мокрый (ПВМ).
Установка для обеспыливания работает следующим образом. Газы от сушильного барабана (не показан) под действием разрежения, создаваемого дымососом 2, поступают на первую ступень пылеочистки – в группу циклонов 1, где под действием центробежных сил происходит отделение крупных частиц пыли и сбор их в разгрузочных устройствах циклонов (не показаны).
Дальнейшее обеспыливание газа осуществляется в мокром пылеуловителе 3. Газ тем же дымососом 2 направляется в него через входной патрубок 4, очищается с помощью воды от мелких частиц пыли и через выходной патрубок 5 вентилятором 6 выбрасывается в атмосферу.
При изменении технологических параметров сушки и соответствующем изменении параметров пылегазового потока установка приводится к условиям, обеспечивающим стабильную эффективность пылеулавливания, по следующему механизму.
Если дымосос 2 (первый вентилятор) начинает работать с увеличением расхода газа, то второй вентилятор 6 для него становится своеобразным сопротивлением. В этом случае энергия повышенного расхода вызывает дополнительное раскручивание вентилятора 6, что способствует снижению расхода газа в системе в целом.
Если дымосос 2 начинает работать с пониженным расходом газа, то второй вентилятор 6 начинает работать с большим разрежением. В этом случае такой эффект способствует увеличению расхода газа в системе в целом.
При этом первый вентилятор (дымосос 2) осуществляет демпфирование крупномасштабных пульсаций технологических параметров, а второй – демпфирование маломасштабных пульсаций (“зачистку”) этих же параметров, доводя их до минимальных значений.
Синхронная работа последовательно установленных вентиляторов обеспечивает сглаживание колебаний параметров очищаемой пылегазовой смеси в пределах ±15% по параметрам расхода, что практически не влияет на эффективность пылеулавливания.
Кроме того, мокрые пылеуловители струйного типа, обладая малой инерционностью из-за большого количества воды, участвующего в процессе, и благодаря большой протяженности щели между перегородками являются естественным демпфером.
Необходимо отметить, что нормальная работа установки по предлагаемому изобретению предполагает предварительную настройку технологии в период пуско-наладочных работ (т.е. только один раз) известными способами: с установлением для мокрого пылеуловителя конструктивных и технологических параметров, определяющих условия течения воды и газа в промежутке между перегородками с точки зрения достижения наилучших результатов по эффективности пылеулавливания.
Практика эксплуатации такой установки позволила установить, что уменьшились затраты на эксплуатацию, упростилось ее обслуживание, расширился период стабильной высокоэффективной работы пылеуловителей.
Формула изобретения
Установка для очистки газов от пыли, включающая группу циклонов, пылеуловитель вентиляционный мокрый и систему вентиляции, отличающаяся тем, что система вентиляции включает в качестве побудителей тяги два последовательно установленных по ходу газа вентилятора, при этом первый вентилятор с нагнетающей стороны подключен к входному патрубку мокрого пылеуловителя, а второй со всасывающей стороны – к его выходному патрубку.
РИСУНКИ
MM4A – Досрочное прекращение действия патента СССР или патента Российской Федерации на изобретение из-за неуплаты в установленный срок пошлины за поддержание патента в силе
Дата прекращения действия патента: 11.06.2007
Извещение опубликовано: 27.01.2009 БИ: 03/2009
|