|
(21), (22) Заявка: 2005126472/14, 22.08.2005
(24) Дата начала отсчета срока действия патента:
22.08.2005
(46) Опубликовано: 10.06.2007
(56) Список документов, цитированных в отчете о поиске:
Адрес для переписки:
390027, г.Рязань, ул. Новая, 51б, ОАО “ПОЛИКОНД”, генеральному директору
|
(72) Автор(ы):
Гайдуков Владимир Петрович (RU), Ефанов Олег Иванович (RU), Лутонин Андрей Юрьевич (RU), Малыгин Анатолий Григорьевич (RU), Чистяков Василий Васильевич (RU)
(73) Патентообладатель(и):
Открытое акционерное общество “ПОЛИКОНД” (RU)
|
(54) БАНКА МЕДИЦИНСКАЯ
(57) Реферат:
Изобретение относится к медицинской технике, в частности к медицинским банкам для постановки холодным способом в лечебных учреждениях и в домашних условиях. Банка медицинская представляет собой открытую упругую емкость из эластичного материала, выполненную с возможностью вытеснения воздуха из полости в направлении к основанию при ее ручном сжатии. Емкость имеет многогранную внутреннюю поверхность с образованием плавно сопряженных профилей упругости. Технический результат – повышение эластичности емкости, упрощение и повышение удобства работы с медицинской банкой, что способствует более высокой надежности и долговечности. 6 з.п. ф-лы, 6 ил.
Изобретение относится к медицинской технике, в частности к медицинским банкам для постановки холодным способом в лечебных учреждениях и в домашних условиях.
Известна медицинская банка, содержащая жесткий корпус из эластичного материала с утолщенным основанием, выполненный за одно целое со средством разрежения в виде упругого баллона, при этом внутренняя поверхность емкости образована сопряженными цилиндрической и сферической поверхностями (см. патент №2014091 “Медицинская банка”, МКИ А61М 1/08, публ. 15.06.94 г.).
При выполнении корпуса и средства разряжения за одно целое из жесткого и эластичного материала проявляются следующие недостатки:
выполнение жесткого корпуса с высокой эластичностью, необходимой для обеспечения эффективного разрежения банки, приводит к неудовлетворительному лечебному эффекту из-за недостаточной его жесткости и снижению эффекта “присоски” банки после установки. Выполнение банки с утолщенным гладким основанием и цилиндрическим жестким корпусом снижает эффективность вытеснения воздуха из корпуса из-за высокой жесткости основания. Это снижает эффект “присоски” банки к телу и ухудшает ее лечебный эффект.
Известна медицинская банка для лечения различных заболеваний путем воздействия на биологически активные точки, расположенные на теле человека, содержащая корпус с отбортовкой в основании и донной частью с размещенным в ней аккумулятором тепла и магнитом, причем корпус выполнен цилиндрическим упругим с возможностью надежной фиксации аккумулятора тепла и заглушен с одной стороны, а магнит установлен в проточке, предусмотренной внутри аккумулятора тепла, исключая возможность его падения (см. патент №2179863 “Медицинская банка”, МКИ А61М 1/08, публ. 2002 г.).
Недостатки банки состоят в низкой степени разрежения из-за нерациональности цилиндрической формы, сложности изготовления. Конструкция банки также затрудняет использование ее в динамическом режиме проведения баночного массажа в связи с большим углом атаки основания банки и кожного покрова пациента. Наличие постоянных магнитов в донной части банки не обеспечит заметного лечебного эффекта от постоянного магнитного поля в связи с его удаленностью от поверхности тела пациента.
Известна медицинская банка, представляющая собой открытую емкость из эластичного материала с изменяющейся упругостью стенок и скругленной к опорной поверхности основания отбортовкой, образованную из усеченной конусообразной части с нарастающей по направлению к основанию толщиной стенок и выпуклой донной части, выполненных за одно целое с возможностью вытеснения воздуха из полости емкости при сжатии, при этом основание выполнено с плоскостью, образованной скосом на внутренней поверхности под углом 90-120° к вертикальной оси, для создания эффекта “присоски” и имеет скругленную опорную поверхность в виде нижней угловой части отбортовки (см. патент №2141345 “Банка медицинская”, МКИ А61М 1/08, публ.1999 г. – прототип).
В связи с малой площадью опорной поверхности основания, выполненного со скосом во внутрь емкости, конструкция банки имеет большой угол атаки основания банки к кожному покрову пациента, что затрудняет использование ее для баночного массажа. При работе в динамическом режиме банки быстро становятся непригодными из-за микротрещин, образующихся в более тонкой донной части, что сужает область их применения. Это сокращает надежность и долговечность изделия, эффективность лечения и ограничивает область его применения. Перемещение банки по телу пациента возможно только при прикладывании усилия в области отбортовки в сочетании с малой высотой изделия, что приводит к снижению фиксации банки в руке массажиста. Это также ухудшает эксплуатационные характеристики изделия.
Технический результат изобретения состоит в повышении эксплуатационных характеристик изделия (надежности, долговечности) путем повышения эластичности медицинской банки и анатомической пригодности для рук массажиста, что позволит повысить удобство проведения и быстродействие массажа.
Технический результат достигается тем, что в медицинской банке, представляющей собой открытую упругую емкость из эластичного материала, выполненную с возможностью вытеснения воздуха из полости в направлении к основанию при ее ручном сжатии, емкость имеет многогранную внутреннюю поверхность с образованием плавно сопряженных профилей упругости.
Целесообразно внутреннюю поверхность емкости в поперечном сечении выполнить в виде многогранника с числом граней не менее пяти.
Предпочтительно емкость выполнить высотой в диапазоне от 60 до 85 миллиметров и диаметром основания в диапазоне от 60 до 75 миллиметров.
Целесообразно емкость выполнить с многогранной внешней поверхностью.
Предпочтительно внешнюю поверхность емкости в поперечном сечении выполнить в виде многогранника с числом граней не менее пяти.
Предпочтительно в поперечном сечении грани внутренней и внешней поверхности емкости расположить параллельно.
Целесообразно иметь стенку емкости с нарастающей по направлению к основанию толщиной в пределах от трех до восьми миллиметров.
Сущность изобретения заключается в том, что наличие профилей упругости повышает эластичность емкости, упрощает и повышает удобство работы с медицинской банкой, способствует более высокой ее надежности и долговечности.
Проведенный анализ уровня техники, включающий поиск по патентным и научно-техническим источникам информации и выявление источников, содержащих сведения об аналогах заявляемого изобретения, позволяет установить, что заявителем не обнаружены технические решения, характеризующиеся признаками, идентичными всем существенным признакам заявленного изобретения. Определение из перечня выявленных аналогов прототипа позволило выявить совокупность существенных (по отношению к усматриваемому техническому результату) отличительных признаков в заявляемом объекте, изложенных в формуле изобретения. Сведений об известности отличительных признаков в совокупностях признаков известных технических решений с достижением такого же, как у заявляемого устройства, положительного эффекта не имеется. На основании этого сделан вывод, что предлагаемое техническое решение соответствует критерию “изобретательский уровень”.
Следовательно, заявляемое изобретение соответствует требованию “новизна” по действующему законодательству.
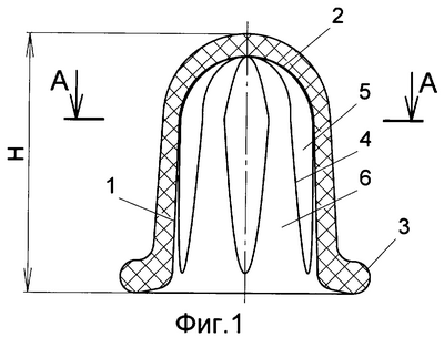
Фиг.1 изображает медицинскую банку с профилями упругости на внутренней поверхности.
Фиг.2 изображает банку медицинскую на фиг.1, вид снизу.
На фиг.3 показан разрез А-А.
Фиг.4 изображает медицинскую банку с профилями упругости на внутренней и внешней поверхности.
Фиг.5 изображает банку медицинскую на фиг.4, вид снизу.
На фиг.6 показан разрез Б-Б.
Медицинская банка выполнена в виде открытой емкости из инертного эластичного материала с изменяющейся упругостью стенок и с нарастающей по направлению к основанию толщиной в пределах от трех до восьми миллиметров. При этом емкость включает расширенную к открытой части боковую часть 1 (с нарастающей по направлению к основанию толщиной стенок) и донную часть 2, выполненные за одно целое с возможностью вытеснения воздуха из полости емкости при сжатии. Емкость имеет отбортовку 3, выполненную по периметру открытой ее части с внешним и внутренним округлениями к плоскости основания. В целях улучшения упругих свойств банки по меньшей мере внутренняя ее поверхность выполнена многогранной с образованием плавно сопряженных между собой профилей 4 упругости, представляющих собой части стенки емкости, внутренними и внешними боковыми поверхностями которых являются соответственно грани усеченной многогранной пирамиды 5 и части внешней поверхности усеченного конуса 6 (фиг.1). При этом внутренняя поверхность емкости в поперечном сечении представляет собой многогранник с числом граней не менее пяти. Предпочтительно выполнить емкость с шестигранником или восьмигранником в указанном поперечном сечении.
Для повышения надежности удерживания банки и исключения ее скольжения в руке при проведении вакуумного массажа внешняя ее поверхность выполнена также многогранной с образованием плавно сопряженных между собой профилей упругости 7, представляющих собой части стенки емкости, внутренними и внешними боковыми поверхностями которых являются соответственно грани усеченной многогранной пирамиды 8 и части поверхности усеченного конуса 9 (фиг.6). При этом внешняя поверхность емкости в поперечном сечении представляет собой многогранник с числом граней не менее пяти. Предпочтительно выполнить емкость с шестигранником или восьмигранником в указанном поперечном сечении. Грани внутренней и внешней поверхности емкости в поперечном сечении целесообразно расположить параллельно для повышения упругих свойств банки, причем высота (Н) банки должны быть выбрана из диапазона от 60 до 85 миллиметров (при высоте менее 60 миллиметров банку неудобно удерживать в процессе массажа, при высоте более 85 миллиметров увеличивается расход материала для изготовления банки, что повышает ее стоимость), а диаметр (D) основания – из диапазона от 60 до 75 миллиметров (при диаметре меньше 60 миллиметров уменьшается площадь рабочей поверхности, что снижает лечебный эффект, при диаметре больше 75 миллиметров увеличивается расход материала на изготовление банки без увеличения лечебной ее эффективности, что не целесообразно). В медицинской банке (фиг.1, 4) наклон внутренней грани профиля 4 жесткости медицинской к вертикальной оси составляет 1-9 градусов. В медицинской банке (фиг.4) наклон внешней грани к вертикальной оси составляет 2-15 градусов. Это обеспечивает изменение толщины стенки емкости и упругости по высоте. Медицинскую банку предпочтительно выполнить из гранулированного медицинского пластиката поливинилхлоридного марки ПМЭ-90П ТУ 6-01-1208-79.
Медицинская банка используется для физиотерапии следующим образом. Сжатием емкости удаляют из нее часть (до 70%) воздуха, прикладывают основанием открытой части к телу и быстро отпускают емкость, получая эффект “присоски”. Силами упругости емкость восстанавливает свою форму и внутри банки возникает разрежение, в результате чего мягкие ткани затягиваются в банку. Величина разрежения определяется толщиной стенок и может составлять, например, 0,45 технических атмосфер. По окончании процесса снова сжимают емкость. В медицинской банке давление сравнивается с атмосферным и она легко снимается с тела. Применение данных банок возможно для установки непосредственно на сухую кожу.
При сжатии емкости профили упругости 4 создают дополнительные упругие нагрузки при деформации стенки банки, что создает необходимое усилие при создании вакуума. Это, в конечном итоге, позволяет снизить величину утолщения стенки изделия, т.е. снизить расход материала, из которого изготовлена банка.
В связи с большей, чем в прототипе, площадью рабочей опорной поверхности и большей высотой (не менее 60 мм) конструкция банки устойчивее удерживается в руке массажиста при скольжении, дает больший вакуумный эффект, что обеспечивает более высокую лечебную эффективность банки.
Для проведения массажа к емкости прикладывают усилие поступательного горизонтального перемещения по поверхности тела пациента. При этом происходит “набегание” части отбортовки 3. Выполнение отбортовки 3 с внешним и внутренним скруглениями к плоскости основания радиусом от трех до семи миллиметров позволяет перемещать медицинскую банку по телу пациента без нарушения герметичности при приложении небольших усилий. В связи с большей площадью рабочей опорной поверхности основания упрощается использование ее для баночного массажа. В отбортовку могут быть встроены магнитные элементы (не показано).
Выполнение медицинской банки из пластмассы исключает возможность ранения кожи, уменьшает давление на больного веса медицинской банки и позволяет ставить ее на боковые поверхности туловища и конечности.
Предложенное устройство удобно и надежно в эксплуатации, просто и экономично в изготовлении, безопасно и универсально при использовании, долгосрочно в эксплуатации и пригодно к многократному обеззараживанию согласно требованиям санитарно-гигиенических норм.
Формула изобретения
1. Банка медицинская, представляющая собой открытую упругую емкость из эластичного материала, выполненную с возможностью вытеснения воздуха из полости в направлении к основанию при ее ручном сжатии, отличающаяся тем, что емкость имеет многогранную внутреннюю поверхность с образованием плавно сопряженных профилей упругости.
2. Банка медицинская по п.1, отличающаяся тем, что внутренняя поверхность емкости в поперечном сечении представляет собой многогранник с числом граней не менее пяти.
3. Банка медицинская по п.1, отличающаяся тем, что емкость имеет высоту от 60 до 85 мм и диаметр основания от 60 до 75 мм.
4. Банка медицинская по п.1, отличающаяся тем, что емкость имеет многогранную внешнюю поверхность.
5. Банка медицинская по п.4, отличающаяся тем, что внешняя поверхность емкости в поперечном сечении представляет собой многогранник с числом граней не менее пяти.
6. Банка медицинская по п.4, отличающаяся тем, что в поперечном сечении грани внутренней и внешней поверхностей емкости расположены параллельно.
7. Банка медицинская по п.1, отличающаяся тем, что емкость имеет стенку с нарастающей по направлению к основанию толщиной от 3 до 8 мм.
РИСУНКИ
|