|
|
(21), (22) Заявка: 2004117151/14, 06.11.2002
(24) Дата начала отсчета срока действия патента:
06.11.2002
(30) Конвенционный приоритет:
06.11.2001 US 09/993,167
(43) Дата публикации заявки: 27.03.2005
(46) Опубликовано: 10.06.2007
(56) Список документов, цитированных в отчете о поиске:
JP 5146313 А, 15.06.1993. RU 2161018 С2, 27.12.2000. US 5383242 A, 24.01.1995. US 6021538 A, 08.02.2000. US 5617603 А, 08.04.1997.
(85) Дата перевода заявки PCT на национальную фазу:
07.06.2004
(86) Заявка PCT:
US 02/35652 (06.11.2002)
(87) Публикация PCT:
WO 03/039395 (15.05.2003)
Адрес для переписки:
129010, Москва, ул. Б.Спасская, 25, стр.3, ООО “Юридическая фирма Городисский и Партнеры”, пат.пов. Г.Б. Егоровой, рег.№ 513
|
(72) Автор(ы):
БРАУН Патрик В. (US), ГОЛЛ Дуглас А. (US)
(73) Патентообладатель(и):
ДЗЕ ПРОКТЕР ЭНД ГЭМБЛ КОМПАНИ (US)
|
(54) МУЛЬТИПОДВИЖНАЯ ЗУБНАЯ ЩЕТКА
(57) Реферат:
Изобретение относится к медицинской технике. Зубная щетка с электрическим приводом содержит расположенный в ней двигатель, ручку на одном конце и головку на другом конце. Головка имеет продольную ось и первый держатель щетины с множеством пучков щетины. Двигатель оперативно соединен с первым держателем щетины для перемещения первого держателя щетины вдоль первой оси и вокруг второй оси. Изобретение позволяет улучшить очищающее воздействие щетки. 11 з.п. ф-лы, 22 ил.
Изобретение относится к области зубных щеток, и более конкретно, настоящее изобретение относится к области зубных щеток с электрическим приводом.
Наиболее известные электрические зубные щетки используют единственный держатель щетины, который питается или приводится электрическим двигателем, встроенным в зубную щетку. Держатели щетины в этих зубных щетках способны совершать различные перемещения. Например, хорошо известны держатели щетины, совершающие вращательное перемещение. Держатели щетины, которые совершают возвратно-поступательное перемещение по прямой в плоскости щетки, также известны. И держатели щетины, которые совершают возвратно-поступательное перемещение по прямой перпендикулярно плоскости щетки, также известны. Хотя они и являются удовлетворительными в определенных отношениях, по-прежнему существует необходимость в улучшении конструкции зубных щеток с электрическим приводом.
Предпринимались многочисленные попытки для улучшения конструкции, эффективности очистки, простоты и/или коммерческой жизнеспособности электрических зубных щеток. Один из подходов предусматривает обеспечение нескольких держателей щетины с электрическим приводом. Большинство специалистов группируют несколько наборов щетинок вдоль конца щетки и используют приводной механизм для одновременного вращения каждого из наборов щетинок. Примеры этих конструкций включают описанные в патентах США 3242516, 4156620, 4845795, 5088145, 5020179, 4827550 и 4545087, которые все включены в данное описание путем ссылки.
Похожая стратегия заключается в группировании наборов щетинок на нескольких вращающихся держателях щетины, как описано в патентах США 2140307 и 5170525, которые оба включены в данное описание путем ссылки. Вместо вращения каждого индивидуального набора щетинок вокруг его центра, то есть подхода, принятого в отмеченных ранее патентах, конструкции, описанные в патентах ‘307 и ‘525, вращают несколько групп наборов щетинок вокруг центра держателя щетины. Конкретно, несколько групп наборов щетинок расположены на кольцевом держателе щетины, и этот держатель щетины, обычно являющийся одним из нескольких, вращается вокруг своей собственной оси.
Патент США 5070567, включенный сюда путем ссылки, описывает конструкцию, объединяющую две отмеченные ранее стратегии. Вращающийся держатель щетины снабжен несколькими индивидуально вращающимися наборами щетинок. Хотя эта конструкция, вероятно, обеспечивает множество преимуществ, связанных с каждым из ее предшественников, эффективность очистки только вращающихся наборов щетинок является несколько ограниченной.
Еще одна конструкция описана в патенте США 5617603, включенном сюда путем ссылки. Патент ‘603 описывает узел щеток “с зигзагообразным качанием”. Очевидно, два держателя щетины перемещаются вдоль сложного пути в плоскости зубной щетки.
Хотя в уровне техники описаны двойные держатели щетины, которые подвергаются различным комбинациям перемещений, по-прежнему сохраняется потребность в создании электрической зубной щетки с несколькими держателями щетины, которая обеспечивает дополнительные комбинации перемещений.
Настоящее изобретение решает все отмеченные выше задачи и предлагает, в одном объекте изобретения, зубную щетку с электрическим приводом, содержащую корпус, имеющий конец, головку, противоположную этому концу, и шейку, продолжающуюся между концом и головкой. Корпус образует внутри полую область. Кроме того, зубная щетка содержит электрический двигатель и источник питания, расположенные в полой области корпуса. Двигатель обеспечивает вращающийся или вибрирующий ведущий вал, который имеет дистальный конец, смещенный от продольной оси ведущего вала. Зубная щетка содержит основание, шарнирно прикрепленное к головке и позиционируемое относительно головки с помощью латерально продолжающегося шарнирного элемента. Основание определяет приемный канал, способный принимать дистальный конец ведущего вала. Кроме того, зубная щетка содержит первый держатель щетины и второй держатель щетины, расположенные на головке щетки. Первый держатель щетины прикреплен к основанию. При вращении или вибрации ведущего вала его дистальный конец перемещается в приемном канале основания и заставляет основание и первый держатель щетины проворачиваться вокруг шарнирного элемента.
Другой объект изобретения предлагает зубную щетку с электрическим приводом, содержащую корпус, имеющий первый конец, головку, противоположную ему, и шейку, продолжающуюся между этим концом и головкой. Корпус образует полую внутреннюю область. Кроме того, зубная щетка содержит электрический двигатель и источник питания, расположенные в полой области в корпусе. Двигатель обеспечивает возвратно-поступательно перемещающийся ведущий вал. Кроме того, зубная щетка содержит основание, шарнирно прикрепленное к головке и позиционируемое по отношению к головке. Основание содержит продолжающийся от основания рычаг, зацепленный с ведущим валом. Зубная щетка также содержит первый держатель щетины, расположенный на основании и прикрепленный к нему, и второй держатель щетины, расположенный на головке. При возвратно-поступательном перемещении ведущего вала его дистальный конец перемещает рычаг основания и заставляет основание и первый держатель щетины проворачиваться.
Еще один объект изобретения предлагает зубную щетку с электрическим приводом, содержащую корпус, имеющий первый конец, головку, противоположную этому концу, и шейку, продолжающуюся между концом и корпусом. Корпус образует полую внутреннюю область. Головка образует вторую полую внутреннюю область. Головка также имеет наклонную поверхность вдоль наружной поверхности головки. Зубная щетка с электрическим приводом также содержит электрический двигатель и источник питания, расположенные в полой внутренней области корпуса. Двигатель обеспечивает вращающийся или вибрирующий ведущий вал. Этот вал имеет дистальный конец, смещенный от продольной оси ведущего вала. Зубная щетка также содержит позиционируемое основание, расположенное на головке с возможностью перемещения и в контакте с наклонной поверхностью. Основание содержит продолжающийся наружу рычаг, который продолжается во вторую полую область внутри головки. Рычаг образует канал, внутри которого расположен дистальный конец ведущего вала. Зубная щетка также содержит первый и второй держатели щетины, из которых первый держатель щетины прикреплен к позиционируемому основанию. При вращении или вибрации ведущего вала его дистальный конец перемещается внутри канала, предусмотренного в рычаге основания. Это перемещение заставляет основание и первый держатель щетины перемещаться вдоль наклонной поверхности.
Еще один объект изобретения предлагает зубную щетку с электрическим приводом, содержащую корпус, имеющий первый конец и головку, противоположную этому концу, и шейку, продолжающуюся между концом и головкой. Корпус образует полую внутреннюю область. Головка образует вторую внутреннюю полую область. Головка содержит наклонную поверхность вдоль наружной поверхности головки. Зубная щетка также содержит электрический двигатель и источник питания, расположенные в полой области в корпусе. Двигатель обеспечивает возвратно-поступательно перемещающийся приводной вал, имеющий дистальный конец, смещенный от продольной оси ведущего вала. Зубная щетка также содержит позиционируемое основание, расположенное на головке с возможностью перемещения и в контакте с наклонной поверхностью. Основание содержит продолжающийся наружу рычаг, который продолжается во вторую полую область в головке. Рычаг образует отверстие, внутри которого расположен дистальный конец ведущего вала. Зубная щетка также содержит первый держатель щетины, расположенный на основании и прикрепленный к нему, и второй держатель щетины, расположенный на головке. При возвратно-поступательном перемещении ведущего вала его дистальный конец перемещает рычаг основания и заставляет основание и первый держатель щетины перемещаться вдоль наклонной поверхности.
Еще один объект изобретения предлагает зубную щетку с электрическим приводом, содержащую корпус, имеющий первый конец, головку, противоположную этому концу, и шейку, продолжающуюся между концом и головкой. Корпус образует полую внутреннюю область. Головка образует вторую полую внутреннюю область. Головка также содержит продолговатое отверстие вдоль наружной поверхности головки. Зубная щетка также содержит электрический двигатель и источник питания, расположенные в полой области в корпусе. Двигатель обеспечивает вращающийся или вибрирующий ведущий вал, имеющий дистальный конец. Зубная щетка также содержит зубчатую шестерню, зацепляющуюся с дистальным концом ведущего вала. Зубчатая шестерня образует канал вдоль наружной поверхности зубчатой шестерни. Зубная щетка также содержит позиционируемое основание, расположенное на головке с возможностью перемещения и позиционируемое над продолговатым отверстием, образованным в головке. Основание содержит продолжающийся наружу направляющий элемент, расположенный в канале зубчатой шестерни и находящийся в контакте с ним. Направляющий элемент продолжается сквозь продолговатое отверстие, образованное вдоль головки. Кроме того, зубная щетка содержит первый держатель щетины, расположенный на основании и прикрепленный к нему. Зубная щетка также содержит второй держатель щетины, расположенный на головке. При вращении или вибрации ведущего вала зубчатая шестерня вращается, тем самым вызывая смещение направляющего элемента, основания и первого держателя щетины вдоль наружной поверхности головки.
Еще один объект изобретения предлагает зубную щетку с электрическим приводом, содержащую корпус, имеющий конец, головку, противоположную этому концу, и шейку, продолжающуюся между концом и головкой. Корпус образует полую внутреннюю область. Головка образует вторую внутреннюю полую область. Головка содержит продолговатое отверстие вдоль наружной поверхности головки. Зубная щетка также содержит электрический двигатель и источник питания, расположенные в полой области в корпусе. Двигатель обеспечивает возвратно-поступательно перемещающийся ведущий вал, имеющий дистальный конец. Зубная щетка также содержит позиционируемое основание, расположенное в головке с возможностью перемещения и позиционируемое над продолговатым отверстием, образованным в головке. Основание содержит продолжающийся наружу направляющий элемент, выступающий через продолговатое отверстие в головке. Направляющий элемент зацеплен с дистальным концом ведущего вала. Зубная щетка содержит первый держатель щетины, расположенный на основании и прикрепленный к нему. Зубная щетка также содержит второй держатель щетины, расположенный на головке. При возвратно-поступательном перемещении ведущего вала его дистальный конец перемещает основание и первый держатель щетины вдоль головки.
Еще один объект изобретения предлагает зубную щетку с электрическим приводом, содержащую корпус, имеющий первый конец, головку, противоположную этому концу, и шейку, продолжающуюся между первым концом и головкой. Корпус образует полую внутреннюю область. Головка образует вторую полую внутреннюю область. Головка также содержит продолговатое отверстие вдоль наружной поверхности головки. Кроме того, зубная щетка содержит электрический двигатель и источник питания, расположенные в полой области в корпусе. Двигатель обеспечивает вращающийся или вибрирующий ведущий вал. Зубная щетка также содержит зубчатую шестерню, зацепленную с ведущим валом. Зубчатая шестерня образует канал вдоль ее наружной поверхности. Зубная щетка также содержит основание, расположенное на головке с возможностью перемещения и позиционируемое по отношению к головке. Основание содержит продолжающийся наружу направляющий элемент, выступающий через продолговатое отверстие и во вторую полую область в головке. Направляющий элемент расположен в канале зубчатой шестерни и находится в контакте с ним. Зубная щетка также содержит первый и второй держатели щетины, расположенные на головке. Второй держатель щетины прикреплен к основанию. При вращении или вибрации ведущего вала зубчатая шестерня вращается, вызывая смещение направляющего элемента, основания и второго держателя щетины.
Еще один объект изобретения предлагает зубную щетку с электрическим приводом, содержащую корпус, имеющий первый конец, головку, противоположную этому концу, и шейку, продолжающуюся между концом и головкой. Корпус образует полую внутреннюю область, а головка образует вторую полую внутреннюю область. Головка также содержит продолговатое отверстие вдоль ее наружной поверхности. Кроме того, зубная щетка содержит электрический двигатель и источник питания, расположенные в полой области в корпусе. Двигатель обеспечивает возвратно-поступательно перемещающийся ведущий вал. Кроме того, зубная щетка содержит позиционируемое основание, расположенное на головке с возможностью перемещения. Основание содержит продолжающийся наружу направляющий элемент, который выступает через продолговатое отверстие, образованное вдоль головки. Направляющий элемент продолжается во вторую полую область в головке. Направляющий элемент зацеплен с ведущим валом. Зубная щетка также содержит первый держатель щетины, расположенный на головке, и второй держатель щетины, расположенный на основании и прикрепленный к нему. При возвратно-поступательном перемещении ведущего вала ведущий вал перемещает направляющий элемент основания и заставляет основание и второй держатель щетины перемещаться.
В еще одном объекте изобретение предлагает зубную щетку с электрическим приводом, содержащую корпус, имеющий первый конец, головку, противоположную этому концу, и шейку, продолжающуюся между первым концом и головкой. Корпус образует полую внутреннюю область, а головка образует вторую полую внутреннюю область и содержит внутренние опорные элементы, которые образуют кулачковое отверстие второй полой области в головке. Зубная щетка также содержит электрический двигатель и источник питания, расположенные в полой области в корпусе. Двигатель обеспечивает вращающийся или вибрирующий ведущий вал. Зубная щетка также содержит зубчатую шестерню, зацепленную с дистальным концом ведущего вала. Зубчатая шестерня определяет канал вдоль ее наружной поверхности. Зубная щетка также содержит позиционируемое основание, расположенное на головке с возможностью перемещения. Основание содержит продолжающийся наружу рычаг, выступающий во вторую полую область в головке. Рычаг содержит латерально продолжающийся направляющий элемент, расположенный в кулачковом отверстии, образованном внутренними опорными элементами головки, и зацепленный с ним. Зубная щетка также содержит соединительный узел, имеющий направляющий элемент, расположенный в канале зубчатой шестерни. Соединительный узел обеспечивает взаимодействие зубчатой шестерни с рычагом основания. Зубная щетка содержит первый держатель щетины, расположенный на основании и прикрепленный к нему, а также содержит второй держатель щетины, расположенный на головке и между первым держателем щетины и первым концом корпуса. При вращении или вибрации ведущего вала зубчатая шестерня вращается, тем самым вызывая смещение направляющего элемента, соединительного узла, основания и первого держателя щетины.
Еще один объект изобретения предлагает зубную щетку с электрическим приводом, содержащую корпус, имеющий конец, головку, противоположную этому концу, и шейку, продолжающуюся между концом и головкой. Корпус образует полую внутреннюю область, а головка образует вторую полую внутреннюю область. Головка также содержит внутренние опорные элементы, которые образуют кулачковое отверстие в головке. Кроме того, зубная щетка содержит электрический двигатель и источник питания, расположенные в полой области в корпусе. Двигатель обеспечивает возвратно-поступательно перемещающийся ведущий вал, имеющий дистальный конец. Зубная щетка также содержит позиционируемое основание, расположенное на головке с возможностью перемещения и содержащее продолжающийся наружу рычаг, выступающий во вторую полую область в головке. Рычаг содержит латерально продолжающийся направляющий элемент, расположенный в кулачковом отверстии, образованном внутренними опорными элементами головки, и зацепленный с ним. Зубная щетка также содержит соединительный узел, обеспечивающий взаимодействие ведущего вала с рычагом основания. Зубная щетка также содержит первый и второй держатели щетины, расположенные на головке. Первый держатель щетины закреплен на основании. При возвратно-поступательном перемещении ведущего вала его дистальный конец перемещает рычаг основания и заставляет перемещаться основание и первый держатель щетины.
Еще один объект изобретения предлагает зубную щетку с электрическим приводом, содержащую корпус, имеющий конец, головку, противоположную этому концу, и шейку, продолжающуюся между концом и головкой. Корпус образует полую внутреннюю область, а головка образует вторую полую внутреннюю область. Головка дополнительно содержит внутренние опорные элементы, которые образуют кулачковое отверстие во второй области в головке. Зубная щетка также содержит электрический двигатель и источник питания, расположенные в полой области в корпусе. Двигатель обеспечивает возвратно-поступательно перемещающийся ведущий вал. Зубная щетка также содержит позиционируемое основание, расположенное на головке с возможностью перемещения. Основание содержит продолжающийся наружу рычаг, выступающий во вторую полую область в головке. Рычаг содержит латерально продолжающийся направляющий элемент, расположенный в кулачковом отверстии, образованном внутренними опорными элементами головки, и зацепленный с ним. Зубная щетка также содержит соединительный узел, обеспечивающий взаимодействие ведущего вала с рычагом основания. Зубная щетка также содержит первый и второй держатели щетины, расположенные на головке. Второй держатель щетины прикреплен к основанию. При возвратно-поступательном перемещении ведущего вала ведущий вал перемещает рычаг основания и заставляет перемещаться основание и второй держатель щетины.
Еще один объект изобретения предлагает зубную щетку с электрическим приводом, содержащую корпус, имеющий конец, головку, противоположную этому концу, и шейку, продолжающуюся между концом и головкой. Корпус образует полую внутреннюю область, а головка образует вторую полую внутреннюю область. Головка также содержит продолговатое отверстие, продолжающееся вдоль наружной поверхности головки. Кроме того, зубная щетка содержит электрический двигатель и источник питания, расположенные в полой области в корпусе. Двигатель обеспечивает вращающийся или вибрирующий ведущий вал. Зубная щетка также содержит зубчатую шестерню, зацепленную с ведущим валом. Зубчатая шестерня образует канал вдоль ее наружной поверхности. Зубная щетка также содержит позиционируемое основание, расположенное на головке с возможностью перемещения и позиционируемое над продолговатым отверстием, образованным в головке. Основание содержит продолжающийся наружу направляющий элемент, проходящий через продолговатое отверстие, образованное в головке и расположенное во второй полой области в головке. Зубная щетка также содержит соединительный узел, расположенный во второй полой области в головке. Соединительный узел имеет первый конец, расположенный в канале зубчатой шестерни и находящийся в контакте с ним, и второй конец, зацепленный с направляющим элементом основания. Зубная щетка также содержит первый и второй держатели щетины, расположенные на головке. Первый держатель щетины прикреплен к основанию. При вращении или вибрации ведущего вала зубчатая шестерня вращается, что вызывает смещение соединительного узла, направляющего элемента, основания и первого держателя щетины вдоль наружной поверхности головки.
Еще один объект изобретения предлагает зубную щетку с электрическим приводом, содержащую корпус, имеющий головку, конец, противоположный головке, и шейку, продолжающуюся между головкой и концом. Корпус образует первую полую внутреннюю область, а головка образует вторую полую внутреннюю область. Головка также содержит обращенную наружу поверхность. Зубная щетка также содержит двигатель и источник питания, расположенные в первой внутренней области. Двигатель обеспечивает ведущий вал. Зубная щетка также содержит множество держателей щетины, расположенных на обращенной наружу поверхности головки. Кроме того, зубная щетка содержит основание, расположенное на обращенной наружу поверхности головки с возможностью перемещения и зацепленное с ведущим валом двигателя. По меньшей мере один из держателей щетины зацеплен с основанием. Во время работы двигателя основание и по меньшей мере один из держателей щетины, зацепленный с ним, перемещаются вдоль головки. Головка образует продолговатое отверстие в обращенной наружу поверхности головки. Ориентация или форма этого отверстия управляет движением основания и держателей щетины, зацепленных с ним.
Еще один объект изобретения предлагает зубную щетку с электрическим приводом, содержащую корпус с головкой, конец, противоположный головке, и шейку, продолжающуюся между головкой и концом. Корпус образует первую полую внутреннюю область, а головка образует вторую полую внутреннюю область. Головка также содержит обращенную наружу поверхность. Зубная щетка также содержит двигатель и источник питания, расположенные в первой внутренней области, причем двигатель обеспечивает ведущий вал. Кроме того, зубная щетка содержит множество держателей щетины, расположенных на обращенной наружу поверхности головки. Кроме того, зубная щетка содержит основание, расположенное на обращенной наружу поверхности головки с возможностью перемещения и зацепленное с ведущим валом. По меньшей мере один из держателей щетины зацеплен с основанием. Во время работы двигателя основание и по меньшей мере один из держателей щетины, зацепленный с ним, перемещаются вдоль головки. Головка содержит наклонную поверхность в обращенной наружу поверхности головки, которая управляет перемещением основания и по меньшей мере одного из держателей щетины, зацепленного с основанием.
Краткое описание чертежей
Настоящее изобретение может быть выполнено с различными компонентами и системами компонентов, и различными методами, способами или процедурами и порядком стадий. Сопровождающие чертежи предназначены только для иллюстрации предпочтительных вариантов выполнения, при этом они необязательно выполнены в масштабе и не предназначены для ограничения настоящего изобретения.
Настоящее изобретение будет лучше понято из последующего описания со ссылкой на сопровождающие чертежи, на которых обозначено:
Фиг.1 – вид в перспективе предпочтительного варианта выполнения зубной щетки по изобретению, иллюстрирующий различные плоскости и их ориентацию по отношению к зубной щетке;
Фиг.2 – вид зубной щетки спереди, иллюстрирующий держатели щетины предпочтительного варианта выполнения зубной щетки по изобретению;
Фиг.2A – вид первого держателя щетины зубной щетки, показанной на фиг.2, иллюстрирующий держатель щетины, совершающий определенный тип перемещений;
Фиг.2B – вид первого держателя щетины зубной щетки, показанной на фиг.2, иллюстрирующий держатель щетины, совершающий определенный тип перемещений;
Фиг.2C – вид первого держателя щетины зубной щетки, показанной на фиг.2, иллюстрирующий держатель щетины, совершающий определенный тип перемещений;
Фиг.2D – вид первого держателя щетины зубной щетки, показанной на фиг.2, иллюстрирующий держатель щетины, совершающий определенный тип перемещений;
Фиг.2E – вид первого держателя щетины зубной щетки, показанной на фиг.2, иллюстрирующий держатель щетины, совершающий определенный тип перемещений;
Фиг.2F – вид второго держателя щетины зубной щетки, показанной на фиг.2, иллюстрирующий держатель щетины, совершающий определенный тип перемещений;
Фиг.2G – вид второго держателя щетины зубной щетки, показанной на фиг.2, иллюстрирующий держатель щетины, совершающий определенный тип перемещений;
Фиг.2H – вид второго держателя щетины зубной щетки, показанной на фиг.2, иллюстрирующий держатель щетины, совершающий определенный тип перемещений;
Фиг.2I – вид второго держателя щетины зубной щетки, показанной на фиг.2, иллюстрирующий держатель щетины, совершающий определенный тип перемещений;
Фиг.3 – вид зубной щетки спереди, иллюстрирующий держатели щетины предпочтительного варианта выполнения зубной щетки по изобретению;
Фиг.3A – вид первого держателя щетины зубной щетки, показанной на фиг.3, иллюстрирующий держатель щетины, совершающий определенный тип перемещений;
Фиг.3B – вид первого держателя щетины зубной щетки, показанной на фиг.3, иллюстрирующий держатель щетины, совершающий определенный тип перемещений;
Фиг.3C – вид первого держателя щетины зубной щетки, показанной на фиг.3, иллюстрирующий держатель щетины, совершающий определенный тип перемещений;
Фиг.3D – вид первого держателя щетины зубной щетки, показанной на фиг.3, иллюстрирующий держатель щетины, совершающий определенный тип перемещений;
Фиг.3E – вид второго держателя щетины зубной щетки, показанной на фиг.3, иллюстрирующий держатель щетины, совершающий определенный тип перемещений;
Фиг.3F – вид второго держателя щетины зубной щетки, показанной на фиг.3, иллюстрирующий держатель щетины, совершающий определенный тип перемещений;
Фиг.3G – вид второго держателя щетины зубной щетки, показанной на фиг.3, иллюстрирующий держатель щетины, совершающий определенный тип перемещений;
Фиг.3H – вид второго держателя щетины зубной щетки, показанной на фиг.3, иллюстрирующий держатель щетины, совершающий определенный тип перемещений;
Фиг.4 – вид спереди предпочтительного варианта выполнения зубной щетки по изобретению;
Фиг.4A – вид первого держателя щетины зубной щетки, показанной на фиг.4, иллюстрирующий держатель щетины, совершающий определенный тип перемещений;
Фиг.4B – вид второго держателя щетины зубной щетки, показанной на фиг.4, иллюстрирующий держатель щетины, совершающий определенный тип перемещений;
Фиг.4C – вид второго держателя щетины зубной щетки, показанной на фиг.4, иллюстрирующий держатель щетины, совершающий определенный тип перемещений;
Фиг.4D – вид второго держателя щетины зубной щетки, показанной на фиг.4, иллюстрирующий держатель щетины, совершающий определенный тип перемещений;
Фиг.4E – вид второго держателя щетины зубной щетки, показанной на фиг.4, иллюстрирующий держатель щетины, совершающий определенный тип перемещений;
Фиг.5 – вид спереди предпочтительного варианта выполнения зубной щетки по изобретению;
Фиг.5A – вид первого держателя щетины зубной щетки, показанной на фиг.5, иллюстрирующий держатель щетины, совершающий определенный тип перемещений;
Фиг.5B – вид первого держателя щетины зубной щетки, показанной на фиг.5, иллюстрирующий держатель щетины, совершающий определенный тип перемещений;
Фиг.5C – вид первого держателя щетины зубной щетки, показанной на фиг.5, иллюстрирующий держатель щетины, совершающий определенный тип перемещений;
Фиг.5D – вид второго держателя щетины зубной щетки, показанной на фиг.5, иллюстрирующий держатель щетины, совершающий определенный тип перемещений;
Фиг.5E – вид второго держателя щетины зубной щетки, показанной на фиг.5, иллюстрирующий держатель щетины, совершающий определенный тип перемещений;
Фиг.5F – вид второго держателя щетины зубной щетки, показанной на фиг.5, иллюстрирующий держатель щетины, совершающий определенный тип перемещений;
Фиг.5G – вид второго держателя щетины зубной щетки, показанной на фиг.5, иллюстрирующий держатель щетины, совершающий определенный тип перемещений;
Фиг.6 – вид спереди предпочтительного варианта выполнения зубной щетки по изобретению;
Фиг.6A – вид первого держателя щетины зубной щетки, показанной на фиг.6, иллюстрирующий держатель щетины, совершающий определенный тип перемещений;
Фиг.6B – вид второго держателя щетины зубной щетки, показанной на фиг.6, иллюстрирующий держатель щетины, совершающий определенный тип перемещений;
Фиг.6C – вид второго держателя щетины зубной щетки, показанной на фиг.6, иллюстрирующий держатель щетины, совершающий определенный тип перемещений;
Фиг.6D – вид второго держателя щетины зубной щетки, показанной на фиг.6, иллюстрирующий держатель щетины, совершающий определенный тип перемещений;
Фиг.6E – вид второго держателя щетины зубной щетки, показанной на фиг.6, иллюстрирующий держатель щетины, совершающий определенный тип перемещений;
Фиг.7A – схематичный вид предпочтительного варианта выполнения зубной щетки по изобретению, иллюстрирующий определенный механизм, в первом положении, для перемещения держателя щетины;
Фиг.7B – схематичный вид предпочтительного варианта выполнения зубной щетки, показанной на фиг.7A, иллюстрирующий механизм, в другом положении, для перемещения держателя щетины;
Фиг.7C – схематичный вид в сечении по 7C-7C на фиг.7A;
Фиг.7D – схематичный вид в сечении по 7D-7D на фиг.7B;
Фиг.8A – схематичный вид предпочтительного варианта выполнения зубной щетки по изобретению, иллюстрирующий другой механизм, для перемещения держателя щетины;
Фиг.8B – схематичный вид в сечении по 8B-8B на фиг.8A;
Фиг.9A – схематичный вид предпочтительного варианта выполнения зубной щетки по изобретению, иллюстрирующий другой механизм для перемещения держателя щетины;
Фиг.9B – схематичный вид в сечении по 9B-9B на фиг.9A;
Фиг.10A – схематичный вид предпочтительного варианта выполнения зубной щетки по изобретению, иллюстрирующий другой механизм для перемещения держателя щетины;
Фиг.10B – частичное сечение предпочтительного варианта выполнения механизма, показанного на фиг.10A;
Фиг.10C – вид в перспективе первого держателя щетины с механизмом, показанным на фиг.10A и 10B;
Фиг.10D – схематичный вид предпочтительного варианта выполнения зубной щетки по изобретению, иллюстрирующий другой механизм для перемещения держателя щетины;
Фиг.10E – схематичный вид в сечении механизма, показанного на фиг.10D;
Фиг.11A – схематичный вид предпочтительного варианта выполнения зубной щетки по изобретению, иллюстрирующий другой механизм для перемещения держателя щетины;
Фиг.11B – схематичный вид в сечении механизма, показанного на фиг.11A;
Фиг.11C – вид в сечении по 11C на фиг.11B;
Фиг.11D – вид в перспективе первого держателя щетины с механизмом, показанным на фиг.11A-11C;
Фиг.11E – схематичный вид предпочтительного варианта выполнения зубной щетки по изобретению, иллюстрирующий другой механизм для перемещения держателя щетины;
Фиг.11F – схематичный вид в сечении механизма, показанного на фиг.11E;
Фиг.11G – вид в сечении по 11G на фиг.11F;
Фиг.12A – схематичный вид предпочтительного варианта выполнения зубной щетки по изобретению, иллюстрирующий другой механизм для перемещения держателя щетины;
Фиг.12B – схематичный вид в сечении механизма, показанного на фиг.12A;
Фиг.12C – частичный подетальный вид первого держателя щетины и его зацепления с головкой щетки, показанной на фиг.12A-12B;
Фиг.12D – схематичный вид предпочтительного варианта выполнения зубной щетки по изобретению, иллюстрирующий другой механизм для перемещения держателя щетины;
Фиг.12E – схематичный вид в сечении механизма, показанного на фиг.12D;
Фиг.13A – схематичный вид предпочтительного варианта выполнения зубной щетки по изобретению, иллюстрирующий другой механизм для перемещения держателя щетины;
Фиг.13B – схематичный вид в сечении механизма, показанного на фиг.13A;
Фиг.13C – вид в сечении по 13C на фиг.13B;
Фиг.13D – схематичный вид предпочтительного варианта выполнения зубной щетки по изобретению, иллюстрирующий другой механизм для перемещения держателя щетины;
Фиг.13E – схематичный вид в сечении механизма, показанного на фиг.13D;
Фиг.13F – вид в сечении по 13F на фиг.13E;
Фиг.14A – схематичный вид предпочтительного варианта выполнения зубной щетки по изобретению, иллюстрирующий другой механизм для перемещения держателя щетины;
Фиг.14B – схематичный вид в сечении механизма, показанного на фиг.14A;
Фиг.14C – схематичный вид предпочтительного варианта выполнения зубной щетки по изобретению, иллюстрирующий другой механизм для перемещения держателя щетины;
Фиг.14D – схематичный вид в сечении механизма, показанного на фиг.14C;
Фиг.15A – схематичный вид предпочтительного варианта выполнения зубной щетки по изобретению, иллюстрирующий другой механизм для перемещения держателя щетины;
Фиг.15B – схематичный вид в сечении механизма, показанного на фиг.15A;
Фиг.15C – вид в сечении по 15C на фиг.15B;
Фиг.15D – схематичный вид предпочтительного варианта выполнения зубной щетки по изобретению, иллюстрирующий другой механизм для перемещения держателя щетины;
Фиг.15E – схематичный вид в сечении механизма, показанного на фиг.15D;
Фиг.15F – вид в сечении по 15F на фиг.15E;
Фиг.16A – схематичный вид предпочтительного варианта выполнения зубной щетки по изобретению, иллюстрирующий другой механизм для перемещения держателя щетины;
Фиг.16B – схематичный вид в сечении механизма, показанного на фиг.16A;
Фиг.16C – схематичный вид предпочтительного варианта выполнения зубной щетки по изобретению, иллюстрирующий другой механизм для перемещения держателя щетины;
Фиг.16D – схематичный вид в сечении механизма, показанного на фиг.16C;
Фиг.17A – схематичный вид предпочтительного варианта выполнения зубной щетки по изобретению, иллюстрирующий другой механизм для перемещения держателя щетины;
Фиг.17B – схематичный вид в сечении механизма, показанного на фиг.17A;
Фиг.17C – вид в сечении по 17C на фиг.17B;
Фиг.17D – схематичный вид предпочтительного варианта выполнения зубной щетки по изобретению, иллюстрирующий другой механизм для перемещения держателя щетины;
Фиг.17E – схематичный вид в сечении механизма, показанного на фиг.17D;
Фиг.17F – вид в сечении по 17F на фиг.17E;
Фиг.17G – подетальный вид второго держателя щетины и некоторых компонентов приводного механизма, показанного на фиг.17D-17F;
Фиг.18A – схематичный вид предпочтительного варианта выполнения зубной щетки по изобретению, иллюстрирующий другой механизм для перемещения держателя щетины;
Фиг.18B – схематичный вид в сечении механизма, показанного на фиг.18A;
Фиг.18C – вид в сечении по 18C на фиг.18B;
Фиг.18D – схематичный вид предпочтительного варианта выполнения зубной щетки по изобретению, иллюстрирующий другой механизм для перемещения держателя щетины;
Фиг.18E – схематичный вид в сечении механизма, показанного на фиг.18D;
Фиг.18F – вид в сечении по 18F на фиг.18E;
Фиг.18G – подетальный вид в перспективе механизма, показанного на фиг.18D-18F;
Фиг.19A – схематичный вид предпочтительного варианта выполнения зубной щетки по изобретению, иллюстрирующий другой механизм для перемещения держателя щетины;
Фиг.19B – схематичный вид в сечении механизма, показанного на фиг.19A;
Фиг.19C – вид в сечении по 19C на фиг.19B;
Фиг.19D – схематичный вид предпочтительного варианта выполнения зубной щетки по изобретению, иллюстрирующий другой механизм для перемещения держателя щетины;
Фиг.19E – схематичный вид в сечении механизма, показанного на фиг.19D;
Фиг.19F – вид в сечении по 19F на фиг.19E;
Фиг.19G – частичный подетальный вид механизма, показанного на фиг.19D-19F;
Фиг.20A – схематичный вид предпочтительного варианта выполнения зубной щетки по изобретению, иллюстрирующий другой механизм для перемещения держателя щетины;
Фиг.20B – схематичный вид в сечении механизма, показанного на фиг.20A;
Фиг.20C – вид в сечении по 20C на фиг.20B;
Фиг.20D – частичный подетальный вид механизма, показанного на фиг.20A-20C;
Фиг.21A – схематичный вид предпочтительного варианта выполнения зубной щетки по изобретению, иллюстрирующий другой механизм для перемещения держателя щетины;
Фиг.21B – схематичный вид в сечении механизма, показанного на фиг.21A;
Фиг.21C – вид в сечении по 21C на фиг.21B;
Фиг.22A – схематичный вид предпочтительного варианта выполнения зубной щетки по изобретению, иллюстрирующий другой механизм для перемещения держателя щетины;
Фиг.22B – схематичный вид в сечении механизма, показанного на фиг.22A; и
Фиг.22C – вид в сечении по 22C на фиг.22B.
Подробное описание предпочтительных вариантов выполнения
Как будет понятно, настоящее изобретение касается электрических зубных щеток, включая электрические зубные щетки, имеющие заменяемые головные концы, заменяемые держатели щетины, а также электрические зубные щетки с несколькими держателями щетины. В частности, настоящее изобретение касается электрической зубной щетки с двумя держателями щетины, каждый из которых приводится в действие электрическим двигателем, размещенным в корпусе зубной щетки. Как описано здесь более подробно, предполагается, что два или более электрических двигателей могут использоваться в зубной щетке по изобретению.
Конкретно, настоящее изобретение может использоваться с электрическими зубными щетками, головками щеток и держателями щетины, которые содержат валы, которые вращаются, вибрируют или совершают возвратно-поступательные перемещения (а также их комбинации), для перемещения первого и второго держателей щетины. В дополнение к этому настоящее изобретение может использоваться с электрическими зубными щетками, головками щеток и держателями щетины, у которых ведущий вал оперативно соединен как с первым, так и со вторым держателями щетины, или только с одним из держателей щетины. В последнем примере сами держатели щетины соединены таким образом, чтобы осуществлялась передача движения держателю щетины, не соединенному непосредственно с ведущим валом.
Перед описанием различных предпочтительных вариантов зубных щеток и связанных с ними приводных механизмов полезно определить различные типы перемещений, упоминаемых здесь. Как здесь используется, термин “угловое перемещение” относится к любому угловому смещению. “Линейное перемещение” представляет собой движение по прямой или по существу по прямой или в соответствующем направлении. “В основном линейное перемещение” описано ниже. “Криволинейное перемещение” представляет собой перемещение, которое не является ни полностью линейным, ни полностью угловым, но представляет собой их комбинацию (например, криволинейную). Эти перемещения могут быть постоянными или периодическими. Постоянное перемещение относится к перемещению, которое не изменяет направления или пути (то есть является однонаправленным). Периодическое движение относится к движению, которое изменяет направление или путь на обратное направление или путь. Постоянное угловое перемещение (то есть перемещение через 360 градусов или более), которое осуществляется по существу по окружности, упоминается как вращение. Периодическое угловое перемещение представляет собой перемещение через менее чем 360 градусов и упоминается как «вибрация». Криволинейные перемещения также могут быть либо постоянными (то есть однонаправленными), либо периодическими (то есть с изменением направления). Периодическое линейное перемещение упоминается как «возвратно-поступательное перемещение».
Описанные выше перемещения также могут осуществляться вдоль одной или нескольких осей держателя щетины. Соответственно, перемещения описываются здесь как одно-, двух- либо трехмерные перемещения в зависимости от количества координатных осей, необходимых для описания положения держателя щетины при его перемещении. Оси X, Y и Z изображены на фиг.1. Одномерное перемещение может быть описано с помощью одной координаты (например, координаты X, Y или Z). Как правило, только линейное перемещение может быть одномерным. Например, периодическое линейное перемещение по существу только вдоль оси Y представляет собой одномерное перемещение (упоминаемое здесь как «пульсирующее перемещение»). Двухмерное перемещение держателя щетины требует двух координат (например, координат X и Y) для описания пути следования держателя щетины. Угловое перемещение, осуществляемое в одной плоскости, представляет собой двухмерное перемещение. Трехмерное перемещение держателя щетины требует трех координат (например, координат X, Y и Z) для описания пути следования держателя щетины. Примером трехмерного перемещения является перемещение держателя щетины по спиральному пути.
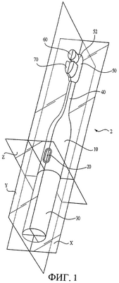
На фиг.1 представлен общий вид предпочтительного варианта выполнения зубной щетки 2 по изобретению. Зубная щетка 2 содержит продолговатый корпус 10, имеющий ручку 30, головку 50 и шейку 40, продолжающуюся между ручкой 30 и головкой 50. Выключатель 20 предусмотрен или доступен в наружной области корпуса 10. Как будет понятно, выключатель 20 приводит в действие электрический двигатель, содержащийся внутри корпуса 10 зубной щетки 2. Двигатель (не показан) и приводной механизм, как здесь описывается (не показан), обеспечивают электрический привод для одного или нескольких держателей щетины, расположенных у дистального конца зубной щетки. Конкретно, зубная щетка 2 дополнительно содержит первый держатель 60 щетины и второй держатель 70 щетины, расположенные рядом с дистальным (самым удаленным) концом 52. Как здесь описано более подробно, при приведении в действие приводного механизма первый и второй держатели щетины совершают конкретную комбинацию перемещений. Перемещения описываются лучше всего в терминах осей X, Y и Z и плоскостей, которые содержат эти оси.
Ось X, как правило, упоминается здесь как продольная ось и продолжается в общем вдоль продольной протяженности или по длине (как показано на виде сверху зубной щетки) головки зубной щетки или держателя щетины. Продольная ось головки зубной щетки или держателя щетины может совпадать с продольными осями шейки и/или ручки зубной щетки, хотя этого и не должно происходить, например, когда головка зубной щетки находится под углом либо к шейке, либо к ручке зубной щетки. Например, продольная ось представляет собой ось, проходящую через самую большую протяженность головки зубной щетки. Ось Y перпендикулярна оси X и обычно делит головку зубной щетки на ее левую и правую половины. Ось Z является ортогональной или перпендикулярной осям X и Y.
Плоскость X содержит ось X и, как правило, упоминается здесь как плоскость зубной щетки или плоскость головки зубной щетки. Эта плоскость продолжается в общем вдоль продольной протяженности зубной щетки или головки зубной щетки. Плоскость Y содержит ось Y, продолжается через зубную щетку и является перпендикулярной плоскости X. Плоскость Y либо делит зубную щетку надвое, либо является параллельной плоскости, которая это делает. Плоскость Z является перпендикулярной как плоскости X, так и плоскости Y.
Кроме того, целесообразно определить терминологию, используемую при описании зубных щеток, держателей щетины и различных приводных механизмов предпочтительных вариантов. Как здесь используется, термин “вперед” относится к направлению от ручки к головке, в то время как термин “назад” относится к направлению от головки к ручке. Продольное направление представляет собой направление, которое в общем соответствует продольной или оси X, но которая может и не лежать в той же плоскости, что и ось. Например, продольные оси ведущего вала и держателя щетины могут и не продолжаться в одной плоскости, но продолжаются в общем в одном направлении, при виде сверху. Подобным же образом шейка и головка, которые расположены под углом друг к другу, могут и не иметь продольных осей, которые продолжаются в одной плоскости, но имеют оси, которые продолжаются в одном общем продольном направлении, при виде сверху. Множество вариантов электрических зубных щеток, как правило, имеют продолговатую головку с продольной осью, проходящей через ее самую большую протяженность. Эта ось, как правило, продолжается в том же общем направлении, что и продольные оси шейки и/или ведущего вала зубной щетки. Эта ось упоминается в целом как продольная ось зубной щетки. Выражение «одно (и то же) общее направление» предполагает некоторое угловое отклонение между осями. Здесь также делаются различные ссылки на «плоскость зубной щетки». Как будет понятно, она, как правило, представляет собой плоскость, в которой продолжается продольная ось головки зубной щетки.
И, как здесь описывается, первый держатель щетины представляет собой держатель, расположенный на дистальном конце зубной щетки. Второй держатель щетины представляет собой соседний держатель щетины, расположенный рядом или вблизи с первым держателем щетины и позади него. Третий держатель щетины находится вблизи второго держателя щетины и расположен позади второго держателя щетины. Четвертый держатель щетины находится позади третьего, и так далее.
Как правило, зубные щетки предпочтительных вариантов изобретения содержат продолговатый полый корпус, который содержит электрический двигатель с питанием и приводной механизм, который используется для приведения двух или более подвижных держателей щетины. Продолговатый полый корпус также содержит внутреннюю камеру для удерживания одной или нескольких батареек для питания двигателя. Также предусмотрен один или более выключателей на внешней области корпуса для включения двигателя и приводного механизма. Как будет понятно, для закрывания внутренней камеры и обеспечения герметизации против внешних воздействий на компоненты внутри корпуса зубной щетки предусмотрен съемный торцевой колпачок. Как здесь подробно описано, зубные щетки предпочтительных вариантов содержат два или более подвижных держателей щетины. Каждый из держателей щетины осуществляет конкретный тип перемещений, а получаемые комбинации перемещений обеспечивают уникальную эффективность очистки.
Как отмечалось, электрические зубные щетки предпочтительных вариантов содержат несколько держателей щетины, которые приводятся в движение с помощью электрического двигателя и приводного механизма, заключенных в зубной щетке. Предпочтительно, эти зубные щетки используют два держателя щетины, каждый из которых осуществляет перемещение, иное чем перемещение другого держателя щетины. Конкретно, существуют многочисленные категории комбинаций перемещений двух держателей щетины, которые охватываются настоящим изобретением. Каждая из этих категорий включает в себя конкретные различные типы следующих комбинаций перемещений.
Первая категория комбинаций перемещений двух держателей щетины является такой, при которой первый или самый дальний (дистальный) держатель щетины перемещается линейным образом, а второй держатель щетины перемещается в основном линейным образом. Конкретно, эта категория включает в себя перемещения, когда первый держатель щетины осуществляет одномерное периодическое, то есть повторяющееся, линейное перемещение, в сочетании с двух- или трехмерным периодическим, в основном линейным, перемещением второго держателя щетины. Будет понятно, что выражение «в основном линейное» относится к перемещению, которое осуществляется в двух или трех измерениях и не является полностью линейным по своей природе. Перемещение, которое является в основном линейным, представляет собой перемещение, которое лучше охарактеризовать как нелинейное, но которое осуществляется по существу вдоль единственной оси, линии или направления. Таким образом, в основном линейное перемещение представляет собой перемещение, осуществляемое обычно вдоль одной линии или направления. Это перемещение может включать в себя отклонение от линии или направления, однако в целом оно является по существу линейным.
Эта комбинация перемещений может быть дополнительно определена как включающая в себя один из нижеследующих конкретных типов перемещения первого держателя щетины и один из нижеследующих конкретных типов перемещения второго держателя щетины.
Первый держатель щетины может совершать возвратно-поступательное перемещение вдоль одной оси или линии в плоскости X головки зубной щетки или плоскости, которая является в общем параллельной плоскости головки зубной щетки, и в направлении, параллельном продольной оси головки зубной щетки. Или же первый держатель щетины может совершать возвратно-поступательное перемещение вдоль одной оси или линии в плоскости X головки зубной щетки или плоскости, в общем параллельной плоскости головки зубной щетки, и в направлении, перпендикулярном продольной оси головки зубной щетки (и, таким образом, первый держатель щетины перемещается «из стороны в сторону»). Альтернативно, первый держатель щетины может совершать возвратно-поступательное перемещение вдоль одной оси в плоскости X головки зубной щетки или плоскости, в общем параллельной плоскости X головки зубной щетки, и в направлении, другом чем параллельное или перпендикулярное к продольной оси головки зубной щетки. То есть первый держатель щетины может совершать возвратно-поступательное перемещение вдоль оси, которая продолжается под острым углом к продольной оси головки зубной щетки. Вместо этого первый держатель щетины может совершать возвратно-поступательное перемещение вдоль одной оси в плоскости, перпендикулярной плоскости X головки зубной щетки (и, таким образом, двигаться «вверх и вниз» или «пульсирующим» образом). Другими словами, первый держатель щетины может перемещаться в направлении, совпадающем с осью Y головки зубной щетки. Еще одно перемещение представляет собой такое, при котором первый держатель щетины может совершать возвратно-поступательное перемещение вдоль одной оси в плоскости, другой чем плоскость, которая параллельна или перпендикулярна плоскости X головки зубной щетки. Все эти перемещения первого держателя щетины являются одномерными или линейными.
Второй держатель щетины может осуществлять повторяющееся перемещение, которое является в основном линейным в плоскости X головки зубной щетки или в плоскости, в общем параллельной плоскости X головки зубной щетки. Или же второй держатель щетины может осуществлять повторяющееся перемещение, которое является в основном линейным, и происходить в плоскости, перпендикулярной плоскости X головки зубной щетки (и, таким образом, второй держатель щетины будет осуществлять перемещение «пульсирующего» типа). Или же второй держатель щетины может осуществлять повторяющееся перемещение, которое является в основном линейным в плоскости, другой чем плоскость, которая параллельна или перпендикулярна плоскости головки зубной щетки. Альтернативно, второй держатель щетины может осуществлять повторяющееся перемещение, которое является в основном линейным и непланарным (то есть это означает, что перемещение второго держателя щетины осуществляется в трех измерениях). Это перемещение второго держателя щетины, хотя и непланарное, может быть охарактеризовано как продолжающееся в основном в плоскости, которая: (i) находится в плоскости головки зубной щетки или в плоскости, которая в общем параллельна плоскости головки зубной щетки; (ii) является перпендикулярной плоскости головки зубной щетки; или (iii) является другой, чем плоскость головки зубной щетки или чем плоскость, перпендикулярная ей.
Понятно, что в этой категории комбинаций перемещений любое из вышеописанных перемещений первого держателя щетины может быть использовано в сочетании с любым из вышеописанных перемещений второго держателя щетины.
На фиг.2 показана зубная щетка A предпочтительного варианта выполнения, имеющая пару держателей щетины, как описано выше. Фиг.2A-2I иллюстрируют различные комбинации перемещений этих держателей щетины, как описано выше. Конкретно, на фиг.2 показана зубная щетка A предпочтительного варианта выполнения, содержащая корпус 110, имеющий шейку 140 и головку 150. Кроме того, зубная щетка A содержит первый держатель 160 щетины и второй держатель 170 щетины, расположенные возле дистального конца 152 головки 150. Первый держатель 160 щетины может быть выполнен для перемещения различными способами, как отмечено выше. В частности, обращаясь к фиг.2A-2E, эти перемещения являются следующими.
Как показано на фиг.2A, первый держатель 160 щетины может совершать возвратно-поступательное перемещение вдоль одной оси или линии в плоскости головки зубной щетки, такой как плоскость X, показанная на фиг.1, или в плоскости, которая в общем параллельна плоскости головки зубной щетки, и в направлении, параллельном продольной оси L зубной щетки. Фиг.2B иллюстрирует другое перемещение, при котором первый держатель 160 щетины совершает возвратно-поступательное перемещение вдоль одной оси или линии в плоскости головки зубной щетки или в плоскости, в общем параллельной плоскости головки зубной щетки, и в направлении, перпендикулярном продольной оси зубной щетки. Фиг.2B иллюстрирует первый держатель 160 щетины, двигающийся «из стороны в сторону». Фиг.2C иллюстрирует первый держатель 160 щетины, совершающий возвратно-поступательное перемещение вдоль одной оси в плоскости головки зубной щетки или в плоскости, в общем параллельной плоскости головки зубной щетки, и в направлении, другом чем параллельное или перпендикулярное продольной оси зубной щетки. То есть фиг.2C показывает первый держатель 160 щетины, совершающий возвратно-поступательное перемещение вдоль оси, которая продолжается под острым углом к продольной оси зубной щетки. На фиг.2D показан первый держатель 160 щетины, совершающий возвратно-поступательное перемещение вдоль одной оси в плоскости, перпендикулярной плоскости головки зубной щетки, такой как плоскость Y, показанной на фиг.1, и в общем перпендикулярной продольной оси зубной щетки, и таким образом, двигающийся верх и вниз или пульсирующим образом. На фиг.2E показан первый держатель 160 щетины, двигающийся или совершающий возвратно-поступательное перемещение вдоль одной оси в плоскости, другой чем плоскость, которая является параллельной или перпендикулярной плоскости головки зубной щетки. Все эти перемещения первого держателя 160 щетины являются одномерными или линейными.
Фиг.2F-2I иллюстрируют различные перемещения, которые может осуществлять второй держатель 170 щетины. Фиг.2F показывает второй держатель 170 щетины, совершающий в основном линейное перемещение, и, таким образом, неодномерное, в плоскости головки зубной щетки или в плоскости, в общем параллельной плоскости головки зубной щетки. Фиг.2G показывает второй держатель 170 щетины, осуществляющий повторяющееся перемещение, которое является в основном линейным и происходит в плоскости, которая является перпендикулярной плоскости головки зубной щетки, такой как плоскость Y, показанная на фиг.1. И таким образом, второй держатель 170 щетины совершает перемещение, которое напоминает перемещение пульсирующего типа. Фиг.2H показывает второй держатель 170 щетины, совершающий повторяющееся перемещение, которое является в основном линейным в плоскости, другой чем плоскость, которая является параллельной или перпендикулярной плоскости головки зубной щетки. Фиг.2I показывает второй держатель 170 щетины, совершающий повторяющееся перемещение, которое является в основном линейным, однако непланарным и, следовательно, трехмерным.
Зубная щетка A предпочтительного варианта может быть выполнена таким образом, что первый держатель 160 щетины будет совершать любое из перемещений, показанных на фиг.2A-2E, в сочетании со вторым держателем 170 щетины, совершающим любое из перемещений, показанных на фиг.2F-2I.
На фиг.14A-14D показаны два механизма предпочтительных вариантов для обеспечения перемещений, показанных на фиг.2A. На фиг.14A и 14B показан механизм, использующий вращающийся или вибрирующий ведущий вал, например, от двигателя или от привода. На фиг.14C и фиг.14D показаны приводные механизмы для использования вместе с совершающим возвратно-поступательное перемещение ведущим валом электродвигателя. Конкретно, на фиг.14A и 14B показана зубная щетка Q предпочтительного варианта выполнения, имеющая корпус 1810, шейку 1840 и головку 1850. Вдоль головки 1850 расположен первый держатель 1860 щетины и второй держатель 1870 щетины. Корпус 1810 заключает в себе вращающийся или вибрирующий ведущий вал 1820, имеющий дистальный конец 1822. Шестерня 1830 зацеплена или иным образом прикреплена к дистальному концу 1822 вала 1820. Шестерня 1830 образует канал 1832, внутри которого позиционирован отслеживающий или направляющий элемент 1866. Первый держатель 1860 щетины содержит основание 1862, пластину 1864 и отслеживающий элемент 1866, продолжающийся из пластины 1864. Основание может быть выполнено за одно целое и не использовать упомянутую пластину. Соответственно, основание содержало бы отслеживающий или направляющий элемент. Отслеживающий элемент 1866 обычно расположен в канале 1832 шестерни 1830. Головка 1850 образует направляющий канал или продолговатое отверстие 1854 вдоль обращенной наружу поверхности головки 1850. При вращении или вибрации ведущего вала 1820 шестерня 1830 движется подобным же образом. Когда шестерня 1830 вращается или вибрирует, отслеживающий элемент 1866 смещается линейно, когда он перемещается в канале 1832. Таким образом, пластина 1864 и основание 1862 первого держателя 1860 щетины смещаются латерально в головке 1850. Это, в свою очередь, приводит в движение первый держатель 1860 щетины. Направляющий канал 1854, образованный вдоль обращенной наружу поверхности головки 1850, дополнительно направляет перемещения первого держателя 1860 щетины.
На фиг.14C и 14D показана зубная щетка R предпочтительного варианта выполнения изобретения. Зубная щетка R совершает перемещения, показанные на фиг.2A. На фиг.14C и 14D зубная щетка R содержит корпус 1910, содержащий шейку 1940 и головку 1950. Вдоль головки 1950 размещены дистальный или первый держатель 1960 щетины и второй держатель 1970 щетины. Корпус 1910 заключает в себе совершающий возвратно-поступательное перемещение вал 1924, имеющий дистальный конец 1926. Первый держатель 1960 щетины содержит компонент основания 1962, пластину 1964 и удерживающий элемент 1966, расположенный вдоль нижней стороны пластины 1964. Дистальный конец 1926 вала 1924 зацеплен с удерживающим элементом 1966. Вдоль обращенной наружу поверхности головки 1950 образован направляющий канал или продолговатое отверстие 1954. Основание позиционировано и расположено на головке с возможностью перемещения. Основание позиционировано над направляющим каналом. Основание может являться унитарной конструкцией и не использовать отдельного удерживающего элемента. Во время работы или возвратно-поступательного перемещения вала 1924 первый держатель 1960 щетины смещается линейно, благодаря перемещению удерживающего элемента 1966, пластины 1964 и основания 1962. Направляющий канал 1954 обеспечивает или облегчает линейное перемещение в желаемом направлении.
На фиг.8A-8B показан механизм для осуществления перемещения, показанного на фиг.2B. Как отмечено выше, это перемещение представляет собой перемещение первого держателя щетины «из стороны в сторону». Механизм фиг.8A-8B описан ниже более подробно.
На фиг.15A-15F показаны два механизма для осуществления перемещения, показанного на фиг.2C. На фиг.15A-15C показан механизм для осуществления перемещения с использованием вращающегося или вибрирующего ведущего вала. На фиг.15D-15F показан механизм для осуществления отмеченного перемещения путем использования возвратно-поступательно перемещающегося вала. Конкретно, фиг.15A-15C иллюстрируют зубную щетку S предпочтительного варианта, имеющую корпус 2010, шейку 2040 и головку 2050. Вдоль головки 2050 расположены дистальный, или первый, держатель 2060 щетины и второй держатель 2070 щетины. Дистальный, или первый, держатель 2060 щетины расположен возле дистального конца 2052 головки 2050. Корпус 2010 заключает в себе вращающийся или вибрирующий ведущий вал 2020, имеющий дистальный конец 2022. Шестерня 2030 зацеплена или иным образом прикреплена на дистальном конце 2022 вала 2020. Шестерня 2030 содержит канал 2032, внутри которого расположен отслеживающий элемент, описанный ниже. Первый держатель 2060 щетины содержит основание 2062 и продолжающийся вниз отслеживающий или направляющий элемент 2064. Как отмечено выше со ссылкой на фиг.12A-12C, основание может иметь унитарную конструкцию и не использовать отдельной пластины. Как отмечалось, отслеживающий элемент 2064 удерживается или иным образом располагается в канале 2032 шестерни 2030. Головка 2050 содержит наклонную поверхность 2056, вдоль которой образован направляющий канал или продолговатое отверстие 2054. Во время работы, при вибрации или вращении вала 2020, шестерня 2030 также движется подобным образом. Это, в свою очередь, вызывает линейное смещение основания 2062 с помощью отслеживающего элемента 2064, движущегося в канале 2032. Линейное смещение основания 2062, в свою очередь, вызывает линейное смещение первого держателя 2060 щетины. Вертикальный компонент этого перемещения передается держателю 2060 щетины с помощью наклонной поверхности 2056. Дополнительное изменение направления поступательного перемещения первого держателя 2060 щетины обеспечивается ориентацией направляющего канала 2054.
На фиг.15D-15F показан предпочтительный вариант приводного механизма для осуществления перемещения, показанного на фиг.2C, с использованием совершающего возвратно-поступательное перемещение вала электродвигателя. На фиг.15D-15F зубная щетка T предпочтительного варианта выполнения имеет корпус 2110, содержащий шейку 2140 и головку 2150. Вдоль головки 2150 расположены первый держатель 2160 щетины и второй держатель 2170 щетины. Первый держатель 2160 щетины расположен возле дистального конца 2152 головки 2150. Корпус заключает в себе возвратно-поступательно перемещающийся ведущий вал 2124, имеющий дистальный конец 2126. Первый держатель 2160 щетины содержит основание 2162 и удерживающий элемент 2164. Удерживающий элемент 2164 зацеплен или иным образом прикреплен на дистальном конце 2126 вала 2124. Альтернативно соединительный элемент 2176 может использоваться для соединения или зацепления дистального конца 2126 вала 2124 с удерживающим элементом 2164. Головка 2150 содержит наклонную поверхность 2156, в которой образован направляющий канал или продолговатое отверстие 2154. Основание позиционировано и расположено на головке с возможностью перемещения. Основание позиционировано над направляющим каналом. Основание может иметь унитарную конструкцию и не использовать отдельного удерживающего элемента. Во время работы вал 2124 совершает возвратно-поступательное перемещение и вызывает линейное смещение основания 2162 посредством взаимодействия удерживающего элемента 2164 и дистальным концом 2126 вала 2124. Вертикальный компонент движения передается перемещению первого держателя щетины 2160 с помощью наклонной поверхности 2156. Кроме того, желаемое направление поступательного перемещения первого держателя щетины 2160 обеспечивается с помощью направляющего канала 2154 или, точнее, благодаря его ориентации вдоль обращенной наружу поверхности головки 2150.
На фиг.7A-7D показан механизм для осуществления перемещения, показанного на фиг.2D. Как отмечалось, это перемещение представляет собой перемещение первого держателя щетины «пульсирующим» образом. Механизм на фиг.7A-7D описан ниже более подробно.
На фиг.11A-11G показаны два предпочтительных механизма для осуществления перемещения, показанного на фиг.2E. На фиг.11A-11D показан механизм, приводимый в перемещение вращающимся или вибрирующим ведущим валом. Фиг.11E-11G показывают механизм, приводимый возвратно-поступательно перемещающимся валом. Конкретно, фиг.11A-11D иллюстрируют зубную щетку K предпочтительного варианта выполнения, имеющую корпус 1210, содержащий шейку 1240 и головку 1250. Вдоль головки 1250 расположены дистальный, или первый, держатель 1260 щетины и второй держатель 1270 щетины. Первый держатель щетины 1260 расположен возле дистального конца 1252 головки 1250. Корпус 1210 заключает в себе ведущий вал 1220, имеющий смещенный от оси конец 1222. Первый держатель щетины 1260 имеет основание 1262 с продолжающимся наружу рычагом 1264, который образует приемный канал 1266. Расположенный на некотором расстоянии от оси конец 1222 вала 1220 расположен в целом в приемном канале 1266 основания 1262 первого держателя 1260 щетины и зацеплен с ним. При вращении вала 1220 его смещенный от оси конец 1222 вызывает латеральное смещение первого держателя 1260 щетины. Конкретно, результирующее перемещение первого держателя щетины является перпендикулярным продольной оси головки зубной щетки 1250. В головке 1250 предусмотрено свободное пространство 1276, чтобы позволить перемещение первого держателя 1260 щетины. Будет понятно, что, когда вал 1220 вращается, первый держатель 1260 щетины смещается латерально из стороны в сторону. Движение в направлении, сориентированном под некоторым углом к плоскости головки зубной щетки, может обеспечиваться путем обеспечения наклонной поверхности 1254 вдоль обращенной наружу поверхности головки 1250. Лучше всего это показано на фиг.11C. Таким образом, когда вал 1220 вращается, перемещение из стороны в сторону держателя 1260 щетины передается дальше вдоль наклонной поверхности 1254. Предпочтительно, основание позиционировано и расположено с возможностью перемещения на головке и в контакте с наклонной поверхностью.
На фиг.11E-11G показан второй механизм для осуществления перемещения, соответствующего тому, которое показано на фиг.2E. Конкретно, фиг.11E-11G иллюстрируют зубную щетку L предпочтительного варианта выполнения, имеющую корпус 1310, содержащий шейку 1340 и головку 1350. Первый держатель щетины 1360 расположен возле дистального конца 1352 головки 1350. Также предусмотрен второй держатель щетины 1370 за первым держателем щетины 1360. Корпус 1310 заключает в себе возвратно-поступательно перемещающийся вал 1324, имеющий смещенный от оси конец 1326. Первый держатель 1360 щетины содержит основание 1362, имеющее продолжающийся вниз рычаг 1364, который образует приемный канал 1366. Смещенный от оси конец 1326 вала 1324 расположен в целом в канале 1366 и зацеплен с ним. Головка 1350 образует обращенную вверх наклонную поверхность 1351. Предпочтительно, основание позиционировано и расположено с возможностью перемещения на головке и в контакте с наклонной поверхностью. Во время работы, когда вал 1324 совершает возвратно-поступательное перемещение, первый держатель 1360 щетины совершает поступательное или возвратно-поступательное перемещение вдоль головки 1350 и в направлении, в общем параллельном наклонной поверхности 1351.
На фиг.16A-16D показаны механизмы для осуществления перемещения, показанного на фиг.2F. Фиг.16A и 16B демонстрируют механизм, использующий вращающийся или вибрирующий ведущий вал для осуществления указанного перемещения. Фиг.16C и 16D иллюстрируют механизм, использующий возвратно-поступательно перемещающийся ведущий вал для осуществления отмеченного перемещения. Конкретно, фиг.16A и 16B иллюстрируют зубную щетку U предпочтительного варианта выполнения, имеющую корпус 2210, содержащий шейку 2240 и головку 2250. Вдоль головки 2250 расположен дистальный, или первый, держатель 2260 щетины и второй держатель 2270 щетины. Первый держатель 2260 щетины расположен возле дистального конца 2252 головки 2250. Корпус 2210 заключает в себе вращающийся или вибрирующий ведущий вал 2220, имеющий дистальный конец 2222. Шестерня 2230 зацеплена или иным образом прикреплена на дистальном конце 2222 вала 2220. Шестерня 2230 образует канал 2232 вдоль своей наружной поверхности. Второй держатель 2270 щетины содержит основание 2272 и пластину 2274, имеющую продолжающийся вниз отслеживающий или направляющий элемент 2276. Основание расположено с возможностью перемещения на головке и позиционировано относительно головки. Отслеживающий элемент 2276 расположен или иным способом зацеплен в канале 2232 шестерни 2230. Головка 2250 содержит направляющий канал или продолговатое отверстие 2254, образованное вдоль его обращенной вверх поверхности в общем под вторым держателем 2270 щетины. Во время работы вал 2220 вращается или вибрирует, вызывая подобные перемещения шестерни 2230. Когда шестерня 2230 подвергается такому перемещению, отслеживающий элемент 2276 линейно смещается в канале 2232. Линейное смещение отслеживающего элемента 2276 вызывает подобное линейное смещение пластины 2274 и основания 2272 второго держателя 2270 щетины. Направляющий канал 2254, образованный вдоль головки 2250, придает дополнительный компонент перемещению второго держателя 2270 щетины. На фиг.16A, поскольку направляющий канал 2254 является криволинейным, таким же является и путь поступательного перемещения второго держателя 2270 щетины.
На фиг.16C и 16D показан механизм другого предпочтительного варианта, используемый для осуществления перемещения, показанного на фиг.2F, путем использования вала, совершающего возвратно-поступательное перемещение. На фиг.16C и 16D показана зубная щетка V предпочтительного варианта выполнения, имеющая корпус 2310, шейку 2340 и головку 2350. Вдоль головки 2350 расположен дистальный, или первый, держатель 2360 щетины и второй держатель 2370 щетины. Второй держатель щетины имеет основание 2372 и пластину 2374, имеющую продолжающийся вниз направляющий элемент 2376. Основание расположено на головке с возможностью перемещения и позиционировано относительно головки. Направляющий элемент 2376 фиксирован или иным образом зацеплен с соединительным элементом 2332, который продолжается из фитинга 2330, прикрепленного к дистальному концу 2326 вала 2324. Головка 2350 определяет направляющий канал или продолговатое отверстие 2354 в общем под вторым держателем 2370 щетины. Направляющий канал придает конкретный желаемый путь поступательного перемещения второму держателю 2370 щетины. Во время работы вал 2324 совершает возвратно-поступательное перемещение, таким образом вызывая линейное смещение фитинга 2330. Фитинг 2330 придает это перемещение пластине 2374 и основанию 2372 второго держателя 2370 щетины. Это возвратно-поступательное перемещение дополнительно модифицируется ориентацией и формой направляющего канала 2354, образованного в головке 2350.
На фиг.20A-20D показан механизм для осуществления перемещения, показанного на фиг.2G. Конкретно, на этих фигурах показана зубная щетка AC предпочтительного варианта выполнения, имеющая корпус 3010, содержащий шейку 3040 и головку 3050. Внутри головки 3050 имеется несколько внутренних направляющих элементов 3054. Эти направляющие элементы 3054 образуют одно или несколько кулачковых отверстий 3056. Кроме того, щетка AC содержит первый держатель 3060 щетины и второй держатель 3070 щетины. Первый держатель 3060 щетины расположен возле дистального конца 3052 головки 3050 щетки AC. Корпус 3010 в целом заключает в себе возвратно-поступательно перемещающийся вал 3024, имеющий дистальный конец 3026. Второй держатель 3070 щетины содержит основание 3072 и продолжающийся вниз элемент 3074. Основание позиционировано и расположено с возможностью перемещения на головке. Латерально наружу из продолжающегося вниз элемента 3074 выступает несколько элементов 3076. В самой нижней области продолжающегося вниз элемента 3074 расположен приводной выступ 3078. Соединительный узел, предпочтительно, в форме соединения 3080, обеспечивает взаимодействие дистального конца 3026 возвратно-поступательно перемещающегося вала 3024 с продолжающимся вниз элементом 3074 второго держателя 3070 щетины. Конкретно, соединитель 3080 зацеплен с дистальным концом 3026 вала 3024 и образует отверстие 3082 для зацепления. Приводной выступ 3078 продолжающегося вниз элемента 3074 продолжается в отверстие 3082 для зацепления соединителя 3080, и в общем зацеплен с ним. Во время работы, когда возвратно-поступательно перемещающийся вал 3024 совершает возвратно-поступательное движение в шейке 3040 корпуса 3010, это перемещение передается соединителю 3080. Соединитель 3080, в свою очередь, зацеплен со вторым держателем щетины 3070 и в общем зацепляет этот компонент подобным образом. Отверстие 3056, или скорее его ориентация, дополнительно направляет и модифицирует перемещение второго держателя 3070 щетины. Латерально продолжающиеся элементы 3076 продолжающегося вниз элемента 3074 в целом принимает отверстие 3056.
На фиг.17A-17G показаны два механизма, используемые для осуществления перемещения, показанного на фиг.2H. Конкретно, на фиг.17A-17C показан механизм, используемый для осуществления отмеченного перемещения с помощью вращающегося или совершающего возвратно-поступательное перемещение вала. Фиг.17D-17G иллюстрируют механизм, используемый для осуществления отмеченного перемещения от совершающего возвратно-поступательное движение вала электродвигателя. Конкретно, на фиг.17A-17C показана зубная щетка W предпочтительного варианта выполнения, имеющая корпус 2410, содержащий шейку 2440 и головку 2450. Вдоль головки 2450 расположены дистальный, или первый, держатель 2460 щетины и второй держатель 2470 щетины. Первый держатель щетины 2460 расположен возле дистального конца 2452 головки 2450 или за ним. Корпус 2410 заключает в себе вращающийся вал 2420. Вал 2420 имеет дистальный конец 2422, с которым зацеплена шестерня 2430. Шестерня 2430 образует канал 2432. Второй держатель 2470 щетины содержит основание 2472 и пластину 2474. Основание расположено на головке с возможностью перемещения и позиционировано относительно головки. Вниз из пластины 2474 продолжается направляющий элемент 2476. Понятно, что основание может быть унитарной конструкцией и не использовать отдельную пластинку. То есть основание само по себе может обеспечивать наличие продолжающегося вниз направляющего элемента. Направляющий элемент 2476 продолжается в канал 2432, образованы шестерней 2430. Головка 2450 содержит наклонную поверхность 2456 в общем под вторым держателем 2470 щетины и, кроме того, образует направляющий канал или продолговатое отверстие 2454. Во время работы вращающийся или вибрирующий вал 2420 передает подобное перемещение винтовому 2430. Этот элемент, в свою очередь, вызывает линейное смещение пластины 2474 и основания 2472 второго держателя 2470 щетины. Вертикальный компонент перемещения придается наклонной поверхностью 2456, образованной вдоль головки 2450. Дополнительная кривизна или другой компонент перемещения придается ориентацией направляющего канала 2454.
На фиг.17D-17G показан другой механизм предпочтительного варианта выполнения, используемый для осуществления перемещения, показанного на фиг.2H. Этот приводной механизм использует возвратно-поступательно перемещающийся вал для приведения второго держателя щетины. Конкретно, фиг.17D-17G иллюстрируют зубную щетку X предпочтительного варианта выполнения, содержащую корпус 2510, имеющий шейку 2540 и головку 2550. Вдоль головки 2550 расположены дистальный, или первый, держатель щетины 2560 и второй держатель щетины 2570. Второй держатель щетины содержит основание 2572 и пластину 2574, имеющую продолжающийся вниз направляющий элемент 2576. Основание позиционировано и расположено с возможностью перемещения на головке. Основание может быть унитарным и не использовать отдельной пластины. То есть основание может содержать продолжающийся вниз направляющий элемент. Головка 2550 содержит наклонную поверхность 2556 и направляющий канал или продолговатое отверстие 2554, образованное вдоль ее обращенной вверх поверхности в общем под вторым держателем 2570 щетины. Зацеплен или иным образом соединен с валом 2524 фитинг 2530. Фитинг содержит соединительный элемент 2532, продолжающийся из него. Соединительный элемент 2532 принимается и в целом зацепляется направляющим элементом 2576, продолжающимся из пластины 2574 второго держателя 2570 щетины. Как показано на фиг.17G, предпочтительно, чтобы основание 2572 зацеплялось с пластиной 2574 с помощью одного или нескольких продолжающихся вниз выступов 2573, которые принимаются и располагаются в отверстиях 2575, образованных в пластине 2574. Во время работы вал 2524 совершает возвратно-поступательное перемещение и вызывает подобное возвратно-поступательное перемещение фитинга 2530. Фитинг, в свою очередь, линейно перемещает пластину 2574 и основание 2572 второго держателя 2570 щетины. Вертикальный компонент перемещения получают с помощью наклонной поверхности 2556. Дополнительное перемещение или изменение пути получают с использованием направляющего канала 2554.
Механизм для осуществления перемещения, показанного на фиг.2I, описан ниже. Это перемещение представляет собой движение второго держателя щетины, совершающего повторяющееся движение, которое является в основном линейным, однако, непланарным и, следовательно, трехмерным. Фиг.22A-22C иллюстрируют примерный механизм.
Другая категория комбинаций перемещений двух держателей щетины представляет собой категорию, в которой первый держатель щетины совершает двухмерное периодическое перемещение, которое является в основном линейным, в сочетании с двух- или трехмерным периодическим перемещением второго держателя щетины, которое также является в основном линейным.
Первый держатель щетины может совершать любой тип повторяющегося перемещения, которое является в основном линейным и происходит в плоскости головки зубной щетки или в плоскости, в общем параллельной плоскости головки зубной щетки. Или же первый держатель щетины может совершать повторяющееся перемещение, которое является в основном линейным и происходит в плоскости, перпендикулярной плоскости головки зубной щетки (и, таким образом, совершает «пульсирующее» перемещение). Или же первый держатель щетины может совершать повторяющееся перемещение, которое является в основном линейным в плоскости, другой чем плоскость, которая параллельна или перпендикулярна плоскости головки зубной щетки. Вместо этого первый держатель щетины может совершать повторяющееся перемещение, которое является в основном линейным и непланарным. Это перемещение первого держателя щетины, хотя и непланарное и, таким образом, трехмерное, может быть охарактеризовано как продолжающееся в основном в плоскости, которая: (i) находится в плоскости головки зубной щетки или в плоскости, которая в общем параллельна ей; (ii) является перпендикулярной плоскости головки зубной щетки; или (iii) является другой, чем плоскость головки зубной щетки или чем плоскость, перпендикулярная ей.
Второй держатель щетины может совершать повторяющееся перемещение, которое является в основном линейным и происходит в плоскости головки зубной щетки или в плоскости, в общем параллельной плоскости головки зубной щетки. Или же второй держатель щетины может совершать повторяющееся перемещение, которое является в основном линейным и происходит в плоскости, перпендикулярной плоскости головки зубной щетки (и, таким образом, осуществляет перемещение «пульсирующего» типа). Альтернативно, второй держатель щетины может совершать повторяющееся перемещение, которое является в основном линейным и происходит в плоскости, другой чем плоскость, которая является параллельной или перпендикулярной плоскости головки зубной щетки. Или же второй держатель щетины может совершать повторяющееся перемещение, которое является в основном линейным и непланарным. Это перемещение второго держателя щетины, хотя и непланарное и, таким образом, трехмерное, может быть охарактеризовано как продолжающееся в основном в плоскости, которая: (i) находится в плоскости головки зубной щетки или плоскости, параллельной ей; (ii) является перпендикулярной плоскости головки зубной щетки; или (iii) является другой, чем плоскость головки зубной щетки или чем плоскость, перпендикулярная ей.
Понятно, что в этой категории комбинаций перемещений любое из перемещений первого держателя щетины может использоваться в сочетании с любым перемещением второго держателя щетины.
Фиг.3 представляет собой вид спереди другой зубной щетки предпочтительного варианта изобретения и с описанными выше комбинациями перемещений держателей щетины. На фиг.3 показана зубная щетка B, имеющая корпус 210 с шейкой 240 и головкой 250. На головке 250 расположены первый держатель щетины 260 и второй держатель щетины 270. Первый держатель 260 щетины расположен возле дистального конца 252 головки 250. Первый держатель 260 щетины и второй держатель 270 щетины зубной щетки B предпочтительного варианта выполнены так, что они совершают разные типы конкретных перемещений следующим образом.
Фиг.3A-3D иллюстрируют различные типы перемещений, которые может совершать первый держатель 260 щетины. На фиг.3A показан первый держатель 260 щетины, совершающий перемещение, которое является в основном линейным и происходит в плоскости головки зубной щетки или в плоскости, которая в общем параллельна плоскости головки зубной щетки. На фиг.3B показан первый держатель 260 щетины, совершающий повторяющееся перемещение, которое является в основном линейным и происходит в плоскости, перпендикулярной плоскости головки зубной щетки, такой как плоскость Y, показанная на фиг.1. И, таким образом, фиг.3B иллюстрирует перемещение пульсирующего типа, описанное здесь. Фиг.3C иллюстрирует другое перемещение первого держателя 260 щетины, которое является в основном линейным и происходит в плоскости, другой чем плоскость, которая является параллельной или перпендикулярной плоскости головки зубной щетки. Фиг.3D иллюстрирует еще одно перемещение первого держателя 260 щетины, при котором он совершает повторяющееся перемещение, которое является в основном линейным и непланарным, и, таким образом, трехмерным.
Фиг.3E-3H иллюстрируют дополнительные типы перемещений, которые может совершать второй держатель 270 щетины зубной щетки B предпочтительного варианта. Конкретно, фиг.3E иллюстрирует повторяющееся перемещение, которое может совершать второй держатель щетины 270 и которое является в основном линейным и происходит в плоскости головки зубной щетки или в плоскости, в общем параллельной плоскости головки зубной щетки. На фиг.3F показан второй держатель щетины, совершающий повторяющееся перемещение, которое является в основном линейным и происходит в плоскости, перпендикулярной плоскости головки зубной щетки, такой как плоскость Y, показанной на фиг.1, и таким образом, осуществляется перемещение пульсирующего типа. Фиг.3G иллюстрирует второй держатель 270 щетины, совершающий повторяющееся перемещение, которое является в основном линейным и происходит в плоскости, другой чем плоскость, которая является параллельной или перпендикулярной плоскости головки зубной щетки. Фиг.3H иллюстрирует второй держатель 270 щетины, совершающий повторяющееся перемещение, которое является в основном линейным и непланарным. Это перемещение держателя 270 щетины является трехмерным.
Зубная щетка предпочтительного варианта выполнения может быть выполнена так, что первый держатель 260 щетины будет совершать любое из перемещений, показанных на фиг.3A-3E, в сочетании со вторым держателем 270 щетины, совершающим любое из перемещений, показанных на фиг.3E-3H.
На фиг.12A-12E показаны два механизма предпочтительного варианта выполнения для осуществления перемещения, показанного на фиг.3A. Конкретно, фиг.12A-12C иллюстрируют механизм для осуществления этого перемещения путем использования вращающегося или вибрирующего вала электродвигателя. Фиг.12D-12E иллюстрируют механизм для осуществления этого перемещения с использованием возвратно-поступательно перемещающегося вала. Конкретно, фиг.12A-12C иллюстрируют зубную щетку M предпочтительного варианта выполнения, имеющую корпус 1410, шейку 1440 и головку 1450. Вдоль головки 1450 расположены дистальный, или первый, держатель 1460 щетины и второй держатель 1470 щетины. Корпус 1410 заключает в себе вращающийся вал 1420, имеющий дистальный конец 1422, или является оболочкой для него. Вдоль дистального конца 1422 зацеплена шестерня 1430. Шестерня 1430 определяет канал 1432. Дистальный (первый) держатель щетины содержит основание 1462, пластину 1463 держателя и отслеживающий или направляющий элемент 1464, продолжающийся из пластины 1463 держателя. Шестерня 1430, зацепленная с дистальным концом 1422 вала 1420, позиционирована таким образом, что она расположена в общем под пластиной 1463 первого держателя 1460 щетины или ниже ее. Конкретно, отслеживающий элемент 1464 пластины 1463 держателя расположен в канале 1432, образованном шестерней 1430. Понятно, что основание может представлять собой унитарный компонент и содержать составляющий с ней единое целое отслеживающий или направляющий элемент без пластины 1463 держателя. При вращении или вибрации вала 1420 отслеживающий элемент 1464 линейно смещается, когда он перемещается через канал 1432, образованный вдоль шестерни 1430. Линейное смещение отслеживающего элемента 1464 вызывает линейное смещение пластины 1463 держателя и, таким образом, основания 1462. Когда основание 1462 совершает линейное, возвратно-поступательное перемещение вдоль конца или головки 1450 зубной щетки M, первый держатель 1450 щетины совершает поступательное перемещение. Направляющий канал или продолговатое отверстие 1454, образованное вдоль направленной вверх поверхности головки 1450, дополнительно модифицирует перемещение первого держателя щетины 1460. Таким образом, в зависимости от формы или конфигурации направляющего канала 1454, первый держатель 1460 щетины может перемещаться криволинейным образом или по любому желаемому пути.
На фиг.12D-12E показан механизм предпочтительного варианта выполнения для осуществления перемещения, показанного на фиг.3, на основе возвратно-поступательно перемещающегося вала 1524 электродвигателя. На фиг.12D-12E показана зубная щетка N предпочтительного варианта, имеющая корпус 1510, шейку 1540 и головку 1550. Вдоль головки 1550 расположены дистальный, или первый, держатель щетины 1560 и второй держатель щетины 1570. Корпус 1510 заключает в себе возвратно-поступательно перемещающийся вал 1524, имеющий смещенный от оси конец 1526. Первый держатель щетины 1560 имеет основание 1562 с продолжающимся вниз удерживающим или направляющим элементом 1564. Основание позиционировано и расположено на головке с возможностью перемещения. Удерживающий элемент 1564 зацеплен с одним или несколькими вторичными направляющими элементами 1566, которые продолжаются из основания 1562. Направляющий элемент 1566 продолжается через направляющий канал или продолговатое отверстие 1554, образованное в обращенной вверх поверхности головки 1550. Будет понятно, что основание может представлять собой унитарную конструкцию и не использовать отдельного удерживающего элемента 1564. То есть основание само по себе может содержать продолжающийся наружу направляющий элемент, выступающий через отверстие 1554, образованное в головке. При движении или возвратно-поступательном перемещении вала 1524 удерживающий элемент 1564, который зацеплен со смещенным от оси концом 1526 вала 1524, линейно смещается в головке 1550. Линейное смещение удерживающего элемента 1564 вызывает линейное смещение основания 1562, поскольку один или несколько направляющих элементов 1566 зацеплены с удерживающим элементом 1564. Форма направляющего канала 1554, образованного вдоль головки 1550, дополнительно модифицирует или влияет на путь перемещения первого держателя 1560 щетины.
На фиг.19A-19G показаны два механизма предпочтительного варианта выполнения для обеспечения перемещения, показанного на фиг.3B. На фиг.19A-19C показан механизм, использующий вращающийся или вибрирующий вал электродвигателя для осуществления отмеченного перемещения. На фиг.19D-19G показан механизм для осуществления такого перемещения с использованием возвратно-поступательно перемещающегося вала. Конкретно, на фиг.19A-19C показана зубная щетка AA предпочтительного варианта выполнения, имеющая корпус 2810, шейку 2840 и головку 2850. Вдоль головки 2850 расположены первый, дистальный, держатель 2860 щетины и второй держатель 2870 щетины. Первый держатель щетины 2860 находится возле дистального конца 2852 головки 2850. Корпус 2810 является оболочкой вращающегося или вибрирующего вала 2820, имеющего дистальный конец 2822, или заключает его в себе. На дистальном конце 2822 с валом зацеплена шестерня 2830, образующая канал 2832. Первый держатель 2860 щетины содержит основание 2862 и продолжающийся вниз элемент 2866. Основание позиционировано и расположено на головке с возможностью перемещения. Латерально наружу из продолжающегося вниз элемента 2866 продолжается несколько элементов 2864. Внутри себя головка 2850 содержит один или несколько внутренних направляющих элементов 2854, которые образуют внутреннее направляющее или кулачковое отверстие 2856. Один или несколько латерально продолжающихся элементов 2864 предпочтительно продолжаются в направляющее или кулачковое отверстие 2856, образованное в направляющих элементах 2854, и направляются им. Соединительный узел, содержащий соединяющий элемент 2880 и соединитель 2888, обеспечивает взаимодействие шестерни 2830 с продолжающимся вниз элементом 2866 первого держателя 2860 щетины. Конкретно, соединяющий элемент 2880 содержит толкатель 2882, который принимается каналом 2832 шестерни 2830. Соединяющий элемент 2880 также содержит противоположный тяговый элемент 2884, расположенный против толкателя 2882. Соединитель 2888 зацеплен с тяговым элементом 2884 соединяющего элемента 2880. И, как показано на чертеже, соединитель 2888 зацеплен с продолжающимся вниз элементом 2866 первого держателя 2860 щетины. Во время работы, когда вал 2820 вращается или вибрирует, то же делает и шестерня 2830. Канал 2832 передает возвратно-поступательное перемещение соединяющему элементу 2880 и соединителю 2888. Он, в свою очередь, передает это движение продолжающемуся вниз элементу 2866 первого держателя 2860 щетины. Направляющее отверстие 2856, образованное во внутренней области головки 2850, дополнительно управляет перемещением первого держателя 2860 щетины.
На фиг.19D-19G показан другой механизм предпочтительного варианта для осуществления перемещения, показанного на фиг.3B, от возвратно-поступательно перемещающегося вала. Конкретно, на этих фигурах показана зубная щетка AB предпочтительного варианта, имеющая корпус 2910, содержащий шейку 2940 и головку 2950. Вдоль головки 2950 расположены дистальный, или первый, держатель 2960 щетины и второй держатель 2970 щетины. Первый держатель 2960 щетины расположен возле дистального конца 2952 головки 2950 и смежно ему. Корпус 2910 заключает в себе возвратно-поступательно перемещающийся вал 2924, имеющий дистальный конец 2926. Первый держатель 2960 щетины содержит основание 2962, имеющее продолжающийся вниз элемент 2966. Основание позиционировано и расположено на головке с возможностью перемещения. Латерально из продолжающегося вниз элемента 2966 продолжается несколько элементов 2964. В головке 2950 образовано несколько внутренних направляющих элементов 2954. Эти внутренние направляющие элементы образуют кулачковое отверстие 2956 для направления перемещения первого держателя 2960 щетины. Конкретно, один или несколько латерально продолжающихся элементов 2964 продолжаются в отверстие 2956 и зацеплены с ним. Соединительный узел, предпочтительно в виде соединителя 2980, обеспечивает взаимодействие дистального конца возвратно-поступательно перемещающегося вала 2924 с продолжающимся вниз элементом 2966. Один конец соединителя 2980 прикреплен к зацепляющему отверстию 2968, образованному в продолжающемся вниз элементе 2966. Во время работы при возвратно-поступательном перемещении вала 2924 соединитель 2980 и, таким образом, продолжающийся вниз элемент 2966 первого держателя 2960 щетины совершают возвратно-поступательное перемещение в головке 2950. Это перемещение дополнительно модифицируется формой отверстия 2956, образованного в направляющих элементах 2954.
На фиг.13A-13F показаны два механизма предпочтительного варианта для обеспечения перемещения, показанного на фиг.3C. На фиг.13A-13C показан приводной механизм для обеспечения такого перемещения на основе вращающегося или вибрирующего вала. На фиг.13D-13F показан механизм для осуществления отмеченного перемещения от возвратно-поступательно перемещающегося вала электродвигателя. Конкретно, на фиг.13A-13C показана зубная щетка O предпочтительного варианта, имеющая корпус 1610, шейку 1640 и головку 1650. Вдоль головки 1650 расположены дистальный, или первый, держатель 1660 щетины и второй держатель 1670 щетины. Первый держатель 1660 щетины находится возле дистального конца 1652 головки 1650. Корпус 1610 заключает в себе вращающийся или вибрирующий вал 1620, имеющий дистальный конец 1622. Зацеплена или иным образом фиксирована на дистальном конце 1622 вала 1620 шестерня 1630. Шестерня 1630 образует канал 1632, приспособленный для приема отслеживающего или направляющего элемента 1666, описанного здесь более подробно. Первый держатель 1660 щетины содержит основание 1662 и пластину 1664, зацепленную с основанием 1662. Из нижней части пластины 1664 продолжается отслеживающий или направляющий элемент 1666. Как отмечено, отслеживающий элемент 1666 принимает канал 1632 шестерни 1630 и в общем зацепляет его. Как отмечено выше, в связи с фиг.12A-12C, основание может быть унитарным компонентом и не использовать отдельной пластины. Также вдоль обращенной вверх поверхности головки 1650 предусмотрена наклонная поверхность 1654. При вращении или вибрации вала 1620 шестерня 1630 вращается или совершает вибрации подобным же образом. Это перемещение вызывает линейное смещение отслеживающего элемента 1666 и, таким образом, пластины 1664. Это, в свою очередь, вызывает линейное смещение основания 1662 первого держателя 1660 щетины. Наклонная поверхность 1654, образованная вдоль обращенной вверх поверхности головки 1650, придает вертикальный компонент перемещению первого держателя 1660 щетины. Образование направляющего канала или продолговатого отверстия 1656 может придать дополнительные различные характеристики перемещению держателя 1660 щетины. Например, если направляющий канал 1656 является криволинейным или дугообразным, таким же будет и соответствующий путь перемещения первого держателя 1660 щетины.
На фиг.13D-13F показана зубная щетка P предпочтительного варианта изобретения. Зубная щетка P предпочтительного варианта выполнения содержит приводной механизм, использующий возвратно-поступательно перемещающийся вал электродвигателя для обеспечения перемещения, показанного на фиг.3C, первого держателя щетины. Зубная щетка P содержит корпус 1710, имеющий шейку 1740 и головку 1750. Вдоль головки 1750 расположены первый, или дистальный, держатель 1760 щетины и второй держатель 1770 щетины. Корпус 1710 заключает в себе возвратно-поступательно перемещающийся вал 1724, имеющий дистальный конец 1726. Первый держатель 1760 щетины содержит основание 1762 и пластину 1764. Пластина содержит фитинг 1766, с которым зацеплен дистальный конец 1726 вала 1724. Понятно, что основание может иметь унитарную конструкцию и, таким образом, не использовать отдельной пластины. Обращенная вверх поверхность головки 1750 образует наклонную поверхность 1754 и, кроме того, образует направляющий канал или продолговатое отверстие 1756, которое может иметь практически любую желаемую форму. Основание позиционировано и расположено на головке с возможностью перемещения. Основание позиционировано над направляющим каналом 1756. Направляющий канал 1756 показан на этих фигурах как имеющий криволинейную форму. При движении или возвратно-поступательном перемещении вала 1724 фитинг 1766 и, таким образом, пластина 1764 линейно смещаются в головке 1750 зубной щетки P. Перемещение пластины 1764 в свою очередь вызывает линейное смещение основания 1762 и, таким образом, держателя 1760 щетины. Наклонная поверхность 1754 профилем придает вертикальную компоненту перемещению первого держателя 1760 щетины, а форма направляющего канала 1756 дополнительно модифицирует путь перемещения первого держателя 1760 щетины.
Механизм для осуществления перемещения, показанного на фиг.3D, описан ниже. Это перемещение представляет собой повторяющееся перемещение первого держателя щетины, которое является в основном линейным и непланарным и, таким образом, трехмерным. Фиг.21A-21C иллюстрируют примерный механизм.
Вышеописанные фиг.16A-16D иллюстрируют механизмы для осуществления перемещения, показанного на фиг.3E. Это перемещение второго держателя щетины является в основном линейным в плоскости головки зубной щетки или в плоскости, которая является в общем параллельной ей.
Вышеописанные фиг.20A-20D иллюстрируют механизмы для осуществления перемещения, показанного на фиг.3F. Это перемещение является повторяющимся перемещением второго держателя щетины, которое происходит в основном линейно в плоскости, перпендикулярной плоскости головки зубной щетки, и, таким образом, является движением пульсирующего типа.
Вышеописанные фиг.17A-17G иллюстрируют механизмы для осуществления перемещения, показанного на фиг.3G. Это перемещение второго держателя щетины является повторяющимся перемещением, которое происходит в основном линейно в плоскости, другой чем плоскость, которая является параллельной или перпендикулярной плоскости головки зубной щетки.
Механизм для осуществления перемещения, показанного на фиг.3H, описан ниже. Это перемещение второго держателя щетины является повторяющимся перемещением, происходящим в основном линейно и непланарно. Это перемещение является трехмерным. Фиг.22A-22C иллюстрируют примерный механизм.
Еще одна категория комбинаций перемещений двух держателей щетины представляет собой такую категорию, в которой первый держатель щетины совершает трехмерное периодическое в основном линейное перемещение в сочетании с двух- или трехмерным периодическим, в основном линейным перемещением второго держателя щетины.
Первый держатель щетины может совершать повторяющееся перемещение, которое является в основном линейным и непланарным. Перемещение первого держателя щетины, хотя и непланарное и, таким образом, трехмерное, может быть охарактеризовано как продолжающееся в основном в плоскости, которая: (i) находится в плоскости головки зубной щетки или в плоскости, параллельной ей; (ii) является перпендикулярной плоскости головки зубной щетки; или (iii) является другой, чем плоскость головки зубной щетки или чем плоскость, перпендикулярная плоскости головки зубной щетки.
Второй держатель щетины может совершать повторяющееся перемещение, которое является в основном линейным в плоскости головки зубной щетки или в плоскости, в общем параллельной ей. Или же второй держатель щетины может совершать повторяющееся перемещение, которое является в основном линейным в плоскости, перпендикулярной плоскости головки зубной щетки (и, таким образом, совершать перемещение «пульсирующего» типа). Или же второй держатель щетины может совершать повторяющееся перемещение, которое является в основном линейным в плоскости, другой чем плоскость, которая является параллельной или перпендикулярной плоскости головки зубной щетки. Или же второй держатель щетины может совершать повторяющееся перемещение, которое является в основном линейным и непланарным. Это перемещение второго держателя щетины, хотя и непланарное и, следовательно, трехмерное, может быть охарактеризовано как продолжающееся в основном в плоскости, которая: (i) находится в плоскости головки зубной щетки или в плоскости, параллельной ей; (ii) является перпендикулярной плоскости головки зубной щетки; или (iii) является другой, чем плоскость головки зубной щетки или чем плоскость, перпендикулярная ей.
Любое из перемещений первого держателя щетины может использоваться в сочетании с любым из перемещений второго держателя щетины.
На фиг.4 показана другая зубная щетка C предпочтительного варианта изобретения, обеспечивающая вышеописанные комбинации перемещений держателей щетины. Зубная щетка C содержит корпус 310, имеющий шейку 340 и головку 350. В целом на головке 350 расположены первый держатель 360 щетины и второй держатель 370 щетины. Первый держатель 360 щетины находится возле дистального конца 352 головки 350. Первый держатель 360 щетины и второй держатель 370 щетины могут осуществлять различные перемещения и их комбинации следующим образом.
На фиг.4A показан первый держатель 360 щетины, совершающий повторяющееся перемещение, которое является в основном линейным и непланарным. Другими словами, первый держатель 360 щетины совершает в основном линейное и трехмерное перемещение.
Фиг.4B-4E иллюстрируют перемещение второго держателя 370 щетины. На фиг.4B показан второй держатель 370 щетины, совершающий повторяющееся перемещение, которое является в основном линейным и происходит в плоскости головки зубной щетки или в плоскости, в общем параллельной ей. На фиг.4C показан второй держатель 370 щетины, совершающий повторяющееся перемещение, которое является в основном линейным и происходит в плоскости, перпендикулярной плоскости головки зубной щетки, такой как плоскость Y, показанная на фиг.1. Фиг.4C иллюстрирует это перемещение, напоминающее движение пульсирующего типа. На фиг.4D показан второй держатель 370 щетины, совершающий повторяющееся перемещение, которое является в основном линейным и происходит в плоскости, другой чем плоскость, которая параллельна или перпендикулярна плоскости головки зубной щетки C. На фиг.4E показан второй держатель 370 щетины, совершающий повторяющееся перемещение, которое является в основном линейным и непланарным и, таким образом, является трехмерным.
Зубная щетка C предпочтительного варианта выполнения может быть выполнена так, что первый держатель 360 щетины будет совершать перемещение, показанное на фиг.4A, в сочетании со вторым держателем 370 щетины, совершающим любое из перемещений, показанных на фиг.4B-4E.
Механизм для осуществления перемещения, показанного на фиг.4A, описан ниже. Это перемещение первого держателя щетины, совершающего повторяющееся перемещение, которое является в основном линейным и непланарным. То есть такое перемещение является трехмерным. На фиг.21A-21C показан примерный механизм.
Вышеописанные фиг.16A-16D иллюстрируют механизмы для осуществления перемещения, показанного на фиг.4B. Это перемещение второго держателя щетины, совершающего повторяющееся перемещение, которое является в основном линейным и происходит в плоскости головки зубной щетки или в плоскости, в общем параллельной ей.
Вышеописанные фиг.20A-20D иллюстрируют механизмы для осуществления перемещения, показанного на фиг.4C. Это перемещение второго держателя щетины, совершающего повторяющееся перемещение, которое является в основном линейным и происходит в плоскости, в общем перпендикулярной плоскости головки зубной щетки, и таким образом, соответствует перемещению пульсирующего типа.
Фиг.17A-17G иллюстрируют механизмы для осуществления перемещения, показанного на фиг.4D. Это перемещение второго держателя щетины, совершающего повторяющееся перемещение, которое является в основном линейным и происходит в плоскости, другой чем плоскость, которая параллельна или перпендикулярна плоскости головки зубной щетки.
Механизм для осуществления перемещения, показанного на фиг.4E, описан ниже. Это перемещение второго держателя щетины, совершающего повторяющееся перемещение, которое является в основном линейным и непланарным и, таким образом, трехмерным. Фиг.22A-22G иллюстрируют примерный механизм.
В дополнение к этому другая категория комбинаций перемещения включает криволинейное перемещение первого держателя щетины в сочетании с перемещением в двух или трех измерениях второго держателя щетины. Конкретно, в этой категории перемещений первый держатель щетины совершает двухмерное периодическое криволинейное перемещение в сочетании с двух- или трехмерным периодическим, в основном линейным перемещением второго держателя щетины.
Первый держатель щетины может совершать повторяющееся криволинейное перемещение в плоскости головки зубной щетки или в плоскости, параллельной плоскости головки зубной щетки. Или же первый держатель щетины может совершать повторяющееся криволинейное перемещение в плоскости, перпендикулярной плоскости головки зубной щетки. Или же первый держатель щетины может совершать повторяющееся криволинейное перемещение в плоскости, другой чем плоскость головки зубной щетки или плоскость, перпендикулярная ей.
Второй держатель щетины может совершать повторяющееся перемещение, которое является в основном линейным и происходит в плоскости головки зубной щетки или в плоскости, параллельной ей. Или же второй держатель щетины может совершать повторяющееся перемещение, которое является в основном линейным и происходит в плоскости, перпендикулярной плоскости головки зубной щетки (и, таким образом, совершать перемещение «пульсирующего» типа). Или же второй держатель щетины может совершать повторяющееся перемещение, которое является в основном линейным и происходит в плоскости, другой чем плоскость, которая является параллельной или перпендикулярной плоскости головки зубной щетки. Или же второй держатель щетины может совершать повторяющееся перемещение, которое является в основном линейным и непланарным. Перемещение второго держателя щетины, хотя и непланарное и, следовательно, трехмерное, может быть охарактеризовано как продолжающееся в основном в плоскости, которая: (i) находится в плоскости головки зубной щетки или в плоскости, параллельной ей; (ii) является перпендикулярной плоскости головки зубной щетки; или (iii) является другой, чем плоскость головки зубной щетки или чем плоскость, перпендикулярная ей.
Как отмечено выше, возможны любые комбинации перемещений первого держателя щетины и второго держателя щетины, и все они вместе.
На фиг.5 показана другая зубная щетка D предпочтительного варианта изобретения, обеспечивающая отмеченные выше комбинации перемещений держателей щетины. Зубная щетка D содержит корпус 410, имеющий шейку 440 и головку 450. На головке 450 расположены первый держатель 460 щетины и второй держатель 470 щетины. Первый держатель 460 щетины расположен возле дистального конца 452 зубной щетки D. Первый держатель 460 щетины и второй держатель 470 щетины зубной щетки D могут совершать различные перемещения следующим образом.
На фиг.5A-5C показаны конкретные перемещения, которые может совершать первый держатель щетины 460. Конкретно, фиг.5A показывает первый держатель 460 щетины, совершающий повторяющееся криволинейное перемещение в плоскости головки зубной щетки или в плоскости, параллельной плоскости головки зубной щетки. На фиг.5B показан первый держатель 460 щетины, совершающий повторяющееся криволинейное перемещение в плоскости, перпендикулярной плоскости головки зубной щетки, такой как плоскость Y, показанная на фиг.1. На фиг.5C показан первый держатель 460 щетины, совершающий повторяющееся криволинейное перемещение в плоскости, другой чем плоскость головки зубной щетки или плоскость, перпендикулярная ей.
Фиг.5D-5G иллюстрируют различные перемещения, которые может совершать второй держатель 470 щетины. Конкретно, на фиг.5D показан второй держатель 470 щетины, совершающий повторяющееся перемещение, которое является в основном линейным в плоскости головки зубной щетки или в плоскости, параллельной ей. На фиг.5E показан второй держатель 470 щетины, совершающий повторяющееся перемещение, которое является в основном линейным в плоскости, перпендикулярной плоскости головки зубной щетки, такой как плоскость Y, показанная на фиг.1. На фиг.5E показано перемещение второго держателя 470 щетины, совпадающее с перемещением пульсирующего типа, как здесь описано, или подобное ему. Фиг.5F иллюстрирует второй держатель 470 щетины, совершающий повторяющееся перемещение, которое является в основном линейным и происходит в плоскости, другой чем плоскость, которая является параллельной или перпендикулярной плоскости головки зубной щетки. Фиг.5G иллюстрирует второй держатель 470 щетины, совершающий трехмерное перемещение.
Зубная щетка D предпочтительного варианта может быть выполнена так, что первый держатель 460 щетины будет совершать перемещение, показанное на любой из фиг.5A-5C, в сочетании со вторым держателем 470 щетины, совершающим перемещение, показанное на любой из фиг.5D-5G.
Вышеописанные фиг.12A-12E иллюстрируют механизмы для осуществления перемещения, показанного на фиг.5A. Это перемещение первого держателя щетины, совершающего повторяющееся криволинейное перемещение в плоскости головки зубной щетки или в плоскости, параллельной ей.
На фиг.10A-10E показаны два механизма предпочтительного варианта выполнения, используемые для осуществления повторяющегося криволинейного перемещения первого держателя щетины в плоскости, перпендикулярной плоскости головки зубной щетки, как показано на фиг.5B. Конкретно, на фиг.10A-10C показан механизм для обеспечения такого перемещения на основе вращающегося или вибрирующего ведущего вала. На фиг.10D-10E показан механизм для обеспечения такого перемещения от возвратно-поступательно перемещающегося ведущего вала. На фиг.10A-10C показана зубная щетка I предпочтительного варианта выполнения, имеющая корпус 1010, который содержит шейку 1040 и головку 1050. Вдоль головки 1050 расположены первый, или дистальный, держатель щетины 1060 и второй держатель щетины 1070. Понятно, что первый держатель щетины 1060 расположен возле дистального конца 1052 головки 1050. Корпус 1010 зубной щетки I заключает в себе вращающийся или вибрирующий ведущий вал 1020. Вал 1020 имеет смещенный от оси конец 1022. Первый держатель 1060 щетины содержит шарнирное основание 1062, имеющее два продолжающихся латерально шарнирных элемента 1064. Предпочтительно, основание шарнирно прикреплено к головке и позиционировано относительно головки. Основание 1062 также содержит продолжающийся латерально приемный канал 1066, который ориентирован для приема смещенного от оси конца 1022 вала 1020. Основание 1062 позиционировано в головке 1050 так, что шарнирные элементы 1064 принимаются, каждый, отверстием 1054, образованным по бокам головки 1050. Смещенный от оси конец 1022 вала 1020 расположен и в общем зацеплен с приемным каналом 1066 основания 1062 держателя 1060 щетины. Один или несколько зазоров 1080 предусмотрены по периферии первого держателя 1060 щетины, чтобы позволить перемещение держателя щетины 1060. Во время работы, при вращении или вибрации вала 1020, изменение относительного положения смещенного от оси конца 1022 вызывает смещение держателя 1060 щетины вокруг шарнирных элементов 1064.
На фиг.10D-10E показан механизм предпочтительного варианта выполнения для обеспечения повторяющегося криволинейного перемещения в плоскости, перпендикулярной плоскости головки зубной щетки, как показано на фиг.5B, при использовании вала, совершающего возвратно-поступательное движение. Конкретно на этих чертежах показана зубная щетка J предпочтительного варианта выполнения, имеющая корпус 1110, имеющий шейку 1140 и головку 1150. Вдоль головки 1150 расположены дистальный, или первый, держатель 1160 щетины и второй держатель 1170 щетины. Корпус 1110 является оболочкой возвратно-поступательно перемещающегося вала 1124 или заключает его в себе. Вал 1124 содержит смещенный от оси конец 1126. Первый держатель 1160 щетины содержит основание 1166, имеющее рычаг 1162, который продолжается вниз из основания 1166 во внутреннюю область головки 1150. Предпочтительно, основание шарнирно прикреплено к головке и позиционировано относительно головки. Также предусмотрены два латерально продолжающихся шарнирных элемента 1164, каждый из которых зацеплен с отверстием 1154, образованным в головке 1150. Первый держатель 1160 щетины в общем позиционирован возле дистального конца 1152 головки 1150 или смежно ему. Во время работы и, таким образом, при возвратно-поступательном перемещении вала 1124 основание 1166 первого держателя 1160 щетины поворачивается вокруг шарнирных элементов 1164.
На фиг.18A-18G показан предпочтительный механизм для осуществления перемещения, показанного на фиг.5C. Конкретно, на фиг.18A-18C показан механизм, который обеспечивает такое перемещение с исппользованием вращающегося или вибрирующего вала. На фиг.18D-18G показан предпочтительный механизм для осуществления такого перемещения с использованием вала, совершающего возвратно-поступательные перемещения. В частности, на фиг.18A-18C показана зубная щетка Y предпочтительного варианта выполнения, имеющая корпус 2610, имеющий шейку 2640 и головку 2650. Вдоль дистального конца головки 2650 расположены первый, дистальный, держатель 2660 щетины и второй держатель 2670 щетины, расположенный рядом с ним. Корпус 2610 является оболочкой или иным образом заключает в себе вращающийся или вибрирующий вал 2620, имеющий дистальный конец 2622, к которому присоединена шестерня 2630. Вдоль обращенной вверх поверхности головки 2650 образована изогнутая и вдавленная приемная область или поверхность 2656. Продолговатое отверстие 2654 образовано в изогнутой приемной поверхности 2656 и вдоль нее. Дистальный, или первый, держатель 2660 щетины расположен в общем внутри изогнутой приемной поверхности 2656. Первый держатель щетины 2660 содержит основание 2662, имеющее продолжающийся вниз направляющий элемент 2664, который продолжается сквозь отверстие 2654. Соединительный узел 2680 обеспечивает взаимодействие между шестерней 2630 и направляющим элементом 2664 первого держателя 2660 щетины и соединяет их. Конкретно, соединительный узел 2680 содержит толкатель 2684, который принимает канал 2632 шестерни 2630. На противоположном конце соединительного узла 2680 расположен приемный канал 2682. Приемный канал 2682 принимает направляющий элемент 2664 основания 2662 первого держателя 2660 щетины и зацеплен с ним. При вращении или вибрации вала 2620 шестерня 2630 вращается или вибрирует подобным образом. Ориентация канала 2632 вызывает линейное смещение соединительного узла 2680. Перемещение приемного канала 2682 подобным же образом приводит в движение направляющий элемент 2664 первого держателя 2660 щетины. Ориентация и форма отверстия 2654, образованного вдоль головки 2650, дополнительно придает желаемое перемещение первому держателю 2660 щетины.
На фиг.18D-18G показан механизм предпочтительного варианта выполнения для обеспечения перемещения, показанного на фиг.5C, с использованием вала, совершающего возвратно-поступательное движение. Конкретно, на фиг.18D-18G показана зубная щетка Z предпочтительного варианта, имеющая корпус 2710 с шейкой 2740 и головкой 2750. Вдоль головки 2750 расположены первый держатель 2760 щетины и второй держатель 2770 щетины. Первый держатель 2760 щетины находится возле дистального конца 2752 головки 2750 или смежно ему. Корпус 2710 является оболочкой для возвратно-поступательно перемещающегося вала 2724, имеющего дистальный конец 2726 или заключает его в себе. Первый держатель 2760 щетины содержит основание 2762 с одним или несколькими элементами крепления 2765. Головка 2750 содержит вдавленную приемную область или поверхность 2756, внутри которой образовано продолговатое отверстие 2754. Отмеченные элементы 2765 крепления продолжаются через отверстие 2754 и зацеплены с направляющим элементом 2766. Головка 2750 также заключает в себе соединитель 2780, имеющий первый конец 2782 и противоположный второй конец 2784. Первый конец 2782 зацеплен с дистальным концом 2726 вала 2724. Второй конец соединителя 2780 содержит приемный канал 2786, который зацеплен с направляющим элементом 2766. Основание позиционировано и расположено на головке с возможностью перемещения. Основание позиционировано над направляющим каналом. Основание может иметь унитарную конструкцию и не использовать отдельного удерживающего элемента. Во время работы, когда вал 2724 осуществляет возвратно-поступательное перемещение, оно передается соединителю 2780. Затем возвратно-поступательное перемещение передается направляющему элементу 2766 благодаря его зацеплению с приемным каналом 2786 соединителя 2780. Это перемещение дополнительно модифицируется формой и ориентацией отверстия 2754, образованного в приемной поверхности 2756 головки 2750. Соответственно, первый держатель 2760 щетины осуществляет перемещение в виде отмеченного перемещения.
Вышеописанные фиг.16A-16D иллюстрируют механизмы для осуществления перемещения, показанного на фиг.5D. Это перемещение второго держателя щетины, совершающего повторяющееся перемещение, которое является в основном линейным в плоскости головки зубной щетки или в плоскости, параллельной ей.
Вышеописанные фиг.20A-20D показывают механизмы для осуществления перемещения, показанного на фиг.5E. Это перемещение второго держателя щетины, напоминающее движение пульсирующего типа или идентичное ему.
Вышеописанные фиг.17A-17G показывают механизмы для осуществления перемещения, показанного на фиг.5F. Это перемещение второго держателя щетины, совершающего повторяющееся перемещение, которое является в основном линейным и происходит в плоскости, другой чем плоскость, которая является параллельной или перпендикулярной плоскости головки зубной щетки.
Механизм для осуществления перемещения по фиг.5G описан ниже. Это перемещение второго держателя щетины, совершающего трехмерное перемещение. Фиг.22A-22C иллюстрируют примерный механизм.
Другая категория комбинаций перемещений двух держателей щетины является такой, в которой первый держатель щетины совершает трехмерное периодическое криволинейное перемещение в сочетании с двух- или трехмерным периодическим в основном линейным перемещением второго держателя щетины.
Первый держатель щетины может совершать повторяющееся перемещение, которое является криволинейным по своей природе и непланарным. Перемещение первого держателя щетины, хотя и непланарное и, таким образом, трехмерное, может быть охарактеризовано как продолжающееся в основном в плоскости, которая: (i) находится в плоскости головки зубной щетки или в плоскости, параллельной ей; (ii) является перпендикулярной плоскости головки зубной щетки; или (iii) является другой, чем плоскость головки зубной щетки или чем плоскость, перпендикулярная ей.
Второй держатель щетины может совершать повторяющееся перемещение, которое является в основном линейным и происходит в плоскости головки зубной щетки или в плоскости, в общем параллельной плоскости головки зубной щетки. Второй держатель щетины может совершать повторяющееся перемещение, которое является в основном линейным и происходит в плоскости, перпендикулярной плоскости головки зубной щетки (и, таким образом, является движением «пульсирующего» типа). Или же второй держатель щетины может совершать повторяющееся перемещение, которое является в основном линейным и происходит в плоскости, другой чем плоскость, которая является параллельной или перпендикулярной плоскости головки зубной щетки. Альтернативно, второй держатель щетины может совершать повторяющееся перемещение, которое является в основном линейным и непланарным (следовательно, это перемещение второго держателя щетины является трехмерным). Это перемещение второго держателя щетины, хотя и непланарное, может быть охарактеризовано как продолжающееся в основном в плоскости, которая: (i) находится в плоскости головки зубной щетки или в плоскости, параллельной ей; (ii) является перпендикулярной плоскости головки зубной щетки; или (iii) является другой, чем плоскость головки зубной щетки или чем плоскость, перпендикулярная ей.
Опять же, предполагается любая комбинация перемещений для первого держателя щетины и второго держателя щетины, и все они вместе.
На фиг.6 дан вид спереди части головки зубной щетки E предпочтительного варианта изобретения, предусматривающей вышеописанные комбинации перемещений держателя щетины. Зубная щетка E содержит корпус 510, имеющий шейку 540 и головку 550. На головке 550 расположены первый держатель 560 щетины и второй держатель 570 щетины. Первый держатель щетины 560 позиционирован или расположен возле дистального конца 552 головки 550. Как здесь объясняется, первый держатель 560 щетины и второй держатель 570 щетины могут совершать различные перемещения следующим образом.
На фиг.6A показан первый держатель 560 щетины, совершающий повторяющееся перемещение, которое является криволинейным по своей природе и непланарным. То есть перемещение первого держателя 560 щетины является трехмерным. На фиг.6B показан второй держатель 570 щетины, совершающий повторяющееся перемещение, которое является в основном линейным и происходит в плоскости головки зубной щетки или в плоскости, в общем параллельной плоскости головки зубной щетки. На фиг.6C показан второй держатель 570 щетины, совершающий повторяющееся перемещение, которое является в основном линейным и происходит в плоскости, перпендикулярной плоскости головки зубной щетки, такой как плоскость Y, показанная на фиг.1. Т.е. на фиг.6C показан второй держатель 570 щетины, совершающий перемещение, которое напоминает движение пульсирующего типа, как здесь описано. На фиг.6D показан второй держатель 570 щетины, совершающий повторяющееся перемещение, которое является в основном линейным в плоскости, другой чем плоскость, которая является параллельной или перпендикулярной плоскости головки зубной щетки. И на фиг.6E показан второй держатель 570 щетины, совершающий трехмерное перемещение.
Зубная щетка E предпочтительного варианта может быть выполнена так, что первый держатель 560 щетины совершает перемещение, показанное на фиг.6A, в сочетании со вторым держателем 570 щетины, совершающим любой из типов перемещений, показанных на фиг.6B-6E.
Механизм для осуществления перемещения, показанного на фиг.6A, описан ниже. Это перемещение первого держателя щетины, совершающего повторяющееся перемещение, которое является криволинейными по своей природе и непланарным. То есть такое перемещение является трехмерным. На фиг.21A-21C показан примерный механизм.
Вышеописанные фиг.16A-16D иллюстрируют механизмы для осуществления перемещения, показанного на фиг.6B. Это перемещение второго держателя щетины, совершающего повторяющееся перемещение, которое является в основном линейным и происходит в плоскости головки зубной щетки или в плоскости, параллельной ей.
Вышеописанные фиг.20A-20D иллюстрируют механизмы для осуществления перемещения, показанного на фиг.6C. Это перемещение второго держателя щетины, совершающего повторяющееся перемещение, которое является в основном линейным и происходит в плоскости, которая является перпендикулярной плоскости головки зубной щетки.
Вышеописанные фиг.17A-17G иллюстрируют механизмы для осуществления перемещения, показанного на фиг.6D. Это перемещение второго держателя щетины, совершающего повторяющееся перемещение, которое является в основном линейным и происходит в плоскости, другой чем плоскость, которая является параллельной или перпендикулярной плоскости головки зубной щетки.
Механизм для осуществления перемещения, показанного на фиг.6E, описан ниже. Это перемещение второго держателя щетины, совершающего трехмерное перемещение.
Конкретно, предпочтительная структура и расположение подвижных и снабженных электроприводом держателей щетины является следующим. Второй держатель щетины расположен смежно первому держателю щетины. Хотя желательно располагать второй держатель щетины непосредственно смежно первому держателю щетины, может также предусматриваться промежуток между первым и вторым держателями щетины. Кроме того, промежуток между первым и вторым держателями щетины может быть заполнен стационарными щетинками, которые выходят из фиксированного или стационарного третьего держателя щетины (не показан), который формирует часть конца зубной щетки. В дополнение к этому, хотя первый держатель щетины описан как смежный дистальному концу зубной щетки, предполагается, что и второй держатель щетины может располагаться смежно дистальному концу зубной щетки и приводиться в перемещение таким же образом, как здесь описано.
Хотя варианты настоящего изобретения для простоты показаны со щетинками, которые продолжаются в направлении, по существу перпендикулярном продольной оси и поверхности держателей щетины, предполагается, что щетинки могут располагаться различно, для дополнения или дополнительного усиления перемещений первого и/или второго держателей щетины. То есть некоторые или все щетинки могут продолжаться в направлении, которое образует острый угол с поверхностью держателя щетины, и продолжаться по направлению к ручке, или от нее. В другом варианте некоторые щетинки могут продолжаться наружу из головки, в другом направлении, опять же, образуя острый угол к поверхности держателя щетины. Могут также использоваться массажные щетинки или щетинки различной длины, как описано в патентах на промышленный образец США №№ Des. 330286, Des. 434563, содержание которых включено в данное описание путем ссылки. Другие предпочтительные расположения щетинок, пригодные для использования, включают в себя расположения, описанные полностью или частично в патентах США №№ 6006394, 4081876, 5046213, 5335389, 5392483, 5446940, 4894880 и в Международной публикации № WO 99/23910, содержание которых включено сюда путем ссылки.
Множество приводных механизмов может использоваться в зубных щетках предпочтительных вариантов, описанных здесь. Как отмечено, приводные механизмы, которые обеспечивают на выходе вращение, или возвратно-поступательное перемещение, или угловые колебания (вибрацию) с электрическим приводом, являются предпочтительными. Например, патенты США №№ 5617603, 5850603, 5974615, 6032313, 5504959, 5524312, 5625916, 5732432, 5070567, 5170525, 5416942, 3588936, 5867856 и 4397055, содержание которых включено в данное описание путем ссылки, описывают другой двигатель и системы вращающихся или вибрирующих ведущих валов, которые могли бы быть пригодными для использования. Кроме того, могут использоваться приводные механизмы, описанные в заявке США US Ser. № 10/027594, поданной 21 декабря 2001 г., и в заявке США US Ser. № 09/993167, поданной 6 ноября 2001 г., которые, обе, включены в данное описание путем ссылки. В дополнение к этому любые или все аспекты патентов США №№ 5617601 и 5435032, которые, оба, путем ссылки включены в данное описание, могут использоваться в зубных щетках, описанных здесь.
Предпочтительный механизм для осуществления перемещения пульсирующего типа, или обращаясь к фиг.1, перемещения в плоскости Y, показан на фиг.7A-7D. Этот механизм преобразует вращательное перемещение, например, на выходе электрического двигателя, в возвратно-поступательное линейное или по существу линейное перемещение в направлении, перпендикулярном плоскости головки зубной щетки. На фиг.7A и 7B показан частичный вид зубной щетки F предпочтительного варианта выполнения. На этих чертежах показан держатель 660 щетины и второй держатель 670 щетины, расположенные вдоль головки 650, вблизи шейки 640. Внутри шейки 640 продолжается часть приводного механизма, содержащая вращающийся вал 602. Понятно, что вал 602 имеет привод или является ведущим валом электрического двигателя (не показан), расположенного в корпусе или в ручке зубной щетки. Приводной механизм также содержит деталь 606 кривошипа, которая смещена от продольной оси вала 602. Вал 602 установлен с возможностью вращения на дистальном конце зубной щетки F, на опоре 604.
Как будет понятно, любой из первого или второго держателей 660 и 670 щетины, или они оба, могут приводиться в перемещение с помощью механизма, показанного на фиг.7A-7D. Однако для целей настоящего обсуждения эти чертежи показывают только первый держатель 660 щетины, приводимый в движение. Вдоль основания или нижней стороны держателя 660 щетины предусмотрена пластина 610. Пластина 610 соединена с частью 606 кривошипа соединительным элементом 608. На фиг.7A этот механизм показан в одном из положений, в котором первый держатель 660 щетины направляется наружу и в общем от головки 650, а на фиг.7B показано другое положение, в котором держатель 660 щетины направляется к головке 650 или частично втягивается в нее. На фиг.7C и 7D даны виды в поперечном сечении, детализирующие механизм и его положения относительно держателя 660 щетины. Фиг.7C представляет собой вид головки 650 в поперечном сечении по линии 7C-7C на фиг.7A. Фиг.7C показывает ориентацию части 606 кривошипа и основания 610, когда первый держатель 660 щетины продолжается наружу из головки 650 зубной щетки F. Фиг.7D также представляет собой вид в поперечном сечении, однако по линии 7D-7D на фиг.7B. На фиг.7D показана ориентация части 606 кривошипа и основания 610, когда держатель 660 щетины направляется к головке 650. Может быть желательным создание направляющего элемента 648, который продолжается вдоль пластины 610, для создания канала, в котором пластина 610 и держатель щетины 660 могут совершать возвратно-поступательное перемещение, при вращении вала 602.
Другой предпочтительный механизм для осуществления перемещения одного или нескольких держателей щетины, описанный по предварительной заявке США US Ser. № 60/361625, поданной 4 марта 2002 г., включен в данное описание путем ссылки. Этот механизм сообщает держателю щетины перемещение «из стороны в сторону». Обращаясь к фиг.1, такое перемещение заставляет любой или оба держателя 60 и 70 щетины совершать возвратно-поступательное перемещение в плоскости головки зубной щетки, например, в плоскости X, или в плоскости, параллельной ей, и в направлении, в общем перпендикулярном продольной оси зубной щетки.
Конкретно, примерный приводной механизм для осуществления перемещения «из стороны в сторону» является следующим. На фиг.8A и 8B показана зубная щетка G предпочтительного варианта. Первый держатель 760 щетины установлен с возможностью перемещения в пазах 702 в держателе 750 щетины и ему сообщается возвратно-поступательное или поперечное перемещение в пазах 702 с помощью кулачка 755, содержащегося на ведущем валу 745. Кулачок 755 может содержать прилив соответствующей формы, размещенный поверх него или отлитый и жестко прикрепленный к валу 745. Например, прилив имеет форму эксцентричного кулачка. Альтернативно, профиль кулачка может использовать один или несколько изгибов прямолинейных, криволинейных или других типов. Первый следящий элемент 734 и второй следящий элемент 736 продолжаются, каждый, от нижней поверхности первого держателя 760 щетины. Эти следящие элементы могут быть, например, смещены от продольной оси L первого держателя щетины и охватывать или захватывать кулачок 755. Когда двигатель (не показан) вращает вал 745 в соответствии со стрелкой C, кулачок 755 вступает в контакт с поверхностью 744 первого следящего элемента 734, приводит его в движение и поэтому отводит первый держатель 760 щетины от первой стороны 751 и по направлению ко второй стороне 753 держателя 750 щетины, вдоль поперечной оси 782 первого держателя 760 щетины. Когда вал 745 продолжает вращаться, кулачок 755 отъединяется от первого следящего элемента 734. Затем кулачок 755 вступает в контакт с поверхностью 746 второго следящего элемента 736, приводит в движение второй следящий элемент 736 и вместе с ним первый держатель 760 щетины по направлению к первой стороне 751 и отводит его от второй стороны 753 держателя 750 щетины. Между первым и вторым держателями 760, 770 щетины предусмотрено свободное пространство 765, чтобы обеспечить возможность такого перемещения. Когда перемещение вперед-назад или «из стороны в сторону» повторяется (когда вал 745 продолжает вращаться), осуществляется качающееся перемещение, которое обеспечивает улучшенное очищающее воздействие на зубы в направлении стрелки B на фиг.8B.
Обращаясь к фиг.9A и 9B, в другой версии зубной щетки G, упомянутой здесь как зубная щетка H, второй держатель 870 щетины установлен с возможностью перемещения в пазах 802, в держателе 850 щетины, и отдельно приводится в возвратно-поступательное или поперечное перемещение в пазах 802 с помощью кулачка 806, содержащегося на ведущем валу 808. Кулачок 806 может содержать прилив соответствующей формы, расположенный поверх или отлитый и жестко прикрепленный к валу 808, как в вышеописанном варианте зубной щетки G. Первый 810 и второй 812 следящие элементы отходят от нижней поверхности второго держателя 870 щетины. Следящие элементы могут быть, например, смещены от продольной оси L второго держателя 870 щетины и могут охватывать или захватывать кулачок 806. Когда двигатель (не показан) вращает вал 808, кулачок 806 вступает в контакт с поверхностью 814 первого следящего элемента 810 и отводит его и вместе с ним второй держатель щетины 870 от первой стороны 820 и по направлению ко второй стороне 826 вдоль оси, перпендикулярной продольной оси L. Когда вал 808 продолжает вращаться, кулачок 806 отъединяется от первого следящего элемента 810. Затем кулачок 806 вступает в контакт с поверхностью 816 второго следящего элемента 812 и направляет второй толкатель 812 и вместе с ним второй держатель 870 щетины по направлению к первой стороне 820, отводя их от второй стороны 826 части 850 держателя щетины. Когда это перемещение вперед-назад или из стороны в сторону повторяется (когда вал 808 продолжает вращаться), создается желаемое качающееся перемещение в направлении стрелки B.
Как отмечалось ранее, первый держатель щетины может совершать перемещение, продолжающееся в трех направлениях. Конкретно, это перемещение показано на фиг.3D, 4A и 6A. Второй держатель щетины также может совершать трехмерное перемещение, показанное на фиг.2I, 3H, 4E, 5G и 6E. Некоторые из разнообразных механизмов, описанных здесь, могут модифицироваться для сообщения такого перемещения держателю щетины. Например, головка щетки, показанная на фиг.20A-20D, имеющая внутренние направляющие элементы 3054, которые образуют кулачковое отверстие 3056, может иметь обращенное вверх продолговатое отверстие, образованное в головке щетки, такое как отверстие 1554, показанное, например, на фиг.12D. Повторяющееся перемещение, совершаемое держателем щетины через эти отверстия или вдоль них, будет непланарным и трехмерным. Точный путь, желательный для держателя щетины, может быть получен путем соответствующего выбора формы и ориентации каждого из отверстий, то есть обращенного вверх отверстия, образованного вдоль наружной поверхности головки щетки, и кулачкового отверстия, образованного внутри головки щетки. Также предполагается, что другие компоненты или аспекты механизмов и зубных щеток, описанных здесь, могут объединяться для создания механизма или приводного механизма, приспособленного для сообщения трехмерного перемещения держателю щетины.
На фиг.21A-21C показана зубная щетка AD предпочтительного варианта, содержащая корпус 3110, имеющий шейку 3140 и головку 3150, которая в общем заключает в себе совершающий возвратно-поступательное перемещение ведущий вал 3124. На головке 3150 расположены первый держатель 3160 щетины, смежно концу 3152 головки 3150, и второй держатель 3170 щетины. Первый держатель 3160 щетины расположен на подвижном основании 3162, которое содержит выступающий элемент 3174, продолжающийся в полую область, образованную внутри головки 3150. Выступающий элемент 3174 содержит несколько латерально продолжающихся направляющих 3176, расположенных в кулачковом отверстии 3156, образованном в полой внутренней области головки 3150. Выступающий элемент 3174 зацеплен с дистальным концом 3126 ведущего вала 3124 с помощью соединительного узла 3180. При возвратно-поступательном перемещении вала 3124 соединительный узел 3180, выступающий элемент 3174, основание 3162 и первый держатель 3160 щетины смещаются. Путь перемещения первого держателя 3160 щетины является трехмерным.
На фиг.22A-22C показана зубная щетка AE предпочтительного варианта, содержащая корпус 3210, имеющий шейку 3240 и головку 3250 с самым дистальным концом 3252. Корпус 3210 в целом заключает в себе возвратно-поступательно перемещающийся ведущий вал 3224. На головке 3250 расположены первый держатель 3260 щетины и второй держатель 3270 щетины. Конкретно, второй держатель 3270 щетины расположен на подвижном основании 3272, которое содержит рычаг 3278, который продолжается в полую внутреннюю область корпуса 3210, шейку 3240 или головку 3250. Рычаг 3278 содержит один или более латерально продолжающихся направляющих элементов 3276, расположенных и зацепленных в одном или более кулачковых отверстиях 3256, предусмотренных в упомянутой полой внутренней области. Рычаг 3278 основания 3272 зацеплен с дистальным концом 3226 ведущего вала 3224 с помощью соединительного узла 3280, как описано выше. Предпочтительно, головка 3250 образует одно или несколько продолговатых отверстий 3215, образованных вдоль ее наружной поверхности. Части основания 3272, такие как рычаг 3278, предпочтительно продолжаются через отверстия 3215. При возвратно-поступательном перемещении вала 3224 соединительный узел 3280, рычаг 3278, основание 3272 и второй держатель 3270 щетины смещаются. Наиболее предпочтительно, перемещение второго держателя 3270 щетины управляется формой и ориентацией отверстий 3256 и 3215. Результирующее перемещение второго держателя щетины является трехмерным.
Множество различных механизмов может использоваться для обеспечения вышеописанных перемещений. Эти механизмы могут использовать вращающийся или вибрирующий вал либо совершающий линейное возвратно-поступательное перемещение вал в качестве привода. В общем различные повторяющиеся периодические перемещения обеспечиваются с помощью систем из шарнирных элементов и соединительных узлов, которые имеют определенные заданные степени свободы. В соответствии с этим вращательное или возвратно-поступательное перемещение вала с электрическим приводом может преобразоваться в линейное, в основном линейное, криволинейное или трехмерное перемещение путем конкретного выбора и конфигурирования компонентов, образующих приводной механизм. Кроме того, направляющие каналы могут быть предусмотрены вдоль головки или области корпуса зубной щетки вблизи держателя (держателей) щетины или внутри них для облегчения или направления перемещения держателя (держателей) щетины.
Кроме того, понятно, что любой из механизмов или приводных механизмов, описанных или показанных здесь, могут быть объединены с любым из других механизмов или приводных механизмов, описанных здесь. И также части любого из этих механизмов могут быть объединены с частями любого другого механизма, описанного здесь. Предполагается также, что зубная щетка, как она здесь описана, может использовать два из описанных здесь приводных механизмов так, чтобы каждый приводной механизм служил приводом для конкретного держателя щетины. В соответствии с этим могут также использоваться два электрических двигателя, по одному для каждого приводного механизма.
Настоящее изобретение описано со ссылками на конкретные варианты выполнения. При чтении и понимании настоящего описания у кого-то возникнут модификации и изменения. Например, хотя определенные кулачки описаны как содержащие изгибы на ведущем валу, а другие кулачки описаны как содержащие бусинки соответствующей формы, закрепленные на ведущем валу, кулачки не ограничены предложенной формой. В самом деле, изгибы могут быть заменены бусинками, а бусинки могут быть заменены изгибами, и могут использоваться другие формы, размеры и конфигурации. Кроме того, предполагается, что любые из особенностей или признаков любой из зубных щеток A-AE могут объединяться или использоваться в сочетании с любыми из других особенностей или признаков любой из зубных щеток A-AE. Предполагается, что все такие модификации и изменения охвачены изобретением, поскольку они входят в объем прилагаемой формулы изобретения или ее эквивалентов.
Формула изобретения
1. Зубная щетка с электрическим приводом, содержащая ручку на одном конце зубной щетки, имеющей расположенный в ней двигатель, головку на другом конце зубной щетки, причем головка имеет продольную ось и имеет первый держатель щетины с множеством пучков щетины, причем двигатель оперативно соединен с первым держателем щетины для перемещения первого держателя щетины вдоль первой оси и двигатель соединен с первым держателем щетины для перемещения первого держателя щетины вокруг второй оси.
2. Зубная щетка по п.1, в которой перемещение первого держателя щетины вдоль первой оси и вокруг второй оси является одновременным.
3. Зубная щетка по любому предшествующему пункту, в которой перемещение первого держателя щетины является непланарным.
4. Зубная щетка по любому предшествующему пункту, в которой перемещение первого держателя щетины является, по существу, параллельным продольной оси.
5. Зубная щетка по любому предшествующему пункту, в которой перемещение первого держателя щетины является, по существу, поперечным продольной оси.
6. Зубная щетка по любому предшествующему пункту, дополнительно содержащая второй держатель щетины.
7. Зубная щетка по п.6, в которой второй держатель щетины оперативно соединен с двигателем.
8. Зубная щетка по любому предшествующему пункту, в которой первая ось и вторая ось непараллельны друг другу.
9. Зубная щетка по любому предшествующему пункту, в которой первый держатель щетины перемещается дугообразно.
10. Зубная щетка по любому предшествующему пункту, дополнительно содержащая вращающийся или вибрирующий вал.
11. Зубная щетка по любому из пп.1-10, в которой первый держатель щетины периодически поворачивается вокруг первой оси.
12. Зубная щетка по любому из пп.1-10, в которой первый держатель щетины периодически вибрирует вокруг второй оси.
РИСУНКИ
|
|