|
|
(21), (22) Заявка: 2005129213/14, 19.09.2005
(24) Дата начала отсчета срока действия патента:
19.09.2005
(46) Опубликовано: 10.06.2007
(56) Список документов, цитированных в отчете о поиске:
RU 2002116308 А, 20.03.2004. SU 1063398 A1, 30.12.1983. SU 1367956 A1, 23.01.1988. МОВШОВИЧ И.А. “Оперативная ортопедия” – 2-е изд., перераб. и доп. – М.: Медицина, 1994, с.235-237. BONNAIRE F. “Prosthetic care of proximal femur fractures” Unfallchirurg. 2005 May; 108(5):387-399 (Abstract).
Адрес для переписки:
690001, г.Владивосток, ул. Пушкинская, 37, ДВГТУ, Патентный отдел, М.И. Звонареву
|
(72) Автор(ы):
Кузьмин Игорь Иванович (RU), Кузьмин Олег Иванович (RU)
(73) Патентообладатель(и):
Кузьмин Игорь Иванович (RU), Кузьмин Олег Иванович (RU)
|
(54) СПОСОБ РЕКОНСТРУКЦИИ ПРОКСИМАЛЬНОГО ОТДЕЛА БЕДРЕННОЙ КОСТИ
(57) Реферат:
Изобретение относится к медицине, а именно к травматологии и ортопедии, и предназначено для реконструкции проксимального отдела бедренной кости. Вводят в бедренный канал эндопротез с заполнением зазора между поверхностью бедренного канала и эндопротеза спонгиозной крошкой, и/или гидроксиапатитом, и/или кортикальными трансплантатами. После зачистки бедренного канала в дистальной его части фиксируют опорную пробку из твердеющего материала или спонгиозной крошки, и/или гидроксиапатита, и/или кортикальных трансплантатов. На поверхности опорной пробки фиксируют опорную шайбу из твердого инертного материала. Полость бедренного канала заполняют спонгиозной крошкой, и/или гидроксиапатитом, и/или кортикальными трансплантатами. Вводят в бедренный канал дистальный конец бедренного компонента эндопротеза до упирания его торца в опорную шайбу. На реконструируемом участке бедренной кости размещают жесткий трубчатый каркас с перфорированными стенками, выполненный из твердого инертного материала. Трубчатый каркас жестко скрепляют с верхним участком имеющегося фрагмента бедренной кости. Зазор между поверхностью трубчатого каркаса и эндопротеза заполняют спонгиозной крошкой, и/или гидроксиапатитом, и/или кортикальными трансплантатами. Фиксируют сверху в трубчатом каркасе материал из спонгиозной крошки, и/или гидроксиапатита, и/или кортикальных трансплантатов посредством шайбы из твердого инертного материала. Шайбу из твердого инертного материала закрепляют костным цементом. Используют разъемный трубчатый каркас. Способ обеспечивает полноценное восстановление опорной способности конечности, исключение возможности разрушения бедренной кости при установке эндопротеза, повышение надежности конструкции, исключение возможности прямой передачи механических усилий от эндопротеза на истонченные стенки бедренного канала, повышение полноты заполнения зазора бедренного канала костным материалом, повышение скорости регенерации отсутствующего фрагмента кости. 2 з.п. ф-лы, 1 ил.
Изобретение относится к области медицины, в частности к ортопедии, и может быть использовано при ликвидации дефектов и/или разрушений проксимального отдела бедренной кости.
Известны различные способы реконструкции проксимального отдела бедренной кости в виде межвертельных и подвертельных остеотомий, пространственного изменения положения шейки и головки и фиксации заданного положения металлическими конструкциями (И.И.Мирзоева. М.Н.Гончарова. Е.С.Тихоненков. Оперативное лечение врожденного вывиха бедра у детей. Л.: Медицина, 1976), но они длительны по времени выполнения, сложны по расчету иссекаемых клиньев.
Известен способ реконструкции проксимального отдела бедренной кости, описанный в монографии А.А.Коржа и соавт. Диспластический коксартроз. М, 1986, с. 66-79. Способ заключается в поперечной остеотомии бедренной кости в межвертельной области, отсечении от проксимального или дистального конца опила углообразного фрагмента с углом, открытым кнутри, и соединении кости с одновременным уменьшением угла антеторсии. Фиксируют заданное положение углообразной пластинкой.
Однако и этот способ не лишен недостатков: методика предусматривает выполнение двух остеотомий, неизбежно наступает хромота из-за укорочения нижней конечности, обусловленного уменьшением шеечно-диафизарного угла и ослаблением пельвиотрохантерной группы мышц из-за сближения точек их прикрепления к большому вертелу и костям таза.
Наиболее близким по своей технической сущности к заявляемому является способ реконструкции проксимального отдела бедренной кости, включающий введение в бедренный канал эндопротеза с заполнением костным материалом, зазора между поверхностью канала и эндопротеза (см. заявку №2002116308, А61В 17/56 от 17.06.2002). При этом как костный материал используют костный трансплантант, который формируют из медиальной части резецированного проксимального отдела бедренной кости и вводят его в бедренный канал с медиальной стороны бедренной кости после введения в него ножки эндопротеза на глубину, не достигающую на 3-4 см установочной глубины посадки, и после введения в него костного материала с усилием досылают эндопротез до заданной глубины, а затем устанавливают на поверхность бедренной кости в месте расположения костного трансплантата кольцевидного фиксатора.
Однако описанный способ не может быть использован при ревизионном эндопротезировании, когда бедренный канал подвергался нескольким зачисткам и кортикальный слой истончен, поскольку в этих условиях надежная фиксация эндопротеза не реальна и существует вероятность разрушения истонченного кортикального слоя ножкой эндопротеза при его установке (одностороннее размещение костного трансплантата ведет к сосредоточенному нагружению стенок канала – точечного или по линии контакта трансплантата со стенкой канала). Кроме того, скорость регенерации костной ткани мала. Кроме того, не обеспечивается полноценное восстановление опорной способности конечности при реконструкции проксимального отдела бедренной кости, когда отсутствует его фрагмент большой длины.
Задача, на решение которой направлено заявленное решение, заключается в обеспечении полноценного восстановления опорной способности конечности при реконструкции проксимального отдела бедренной кости (при ревизионном эндопротезировании и/или отсутствии протяженного фрагмента проксимального отдела бедренной кости).
Технический результат, достигаемый при решении поставленной задачи, выражается в исключении возможности разрушения бедренной кости при установке эндопротеза. Кроме того, повышается надежность конструкции эндопротез-бедренная кость за счет обеспечения совместности их работы вследствие жесткого сцепления друг с другом при исключении возможности прямой передачи механических усилий от эндопротеза (более прочного элемента конструкции) на истонченные стенки бедренного канала (более слабого элемента конструкции). Повышается полнота заполнения зазора бедренного канала, за счет чего повышается скорость регенерации поперечного сечения кости, в том числе ее реконструируемого фрагмента.
Поставленная задача решается тем, что способ реконструкции проксимального отдела бедренной кости, включающий введение в бедренный канал эндопротеза с заполнением зазора между поверхностью бедренного канала и эндопротеза спонгиозной крошкой, и/или гидроксиапатитом, и/или кортикальными трансплантатами, отличается тем, что после зачистки бедренного канала в дистальной его части фиксируют опорную пробку из твердеющего материала или спонгиозной крошки, и/или гидроксиапатита, и/или кортикальных трансплантатов, на поверхности опорной пробки фиксируют опорную шайбу из твердого инертного материала, полость бедренного канала заполняют спонгиозной крошкой, и/или гидроксиапатитом, и/или кортикальными трансплантатами, вводят в бедренный канал дистальный конец бедренного компонента эндопротеза до упирания его торца в опорную шайбу, на реконструируемом участке бедренной кости размещают жесткий трубчатый каркас с перфорированными стенками, выполненный из твердого инертного материала, трубчатый каркас жестко скрепляют с верхним участком имеющегося фрагмента бедренной кости, зазор между поверхностью трубчатого каркаса и эндопротеза заполняют спонгиозной крошкой, и/или гидроксиапатитом, и/или кортикальными трансплантатами, фиксируют сверху в трубчатом каркасе материал из спонгиозной крошки, и/или гидроксиапатита, и/или кортикальных трансплантатов посредством шайбы из твердого инертного материала. Кроме того, шайбу из твердого инертного материала закрепляют костным цементом. Кроме того, используют разъемный трубчатый каркас.
Сопоставительный анализ признаков заявленного решения с признаками прототипа и аналогов свидетельствует о соответствии заявленного решения критерию “новизна”.
Признаки отличительной части формулы изобретения обеспечивают решение комплекса функциональных задач:
Признаки “после зачистки бедренного канала, в его дистальной части фиксируют опорную пробку из твердеющего или костного материала” обеспечивают возможность передачи продольных (вдоль конечности) нагрузок на часть бедренной кости, сохраняющую свою несущую способность.
Признаки “полость канала заполняют спонгиозной крошкой, и/или гидроксиапатитом, и/или кортикальными трансплантатами и фиксируют в нем дистальный конец бедренного компонента эндопротеза” обеспечивают ускоренную регенерацию бедренной кости на участке, примыкающем к бедренному каналу, а также обеспечивают плотную фиксацию ножки эндопротеза, расклиниваемого костным материалом.
Признаки “на реконструируемом участке бедренной кости размещают жесткий трубчатый каркас, выполненный из твердого инертного материала, который жестко скрепляют с верхним участком имеющегося фрагмента бедренной кости”, а также наличие “шайбы из твердого инертного материала, перекрывающей зазор между поверхностью трубчатого каркаса и эндопротеза”, обеспечивают удержание костного трансплантанта в пределах реконструируемого объема бедренной кости (исключают попадание крошек костного материала в организм до завершения стадии регенерации костной ткани). При этом трубчатый каркас работает как дополнительный несущий элемент, окружающий протез, как футляр, и воспринимающий основной объем нагрузок на конечность. Кроме того, плотное поджатие трубчатого каркаса к поверхности скрепляемого с ней участка имеющегося фрагмента бедренной кости обеспечивает восприятие распирающих ее изнутри усилий, возникающих при внедрении ножки эндопротеза в бедренный канал, заполненный костным трансплантатом.
Признаки “зазор между поверхностью трубчатого каркаса и эндопротеза заполняют спонгиозной крошкой, и/или гидроксиапатитом, и/или кортикальными трансплантатами”, обеспечивают регенерацию костной ткани реконструируемого участка кости.
Признаки “на поверхности опорной пробки фиксируют опорную шайбу” повышают износостойкость и прочность пломбы.
Признаки “используют трубчатый каркас с перфорированными стенками” позволяют прорастать регенерирующейся костной ткани через каркас и не мешают свободному обмену веществ в этой зоне.
Признаки второго пункта формулы изобретения раскрывают возможный вариант фиксации шайбы из твердого инертного материала.
Признаки третьего пункта формулы упрощают процедуру накладывания трубчатого каркаса и позволяют обеспечить максимально плотное его прилегание к поверхности кости.
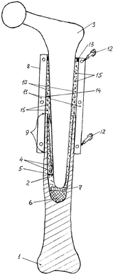
На чертеже показан продольный разрез по оси бедренной кости.
На чертеже показаны имеющийся фрагмент бедренной кости 1 с бедренным каналом 2, бедренный эндопротез 3, спонтиозная крошка, и/или гидроксиапатит, и/или кортикальные трансплантаты 4, зазор 5 между поверхностями бедренного канала 2 и эндопротеза 3, опорная пробка 6 из твердеющего или костного материала, опорная шайба 7 из твердого инертного материала (титановых сплавов, циркония и т.п.), трубчатый каркас 8, полость которого выгнута таким образом, чтобы ее очертания в нижней части каркаса были подобны очертаниям верхнего участка 9 имеющегося фрагмента бедренной кости, с которым трубчатый каркас 8 скрепляется. Трубчатый каркас выполнен из двух желобов 10, снабженных продольными фланцами 11 с отверстиями для болтов 12. Кроме того, показаны шайба 13, зазор 14 между поверхностью трубчатого каркаса 8 и эндопротеза 3 и перфорация 15 в стенках трубчатого каркаса 8.
Бедренный эндопротез 3 конструктивно не отличается от известных, кроме длины и поперечных размеров, которые определяются конкретными условиями, в том числе и размерами утраченного фрагмента проксимального отдела бедренной кости. Размеры перфорации 15 в стенках трубчатого каркаса 8 должны быть меньше минимальных размеров частиц костного трансплантата.
Заявленный способ осуществляется в следующем порядке.
Подготовка к операции эндопротезирования, процедура обработки операционной зоны, используемые методики вскрытия сустава, удаления имеющегося эндопротеза, подготовки нового эндопротеза и зачистки бедренного канала выполняются известным образом с соблюдением известных правил и ограничений.
После зачистки бедренного канала 2 в его дистальной части формируют опорную пробку 6 (если ее изготавливают из твердеющего материала, например костного цемента, то после ввода материала на заданную глубину в ее поверхность замоноличивают опорную шайбу 7, если ставят костную пробку, то объем твердеющего материала, вводимого на дно канала, существенно уменьшается, т.к. он должен обеспечить только закрепление пробки в канале и возможность закрепления на верхней поверхности пробки 6 опорной шайбы 7).
Размеры трубчатого каркаса 8 (длину и площадь сечения бедренной кости) определяют заранее, например, с помощью рентгена. При этом учитывают необходимость восстановления костной ткани на участке, где реконструируют фрагмент бедренной кости и “нахлеста” (порядка 2-3 см) трубчатого каркаса 8 на верхний участок 9 имеющегося фрагмента бедренной кости. Далее полость бедренного канала 3 заполняют спонгиозной крошкой, и/или гидроксиапатитом, и/или кортикальными трансплантатами 4, после чего с усилием вводят в него дистальный конец бедренного компонента эндопротеза до упирания его торца в опорную шайбу 7 (если шайба 13 выполнена неразъемной, то перед установкой дистального конца бедренного компонента эндопротеза ее надевают на него).
Далее закрепляют трубчатый каркас 8 на верхнем участке 9 имеющегося фрагмента бедренной кости (заводят под него один из желобов 10, накладывают сверху второй желоб 10, пропускают через отверстия фланцев 11 болты 12, затягивая на которых гайки (на чертежах не показаны), обеспечивают жесткую фиксацию каркаса.
Для повышения качества сцепления каркаса с костью участок, где на нее накладывается каркас, промазывают костным цементом.
Затем объем зазора 14 между эндопротезом 3 и трубчатым каркасом 8 заполняют спонтиозной крошкой, и/или гидроксиапатитом, и/или кортикальными трансплантатами. Далее костный материал в трубчатом каркасе 8 фиксируют сверху, посредством шайбы 13 закрепляя ее костным цементом и с трубчатым каркасом, и с эндопротезом (если шайба 13 выполнена неразъемной, то перед ее фиксацией ее опускают по ножке эндопротеза, а если шайба выполнена из двух половин, то их проталкивают в зазор сверху).
Далее операционную полость обрабатывают и зашивают известным образом. Послеоперационная реабилитация пациента может быть выполнена известным образом.
В результате операции обеспечиваются условия для быстрой регенерации бедренной кости на ее реконструируемом участке, при этом формирование конструкции из совместно работающих элементов (эндопротез, оставшийся фрагмент бедренной кости и жесткий трубчатый каркас, фланцы которого работают как ребра жесткости) позволяет повысить изгибную жесткость бедренной кости на реконструируемом участке и ускоренно восстановить опороспособность конечности.
Формула изобретения
1. Способ реконструкции проксимального отдела бедренной кости, включающий введение в бедренный канал эндопротеза с заполнением зазора между поверхностью бедренного канала и эндопротеза спонгиозной крошкой, и/или гидроксиапатитом, и/или кортикальными трансплантатами, отличающийся тем, что после зачистки бедренного канала в дистальной его части фиксируют опорную пробку из твердеющего материала, или спонгиозной крошки, и/или гидроксиапатита, и/или кортикальных трансплантатов, на поверхности опорной пробки фиксируют опорную шайбу из твердого инертного материала, полость бедренного канала заполняют спонгиозной крошкой, и/или гидроксиапатитом, и/или кортикальными трансплантатами, вводят в бедренный канал дистальный конец бедренного компонента эндопротеза до упирания его торца в опорную шайбу, на реконструируемом участке бедренной кости размещают жесткий трубчатый каркас с перфорированными стенками, выполненный из твердого инертного материала, трубчатый каркас жестко скрепляют с верхним участком имеющегося фрагмента бедренной кости, зазор между поверхностью трубчатого каркаса и эндопротеза заполняют спонгиозной крошкой, и/или гидроксиапатитом, и/или кортикальными трансплантатами, фиксируют сверху в трубчатом каркасе материал из спонгиозной крошки, и/или гидроксиапатита, и/или кортикальных трансплантатов посредством шайбы из твердого инертного материала.
2. Способ по п.1, отличающийся тем, что шайбу из твердого инертного материала закрепляют костным цементом.
3. Способ по п.1, отличающийся тем, что используют разъемный трубчатый каркас.
РИСУНКИ
MM4A – Досрочное прекращение действия патента СССР или патента Российской Федерации на изобретение из-за неуплаты в установленный срок пошлины за поддержание патента в силе
Дата прекращения действия патента: 20.09.2007
Извещение опубликовано: 20.05.2009 БИ: 14/2009
|
|