|
|
(21), (22) Заявка: 2005111987/12, 16.03.2004
(24) Дата начала отсчета срока действия патента:
16.03.2004
(43) Дата публикации заявки: 20.01.2006
(46) Опубликовано: 10.06.2007
(56) Список документов, цитированных в отчете о поиске:
DE 1259032 A, 18.01.1968. WO 02/26097 A1, 04.04.2002. US 4091496 A, 30.05.1978. DE 3544480 A1, 19.06.1987. DE 19617128 A1, 30.10.1997. DE 1240246 A, 11.05.1967. SU 454026 A, 11.02.1975.
(85) Дата перевода заявки PCT на национальную фазу:
21.04.2005
(86) Заявка PCT:
KR 2004/000562 (16.03.2004)
(87) Публикация PCT:
WO 2005/087073 (22.09.2005)
Адрес для переписки:
129010, Москва, ул. Б.Спасская, 25, стр.3, ООО “Юридическая фирма Городисский и Партнеры”, пат.пов. С.А.Дорофееву
|
(72) Автор(ы):
ЧО Хиоунг-Дзоо (KR), ДЗЕОНГ Киеонг-Сеон (KR), РИУ Дзунг-Ван (KR)
(73) Патентообладатель(и):
ЭЛ ДЖИ ЭЛЕКТРОНИКС ИНК. (KR)
|
(54) ВСАСЫВАЮЩАЯ НАСАДКА И ГОЛОВКА ПЫЛЕСОСА С ТАКОЙ НАСАДКОЙ
(57) Реферат:
Всасывающая насадка и головка предназначены для использования в пылесосе и обеспечивают эффективное всасывание посторонних веществ как с пола без коврового покрытия, так и с ковра. Всасывающая насадка содержит всасывающее отверстие, в котором создается всасывающее усилие, воздушный канал, образованный в виде замкнутой области, имеющей заданную площадь и глубину. Воздушный канал разделен на первую область определенной ширины и длины, находящуюся впереди, и на вторую область определенной ширины и длины, находящуюся позади, и имеет выполненное в нем всасывающее отверстие. В воздушном канале расположен скребок, более длинный, чем конец края воздушного канала, и предназначенный для того, чтобы скрести волокна ковра при его чистке. В варианте выполнения всасывающая насадка имеет боковые проходы для перемещения воздуха, образованные на обоих боковых краях воздушного канала. Головка пылесоса содержит корпус с внутренним трактом, в котором создается всасывающее усилие, внутренний воздушный канал, выполненный в виде замкнутой области, имеющей заданную площадь и глубину в нижней части корпуса, которая контактирует с полом, и скребок. Воздушный канал разделен на первую область определенной ширины и длины, находящуюся впереди, и на вторую область определенной ширины и длины, находящуюся позади, и имеет выполненное в нем всасывающее отверстие внутреннего тракта. Скребок, более длинный, чем конец края внутреннего воздушного канала, расположен в первой области внутреннего воздушного канала и предназначен для того, чтобы скрести волокна ковра при его чистке. Спереди и сзади воздушного канала подвижно вставлены передняя пластина и задняя пластина, образующие внешний воздушный канал во время чистки пола. В корпусе установлено средство переключения режима, фиксирующее переднюю пластину и заднюю пластину путем их вталкивания и вытягивания. 3 н. и 14 з.п. ф-лы, 14 ил.
Область техники
Настоящее изобретение относится к пылесосу, в частности к всасывающей насадке и головке пылесоса, имеющей такую насадку, выполненной с возможностью эффективного всасывания посторонних веществ, таких как пыль, с не имеющего коврового покрытия пола, и также эффективного всасывания таких посторонних веществ, как пыль и крошки, из оснований волокон ковра при его чистке.
Уровень техники
Пылесос в основном используется для удобной уборки жилых и служебных помещений, и существуют различные виды пылесосов.
Как правило, пылесос имеет корпус, создающий всасывающее усилие и фильтрующий такие посторонние вещества, как пыль, крошки, песок или т.п.; головку пылесоса, через которую посторонние вещества всасываются вместе с воздухом всасывающим усилием, создаваемым в основном корпусе пылесоса; соединительный шланг, соединяющий друг с другом основной корпус пылесоса и головку пылесоса.
В таком пылесосе, когда всасывающее усилие создается в основном корпусе пылесоса, посторонние вещества с пола всасываются вместе с воздухом через головку пылесоса всасывающим усилием и поступают в основной корпус пылесоса. Посторонние вещества, поступившие в основной корпус пылесоса вместе с воздухом, фильтруются фильтром в основном корпусе пылесоса, скапливаются, а воздух выпускается наружу.
Согласно другому типу пылесоса пылесборный фильтр для сбора посторонних веществ можно установить в основном корпусе пылесоса или отдельно снаружи.
В этом пылесосе на эффективность всасывания таких посторонних веществ, как пыль, крошки, песок и т.п., с пола вместе с воздухом и на возникающий при этом шум влияет форма головки пылесоса. Если всасывающий тракт, сформированный между головкой пылесоса и полом, большой, то всасывающее усилие для всасывания таких посторонних веществ, как пыль, ослабляется по сравнению с всасывающим усилием, создаваемым в основном корпусе пылесоса, и поэтому эффективность втягивания посторонних веществ в него снижается. И если всасывающий тракт между головкой пылесоса и полом небольшой, то всасывающее усилие становится излишне сильным, в результате чего головка пылесоса не может перемещаться ровно и при этом шум увеличивается.
Помимо этого, форма головки пылесоса, используемой при удалении таких посторонних веществ, как пыль, крошки, песок и т.д., с ковра, и форма головки пылесоса, используемой для удаления посторонних веществ с имеющего коврового покрытия пола, отличаются друг от друга. Также имеются головки пылесоса, имеющие форму, которую можно использовать для чистки и ковра, и не имеющего коврового покрытия пола.
Фиг. 1, 2 показывают изображения в перспективе варианты осуществления обычной головки пылесоса, раскрытой в патенте США № 6421875. В этой головке пылесоса воздушный канал 12 определенной ширины сформирован на нижнем крае 11, который контактирует с полом, в продольном направлении; и всасывающее отверстие 13, через которое всасывается воздух, расположено посередине воздушного канала 12. На основании всасывающего отверстия 12 воздушный канал на левой стороне становится левым воздушным каналом, и воздушный канал на правой стороне становится правым воздушным каналом. Несколько воздушных каналов 16 соответственно сформированы через определенные интервалы между ними: в переднем нижнем крае 14, расположенном спереди воздушного канала 12, и в заднем нижнем крае 15, расположенном сзади воздушного канала 12. Щетка 17 также может быть установлена на заднем нижнем крае 15.
Когда пользователь чистит ковер, то головка пылесоса перемещается по полу и ее нижний край 11 контактирует с полом в состоянии, при котором всасывающее усилие прилагается во всасывающее отверстие 13. Наружный воздух всасывается во всасывающий тракт, сформированный воздушными каналами 12, 16, сформированными в нижнем крае 11, и полом. При этом воздух всасывается в воздушные каналы 16, сформированные на переднем и заднем нижних краях 14, 15, создавая завихрение. Воздух всасывается во всасывающий тракт вместе с посторонними веществами или т.п.
Но такая головка пылесоса не подходит для чистки ковра, т.к. головка пылесоса всасывает посторонние вещества только всасывающим усилием воздуха, в результате чего такие посторонние вещества, как пыль, крошки, песок и т.д., находящиеся между волокнами ковра, не удаляются при чистке ковра.
Фиг. 3 показывает вид снизу еще одного варианта осуществления обычной головки пылесоса, раскрываемой в патенте ЕР 0552652. В этой головке пылесоса всасывающее отверстие 21 заданной ширины и длины сформировано внизу головки, которая контактирует с полом, и передний всасывающий канал 21 и задний всасывающий канал 23 определенной ширины и длины сформированы в ее нижней части. Передний всасывающий канал 22 и задний всасывающий канал 23 сформированы прямоугольными, и боковые проходы 25, 26 соответственно сформированы на обеих стенках двух каналов 22, 23.
Всасывающие отверстия 21 сформированы посередине всасывающего канала 22 и заднего всасывающего канала 23. Щеточная полоса 26 расположена между первым всасывающим каналом 22 и задним всасывающим каналом 23. Конец щеточной полосы 26 имеет вогнуто-выпуклую форму, и его высота почти та же, что и высота нижней части головки.
Когда пользователь чистит пол или ковер, то головка пылесоса перемещается по полу и нижняя часть головки контактирует с полом в состоянии, при котором всасывающее усилие прилагается во всасывающее отверстие 21. Наружный воздух поступает в нее через всасывающие тракты, соответственно сформированные передним всасывающим каналом 22 головки пылесоса и полом, и задним всасывающим каналом 23 и полом; и при этом воздух поступает вместе с посторонними веществами. При этом наружный воздух поступает во всасывающий тракт через боковые проходы 24, 25 и щеточная полоса 26 скребет волокна ковра.
Но в этой головке пылесоса имеет место утечка давления между передним всасывающим каналом 22 и задним всасывающим каналом 23 по причине присутствия щеточной полосы 26, расположенной между передним всасывающим каналом 22 и задним всасывающим каналом 23 и имеющей вогнуто-выпуклую форму, в результате чего интенсивность потока снижается. Причем щетка не может достаточно интенсивно скрести волокна ковра до их оснований, поскольку высота щеточной полосы 26 та же, что и высота нижней части головки, и воздух всасывается сбоку, и поэтому эффективность чистки недостаточная.
Фиг. 4, 5 показывают еще один вариант осуществления обычной головки пылесоса, раскрываемой в патенте ЕР 0885586. В этой головке пылесоса всасывающий канал сформирован в нижнем крае 31, который контактирует с полом, и всасывающее отверстие 32 расположено посередине всасывающего канала. Скребущая пластина 33 из упругого материала, имеющая определенную ширину и площадь, установлена спереди нижнего края 31, щеточная планка 34 установлена в задней части скребущей пластины 33. В положении на полу конец скребущей пластины 33 выше нижнего края и конец щеточной планки 34 выше конца скребущей пластины 33. Совокупность отверстий 35 сформирована в скребущей пластине 33 с определенными интервалами между ними; и выемки 36, соответствующие положениям отверстий 35, сформированы в концевой части щеточной планки 34.
Когда пользователь чистит ковер или не имеющий коврового покрытия пол, то эта головка пылесоса перемещается по полу, и при этом нижний край 31 контактирует с полом в состоянии, при котором всасывающее усилие прилагается во всасывающее отверстие 32. Наружный воздух всасывается в нее через всасывающий тракт, сформированный всасывающим каналом и полом, и при этом воздух всасывается вместе с посторонними веществами. Причем наружный воздух всасывается в нее через обе стороны и через заднюю сторону нижнего края 31.
Скребущая пластина 33 и щеточная планка 34, расположенная перед нижним краем 31, отталкивают волокна ковра назад.
Но в этой головке пылесоса скребущая пластина 33 и щеточная планка 34 отталкивают волокна ковра назад снаружи всасывающего тракта, т.е. перед нижним краем 31, и наружный воздух всасывается через всасывающее отверстие, сформированное на обеих сторонах и в задней части нижнего края 31, в результате чего посторонние вещества не могут эффективно всасываться из оснований волокон ковра.
Согласно излагаемому выше уровню техники во время чистки ковра посторонние вещества всасываются в определенном количестве всасывающим усилием, прилагаемым к всасывающему тракту, сформированному воздушным каналом и полом; и при чистке ковра посторонние вещества не могут эффективно всасываться из оснований волокон ковра. В частности, если волокна ковра длинные, то такие посторонние вещества, как пыль, крошки, песок и т.д., не всасываются из основания волокон ковра в достаточной степени.
Помимо этого, в этих головках пылесоса всасывающий канал, через который всасываются посторонние вещества, сформирован на обеих сторонах головки, если смотреть в направлении хода чистки, в результате чего эффективность всасывания посторонних веществ недостаточная.
Сущность изобретения
Поэтому задача настоящего изобретения заключается в создании головки пылесоса, обеспечивающей возможность эффективного всасывания посторонних веществ с не имеющего коврового покрытия пола и также, во время чистки ковра, возможность эффективного всасывания посторонних веществ из оснований волокон ковра.
Еще одна задача настоящего изобретения заключается в обеспечении всасывающей насадки и головки пылесоса, имеющей эту насадку и выполненной с возможностью повышения эффективности всасывания посторонних веществ за счет формирования всасывающего тракта, по которому воздух всасывается в направлении, в котором идет чистка.
Для решения упоминаемых выше задач настоящее изобретение обеспечивает всасывающую насадку, содержащую всасывающее отверстие, в которое прилагается всасывающее усилие; воздушный канал, сформированный в виде замкнутой области определенной площади и глубины и имеющий выполненное в нем всасывающее отверстие; и скребок, более длинный, чем конец края воздушного канала, расположенный внутри воздушного канала и предназначенный для того, чтобы скрести волокна ковра во время чистки ковра.
Для решения указанной выше задачи настоящее изобретение обеспечивает также головку пылесоса, содержащую корпус с внутренним трактом, в который прилагается всасывающее усилие; внутренний воздушный канал, сформированный в виде замкнутой области определенной площади и глубины в нижней части корпуса, которая контактирует с полом, и имеющий выполненное в нем всасывающее отверстие внутреннего тракта; скребок, более длинный, чем конец края внутреннего воздушного канала, расположенный внутри воздушного канала и предназначенный для того, чтобы скрести волокна ковра во время чистки ковра; переднюю пластину и заднюю пластину, подвижно вставленные спереди и сзади внутреннего воздушного канала соответственно и формирующие внешний воздушный канал во время чистки пола; и средство переключения режима, установленное в корпусе и фиксирующее переднюю пластину и заднюю пластину, за счет их вталкивания и выталкивания.
Краткое описание чертежей
Фиг. 1, 2 – изображения в перспективе, показывающие варианты осуществления головки обычного пылесоса.
Фиг. 3 – вид снизу, показывающий еще один вариант осуществления головки обычного пылесоса.
Фиг. 4 – вид сбоку, показывающий еще один вариант осуществления головки обычного пылесоса.
Фиг. 5 – частичный вид спереди пылесоса.
Фиг. 6 – вид снизу одного варианта осуществления всасывающей насадки согласно настоящему изобретению.
Фиг. 7 – вид спереди скребка, входящего в состав всасывающей насадки в соответствии с настоящим изобретением.
Фиг. 8, 9 – виды снизу, показывающие другие варианты осуществления всасывающей насадки согласно настоящему изобретению.
Фиг. 10 – вид снизу, показывающий вариант осуществления головки пылесоса с всасывающей насадкой, выполненной согласно настоящему изобретению.
Фиг. 11, 12 – виды сбоку, соответственно показывающие рабочие состояния всасывающей насадки, выполненной в соответствии с настоящим изобретением.
Фиг. 13, 14 – виды сбоку, показывающие рабочие состояния головки пылесоса с всасывающей насадкой, выполненной согласно настоящему изобретению.
Способы осуществления предпочтительных вариантов изобретения
Ниже приводится подробное изложение предпочтительных вариантов осуществлений настоящего изобретения, примеры которого поясняются на прилагаемых чертежах.
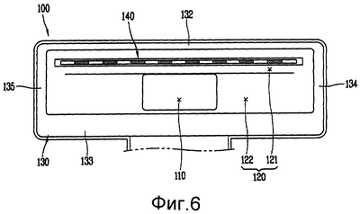
Фиг. 6 показывает вид снизу одного варианта осуществления всасывающей насадки, выполненной в соответствии с настоящим изобретением.
На этом чертеже выполненная в соответствии с настоящим изобретением всасывающая насадка содержит всасывающее отверстие 110, сформированное в нижней части корпуса 100 и имеющее заданную форму; воздушный канал 120, сформированный в виде замкнутой области заданной площади и глубины в нижней части корпуса 110 и имеющий выполненное в нем всасывающее отверстие 110; и скребок 140, более длинный, чем конец края воздушного канала, и находящийся в воздушном канале 120, и предназначенный для того, чтобы скрести волокна ковра во время чистки ковра.
Внутренний тракт (F) сформирован в корпусе, и всасывающее отверстие 110 для формирования внутреннего тракта (F) сформировано в нижней части корпуса 100. Внутренний тракт (F) корпуса 100 соединен с основным корпусом пылесоса, и в него прилагается всасывающее усилие; и нижняя часть корпуса 100 во время чистки прилегает к полу.
Воздушный канал 120 относительно короткий по ширине и является удлиненным, если на него смотреть в направлении, в котором осуществляется чистка. Воздушный канал 120 предпочтительно имеет прямоугольную форму.
Причем воздушный канал 120 разделен на первую область 121 определенной ширины и длины, находящуюся впереди, и на вторую область определенной ширины и длины, находящуюся сзади. Скребок 140 расположен в первой области, и всасывающее отверстие 110 расположено во второй области 122. Первая область 121 имеет прямоугольную форму, и ее нижняя поверхность (на чертеже) является плоскостью. Всасывающее отверстие 110 расположено посередине второй области 122, и нижняя поверхность (на чертеже) второй области 122 сформирована наклонно на основании всасывающего отверстия 110.
Как видно на фиг. 7, скребок 140 имеет часть 141 в виде четырехугольной пластины определенной ширины и площади; совокупность выемок 142 на концевой части пластинчатой части 141; и соединительную часть 143, сформированную на противоположной стороне выемок 142 и соединенную с нижней частью воздушного канала 120. Скребок 140 можно выполнить из жесткого или гибкого материала.
Скребок 140 установлен в направлении, перпендикулярном к нижней поверхности первой области 121; и скребок 143 фиксированно соединен с нижней поверхностью первой области 121. Конец скребка 140, конец части, в которой расположены выемки 142, длиннее высоты нижнего края 130, формирующего воздушный канал 120. При этом, когда корпус расположен таким образом, что воздушный канал 120 примыкает к полу, конец скребка 140 длиннее нижнего края 130, формирующего воздушный канал 120.
Выемки 142 имеют четырехугольную форму; одна их сторона открыта, и они расположены через определенные интервалы. Выемки 142 предпочтительно расположены на обоих концах скребка 140 соответственно.
В своем модифицированном виде выемки 142 могут быть выполнены через неопределенные интервалы. Выемки 142 могут также иметь треугольную форму, с одной открытой стороной.
В модифицированном виде воздушного канала 120 его первая область определенной ширины и длины сформирована впереди и вторая область определенной ширины и длины сформирована сзади. Всасывающее отверстие 110 расположено в первой области, и скребок 140 расположен во второй области. Всасывающее отверстие 110 расположено посередине первой области и выполнено наклонным на основании всасывающего отверстия 110. Нижняя поверхность (на чертеже) второй области сформирована в плоскости.
Ссылочные обозначения 132, 133, 134, 135, не поясненные выше: передний край, задний край, правый край и левый край (на чертеже), образующий край воздушного канала соответственно.
Фиг. 8 показывает еще одно осуществление всасывающей насадки согласно настоящему изобретению. Детали, являющиеся теми же, что и упоминаемые выше, имеют те же ссылочные обозначения.
Согласно этому чертежу всасывающая насадка содержит всасывающее отверстие 110, сформированное в нижней части корпуса 110 и имеющее заданную форму; воздушный канал 120, сформированный в виде замкнутой области заданной площади и глубины в нижней части корпуса 100 и имеющий выполненное в нем всасывающее отверстие 110; и два скребка 150, более длинные, чем конец края 130 воздушного канала 120, расположенные в воздушном канале 120 и предназначенные для того, чтобы скрести волокна ковра во время чистки ковра.
Воздушный канал 120 разделен на первую область 121 определенной ширины, длины и расположенную впереди, и на вторую область 122 определенной ширины и длины, расположенную сзади. Два скребка 150, 160 расположены в первой области, и всасывающее отверстие 110 расположено во второй области 122. Первая область 121 имеет четырехугольную форму, и ее нижняя поверхность (на чертеже) является плоскостью. Всасывающее отверстие 110 расположено посередине второй области 122, и нижняя поверхность (на чертеже) второй области 122 сформирована наклонной на основании всасывающего отверстия 110.
Скребки 150, 160 содержат четырехугольные пластинчатые части 151, 161 определенной ширины и площади; совокупность выемок 152, 162, сформированных на концевых частях пластинчатых частей 151, 161; и соединительные части 153, 163, сформированные на противоположной стороне выемок 152, 162 и соединенные с нижней частью воздушного канала 120.
Скребки 150, 160 расположены в направлении, перпендикулярном к нижней поверхности первой области 121, и соединительные части 153, 163 неподвижно соединены с нижней поверхностью первой области 121 соответственно. Выемки 152, 162 двух скребков 150, 160 расположены предпочтительно чередованно. Скребки 150, 160 могут быть сформированы заодно с нижней поверхностью первой области 121.
Скребки 150, 160 могут быть выполнены из жесткого или гибкого материалов.
Фиг. 9 показывает в сечении еще одно осуществление всасывающей насадки в соответствии с настоящим изобретением. Детали, аналогичные упоминаемым выше, имеют те же ссылочные обозначения.
Согласно этому чертежу всасывающая насадка содержит всасывающее отверстие 110, в которое прилагается всасывающее усилие; воздушный канал 120, сформированный в виде замкнутой области заданной площади и глубины и имеющий выполненное в нем всасывающее отверстие 110; скребок 140, более длинный, чем конец края 130 воздушного канала 120, расположенный в воздушном канале и предназначенный для того, чтобы скрести волокна ковра во время чистки ковра; и боковые проходы 131, по которым проходит воздух и которые сформированы на обеих сторонах воздушного канала 120 – если смотреть в направлении, в котором воздушный канал 120 движется во время чистки.
Компоненты всасывающей насадки, за исключением боковых проходов 131, те же, что и поясняемые выше.
Боковые проходы 131 определенной ширины и глубины сформированы на боковых краях, формирующих боковые части воздушного канала 120. То есть, боковые проходы 131 сформированы на обеих сторонах воздушного канала, если смотреть в направлении, в котором осуществляется чистка.
Фиг. 10 показывает еще одно осуществление головки пылесоса, имеющей всасывающую насадку согласно настоящему изобретению. Детали, аналогичные поясняемым выше, имеют те же ссылочные обозначения.
Как видно на фиг. 10, головка пылесоса со всасывающей насадкой согласно настоящему изобретению содержит корпус 100 с внутренним трактом (F), в который прилагается всасывающее усилие; внутренний воздушный канал 120, сформированный в виде замкнутой области заданной площади и глубины в нижней части корпуса, контактирующей с полом, и имеющий всасывающее отверстие 110 в его внутреннем тракте (F); скребок 140, более длинный, чем конец края 130 внутреннего воздушного канала 120, расположенный во внутреннем воздушном канале 120 и предназначенный для того, чтобы скрести волокна ковра во время чистки ковра; переднюю пластину 180 и заднюю пластину 190, подвижно вставленные спереди и сзади внутреннего воздушного канала 120 соответственно и формирующие внешний воздушный канал 170 во время чистки пола; и средство (не показано) переключения режима, установленное в корпусе 100 и фиксирующее переднюю пластину 180 и заднюю пластину 190 путем вталкивания и выталкивания их.
Колеса 101 определенной ширины и наружного диаметра с противоположных сторон прикреплены к одной стороне корпуса 100, и внутренний тракт (F) корпуса 100 соединен с основным корпусом пылесоса отдельным соединительным шлангом.
Внутренний воздушный канал 120, скребок 140 и всасывающее отверстие образуют всасывающую насадку, и конструкция этой всасывающей насадки та же, что и излагаемая выше.
Передняя пластина 180 и задняя пластина 190 имеют заданную толщину и площадь, и совокупность выемок 191 сформирована на конце передней пластины 180. Прорези 102 определенной ширины и длины соответственно сформированы в нижней части корпуса 100 и отделены друг от друга определенным интервалом; и прорези 102 соответственно расположены спереди переднего края и сзади заднего края, которые формируют внутренний воздушный канал 120. В прорези 102 подвижно вставлены передняя пластина 180 и задняя пластина 190 соответственно. Передняя пластина 180 и задняя пластина 190 расположены в направлении, перпендикулярном к нижней части корпуса.
Средство переключения режима является известным средством, которое обычно используется для пылесоса; и передняя пластина 180 и задняя пластина 190 перемещаются за счет действия средства переключения режима.
Когда передняя пластина 180 и задняя пластина 190 выступают из нижней части корпуса за счет действия средства переключения режима, концы передней пластины 180 и задней пластины 190 становятся выше концов скребка 140. Когда передняя пластина 180 и задняя пластина 190 двигаются в корпус за счет действия средства переключения режима, то концы передней пластины 180 и задней пластины 190 становятся ниже края 130 внутреннего воздушного канала 120, если смотреть на них снизу корпуса. При этом конец скребка 140 превышает край 130 внутреннего воздушного канала.
То есть, в положении, в котором корпус 100 примыкает к ковру или к полу для чистки пола и ковра, когда передняя пластина 180 и задняя пластина 190 выступают из нижней части корпуса 100 за счет действия средства переключения режима, то концы передней пластины 180 и задней пластины 190 контактируют с ковром или полом, тем самым образуя тракт. Также, когда передняя пластина 180 и задняя пластин 190 введены внутрь корпуса 100 за счет действия средства переключения режима, тогда конец скребка 140 контактирует с ковром или полом.
Передняя пластина 180 и задняя пластина 190 выполнены из жесткого или гибкого материала, но предпочтительно передняя пластина 180 выполнена из жесткого материала, и задняя пластина 190 выполнена из гибкого материала.
Могут быть предусмотрены два скребка 140.
Не поясняемое выше ссылочное обозначение 103 является рукояткой, составляющей средство переключения режима.
Ниже приводится описание эффекта действия всасывающей насадки и головки пылесоса, имеющей эту всасывающую насадку, выполненную согласно настоящему изобретению.
Во-первых, описывается действие всасывающей насадки.
Во время работы пылесоса всасывающее усилие прилагается во всасывающее отверстие 110 всасывающей насадки. Когда всасывающая насадка находится на ковре, в результате чего воздушный канал 120 всасывающей насадки примыкает к ковру, пользователь перемещает всасывающую насадку вперед и назад. При этом, как видно на фиг. 11, конец скребка 140 и задний край 133 воздушного канала 120 контактируют с ковром; и всасывающий тракт, по которому поступает наружный воздух, сформирован зазором между ковром и передним краем 132 воздушного канала 120 и воздушным каналом 120. Причем выемки 142, сформированные на конце скребка 140, формируют достаточные тракты, по которым входит воздух, и сопротивление течения воздуха и всасывающего усилия можно регулировать путем регулирования размеров выемок 142.
Наружный воздух вводится по всасывающему тракту всасывающим усилием, прилагаемым во всасывающее отверстие 110, и при этом воздух всасывается вместе с такими посторонними веществами, как находящаяся в ковре пыль. В этом процессе скребок 140 расположен в воздушном канале 120 и перемещается вместе с корпусом 110, отталкивая назад волокна ковра, при этом всасывая воздух во всасывающее отверстие 110 вместе с такими посторонними веществами, как пыль, находящаяся в основаниях волокон ковра.
Длина скребка 140 намного превышает передний и задний края 132, 133, образующие воздушный канал 120, тем самым в достаточной степени отталкивая назад волокна ковра, в результате чего эффективно всасываются такие посторонние вещества, как пыль, крошки, песок и т.п., находящиеся в основаниях волокон ковра. Скребок 140 установлен в воздушном канале 120 и также формирует всасывающий тракт в направлении, в котором осуществляется чистка, и поэтому посторонние вещества с ковра эффективно всасываются и удаляются.
Как видно на фиг. 12, когда скребок 140 расположен в направлении, перпендикулярном к ковру, то всасывающий тракт, открытый в любом направлении, формируется между ковром и всем краем 130, образуя воздушный канал 120 за счет присутствия скребка 140.
Наружный воздух вводится в переднем, заднем, левом и правом направлениях по всасывающему тракту всасывающим усилием, прилагаемым во всасывающее отверстие 110, и при этом воздух всасывается вместе с посторонними веществами с ковра. Причем скребок 140, расположенный в воздушном канале 120, перемещается вместе с всасывающей насадкой, т.е. с корпусом, и отталкивает назад волокна ковра, при этом всасывая воздух во всасывающее отверстие 110 вместе с посторонними веществами, находящимися в основаниях волокон.
При использовании двух скребков 140 волокна ковра отталкиваются назад более постоянно, и в результате этого скопившиеся в основаниях волокон ковра посторонние вещества эффективно удаляются.
Если боковые проходы 131 сформированы на левом и правом краях 134, 135, образуя воздушный канал 120, то, когда сопротивление всасывания воздуха становится чрезмерным во всасывающем тракте, сформированном между ковром и краем 130 воздушного канала 120, за счет присутствия скребка 140 сопротивление всасывания воздуха регулируется увеличением размера всасывающего тракта.
Далее излагается действие головки пылесоса, имеющей всасывающую насадку согласно настоящему изобретению.
Во-первых, во время чистки ковра, согласно фиг. 13, передняя пластина 180 и задняя пластина 190 входят в корпус и фиксируются действием рукоятки 103 средства переключения режима. Когда передняя пластина 180 и задняя пластина 190 находятся в корпусе, всасывающий тракт формируется скребком 140 и внутренним воздушным каналом 120, ковер чистится за счет тех же описываемых выше действий. При этом всасывающее усилие согласно направлению всасывающего тракта, сопротивление потока воздуха и прочее определяются местоположениями и размерами колес, установленных на корпусе 100, центром тяжести головки пылесоса, скребком 140, краем внутреннего воздушного канала и т.п.
При чистке плоского не имеющего коврового покрытия пола, согласно фиг. 14, передняя пластина 180 и задняя пластина 190 фиксируются действием рукоятки 103 средства переключения режима таким образом, что выступают из нижней части корпуса, и за счет выступающих наружу передней пластины 180 и задней пластины 190 формируется внешний воздушный канал 170. Когда передняя пластина 180 и задняя пластина контактируют с полом, тогда всасывающий тракт, по которому вводится наружный воздух, формируется по сторонам внешнего воздушного канала 170 и полом. Когда всасывающее усилие прилагается во всасывающее отверстие 110, то такие посторонние вещества, как находящаяся на полу пыль или т.п., всасываются с воздухом и направляются во всасывающее отверстие 110.
Головка пылесоса с всасывающей насадкой согласно настоящему изобретению может осуществлять чистку и ковра, и пола, не имеющего коврового покрытия. При чистке ковра головка пылесоса со всасывающей насадкой согласно настоящему изобретению эффективно удаляет такие посторонние вещества, как пыль или т.п., скопившиеся глубоко внутри среди волокон ковра.
В соответствии с излагаемым выше описанием всасывающая насадка и головка пылесоса, имеющая эту всасывающую насадку, могут осуществлять эффективную чистку не имеющего коврового покрытия пола; и также во время чистки ковра они в достаточной степени отталкивают назад волокна ковра к их основаниям скребком, чтобы осуществлять всасывание таких посторонних веществ, как пыль, крошки, песок или т.п. Соответственно, ковер можно чистить более эффективно; и также всасывающий тракт, по которому вводится наружный воздух, формируется в направлении, в котором осуществляется чистка, т.е. в направлении вперед, в целях эффективного втягивания и удаления посторонних веществ, и за счет этого ковер можно чистить удобным образом и быстро.
Специалистам в данной области техники будет очевидно, что в данном изобретении в рамках его идеи и диапазона можно выполнить разные изменения и варианты. Подразумевается, что настоящее изобретение включает в себя его модификации и варианты при том условии, что они входят в диапазон прилагаемой формулы изобретения и ее эквивалентов.
Формула изобретения
1. Всасывающая насадка, содержащая
всасывающее отверстие, к которому прилагается всасывающее усилие;
воздушный канал, образованный в виде замкнутой области, имеющей заданные площадь и глубину, причем воздушный канал разделен на первую область определенной ширины и длины, находящуюся впереди, и на вторую область определенных ширины и длины, находящуюся позади, и имеет выполненное в нем всасывающее отверстие, и
скребок, более длинный, чем конец края воздушного канала, расположенный в первой области воздушного канала и предназначенный для того, чтобы скрести волокна ковра при его чистке.
2. Всасывающая насадка по п.1, в которой воздушный канал имеет четырехугольную форму, малую по своей ширине и большую по своей длине, если смотреть в направлении осуществления чистки.
3. Всасывающая насадка по п.1, в которой всасывающее отверстие находится в первой области и скребок расположен во второй области.
4. Всасывающая насадка по п.1, в которой вторая область выполнена наклонной на основании всасывающего отверстия.
5. Всасывающая насадка по п.1, в которой первая область является плоскостью.
6. Всасывающая насадка по п.1, в которой скребок содержит четырехугольную пластинчатую часть, имеющую определенные толщину и площадь, множество выемок, выполненных на концевом участке пластинчатой части, и соединительную часть, образованную на противоположной стороне выемок и соединенную с нижней частью воздушного канала.
7. Всасывающая насадка по п.6, в которой выемки выполнены с определенными интервалами между ними.
8. Всасывающая насадка по п.6, в которой выемки выполнены с интервалами между ними, не являющимися определенными.
9. Всасывающая насадка по п.6, в которой выемки имеют четырехугольную форму.
10. Всасывающая насадка по п.6, в которой выемки имеют треугольную форму.
11. Всасывающая насадка по п.6, в которой выемки соответственно расположены на обоих концах пластинчатой части.
12. Всасывающая насадка по п.1, в которой имеются два скребка, выемки соответственно образованы на обеих концевых частях двух скребков, и выемки, выполненные на двух скребках, выполнены чередующимися.
13. Всасывающая насадка по п.1, в которой скребок выполнен из гибкого материала.
14. Всасывающая насадка, содержащая
всасывающее отверстие, к которому прилагается всасывающее усилие,
воздушный канал, выполненный в виде замкнутой области, имеющей заданные площадь и глубину, причем воздушный канал разделен на первую область определенных ширины и длины, находящуюся впереди, и на вторую область определенной ширины и длины, находящуюся позади, и имеет выполненное в нем всасывающее отверстие,
скребок, более длинный, чем конец края воздушного канала, находящийся в первой области воздушного канала и предназначенный для того, чтобы скрести волокна ковра при его чистке, и
боковые проходы, которые соответственно образованы на обоих боковых краях воздушного канала и через которые проходит воздух.
15. Головка пылесоса, содержащая
корпус, имеющий внутренний тракт, к которому прилагается всасывающее усилие;
внутренний воздушный канал, выполненный в виде замкнутой области, имеющей заданные площадь и глубину в нижней части корпуса, которая контактирует с полом, причем воздушный канал разделен на первую область определенных ширины и длины, находящуюся впереди, и на вторую область определенных ширины и длины, находящуюся позади, и имеет выполненное в нем всасывающее отверстие внутреннего тракта,
скребок, более длинный, чем конец края внутреннего воздушного канала, расположенный в первой области внутреннего воздушного канала и предназначенный для того, чтобы скрести волокна ковра при его чистке, и
переднюю пластину и заднюю пластину, подвижно вставленные спереди и сзади воздушного канала соответственно и образующие внешний воздушный канал во время чистки пола; и
средство переключения режима, установленное в корпусе и фиксирующее переднюю пластину и заднюю пластину путем их вталкивания и вытягивания.
16. Головка по п.15, в которой скребок содержит
четырехугольную пластинчатую часть, имеющую определенные толщину и площадь, множество выемок, выполненных на концевой части пластинчатой части, и соединительную часть, сформированную на противоположной стороне выемок и соединенную с нижней частью воздушного канала.
17. Головка по п.15, в которой на конце передней пластины сформировано множество выемок.
РИСУНКИ
|
|