|
(21), (22) Заявка: 2005130115/12, 27.09.2005
(24) Дата начала отсчета срока действия патента:
27.09.2005
(30) Конвенционный приоритет:
21.06.2005 UA 200506095
(46) Опубликовано: 10.06.2007
(56) Список документов, цитированных в отчете о поиске:
RU 2109418 C1, 27.04.1998. SU 1797758 A1, 28.02.1993. GB 2124462 A, 22.02.1984. EP 0015777 A1, 17.09.1980.
Адрес для переписки:
49010, г. Днепропетровск, ул. Акад. Лазаряна, 4, кв.26, С.Н. Кущенко
|
(72) Автор(ы):
Кущенко Сергей Николаевич (UA), Липицкий Станислав Григорьевич (UA)
(73) Патентообладатель(и):
Кущенко Сергей Николаевич (UA), Липицкий Станислав Григорьевич (UA)
|
(54) НАВЕСНОЙ ОБОРОТНЫЙ ПЛУГ
(57) Реферат:
Изобретение относится к сельскому хозяйству, в частности к навесным оборотным плугам, монтируемым на тракторах и предназначенным для гладкой пахоты различных почв под зерновые и технические культуры. Навесной оборотный плуг содержит монтируемую на тракторе поперечную навесную балку с вертикальной стойкой, оборотную раму с осью, шарнирно соединенной с навесной балкой с возможностью относительного поворота в вертикальной плоскости, левые и правые плужные корпуса, закрепленные с обеих сторон рамы, опорные колеса и устройство реверсивного поворота рамы, включающее исполнительный механизм, взаимодействующий с рамой, и привод, выполненный в виде гидроцилиндра, корпус которого шарнирно соединен с вертикальной стойкой навесной балки, а шток шарнирно соединен с исполнительным механизмом. Исполнительный механизм устройства реверсивного поворота рамы выполнен в виде цепной передачи с понижающим передаточным отношением, ведущая звездочка которой с возможностью поворота шарнирно закреплена на оси, горизонтально закрепленной на вертикальной стойке навесной балки, ведомая звездочка жестко посажена на ось поворотной рамы, а шток гидроцилиндра шарнирно соединен с ведущей звездочкой посредством цапфы, эксцентрично закрепленной на диске упомянутой ведущей звездочки. Это позволит преобразовать поступательное перемещение штока гидроцилиндра в поворотное движение рамы с помощью простой передачи вращения, что повысит эксплуатационную надежность плуга. 5 ил.
Изобретение относится к сельскому хозяйству, в частности к навесным оборотным плугам, монтируемым на тракторах и предназначенным для гладкой пахоты различных почв под зерновые и технические культуры.
Из уровня техники известен аналогичный по назначению навесной оборотный плуг, содержащий монтируемую на тракторе поперечную навесную балку с вертикальной стойкой, оборотную раму с осью, соединенную с навесной балкой с возможностью относительного поворота в вертикальной плоскости, левые и правые плужные корпуса, закрепленные с обеих сторон рамы, опорные колеса и устройство реверсивного поворота рамы, включающее исполнительный механизм, взаимодействующий с рамой, и привод, выполненный в виде двух гидроцилиндров, корпуса которых шарнирно соединены с вертикальной стойкой навесной балки, а штоки шарнирно соединены с исполнительным механизмом /GB 2124462 A, (AKTTIEBOLAGET OVERUMS BRUK, SE), 28.08.1980, аналог/.
Исполнительный механизм выполнен в виде двух пар поворотных рычагов, шарнирно закрепленных на раме и взаимодействующих с упорами, закрепленными на ней.
Недостатком такого плуга является сложность устройства реверсивного поворота рамы, обусловленная наличием двух гидроцилиндров и двух пар поворотных рычагов, сложно взаимодействующих с упорами оборотной рамы.
Из уровня техники также известен аналогичный по назначению навесной оборотный плуг, содержащий монтируемую на тракторе поперечную навесную балку с вертикальной стойкой, несущую плужные корпуса оборотную раму с осью, соединенную с навесной балкой с возможностью относительного поворота в вертикальной плоскости, и устройство реверсивного поворота рамы, включающее исполнительный механизм, взаимодействующий с рамой, и привод, выполненный в виде трех гидроцилиндров, в том числе вертикального среднего основного цилиндра и двух горизонтальных боковых дополнительных цилиндров, корпуса которых шарнирно соединены с вертикальной стойкой навесной балки, а штоки шарнирно соединены с исполнительным механизмом /ЕР 0015777 A1 (RANSOMES SIMS & JEFFERIES LIMITED, GB), 17.09.1980, аналог/.
Исполнительный механизм состоит из пары двуплечих рычагов, посаженных на ось рамы, одни концы которых соединены со штоком вертикального среднего основного цилиндра, а другие концы взаимодействуют с поворотной вилкой.
Поворотная вилка связана с парой треугольных двуплечих рычагов, плечи которых автономно соединены со штоком одного из двух горизонтальных боковых дополнительных цилиндров.
Недостатком такого плуга является сложность устройства реверсивного поворота рамы, обусловленная наличием трех гидроцилиндров и двух пар двуплечих рычагов, сложно взаимодействующих между собой посредством поворотной вилки.
Из уровня техники также известен наиболее близкий по количеству общих признаков и аналогичный по назначению навесной оборотный плуг, содержащий монтируемую на тракторе поперечную навесную балку с вертикальной стойкой, оборотную раму с осью, шарнирно соединенной с навесной балкой с возможностью относительного поворота в вертикальной плоскости, левые и правые плужные корпуса, закрепленные с обеих сторон рамы, опорные колеса и устройство реверсивного поворота рамы, включающее исполнительный механизм, взаимодействующий с рамой, и привод, выполненный в виде гидроцилиндра, корпус которого шарнирно соединен с вертикальной стойкой навесной балки, а шток шарнирно соединен с исполнительным механизмом /RU 2109418 С1, (ВСЕРОССИЙСКИЙ НАУЧНО-ИССЛЕДОВАТЕЛЬСКИЙ ИНСТИТУТ МЕХАНИЗАЦИИ СЕЛЬСКОГО ХОЗЯЙСТВА), 27.04.1998, наиболее близкий аналог-прототип/.
Исполнительный механизм устройства реверсивного поворота рамы выполнен в виде двуплечего рычага, одно плечо которого связано со штоком гидроцилиндра, а другое плечо при помощи серьги связано с кривошипом, жестко закрепленным на оси оборотной рамы.
Длина плеча двуплечего рычага, связанного с серьгой, в два раза больше, чем длина кривошипа.
Кроме того, кривошип связан с расположенным параллельно переднему брусу рамы верхним звеном, на котором установлен шарнирный узел, соединенный нижним звеном с неподвижной поперечной навесной балкой, образуя объемный параллелограммный механизм, нижнее и верхнее звенья которого расположены в разных плоскостях.
Это позволяет при рабочем ходе штока гидроцилиндра и повороте двуплечего рычага на 90° производить поворот оборотной рамы на 180°.
Недостатком такого плуга является сложность рычажной системы исполнительного механизма устройства реверсивного поворота рамы и взаимодействия его звеньев, что снижает эксплуатационную надежность его конструкции.
Вызвано это тем, что в полевых условиях между подвижными звеньями многозвенной рычажной системы исполнительного механизма устройства реверсивного поворота рамы нередко попадают посторонние предметы, которые приводят к ее заклиниванию и потере работоспособности, что снижает надежность такого навесного оборотного плуга.
Технической задачей, на решение которой направлено изобретение, является в навесном оборотном плуге путем усовершенствования звеньев исполнительного механизма устройства реверсивного поворота рамы обеспечить преобразование поступательного перемещения штока гидроцилиндра в поворотное движение рамы с помощью простой передачи вращения.
Технический результат, который достигается при использовании такого навесного оборотного плуга с усовершенствованным исполнительным механизмом устройства реверсивного поворота рамы, заключается в повышении его эксплуатационной надежности.
Поставленная техническая задача решается, а технический результат достигается тем, что в навесном оборотном плуге, содержащем монтируемую на тракторе поперечную навесную балку с вертикальной стойкой, оборотную раму с осью, шарнирно соединенной с навесной балкой с возможностью относительного поворота в вертикальной плоскости, левые и правые плужные корпуса, закрепленные с обеих сторон рамы, опорные колеса и устройство реверсивного поворота рамы, включающее исполнительный механизм, взаимодействующий с рамой, и привод, выполненный в виде гидроцилиндра, корпус которого шарнирно соединен с вертикальной стойкой навесной балки, а шток шарнирно соединен с исполнительным механизмом, согласно изобретению исполнительный механизм устройства реверсивного поворота рамы выполнен в виде цепной передачи с понижающим передаточным отношением, ведущая звездочка которой с возможностью поворота шарнирно закреплена на оси, горизонтально закрепленной на вертикальной стойке навесной балки, ведомая звездочка жестко посажена на ось поворотной рамы, а шток гидроцилиндра шарнирно соединен с ведущей звездочкой посредством цапфы, эксцентрично закрепленной на диске упомянутой ведущей звездочки.
Эта совокупность общих и основных отличительных существенных признаков, которыми характеризуется заявляемый навесной оборотный плуг, не известна из уровня техники, является новой и достаточной во всех случаях, на которые распространяется объем правовой защиты.
Причинно-следственная связь отличительных признаков при их взаимодействии с известными признаками в достижении ожидаемого технического результата, обусловленного поставленной технической задачей, заключается в следующем.
Так, выполнение исполнительного механизма устройства реверсивного поворота рамы в виде цепной передачи с понижающим передаточным отношением обеспечивает преобразование поступательного перемещения штока гидроцилиндра в поворотное движение рамы с помощью простой передачи вращения, которая не содержит сложную пространственную систему подвижных рычагов, что повышает эксплуатационную надежность плуга.
Шарнирное крепление ведущей звездочки цепной передачи с возможностью поворота на оси, горизонтально закрепленной на вертикальной стойке навесной балки, а также жесткое крепление ведомой звездочки на оси поворотной рамы обеспечивают кинематическую связь между неповоротной навесной балкой и поворотной оборотной рамой.
При этом происходит передача вращения от ведущей звездочки к ведомой звездочке с понижающим передаточным отношением.
Шарнирное соединение штока гидроцилиндра с ведущей звездочкой посредством цапфы, эксцентрично закрепленной на диске упомянутой ведущей звездочки, обеспечивает преобразование поступательного движения штока гидроцилиндра в поворотное движение оси, а следовательно, и оборотной рамы через упомянутую цапфу и цепную передачу с понижающим передаточным отношением.
Понижающее передаточное отношение обеспечивает уменьшение угла реверсивного поворота ведущей звездочки цепной передачи и хода штока гидроцилиндра, что необходимо для исключения положения мертвой точки гидроцилиндра при работе устройства реверсивного поворота рамы и надежной работы навесного оборотного плуга.
Из уровня техники заявители не выявили технические решения, совпадающие с общими и отличительными признаками заявляемого навесного оборотного плуга, что свидетельствует о том, что предлагаемое техническое решение не является частью уровня техники и соответствует критерию изобретения «новизна».
Из уровня техники заявители не выявили технические решения, совпадающие с отличительными признаками заявляемого навесного оборотного плуга, что свидетельствует о том, что предлагаемое техническое решение для специалиста не является очевидным, не следует явно из уровня техники и соответствует критерию изобретения «изобретательский уровень».
В дальнейшем изобретение поясняется подробным описанием его конструкции и работы со ссылками на прилагаемые чертежи.
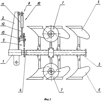
На фиг.1 изображен навесной оборотный плуг, вид сбоку.
На фиг.2 изображено устройство реверсивного поворота вала, схема, положение 0.
На фиг.3 изображено устройство реверсивного поворота вала, схема, положение I.
На фиг.4 изображено устройство реверсивного поворота вала, схема, положение II.
На фиг.5 изображен узел шарнирного соединения оси оборотной рамы с навесной балкой.
Навесной оборотный плуг содержит (фиг.1-5) монтируемую на тракторе поперечную навесную балку 1 (фиг.1) с вертикальной стойкой 2 и оборотную раму 3 с осью 4.
Ось 4 оборотной рамы 3 шарнирно соединена (фиг.5) с навесной балкой 1 с возможностью относительного поворота в вертикальной плоскости.
Плуг содержит также левые и правые плужные корпуса 5, 6, закрепленные с обеих сторон рамы 3, опорные колеса 7 и устройство 8 реверсивного поворота рамы 3.
Устройство 8 реверсивного поворота рамы 3 (фиг.2-4) включает исполнительный механизм 9, взаимодействующий с рамой 3, и привод, выполненный в виде гидроцилиндра 10, корпус 11 которого шарнирно соединен с вертикальной стойкой 2 навесной балки 1, а шток 12 шарнирно соединен с исполнительным механизмом 9.
Согласно изобретению исполнительный механизм 9 устройства 8 реверсивного поворота рамы 3 выполнен в виде цепной передачи 13 с понижающим передаточным отношением (i12=1,67).
Цепная передача 13 включает цепь 14, ведущую звездочку 15 и ведомую звездочку 16.
Ведущая звездочка 15 (Z1=25) с возможностью поворота шарнирно закреплена на оси 17, горизонтально закрепленной на вертикальной стойке 2 навесной балки 1.
Ведомая звездочка 16 (Z2=15) жестко посажена на ось 4 оборотной рамы 3.
Шток 12 гидроцилиндра 10 шарнирно соединен с ведущей звездочкой 15 посредством цапфы 18, эксцентрично закрепленной на диске упомянутой ведущей звездочки 15.
Для поворота оси 4, рамы 3 и ведомой звездочки 16 на требуемые 180°, то есть на 0,5Z2, потребуется поворот ведущей звездочки 15 на угол .
Из пропорции 0.5Z2: Z1= : 360° определяем искомый угол =0,5×15: 25×360=108°.
Таким образом, цапфа 18 для соединения со штоком 12 гидроцилиндра 10 может быть закреплена на диске ведущей звездочки 15 таким образом, чтобы центральный угол =108° был разделен горизонтальной плоскостью Х-Х, проходящей через ось 17 ведущей звездочки 15, пополам.
В этом случае нейтральное (нерабочее, транспортное) положение оборотной рамы 3 (фиг.2) обеспечивается тогда, когда шток 12 гидроцилиндра 10 совместит ось 17 ведущей звездочки 15 с упомянутой горизонтальной плоскостью Х-Х (положение 0).
Для ограничения поворота на раме 3 и вертикальной стойке 2 могут быть закреплены взаимодействующие между собой упоры (на чертежах не показаны).
Приведенный заявителями пример варианта исполнения цепной передачи 13 (i12=1,67; Z1=25; Z2=15) не является обязательным и может быть изменен в зависимости от условий технологической подготовки производства и изготовления, а также конкретных условий эксплуатации навесного оборотного плуга.
Навесной оборотный плуг работает следующим образом.
В исходном положении (фиг.2) плуг находится в транспортном положении (положение 0).
В этом положении шток 12 гидроцилиндра 10 совмещает ось 17 ведущей звездочки 15 с горизонтальной осью Х-Х, левые и правые плужные корпуса 5, 6 находятся симметрично слева и справа от рамы 3 в приподнятом положении, а опорные колеса 7 располагаются горизонтально.
Для установки навесного оборотного плуга в рабочее положение (фиг.3, 4) производят втягивание или выталкивание штока 12 гидроцилиндра 10 (положения I, II).
За счет этого происходит поворот оси 17 и ведущей звездочки 15 против (положение I) или по часовой (положение II) стрелке на угол ±0,5 =±54°, что при упомянутом понижающем передаточном отношении (i12=1,67) приводит к повороту оси 4 оборотной рамы 3 на необходимые 90° против или по часовой стрелке.
При этом левые (фиг.3) или правые (фиг.4) плужные корпуса 5, 6 устанавливаются в рабочее положение, рама опускается, а опорные колеса 7 располагаются вертикально и опираются на почву.
Процесс поочередного перевода левых и правых плужных корпусов 5, 6 в рабочее положение в конце каждого гона повторяется.
По окончании работ навесной оборотный плуг переводится в транспортное положение (положение 0).
Предлагаемый навесной оборотный плуг соответствует критерию изобретения «промышленная применимость», так как может быть неоднократно изготовлен в условиях промышленного производства с использованием стандартного оборудования, современных материалов и технологии на любом предприятии сельскохозяйственного машиностроения.
Перечень обозначений
1. Навесная балка
2. Вертикальная стойка
3. Рама
4. Ось
5. Левые плужные корпуса
6. Правые плужные корпуса
7. Опорные колеса
8. Устройство реверсивного поворота рамы 3
9. Исполнительный механизм устройства 8 реверсивного поворота рамы 3
10. Гидроцилиндр устройства 8 реверсивного поворота рамы 3
11. Корпус гидроцилиндра 10
12. Шток гидроцилиндра 10
13. Цепная передача
14. Цепь
15. Ведущая звездочка
16. Ведомая звездочка
17. Ось ведущей звездочки 15
18. Цапфа ведущей звездочки 15
Формула изобретения
Навесной оборотный плуг, содержащий монтируемую на тракторе поперечную навесную балку с вертикальной стойкой, оборотную раму с осью, шарнирно соединенной с навесной балкой с возможностью относительного поворота в вертикальной плоскости, левые и правые плужные корпуса, закрепленные с обеих сторон рамы, опорные колеса и устройство реверсивного поворота рамы, включающее исполнительный механизм, взаимодействующий с рамой, и привод, выполненный в виде гидроцилиндра, корпус которого шарнирно соединен с вертикальной стойкой навесной балки, а шток шарнирно соединен с исполнительным механизмом, отличающийся тем, что исполнительный механизм устройства реверсивного поворота рамы выполнен в виде цепной передачи с понижающим передаточным отношением, ведущая звездочка которой с возможностью поворота шарнирно закреплена на оси, горизонтально закрепленной на вертикальной стойке навесной балки, ведомая звездочка жестко посажена на ось поворотной рамы, а шток гидроцилиндра шарнирно соединен с ведущей звездочкой посредством цапфы, эксцентрично закрепленной на диске упомянутой ведущей звездочки.
РИСУНКИ
MM4A – Досрочное прекращение действия патента СССР или патента Российской Федерации на изобретение из-за неуплаты в установленный срок пошлины за поддержание патента в силе
Дата прекращения действия патента: 28.09.2007
Извещение опубликовано: 20.05.2009 БИ: 14/2009
|