|
|
(21), (22) Заявка: 2005117111/06, 26.05.2005
(24) Дата начала отсчета срока действия патента:
26.05.2005
(43) Дата публикации заявки: 20.12.2006
(46) Опубликовано: 27.05.2007
(56) Список документов, цитированных в отчете о поиске:
SU 1713399 A1, 15.02.1994. SU 191275 A, 14.01.1967. RU 2063098 C1, 27.06.1996. GB 2097469 A, 03.11.1982. US 4081710 A, 28.03.1978. US 4910428 A, 20.03.1990.
Адрес для переписки:
450075, г.Уфа, а/я 18, М.З. Галимовой
|
(72) Автор(ы):
Распопов Евгений Викторович (RU), Краснов Александр Владимирович (RU), Мурысев Андрей Николаевич (RU)
(73) Патентообладатель(и):
Распопов Евгений Викторович (RU)
|
(54) СВЕЧА ЗАЖИГАНИЯ ПОВЕРХНОСТНОГО РАЗРЯДА ДЛЯ ЕМКОСТНОЙ СИСТЕМЫ ЗАЖИГАНИЯ
(57) Реферат:
Предложенное изобретение относится к авиационному двигателестроению, в частности к устройствам, предназначенным для розжига камер сгорания газотурбинных двигателей. Свеча зажигания поверхностного разряда для низковольтной емкостной системы зажигания включает искрообразующий изолятор, центральный электрод с контактом, корпус, торцевая часть которого образует боковой электрод, дополнительный изолятор и контакт между боковым электродом корпуса и торцевой поверхностью искрообразующего изолятора. Искрообразующий изолятор выполнен из высокоглиноземистой керамики, содержащей Al2O3 (оксид алюминия) >94,0%, SiO2 (диоксид кремния) – 4,3%, СаО (оксид кальция) – 1,63% и установлен в корпусе. Центральный электрод с контактом размещен во внутреннем канале искрообразующего изолятора. Боковой и центральный электроды образуют по торцевой поверхности искрообразующего изолятора кольцевой искровой зазор. Дополнительный изолятор размещен в кольцевом зазоре между искрообразующим изолятором и корпусом со стороны, противоположной рабочему торцу свечи с искровым зазором. По меньшей мере, один из контактов электродов выполнен из сплава повышенной термостойкости, в состав которого входит 80% серебра, палладия – остальное. Поверхностный слой искрообразующего изолятора в зоне искрового зазора и сопряжения с контактами электродов содержит Al2SiO5, Ag, CuO, Mn3O4, CuMn2O4, CuAl2O. Изобретение позволяет повысить ресурс и термостойкость свечей зажигания. 1 ил.
Изобретение относится к авиадвигателестроению, в частности к устройствам, предназначенным для розжига камер сгорания газотурбинных двигателей, и может быть использовано в системах зажигания жидкостных ракетных двигателей. Свечи работают от низковольтной пусковой катушки и являются элементом низковольтной системы зажигания.
Частично указанных недостатков лишена свеча зажигания, принятая за прототип [Патент №1713399, А1, МПК Н01Т 13/00, 1994], включающая искрообразующий изолятор, центральный электрод, размещенный во внутреннем канале искрообразующего изолятора, корпус, в котором установлен искрообразующий изолятор, торцевую часть корпуса, образующую с центральным электродом по торцевой поверхности искрообразующего изолятора кольцевой зазор, дополнительный изолятор, размещенный в кольцевом зазоре между искрообразующим изолятором и корпусом со стороны, противоположной рабочему торцу свечи с искровым зазором.
Такая свеча обеспечивает высокие ресурсы при работе с емкостными агрегатами зажигания, однако их термостойкость ограничена температурами не более 600°С, и с повышением температуры в зонах их рабочего торца ресурс таких свечей значительно уменьшается.
Недостатки свечей, принятых за аналоги и прототип, связаны с особенностями протекания рабочих процессов в них. Низкие пробивные напряжения на этих свечах обеспечивают так называемые «тренировки» [В.А.Балагуров. Аппараты зажигания. М.: Машиностроение, 1968], осуществляемые за счет напыления на поверхность искрообразующего изолятора в искровом кольцевом зазоре материала контактов электродов (или по крайней мере одного из контактов) в течение времени работы системы зажигания до подачи пускового топлива в искровой зазор свечи. Напыление на поверхности искрового зазора материала обеспечивает наличие полупроводящих свойств поверхностного слоя искрообразующего изолятора.
После подачи топлива в искровой зазор на поверхности искрообразующего изолятора между контактами происходит выжигание напыленного в процессе «тренировки» материала за счет искровых емкостных разрядов, следующих друг за другом.
Повышенная температура в зоне искрового зазора таких свечей приводит к дополнительному окислению напыленных в процессе тренировки на поверхность искрового зазора электроэрозионных частичек материалов контактов, что приводит к потере этой поверхностью полупроводящих свойств.
Тренировка и выжигание повторяются в процессе каждого запуска авиационного двигателя, обеспечивая низкий уровень напряжения пробоя свечи, соответствующий напряжению емкостного агрегата зажигания. Однако при повышении температуры в зоне рабочего торца длительно выше 600-700°С процесс окисления контактов электродов и напыленных на поверхность искрового зазора продуктов электрической эрозии контактов, как показали испытания, приводит к ускорению снятия так называемой «тренировки» и повышению пробивного напряжения свечей выше развиваемого агрегатами напряжения.
Задачей, решаемой заявляемым изобретением, является повышение термостойкости и ресурса эрозионных свечей зажигания.
Поставленная задача решается свечей зажигания поверхностного разряда для низковольтной емкостной системы зажигания, включающей искрообразующий изолятор, центральный электрод, размещенный во внутреннем канале искрообразующего изолятора, корпус, в котором установлен искрообразующий изолятор, торцевую часть корпуса, образующую с центральным электродом по торцевой поверхности искрообразующего изолятора кольцевой зазор, дополнительный изолятор, размещенный в кольцевом зазоре между искрообразующим изолятором и корпусом со стороны, противоположной рабочему торцу свечи с искровым зазором.
Новым, согласно заявляемому изобретению, является то, что центральный электрод содержит контакт, торцевая часть корпуса образует боковой электрод, искрообразующий изолятор выполнен из высокоглиноземистой керамики, содержащей AL2О3 (оксид алюминия) – 94,07 %, SiO2 (оксид кремния) – 4,3%, СаО (оксид кальция) – 1,63%, а между боковым электродом корпуса и торцевой поверхностью искрообразующего изолятора расположен контакт, при этом, по крайней мере, один из контактов выполнен из сплава повышенной термостойкости, в состав которого входит 80% серебра и палладия – остальное, а поверхностный слой искрообразующего изолятора в зоне искрового зазора и сопряжения с контактами электродов содержит AL2SiO5, Ag, CuO, Mn3O4, CuMn2O4, CuAl2O.
Выполнение контактов электродов из сплава повышенной термостойкости, содержащего серебро – 80% и палладий – остальное, обеспечивает, с одной стороны, уменьшение электроэрозии контактов при работе с емкостными агрегатами зажигания, с другой стороны, оптимальную напыляемость продуктов электроэрозии контактов на поверхности искрообразующего изолятора в искровом зазоре свечи – «тренируемость» в течение времени работы системы зажигания до подачи пускового топлива на свечу. При этом поверхностный слой искрообразующего изолятора в искровом зазоре для лучшего закрепления продуктов электроэрозии контактов электродов содержит AL2SiO, Ag, CuO, Mn3O4, CuMn2O4, CuAl2О3.
Сочетание материала контакта электродов (или одного из электродов) и фазового состава поверхностного слоя высокоглиноземистого керамического искрообразующего изолятора, повышает ресурс и термостойкость эрозионной свечи зажигания.
Проведенные испытания показали повышение термостойкости свечей до 800°С длительно и 900°С кратковременно и увеличение ресурса свечи более чем в 2-3 раза в зависимости от уровня воздействующих температур.
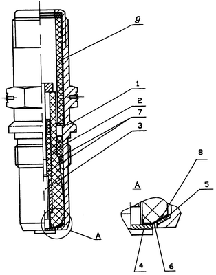
На фиг.1 приведена заявляемая свеча зажигания. Свеча содержит корпус 1, размещенный в нем искрообразующий изолятор 2, в канале которого размещен центральный электрод 3, имеющий контакт 4, образующий с контактом 5 корпуса 1 искровой зазор 6 на рабочем торце свечи, герметик 7 для закрепления центрального электрода 3 в канале искрообразующего изолятора 2 и искрообразующего изолятора 2 в корпусе 1, при этом по крайней мере один из контактов (бокового электрода или центрального электрода 3) выполняют из сплава, содержащего 80% серебра, палладия – остальное, а торцевая часть 8 искрообразующего изолятора 2 имеет фазовый состав: AL2SiO, Ag, CuO, Mn3О4, CuMn2O4, CuAl2О3. В свече имеется дополнительный изолятор 9 для обеспечения электропрочного соединения с высоковольтным проводом.
Свеча работает следующим образом. По команде из системы управления запуска двигателя на агрегат зажигания подается напряжение от системы электроснабжения летательного аппарата. Агрегат зажигания генерирует разрядные импульсы выходного напряжения, которое превышает пробивное напряжение свечи зажигания.
Через определенное время, так называемое «время тренировки», по команде от системы управления запуском двигателя, открывается клапан пускового топлива, и топливовоздушная смесь поступает на рабочий торец свечи в искровой зазор 6. За время «тренировки» на поверхности искрообразующего изолятора 2 в искровом зазоре 6 напыляются продукты электрической эрозии, по крайней мере одного контакта, выполненного из материала, содержащего 80% серебра и палладий – остальное. Электроэрозионные частицы контакта закрепляются на поверхности искрообразующего изолятора 2 в искровом зазоре 6. Созданный во время «тренировки» поверхностный слой в искровом зазоре, обладающий полупроводниковыми свойствами, обеспечивает пробивное напряжение искрового зазора в момент подачи топлива на рабочий торец свечи менее развиваемого агрегатом выходного напряжения.
Таким образом, использование настоящего изобретения позволяет увеличить термостойкость свечей более чем на (200-400)°С, ресурс в 2-3 раза по сравнению с свечами аналогами и прототипом.
Формула изобретения
Свеча зажигания поверхностного разряда для низковольтной емкостной системы зажигания, включающая искрообразующий изолятор, центральный электрод, размещенный во внутреннем канале искрообразующего изолятора, корпус, в котором установлен искрообразующий изолятор, торцевую часть корпуса, образующую с центральным электродом по торцевой поверхности искрообразующего изолятора кольцевой искровой зазор, дополнительный изолятор, размещенный в кольцевом зазоре между искрообразующим изолятором и корпусом со стороны, противоположной рабочему торцу свечи с искровым зазором, отличающаяся тем, что центральный электрод содержит контакт, торцевая часть корпуса образует боковой электрод, искрообразующий изолятор выполнен из высокоглиноземистой керамики, содержащей Al2O3 (оксид алюминия) – 94,07%, SiO2 (диоксид кремния) – 4,3%, СаО (оксид кальция) – 1,63%, а между боковым электродом корпуса и торцевой поверхностью искрообразующего изолятора расположен контакт, при этом, по крайней мере, один из контактов выполнен из сплава повышенной термостойкости, в состав которого входит 80% серебра и палладия – остальное, а поверхностный слой искрообразующего изолятора в зоне искрового зазора и сопряжения с контактами электродов содержит Al2SiO5, Ag, CuO, Mn3O4, CuMn2O4, CuAl2O.
РИСУНКИ
PC4A – Регистрация договора об уступке патента СССР или патента Российской Федерации на изобретение
Прежний патентообладатель:
Распопов Евгений Викторович
(73) Патентообладатель:
Федеральное государственное унитарное предприятие “Уфимское научно-производственное предприятие “Молния”
Договор № РД0031066 зарегистрирован 11.01.2008
Извещение опубликовано: 27.02.2008 БИ: 06/2008
|
|