|
|
(21), (22) Заявка: 2006100991/06, 10.01.2006
(24) Дата начала отсчета срока действия патента:
10.01.2006
(46) Опубликовано: 27.05.2007
(56) Список документов, цитированных в отчете о поиске:
SU 1020169 А, 30.05.1983. SU 1812418 А, 30.04.1993. RU 2073186 C1, 10.02.1997. SU 132642 A, 19.10.1960. GB 1387189 A, 12.03.1975.
Адрес для переписки:
614007, г.Пермь, ул. Н. Островского, 60, оф.302, Ассоциация энергетиков Западного Урала
|
(72) Автор(ы):
Рыбин Александр Аркадьевич (RU), Закиров Данир Галимзянович (RU), Черемных Михаил Афанасьевич (RU), Сенкевич Виктор Адамович (RU), Полежаев Андрей Викторович (RU)
(73) Патентообладатель(и):
Ассоциация энергетиков Западного Урала (АЭЗУ) (RU)
|
(54) УСТРОЙСТВО ДЛЯ ОЧИСТКИ ВНУТРЕННИХ СТЕНОК ТРУБ ТЕПЛООБМЕННИКОВ КОЖУХОТРУБНОГО ТИПА ОТ ОТЛОЖЕНИЙ
(57) Реферат:
Изобретение относится к технике очистки внутренней поверхности труб, преимущественно теплообменников кожухотрубного типа, и может быть использовано в химической, энергетической, металлургической, горной и других отраслях промышленности. В основу изобретения поставлена задача создания устройства для очистки внутренней поверхности трубы, преимущественно теплообменника кожухотрубного типа, позволяющего производить эффективную очистку труб, характеризующегося простым конструктивным исполнением. Поставленная задача решается тем, что в устройстве для очистки внутренних стенок труб теплообменников шарошка установлена соосно по оси трубы теплообменника, с противоположных сторон к ней прикреплены тросы, соединенные с реверсивной лебедкой и электронным блоком для управления, при этом тросы протянуты через направляющие ролики, обеспечивающие соосность движению шарошки. 1 ил.
Изобретение относится к технике очистки внутренней поверхности труб, преимущественно теплообменников кожухотрубного типа, и может быть использовано в химической, энергетической, металлургической, горной и других отраслях промышленности.
Загрязнение поверхности теплообмена в процессе работы теплообменных устройств является серьезным препятствием в их эксплуатации, так как приводит к снижению коэффициентов теплопередачи и нарушению регламента технологического процесса. Существенную трудность представляет очистка от образовавшихся отложений внутренних стенок труб.
Одним из перспективных для очистки внутренней поверхности труб, позволяющих производить процесс очистки на “ходу”, является ультразвуковой способ. Однако для его осуществления требуются сложные дорогие ультразвуковые генераторы, при этом они предотвращают образование отложений, но не удаляют отложения, накопившиеся со временем [1].
Для удаления загрязнений с внутренней поверхности труб теплообменных аппаратов применяют добавки различных химических реагентов (кислот, щелочей, хлора и др.) [2]. Однако применение химических реагентов создает опасность повреждения теплопередающих поверхностей. Добавка к воде химических реагентов обуславливает к тому же в дальнейшем необходимость их удаления из сбрасываемых стоков.
Известны устройства, предназначенные для гидравлической очистки, которые удаляют накипь со стенок теплообменников струей воды, подаваемой под высоким давлением [3].
К недостаткам таких устройств можно отнести повышенный расход энергоресурсов и опасность, связанную с использованием высокого давления, а также высокие капитальные затраты, в том числе требуемые на очистку рабочей жидкости после вымывания отложений, образовавшихся на внутренних стенках труб.
Известны также устройства, предназначенные для очистки внутренних стенок механическими методами очистки. Наиболее широко распространены устройства для очистки, имеющие очистной элемент, выполненный в виде различных режущих наконечников, головок, ершей и шарошек. Для вращения инструмента используют различные приводные механизмы [4]. Использование данных устройств несмотря на простую конструкцию не обеспечивают требуемого качества очистки для теплообменников кожухотрубного типа, кроме того велика вероятность повреждения самих стенок теплообменника.
Для очистки внутренних стенок кожухотрубчатых аппаратов применяют, например, шары из пористой резины, которые закрепляют на штанге. Так известна установка “Трубоочиститель-2000” австрийской фирмы “Редлер”, представляющая собой бормашину, вращающуюся с помощью пневмодвигателя. Поступательное движение штанги осуществляется гидросистемой.
Существенный недостаток этой установки -высокая цена и сложность эксплуатации.
Недостатком при использовании известных устройств, предназначенных для очистки механическим способом, является частичное повреждение рабочих поверхностей теплообменников аппаратов, что ускоряет процесс коррозии и вызывает поломку устройств.
Наиболее близким техническим решением предлагаемому изобретению является устройство для очистки труб теплообменника, разработанное на Селищанском сахарном заводе [5]. В основе конструкции – движущийся озвратно-поступательно вертикальный шест с закрепленной на нижнем конце шарошкой или банником (проволочной щеткой). Шест зажимается между двумя вращающимися резиновыми роликами с желобчатыми ободками.
Однако это устройство отличается сложной конструкцией и эксплуатацией и его применение может вызвать повреждение внутренних стенок трубы, что повлечет за собой выход теплообменника из рабочего состояния.
В основу предлагаемого изобретения поставлена задача создания устройства для очистки внутренней поверхности трубы теплообменника, преимущественно теплообменника кожухотрубного типа, позволяющего производить эффективную очистку труб, характеризующего простым конструктивным исполнением.
Поставленная задача, с достижением указанного выше технического результата, решается тем, что в устройстве для очистки внутренних стенок труб теплообменников кожухотрубного типа от отложений, посредством шарошки, согласно изобретению шарошка установлена соосно по оси трубы теплообменника, с противоположных сторон к которой прикреплены тросы, соединенные с реверсивной лебедкой и электронным блоком для управления, при этом тросы протянуты через направляющие ролики, обеспечивающие соосность движению шарошки.
Технический результат, достигаемый при использовании заявляемого устройства, заключается в повышении эффективности и качества очистки внутренних поверхностей труб теплообменника, за счет того, что при осуществлении движения очистного инструмента соосно по оси трубы исключается деформация труб. Устройство при этом просто в конструктивном исполнении.
В патентной и научно-технической литературе неизвестны технические решения, содержащие признаки, аналогичные заявляемым, следовательно, предложение соответствует критерию “новизна”. Также впервые на основе разработанного устройства определены пути качественной очистки внутренних труб кожухотрубного теплообменника без деформации труб при простом конструктивном исполнении, доступном при использовании в различных условиях эксплуатации, т.е. заявленное техническое решение соответствует критерию “изобретательский уровень”.
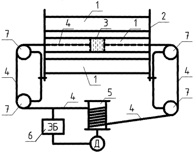
На чертеже изображена схема устройства для очистки внутренних стенок труб теплообменников кожухотрубного типа от отложений.
Устройство для очистки внутренних стенок труб 1 кожухотрубного теплообменника 2 состоит из шарошки 3, с двух сторон к которой прикреплены тросы 4. Тросы 4 соединены с реверсивной лебедкой 5, а лебедка 5 – с электронным блоком 6. Тросы 4 пропущены через направляющие блоки 7.
Устройство работает следующим образом.
При снятых крышках теплообменника 2 через трубу 1 протягивают трос 4 один конец которого крепится к шарошке 3. Затем один конец второго троса 4, крепится к шарошке 3 с другой стороны. После чего система приводится в исходное рабочее состояние. Далее включается в работу тихоходная лебедка 5 и электронный блок управления 6 следит за положением шарошки 3 и дает команду на реверс при достижение шарошки 3 конца трубы 1. При необходимости через некоторое время для очистки трубы 1 теплообменника 2 от пыли посредством сопла в трубу 1 подается вода.
После очистки одной из труб 1 приступают к следующей, для чего направляющие блоки 7 перемещают для обеспечения соосности трубы и тянущего троса.
Направляющие блоки 7 имеют возможность перемещаться по трубам 1 для обеспечения соосности трубы 1 и тянущего троса 4. Лебедка 5 установлена на салазках для свободного перемещения в любом направлении.
Источники информации:
3. Трубоочиститель 2000. Чтобы ваши теплообменники служили дольше. Проспект фирмы “Ксавер Ф.Рэдлер” Австрия экспорт.
5. Мартынов Н.В. и др. Состояние и пути улучшения механизации ремонта оборудования на НПЗ. Научно-техн.сб. “Эксплуатация, модернизация и ремонт оборудования”. – М.: ЦНИТЭнефтехим, 1974, № 9, с.3-5 (прототип).
Формула изобретения
Устройство для очистки внутренних стенок труб теплообменников кожухотрубного типа от отложений посредством шарошки, отличающееся тем, что шарошка установлена соосно по оси трубы теплообменника, с противоположных сторон к которой прикреплены тросы, соединенные с реверсивной лебедкой и электронным блоком для управления, при этом тросы протянуты через направляющие ролики, обеспечивающие соосность движению шарошки.
РИСУНКИ
|
|