|
|
(21), (22) Заявка: 2006100954/06, 17.01.2006
(24) Дата начала отсчета срока действия патента:
17.01.2006
(43) Дата публикации заявки: 27.11.2006
(46) Опубликовано: 27.05.2007
(56) Список документов, цитированных в отчете о поиске:
RU 2190162 C1, 27.09.2002. RU 2144627 C1, 20.01.2000. RU 2257514 C1, 27.07.2005. RU 2156412 C1, 20.09.2000. WO 98/14737 A, 09.04.1998.
Адрес для переписки:
103735, Москва, ул.Ильинка, 5/2, ООО “СОЮЗПАТЕНТ”, пат.пов. М.Н. Стручкову
|
(72) Автор(ы):
Курносов Николай Ефимович (RU), Пичугин Валерий Михайлович (RU), Иноземцев Дмитрий Сергеевич (RU), Крехов Дмитрий Геннадьевич (RU)
(73) Патентообладатель(и):
Курносов Николай Ефимович (RU), Пичугин Валерий Михайлович (RU), Иноземцев Дмитрий Сергеевич (RU), Крехов Дмитрий Геннадьевич (RU)
|
(54) МНОГОКОНТУРНЫЙ КАВИТАЦИОННЫЙ ТЕРМОГЕНЕРАТОР
(57) Реферат:
Заявляемый многоконтурный кавитационный термогенератор относится к устройствам для получения тепла, образующегося за счет трения жидкости о стенки каналов и поверхностей устройства, относительно которых она течет, но также за счет образования и последующего разрушения кавитирующих пузырьков. Термогенератор может быть использован в системах водяного отопления, горячего водоснабжения и для других целей, где требуется нагретая жидкость. Задачей технического решения является повышение интенсивности процесса кавитации, являющейся основным фактором повышения теплоотдачи термогенератора. Другой задачей является локализация и удаление кавитирующей зоны от элементов конструкции с целью снижения вредного влияния (эрозии) элементов конструкции термогенератора при сохранении высокой скорости движения потока жидкости без существенного усложнения конструкции термогенератора. Термогенератор содержит циклон с входным и выходным отверстиями, выходное сопло, стаканообразный корпус, стенка которого образована витками из трубки, навитой плотно в виде пружины растяжения с жестким соединением соседних витков между собой с входными и выходными патрубками на опорных витках, причем сопло и корпус присоединены каждый своей открытой полостью жестко и герметично к одной из соответствующих оппозитных сторон циклона соосно друг другу, тормозной элемент, бак с жидкой средой (теплоносителем), в которую погружен термогенератор с выходным отверстием циклона, направленным тангенциально и наклонно, соответствующим углу наклона витков трубки в камеру корпуса. В донной части корпуса по его оси выполнено сквозное отверстие, а тормозной элемент выполнен в виде кольцевого торцевого выступа на части выходного сопла, соединенной с циклоном, и образованного за счет разности диаметров камеры корпуса и входного отверстия сопла, причем на внутренние поверхности термогенератора, контактирующие с потоками жидкой среды, нанесено покрытие из группы гидрофобные полимеры. 3 з.п. ф-лы, 1 ил.
Предлагаемое изобретение относится к устройствам для получения тепла, образующегося иначе, чем в результате сгорания, а именно за счет трения и закручивания потока жидкости в трубе с последующим образованием кавитирующих пузырьков и их схлопывания (разрушения). Предлагаемый термогенератор может быть использован в системах водяного отопления, горячего водоснабжения и для других целей, где требуется нагретая жидкость.
Известны статические аппараты, в которых наблюдается явление кавитации, когда жидкость натекает на неподвижный элемент (см. патент RU № 2144627 С1, МПК 7 F15D 1/02, F24J 3/00 от 10.08.1998 г.). Устройство содержит трубу, торцевую крышку на входном отверстии – ускоритель потока, цилиндрическую камеру – разделитель потока, камеру-рубашку, приемник потока, кавитационную вставку – сопло, помещенную в конфузорную камеру, выполненную в виде кольцевого канала и камеру глушителя.
Недостатком устройства является наличие в нем значительного количества непрямолинейных каналов, проходя через которые жидкость теряет скорость и кинетическую энергию, являющуюся основным поставщиком тепловой энергии. В этом случае интенсификация процесса кавитации в потоке жидкости уже не является определяющим фактором для получения избыточной тепловой энергии. Уменьшение скорости жидкости, протекающей через устройство, также является нежелательным, так как в этом случае замедляется оборот ее в замкнутом цикле через нагрузку (потребителя тепловой энергии) и насос. Известна другая статическая многоконтурная термогенерирующая установка (см. патент RU № 2190162 С1, МПК 7 F24D 3/02 от 03.05.2001 г.), содержащая циклон с входным и выходным отверстиями, корпус (трубу), стенка которой образована витками из трубки, навитой плотно в виде пружины растяжения с жестким соединением соседних витков между собой с входным и выходным патрубками на опорных (конечных) витках, тормозной элемент, бак (обойму) с жидкой средой, в которую погружен термогенератор. Выходное отверстие циклона, направленное вовнутрь полого корпуса (трубы) тангенциально и наклонно, соответствует углу наклона витков трубки, образующих стенку корпуса (трубы).
Недостаток установки заключается в низкой интенсивности кавитации, создаваемой в ней.
Последняя термогенерирующая установка является наиболее близкой к заявляемому объекту по своей технической сущности и выполняемой функции.
Задачей предлагаемого изобретения является повышение энергонасыщенности потока жидкой среды, протекающей через термогенератор, за счет более интенсивной обработки его путем создания стабильных кавитационных зон без принципиального усложнения конструкции термогенератора при одновременном сохранении кинетической энергии потока жидкости через термогенератор.
Поставленная задача решается тем, что в известном многоконтурном кавитационном термогенераторе, содержащем циклон с входным и выходным отверстиями, выходное сопло, стаканообразный корпус, стенка которого образована витками из трубки, навитой плотно в виде пружины растяжения с жестким соединением соседних витков между собой с входным и выходным патрубками на опорных витках, сопло и корпус присоединены каждый своей открытой полостью жестко и герметично к одной из соответствующих оппозитных сторон циклона соосно друг другу, тормозной элемент, бак с жидкой средой (теплоносителем), в которую погружен термогенератор с выходным отверстием циклона, направленным тангенциально и наклонно, соответствующим углу наклона витков трубки в камеру корпуса, в донной части корпуса по его оси выполнено сквозное отверстие, а тормозной элемент выполнен в виде кольцевого торцевого выступа на части выходного сопла, соединенной с циклоном, и образованного за счет разности диаметров камеры корпуса и входного отверстия сопла, причем на внутренние поверхности термогенератора, контактирующие с потоками жидкой среды, нанесено покрытие из группы гидрофобные полимеры.
Камера корпуса выполнена цилиндрической.
Камера корпуса выполнена в виде усеченного конуса, обращенного меньшим основанием конуса к циклону.
Отверстие в донной части корпуса выполнено в форме усеченного конуса и обращено большим основанием конуса наружу.
Технический результат заключается в генерировании избыточной энергии в форме теплоты за счет более высоких скорости и интенсивности кавитации потоков жидкости, протекающих через термогенератор.
Выполнение сквозного отверстия в центре дна камеры корпуса термогенератора по форме в виде усеченного конуса, обращенного большим основанием конуса наружу к жидкой среде в баке-накопителе, позволило создать прямолинейный осевой поток жидкости за счет сообщения ему (отверстию) эжекционного свойства. Приобретение этого свойства стало возможным из-за падения давления в центре закрученного потока жидкости внутри камеры корпуса на его донной части, образования водоворота вокруг отверстия.
Наличие встречных потоков в цилиндрической камере (осевого, приосевого потоков, направленных к входному отверстию сопла, и закрученного по спирали, двигающегося в направлении к дну корпуса) способствуют более эффективной организации движения потоков жидкой среды с различными по величине градиентами давления, образуя кавитационную зону в виде поверхности усеченного конуса, обращенной большим основанием к выходу из камеры.
Прямолинейность кавитационной зоны, ее удаление от цилиндрической стенки камеры предотвращают разрушительное воздействие на нее кавитации.
Выполнение тормозного элемента в виде кольцевого выступа на части выходного сопла, присоединенной к циклону и образованной за счет разности диаметров цилиндрической камеры и входного отверстия сопла, способствует усилению кавитационного эффекта при сохранении прямолинейности и скорости потока жидкости.
Нанесение покрытия из группы гидрофобные полимеры на внутренние поверхности термогенератора, контактирующие с потоками жидкой среды, существенно увеличивает скорость потока и интенсивность кавитации.
Выполнение камеры корпуса цилиндрической в технологическом и функциональном отношениях является наиболее предпочтительным.
Выполнение камеры корпуса в форме усеченного конуса усложняет ее изготовление, но повышает при этом функциональную способность термогенератора.
Выполнение отверстия в донной части корпуса в форме усеченного конуса, обращенного большим основанием конуса наружу, позволило активизировать эжекцию осевого потока жидкости, поступающего в камеру корпуса.
Предлагаемый термогенератор прямоточен, обладает малой массой, компактен. Прямоточность термогенератора позволила повысить эффективность его работы за счет сохранения высокой скорости движения жидкости в его камере, а наличие отверстия в торцевой стенке камеры корпуса позволило создать кавитирующую зону в приосевых потоках и снизить негативное влияние кавитационной эрозии на элементы конструкции термогенератора.
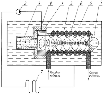
На приведенном схематическом чертеже иллюстрируется в качестве примера реализация многоконтурного кавитационного термогенератора, подтверждающая возможность промышленного применения его при использовании всей совокупности признаков.
Многоконтурный кавитационный термогенератор выполнен на основе вихревой трубы и содержит циклон 1, полость которого через входное отверстие соединена с нагнетательным патрубком центробежного насоса 2, а выходной канал циклона 1, выполненный, например, по спирали Архимеда, примыкает по касательной под углом, соответствующим углу наклона витков трубки, образующих стаканообразный корпус 3 с камерой в его внутренней полости, закрытой дном с одной стороны и открытой с другой через выходное сопло 4. Стенка стакана 3, как уже изложено выше, образована витками из трубки, навитой плотно в виде пружины растяжения с жестким соединением соседних витков между собой с входным и выходным патрубками на опорных витках. При этом стенка корпуса из витков может быть выполнена как цилиндрической, так и конической, например в форме усеченного конуса, обращенного меньшим основанием к циклону 1. Корпус 3 и сопло 4 каждый своей открытой полостью жестко, герметично и соосно друг другу присоединены к циклону 1 для образования единой полости с одной геометрической осью. В донной стенке корпуса 3 выполнено сквозное осевое отверстие 5 по форме в виде усеченного конуса, обращенного большим основанием наружу, которое выполняет функцию эжектора вспомогательного (осевого) потока жидкости. Термогенератор помещен в бак-накопитель 6 с водой. Через выходное отверстие и нагрузку 7 полость бака 6 соединена с входом насоса 2, а также, минуя нагрузку 7, с всасывающей линией насоса 2. Рабочий объем 8 камеры корпуса 3 ограничен внутренней витковой поверхностью, его дном и кольцевым тормозным элементом 9 с левой стороны на части входного сопла 4, примыкающего к циклону 1 и образованного за счет разности диаметров камеры корпуса 3 и входного отверстия сопла 4.
На внутренние поверхности циклона 1, камеры корпуса 3 и сопла 4 нанесено покрытие из группы гидрофобные полимеры.
Термогенератор работает следующим образом. Насос 2 подает жидкость (воду) под избыточным давлением в циклон 1, где она по касательной поверхности камеры, образованной витками трубки, под углом, соответствующим углу наклона витков трубки, закручивается в спиральный поток и движется одновременно к дну камеры. Но так как поперечное сечение выходного канала больше поперечного сечения впадины между двумя соседними витками, то происходит расслоение потока, один из которых движется по спиральной канавке между витками трубки, тормозясь о ее стенку. Другая часть потока уже движется не по внутренней поверхности камеры, образованной витками трубки, а по поверхности, образованной жидкой средой, текущей по виткам. Витковая поверхность камеры обладает большей контактной площадью, поэтому при значительной кинетической энергии закрученный пристенный поток частично нагревается за счет трения о витковую стенку корпуса 3. Разделение закрученного потока из-за возникшей разности скоростей способствует образованию турбулентного потока и кавитирующих зон. Обладая большой кинетической энергией, закрученный поток образует на внутренней поверхности дна корпуса 3 водоворотную зону с пониженным давлением в центре, являющимся необходимым условием для зарождения в ней множества кавитационных пузырьков. Понижение давления в центре у отверстия 5 способствует эжекции через него вспомогательного осевого потока жидкости из бака. В зависимости от скорости потока, диаметра отверстия и его формы происходит дополнительно интенсификация процесса кавитации.
На границе взаимодействия основного и вспомогательного потоков (осевого и приосевого) (граница согласно схематическому чертежу имеет поверхность усеченного конуса), имеющих различную скорость с различными по величине градиентами давления, возникает образование и дальнейшее схлопывание кавитационных пузырьков, кинетическая энергия переходит в тепловую, что приводит к интенсивному нагреву жидкости. Наличие кольцевого тормозного элемента 9 на выходном сопле 4, соотношение его геометрических размеров позволяют стабилизировать рабочий процесс и компенсировать потерю скорости выходящего потока жидкости. Нагретая жидкость из бака 6 поступает потребителю на нагрузку 7, откуда по всасывающей линии после потери части тепловой энергии насосом 2 возвращается в циклон 1. Подогрев различных жидкостей с использованием навитой трубки, образующей стенку камеры корпуса 3, осуществляют путем подачи в полость трубки через ее входной патрубок жидкости. Проходя через нагретую стенку по навитой трубке, жидкость в результате интенсивного теплообмена нагревается и через выходной патрубок поступает потребителю.
Создание кавитирующей зоны в приосевых и пристенных встречных потоках позволило интенсифицировать кавитационный процесс за счет витковой стенки корпуса 3, сохранения высокой скорости движения жидкости вдоль его оси за счет прямоточной конструкции собственно термогенератора и тем самым повысить его теплоотдачу. Смещение кавитирующей зоны к оси позволило уменьшить вредное влияние (эрозию) кавитации на элементы термогенератора. Кроме того, предлагаемый термогенератор прост по своей конструкции, компактен, обладает малой массой и технологичен в изготовлении
Формула изобретения
1. Многоконтурный кавитационный термогенератор, содержащий циклон с входным и выходным отверстиями, выходное сопло, стаканообразный корпус, стенка которого образована витками из трубки, навитой плотно в виде пружины растяжения, с жестким соединением соседних витков между собой, с входными и выходными патрубками на опорных витках, причем сопло и корпус присоединены каждый своей открытой полостью жестко и герметично к одной из соответствующих оппозитных сторон циклона соосно друг с другом, тормозной элемент, бак с жидкой средой (теплоносителем), в которую погружен термогенератор с выходным отверстием циклона, направленным тангенциально и наклонно, соответствующим углу наклона витков трубки в камеру корпуса, отличающийся тем, что в донной части корпуса по его оси выполнено сквозное отверстие, а тормозной элемент выполнен в виде кольцевого торцевого выступа на части выходного сопла, соединенной с циклоном, и образованного за счет разности диаметров камеры корпуса и входного отверстия сопла, причем на внутренние поверхности термогенератора, контактирующие с потоками жидкой среды, нанесено покрытие из группы гидрофобных полимеров.
2. Многоконтурный кавитационный термогенератор по п.1, отличающийся тем, что камера корпуса выполнена цилиндрической.
3. Многоконтурный кавитационный термогенератор по п.1, отличающийся тем, что камера корпуса выполнена в форме усеченного конуса, обращенного меньшим основанием конуса к циклону.
4. Многоконтурный кавитационный термогенератор по п.1, отличающийся тем, что отверстие в донной части корпуса выполнено в форме усеченного конуса и обращено большим основанием конуса наружу.
РИСУНКИ
|
|