|
(21), (22) Заявка: 2004127899/03, 17.09.2004
(24) Дата начала отсчета срока действия патента:
17.09.2004
(30) Конвенционный приоритет:
19.09.2003 (пп.1-36) US 10/667,011
(43) Дата публикации заявки: 27.02.2006
(46) Опубликовано: 27.05.2007
(56) Список документов, цитированных в отчете о поиске:
RU 2168621 С2, 10.06.2001. RU 2180938 С2, 27.03.2002. RU 2179629 C1, 20.02.2002. RU 2162934 C2, 10.02.2001. RU 2146759 C1, 20.03.2000. RU 2054525 C1, 20.02.1996. RU 2171367 C2, 27.07.2001. RU 2123577 C1, 20.12.1998. RU 2183259 C2, 10.06.2002. RU 2085719 C1, 27.07.1997. SU 1771508 A3, 23.10.1992. SU 926252 A, 07.05.1982. SU 1736223 A1, 10.11.1995.
Адрес для переписки:
129010, Москва, ул. Б.Спасская, 25, стр.3, ООО “Юридическая фирма Городисский и Партнеры”, пат.пов. С.А.Дорофееву
|
(72) Автор(ы):
БЕРМАНН Лоуренс А. (US), ЭЮБ Джозеф А. (US), УОЛТОН Ян (US), ВЕНКИТАРАМАН Адинатан (US), ЧАНГ Фрэнк Ф. (US)
(73) Патентообладатель(и):
ШЛЮМБЕРГЕР ТЕКНОЛОДЖИ Б.В. (NL)
|
(54) СПОСОБ И ИНСТРУМЕНТАЛЬНАЯ КОЛОННА ДЛЯ ОБРАБОТКИ СКВАЖИН ДЛЯ УЛУЧШЕНИЯ СООБЩЕНИЯ ПЛАСТА СО СТВОЛОМ СКВАЖИНЫ (ВАРИАНТЫ)
(57) Реферат:
Изобретение относится к способам и устройствам для улучшения сообщения пласта со стволом скважины. Обеспечивает повышение эффективности улучшения сообщения текучей среды в пласте со скважиной. По первому варианту способа спускают инструментальную колонну в скважину. Приводят в действие стреляющий перфоратор, устройство для создания состояния репрессии, устройство для подачи обрабатывающей жидкости и устройство для создания локального переходного состояния депрессии. По второму варианту способа накапливают информацию по характеристикам выброса текучей среды для стволов скважин различных типов. Определяют тип ствола скважины и обрабатывающие жидкости для обработки перфорационных туннелей. Выбирают характеристики выброса текучей среды. Выбирают временную задержку между операцией перфорирования и операцией выброса текучей среды. Выбирают объем камеры низкого давления для текучей скважинной среды. По третьему варианту способа спускают инструментальную колонну. Приводят в действие секцию инструментальной колонны, содержащую корпус с размещенным в нем взрывчатым веществом. Создают отверстия в корпусе для открытия камеры для скважинных текучих сред. Приводят в действие секцию инструментальной колонны для создания переходного состояния репрессии. Инструментальная колонна по первому варианту содержит устройство для подачи обрабатывающей жидкости в туннели, устройство для создания состояния репрессии и устройство для создания локального переходного состояния депрессии. Инструментальная колонна по второму варианту содержит секцию с камерой низкого давления и взрывными устройствами, секцию для создания переходного состояния репрессии и секцию для подачи обрабатывающей текучей среды в туннели в пласте. 5 н. и 31 з.п. ф-лы, 13 ил.
(56) (продолжение):
CLASS=”b560m”SU 1570384 A1, 10.05.1996. ФРИДЛЯНДЕР Л.Я., Прострелочно-взрывная аппаратура и ее применение в скважинах, Москва, Недра, 1985, с.32-36, 119-126. ГРИГОРЯН Н.Г., Вскрытие нефтегазовых пластов стреляющими перфораторами, Москва, Недра, 1982, с.22-44, 222-232. СУЛЕЙМАНОВ А.Б. и др., Техника и технология капитального ремонта скважин, Москва, Недра, 1987, с.288-297.
Настоящее изобретение относится к способам обработки пласта и инструментальным колоннам для улучшения сообщения пласта со стволом скважины.
При заканчивании скважины одну или несколько зон пласта, прилегающих к стволу скважины, перфорируют для обеспечения протекания текучей среды из зон пласта в скважину с целью выхода на поверхность или инжекции жидкостей, подлежащих подаче в зоны пласта. В скважину может быть спущена колонна со стреляющими перфораторами, а из перфораторов произведены выстрелы для создания отверстий в обсадной колонне и продолжения перфораций в окружающий пласт.
Вследствие образования перфорационных туннелей взрывами происходит разрушение песчаных зерен пласта. Вокруг каждого перфорационного туннеля может образовываться слой «разрушенного ударом участка», имеющий меньшую проницаемость по сравнению с проницаемостью основной массы пласта, не затронутой взрывом. Кроме того, при осуществлении этого процесса могут образовываться туннели, заполненные обломками породы, смешанными с осколками, образовавшимися при взрыве перфоратора. Протяженность разрушения и количество свободных обломков в туннеле может определяться различными факторами, в том числе свойствами пласта, свойствами заряда взрывчатого вещества, режимами давления, свойствами текучей среды и т.д. Разрушенный ударом участок и свободные обломки в перфорационных туннелях могут снижать продуктивность эксплуатационных скважин или приемистость нагнетательных скважин.
Один популярный способ получения чистых перфораций заключается в перфорировании на депрессии. Перфорирование осуществляют при давлении в стволе скважины, которое меньше по сравнению в пластовым давлением. Выравнивание давления достигается перетеканием текучей среды из пласта в ствол скважины. Потоком этой текучей среды переносится некоторая часть частиц поврежденной породы. Однако перфорирование на депрессии может не быть всегда эффективным и может быть дорогостоящим и опасным в осуществлении при некоторых скважинных условиях.
Для исключения поврежденных и закупоренных перфораций другим объектом выбора может быть гидравлический разрыв пласта. Однако гидравлический разрыв пласта представляет собой относительно дорогостоящую операцию. Кроме того, для получения возможности использования низкого начального давления гидравлического разрыва пласта и лучшего зонального охвата (непременных условий качественного выполнения работ по гидравлическому разрыву пласта) требуются чистые, неповрежденные перфорации. Кислотная обработка – другой широко используемый способ устранения дефектов перфораций – неэффективна (вследствие направленного воздействия) в случае большого числа перфорационных туннелей.
Известен способ для обработки пласта в скважине, включающий образование туннелей в окружающем пласте интервала скважины, подачу обрабатывающей жидкости в туннели и создание локального переходного состояния депрессии на интервале скважины после создания туннелей в пласте и подачи обрабатывающих жидкостей (см., например, Фридляндер Л.Я., Прострелочно-взрывная аппаратура и ее применение в скважинах, Москва, Недра, 1985).
Известна инструментальная колонна, предназначенная для использования в скважине, имеющей пласт с туннелями, образованными в нем, содержащая подающее устройство для подачи обрабатывающей жидкости в туннели и уравнительное устройство для создания локального переходного состояния депрессии для обеспечения потока текучей среды из туннелей (см., например, патент России №2168621, 10.06.2001).
Известен способ для обработки скважины, включающий накопление информации, относящейся к характеристикам выброса для стволов скважин различных типов, и применительно к заданному стволу скважины определение его типа (см., например, Григорян Н.Г., Вскрытие нефтегазовых пластов стреляющими перфораторами, Москва, Недра, 1982).
Известен способ для обработки скважины, включающий следующие операции: спуск инструментальной колонны на интервал ствола скважины; приведение в действие первого компонента в инструментальной колонне для создания переходного состояния депрессии на интервал ствола скважины; приведение в действие второго компонента в инструментальной колонне для создания переходного состояния репрессии на интервале ствола скважины, (см., например, патент России №2180938, 27.03.2002).
Известна инструментальная колонна, содержащая первый компонент, приводимый в действие для создания переходного состояния депрессионного давления на интервале ствола скважины вблизи инструментальной колонны, и второй компонент, приводимый в действие для создания переходного состояния репрессии на интервале ствола скважины, (см., например, патент России №2180938, 27.03.2002).
Целью настоящего изобретения является создание способа и устройства для улучшения сообщения текучей среды в пласте со скважиной.
Согласно одному варианту осуществления, создан способ обработки пласта в скважине, включающий спуск инструментальной колонны в скважину, приведение в действие стреляющего перфоратора в инструментальной колонне для образования туннелей в окружающем пласте интервала скважины, использование в инструментальной колонне устройства для создания состояния репрессии в интервале скважины, приведение в действие в инструментальной колонне устройства для подачи обрабатывающей жидкости в туннели при наличии состояния репрессии и использование в инструментальной колонне уравнительного устройства для создания локального переходного состояния депрессии на интервале скважины после образования туннелей в пласте и подачи обрабатывающих жидкостей.
Создание локального переходного состояния депрессии может вызывать выброс потока текучей среды из туннелей для очистки туннелей.
В качестве обрабатывающей жидкости можно использовать связующую обрабатывающую жидкость.
В качестве обрабатывающей жидкости можно использовать по меньшей мере одну из следующих жидкостей: кислота, хелат, растворитель, поверхностно-активное вещество, соляной раствор, масло и фермент.
Создание локального переходного состояния депрессии можно осуществлять посредством открывания по меньшей мере одного отверстия в уравнительной камере уравнительного устройства для осуществления выброса текучей среды в уравнительную камеру.
Создание локальной переходной депрессии может стимулировать выполнение операции выброса текучей среды для очистки туннеля, при этом дополнительно можно выполнять операцию гидравлического разрыва пласта после операции выброса.
Способ может дополнительно включать выполнение операции гравийной набивки после операции гидравлического разрыва пласта.
Создание локальной переходной депрессии может стимулировать выполнение операции выброса текучей среды для очистки туннеля, и дополнительно можно осуществлять операцию гравийной набивки.
Приведение в действие устройства для подачи обрабатывающей жидкости можно осуществлять посредством открывания по меньшей мере одного отверстия этого устройства.
Создание состояния репрессии может включать создание переходного состояния репрессии.
Можно использовать уравнительное устройство, являющееся перфоратором.
Устройством для создания переходного состояния репрессии может быть перфоратор, и приведение его в действие обеспечивает создание указанного состояния.
Способ может дополнительно включать приведение в действие стреляющего перфоратора для создания переходного состояния репрессии.
В качестве стреляющего перфоратора можно использовать стреляющий перфоратор, транспортируемый на насосно-компрессорной трубе.
Подача обрабатывающей жидкости может включать подачу кислоты в туннели вследствие наличия состояния репрессии. Можно осуществлять подачу, по существу, одинаковое количества кислоты в каждый туннель.
Подача обрабатывающей жидкости может включать подачу соляного раствора для снижения поверхностного натяжения внутри туннелей или подачу поверхностно-активного вещества для улучшения переноса обломков породы из туннелей или подачу жидкости для улучшения очистки туннелей.
Способ может дополнительно включать использование последовательности состояний давления на интервале ствола скважины, которая включает переходное состояние депрессии и состояние репрессии. Эта последовательность может дополнительно включать равновесное состояние.
Для достижения указанной цели создана инструментальная колонна, предназначенная для использования в скважине, имеющей пласт с туннелями, образованными в нем, содержащая устройство для подачи обрабатывающей жидкости в туннели, устройство для создания состояния репрессии в интервале скважины для обеспечения подачи обрабатывающей жидкости в туннели и уравнительное устройство для создания локального переходного состояния депрессии для обеспечения потока текучей среды из туннелей.
Колонна может дополнительно содержать стреляющий перфоратор.
Устройство для подачи обрабатывающей жидкости может иметь одно или несколько отверстий, открываемых для обеспечения возможности подачи обрабатывающей жидкости.
Устройство для создания состояния репрессии может содержать стреляющий перфоратор.
Уравнительное устройство может содержать камеру низкого давления и по меньшей мере одно отверстие, избирательно открываемое для обеспечения возможности сообщения между камерой и участком ствола скважины и создания выброса текучей среды в камеру для создания локального переходного состояния депрессии. Отверстие может содержать клапан.
Отверстие может содержать задерживающий текучую среду элемент, выполненный с возможностью разрушения силой взрыва.
Колонна может дополнительно содержать взрывной элемент, расположенный вблизи задерживающего текучую среду элемента.
Колонна может дополнительно содержать множество секций, каждая из которых содержит подающее устройство для подачи обрабатывающей жидкости и уравнительное устройство. Секции могут быть выполнены с возможностью приведения в действия в различные моменты времени.
Колонна может дополнительно содержать множество секций, каждая из которых содержит комбинацию одного или нескольких следующих устройств: стреляющий перфоратор, подающее устройство для подачи обрабатывающей жидкости и уравнительное устройство.
Колонна может дополнительно содержать узел для осуществления гидравлического разрыва пласта после очистки туннелей, обусловленной потоком текучих сред из туннеля при наличии локального переходного состояния депрессии.
Согласно другому варианту выполнения, создан способ обработки скважины, включающий накопление информации, относящейся к характеристикам выброса текучей среды для стволов скважин различных типов, определение типа заданного ствола скважины, определение одной или нескольких обрабатывающих жидкостей, выбираемых для использования при обработке перфорационных туннелей и подаваемых устройством для подачи обрабатывающей жидкости, выбор характеристик выброса текучей среды для операции выброса на основе выбранной одной или нескольких обрабатывающих жидкостей и определенного типа ствола скважины при использовании накопленной информации, включающий выбор временной задержки между операцией перфорирования для образования туннелей в пласте и операцией выброса текучей среды и выбор объема камеры низкого давления для текучей скважинной среды для операции выброса.
Согласно еще одному варианту изобретения, создан также способ обработки скважины, включающий спуск инструментальной колонны на интервал ствола скважины, приведение в действие первой секции инструментальной колонны, содержащей корпус с размещенным в нем по меньшей мере одним взрывчатым веществом, посредством инициирования по меньшей мере одного взрывчатого вещества для создания отверстий в корпусе для открытия камеры внутри корпуса для скважинных текучих сред с целью создания локального переходного состояния депрессии на интервале скважины вблизи инструментальной колонны, и приведение в действие второй секции инструментальной колонны для создания переходного состояния репрессии на интервале ствола скважины.
В данном способе инициирование по меньшей мере одного взрывчатого вещества включает инициирование детонирующего шнура.
Согласно изобретению, создана также инструментальная колонна, содержащая первую секцию, содержащий носитель, включающий взрывные устройства, приведение в действие которых обеспечивает образование отверстий в носителе, предназначенных для передачи давления в стволе скважины в камеру низкого давления носителя с целью создания переходного состояния депрессии на интервале ствола скважины вблизи инструментальной колонны, вторую секцию, приводимую в действие для создания переходного состояния репрессии на интервале ствола скважины, и третью секцию, имеющую устройство для подачи обрабатывающей текучей среды в туннели в пласте.
Другие или альтернативные признаки станут очевидными из нижеследующего описания со ссылками на чертежи, на которых изображено следующее:
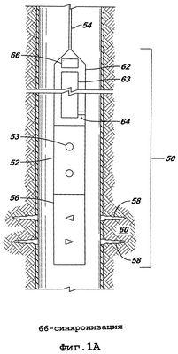
фиг.1А изображает устройство, содержащее подающее средство, предназначенное для подачи обрабатывающей жидкости (жидкостей), и уравнительное средство для создания локального переходного состояния депрессии в соответствии с вариантом осуществления изобретения;
фиг.1В – устройство в соответствии с другим вариантом осуществления, предназначенное для подачи обрабатывающей жидкости (жидкостей) в перфорационные туннели;
фиг.2 – рабочую диаграмму процесса в соответствии с вариантом осуществления изобретения;
фиг.3А и 3В – инструментальную колонну в соответствии с вариантом осуществления, предназначенную для создания состояния депрессии в стволе скважины;
фиг.4 – рабочую диаграмму процесса выбора характеристик выброса потока текучей среды на основе характеристик ствола скважины и выбранной обрабатывающей жидкости (жидкостей);
фиг.5 – колонну, имеющую несколько секций, каждая из которых содержит стреляющий перфоратор, подающее средство для подачи обрабатывающей жидкости (жидкостей) и уравнительное средство для создания состояния депрессии или выброса;
фиг.6 – другой вариант осуществления инструментальной колонны, содержащей клапан, приводящий в открытое и закрытое положение для создания желаемых режимов давления во время операции выброса после перфорирования и подачи обрабатывающей жидкости (жидкостей);
фиг.7 и 8 изображают колонну со стреляющим перфоратором в стволе скважины;
фиг.9-13 – временные диаграммы давления.
В нижеследующем описании изложены многочисленные детали для облегчения понимания настоящего изобретения. Однако специалистам в области техники, к которой относится изобретение, должно быть понятно, что настоящее изобретение может быть использовано на практике без этих деталей и что возможны многочисленные варианты или модификации настоящего изобретения.
Термины «вверх» и «вниз»; «верхний» и «нижний»; «кверху» и «книзу»; «выше по потоку» и «ниже по потоку»; «выше» и «ниже» и другие аналогичные термины, указывающие на относительные положения выше или ниже определенной точки или элемента, в этом описании использованы для более понятного изложения некоторых вариантов осуществления изобретения. Однако применительно к оборудованию и к способам, предназначенным для использования в искривленных или горизонтальных скважинах, такие термины могут означать «слева направо», «справа налево» или другое соответствующее взаимоотношение.
В общем разработаны способы и устройства для устранения повреждения, вызванного перфорированием, и удаления из туннелей обломков породы, образующихся при пробивании отверстий в пласте, окружающем скважину. Существует несколько возможных механизмов ухудшения продуктивности пласта и приемистости скважины вследствие перфорирования. Одним может быть наличие после перфорирования слоя песчаных зерен с низкой проницаемостью (зерен, которые разбиты кумулятивным зарядом). Поскольку текучая среда, добываемая из пласта, может проходить через эту область низкой проницаемости, то может наблюдаться более высокое падение давления по сравнению с ожидаемым, приводящее к низкой продуктивности. Перфорирование на депрессии представляет собой один способ компенсации повреждения этого вида. Однако во многих случаях недостаточная депрессия может привести только к частичному устранению повреждения. Второй основной тип повреждения может быть обусловлен образованной при перфорировании сыпучей породой и взорванной породой, заполняющей перфорационные туннели. Во время перфорирования на депрессии не все частицы могут быть перемещены в ствол скважины, и они, в свою очередь, могут вызвать падение продуктивности и приемистости скважины (например, во время гравийной набивки, инжекции и т.д.). Повреждение еще одного типа возникает в результате частичного раскрытия перфораций. Вследствие неравномерного распределения размеров зерен может возникать закупоривание некоторых из этих перфораций (обусловленное образованием перемычек на участке обсадная колонна/цемент перфорационных туннелей), что может привести к потере продуктивности и приемистости скважины.
Для устранения повреждений этих типов могут потребоваться две силы, действующие одновременно: одна – для освобождения частиц против действия сил, которые удерживают их на месте, и другая – для переноса частиц. Разломанные песчаные зерна в перфорационном туннеле могут удерживаться на месте цементацией пород, тогда как сыпучая порода, частицы песка и взорванная порода в туннеле могут удерживаться на месте слабыми электростатическими силами. Для переноса частиц в ствол скважины необходима достаточная скорость потока текучей среды.
В соответствии с некоторыми вариантами осуществления изобретения разработана совокупность операций для улучшения обработки мест повреждений и удаления обломков породы: подача обрабатывающей жидкости (жидкостей) в туннели; и создание локального переходного состояния низкого давления (локальной переходной депрессии) на интервале ствола скважины. Примеры подаваемых обрабатывающих жидкостей включают кислоту, хелат, растворитель, поверхностно-активное вещество, соляной раствор, масло и т.д. Подача обрабатывающих жидкостей обуславливает по меньшей мере одно из нижеследующего: снижение поверхностного натяжения внутри перфорационных туннелей, уменьшение вязкости при наличии тяжелой нефти, улучшение переноса осыпи, такой, как песок, удаление остаточной корки из перфорационных туннелей, воздействие на пласт вблизи ствола скважины, осуществление динамического направленного воздействия кислотой, так что количество кислоты, инжектируемой в каждый перфорационный туннель, по существу, одно и то же, и растворение некоторых минералов. По существу, вследствие подачи обрабатывающих жидкостей изменяется химия текучих сред на заданном интервале ствола скважина, что позволяет решить по меньшей мере одну из указанных выше задач.
Подачу обрабатывающих жидкостей в перфорационные туннели осуществляют при состоянии репрессии (давление в стволе скважины выше пластового давления). При последующем выбросе текучей среды создается состояние динамической депрессии. После состояния динамической депрессии на заданном интервале скважины создают любое одно из состояния депрессии, состояния репрессии и равновесного состояния. Поэтому в соответствии с некоторыми вариантами осуществления на заданном интервале ствола скважины создают последовательность в виде некоторой комбинации состояний репрессии, депрессии и равновесия, например репрессия-депрессия-репрессия, репрессия-депрессия-депрессия, репрессия-депрессия-равновесие, депрессия-репрессия-депрессия и т.д. Такая последовательность различных режимов давления существует в течение короткого периода времени, например в течение периода времени, который меньше или равен приблизительно 10 с.
Подачу обрабатывающих жидкостей осуществляют, используя подающее средство, дополнительно описанное ниже. Локальное переходное состояние депрессии создают, используя камеру, содержащую текучую среду при относительно низком давлении. Например, камера представляет собой герметизированную камеру, содержащую газ или другую текучую среду при более низком давлении по сравнению с давлением в окружающей скважинной среде. В результате, когда камера открывается, происходит быстрый выброс потоков текучих сред в камеру низкого давления с созданием локального состояния низкого давления на участке ствола скважины, находящемся в сообщении с камерой после открывания камеры.
В некоторых вариантах камера представляет собой закрытую камеру, которая с одной стороны ограничена запирающим элементом, расположенным ниже поверхности скважины. Иначе говоря, закрытая камера не проходит на всем пути до поверхности скважины. В качестве примера запирающим элементом может быть клапан, расположенный в скважине. В качестве альтернативы запирающий элемент входит в состав герметизированного контейнера, имеющего отверстия, которые включают элементы, разрушаемые посредством некоторого механизма (например, при использовании взрывчатого вещества или некоторого другого средства). В других вариантах осуществления запирающим элементом может быть устройство другого типа.
В одном. варианте осуществления герметизированный атмосферный контейнер спускают в ствол скважины после перфорирования пласта. После начала добычи в корпусе контейнера образуют отверстия (например, используя взрывчатые вещества, клапаны или другие средства) для быстрого создания состояния депрессии или выброса текучей среды с целью удаления поврежденных песчаных зерен вокруг перфорационных туннелей и удаления свободных обломков породы.
На фиг.1А показано устройство 50 согласно одному варианту осуществления, которое включает уравнительное средство 52, предназначенное для создания локального переходного состояния депрессии. Уравнительное средство 52 имеет одно или несколько отверстий 53, которые могут избирательно открываться для обеспечения сообщения с внутренней камерой низкого давления, находящейся внутри уравнительного средства 52. Отверстия 53 можно открыть, используя клапан, взрывчатое вещество или некоторые другие средства. При выполнении обычных работ по глобальной очистке, когда обрабатывается вся скважина, обрабатываются преимущественно интервалы с высокой проницаемостью, что может привести к тому, что другие интервалы будут обработаны недостаточно. Используя для очистки локальные выбросы текучей среды, можно осуществлять более направленную обработку.
Для создания низкого давления в камере уравнительного средства 52 могут быть использованы различные средства. Например, трубная или управляющая линия может быть использована для передачи низкого давления. В качестве альтернативы низкое давление в стволе скважины создают посредством герметизированного контейнера.
В соответствии с другим вариантом осуществления, состояние депрессии может быть создано путем использования дроссельной линии и линии глушения скважины, которые представляют собой часть подводного скважинного оборудования в скважинах с устьем на дне моря. В таком другом варианте осуществления дроссельная линия, которая проходит от подводного скважинного оборудования к поверхности моря, может быть заполнена текучей средой с низкой плотностью, тогда как линия глушения, которая также проходит к поверхности моря, может быть заполнена тяжелой скважиной текучей средой. После того как инструментальная колонна спущена в ствол скважины, противовыбросовый превентор, который является частью оборудования скважины с устьем на дне моря, может быть закрыт с последующим открыванием дроссельной линии ниже противовыбросового превентора и закрыванием линии глушения ниже противовыбросового превентора. Открывание дроссельной линии и закрывание линии глушения приводит к снижению гидростатического напора в стволе скважины с образованием состояния депрессии.
В еще одном варианте осуществления камера внутри скважинного перфоратора 56 может быть использована в качестве приемника скважинных текучих сред, предназначенного для создания состояния депрессии. После сгорания заряда горячий детонационный газ заполняет внутреннюю камеру скважинного перфоратора. Если результирующее давление детонационного газа меньше по сравнению с давлением в стволе скважины, более холодные текучие среды ствола скважины засасываются в корпус скважинного перфоратора. При значительном ускорении, создаваемом посредством перфорационных отверстий в корпусе скважинного перфоратора, текучая среда раздробляется на капли и в результате происходит быстрое охлаждение газа. Следовательно, происходят быстрое падение давление в скважинном перфораторе и еще более быстрый отбор текучей среды из ствола скважины, что создает падение давления в стволе скважины. Падение давления в стволе скважине обуславливает состояние депрессии.
Устройство 50 спускают на желаемую глубину на несущей линии 54 (например, на гибкой колонне, талевом стальном канате, одножильном тросе и т.д.). Устройство 50 включает стреляющий перфоратор 56, который может приводиться в действие для образования перфорационных туннелей 58 в пласте 60, окружающем интервал ствола скважины. Стреляющий перфоратор 56 может быть приведен в действие различными способами, например, с помощью сигнала, передаваемого по проводу, по волоконно-оптической линии, по гидравлической линии управления или по каналу другого вида.
Устройство 50 также включает подающее средство 62, предназначенное для подачи обрабатывающей жидкости (например кислоты, хеланта, растворителя, поверхностно-активного вещества, соляного раствора, масла, энзима и т.д. или любой комбинации из указанных выше) в интервал ствола скважины, показанный на фиг.1, которая, в свою очередь, втекает в перфорационные туннели 58. Подаваемая обрабатывающая жидкость может быть связующей обрабатывающей жидкостью. Подающее средство 62 может иметь камеру 63 под избыточным давлением, содержащую обрабатывающую жидкость. При открывании отверстия 64 жидкость под давлением выходит из камеры 63 в окружающий интервал ствола скважины. В качестве альтернативы подающее средство 62 находится в сообщении с трубопроводом, который протянут до поверхности скважины. Для заполнения окружающего интервала ствола скважины обрабатывающую жидкость подают вниз по трубопроводу в подающее средство 62 и через отверстие 64. Трубопровод для обрабатывающей жидкости может быть протянут внутри несущей линии 54. В качестве альтернативы этот трубопровод для жидкости может проходить снаружи несущей линии 54.
В еще одном варианте осуществления нет необходимости подавать из подающего средства 62 жидкость под давлением. Другое устройство предусмотрено как часть устройства 50 для создания состояния репрессии, такого, как переходное состояние репрессии (когда давление на интервале ствола скважины больше по сравнению с пластовым давлением). Состояние репрессии обуславливает втекание обрабатывающей жидкости в перфорационные туннели 58. В одном варианте осуществления другое устройство для создания состояния репрессии представляет собой стреляющий перфоратор 56.
Подающее средство 62 может быть рассчитано на подачу в окружающий интервал ствола скважины обрабатывающей жидкости более чем одного вида. В одной иллюстративной реализации подающее средство 62 может включать несколько камер для хранения обрабатывающих жидкостей нескольких различных видов. В качестве альтернативы предусматривают несколько трубопроводов для подачи обрабатывающих жидкостей нескольких видов.
Обрабатывающая жидкость, которая может подаваться подающим средством 62 из фиг.1, может включать соляной раствор для уменьшения поверхностного натяжения внутри перфорационных туннелей 58. Применение соляного раствора повышает насыщенность породы соляным раствором, что улучшает очистку перфорационных туннелей при осуществлении последующего выброса путем создания локального переходного состояния депрессии.
В другом примере обрабатывающая жидкость включает поверхностно-активное вещество, которое подают в перфорационные туннели 58 для улучшения переноса осыпи (такой, как песок) во время выполнения операции выброса при переходной депрессии. Благодаря поверхностно-активному веществу уменьшается поверхностное натяжение между песчаными зернами и локальными текучими средами (в пласте), так что песчаные зерна могут легче выходить из перфорационных туннелей 58.
Как показано на фиг.2, во время работы устройство 50 спускают (на стадии 90) на интервал ствола скважины. Затем (на этапе 91) подают обрабатывающую жидкость (жидкости), открывая отверстие 64 подающего средства 62. В некоторых случаях подача обрабатывающей жидкости (жидкостей) регулируется посредством пускового механизма 66 с выдержкой времени. Скорость дозирования обрабатывающей жидкости (жидкостей) выбирают с учетом достижения оптимальных характеристик. В других вариантах осуществления пусковой механизм 66 с выдержкой времени может отсутствовать. После этого приводят в действие (на этапе 92) стреляющий перфоратор 56 для подрыва кумулятивных зарядов в стреляющем перфораторе с целью распространения перфорационных туннелей 58 в окружающий пласт 60.
После приведения в действие стреляющего перфоратора 56 создается переходное состояние репрессии. Продолжительность такого состояния репрессии может быть относительно небольшой (например, порядка миллисекунд). Это состояние репрессии приводит к инжекции (на этапе 94) обрабатывающей жидкости в перфорационные туннели 58. Момент подачи обрабатывающей жидкости (жидкостей) может быть выбран совпадающим, по существу, с моментом приведения в действие стреляющего перфоратора 56, так что обрабатывающая жидкость (жидкости) может втекать в перфорационные туннели 58 при наличии переходного состояния репрессии.
Для получения большей продолжительности существования репрессии может быть использован стреляющий перфоратор, транспортируемый на насосно-компрессорной трубе, так что для создания состояния репрессии на желаемом интервале жидкость под давлением подается через насосно-компрессорную трубу. При использовании стреляющих перфораторов, транспортируемых на насосно-компрессорной трубе, обычно может быть получена репрессия, равная тысячам фунтов на квадратный дюйм.
В некоторых случаях, например в случае карбонатных коллекторов, может оказаться желательной подача кислоты в перфорационные туннели 58. Обычно подача такой кислоты происходит так, что кислота втекает в разных количествах в различные перфорационные туннели 58, поскольку для кислоты характерна тенденция протекать в большей степени по путям наименьшего сопротивления. Однако путем синхронизации подачи таким образом, чтобы она происходила, по существу, одновременно с созданием переходной репрессии, обусловленной перфорированием, можно получить более равномерное распределение кислоты по перфорационных туннелям 58. Более равномерное распределение кислоты по перфорационным туннелям 58 достигается путем подачи кислоты в течение относительно короткого периода времени (например, в течение миллисекунд). Этот процесс называют динамическим воздействием. Инжекция кислоты в каждый перфорационный туннель 58 обеспечивает воздействие на пласт вблизи ствола скважины, что способствует повышению эффективности последующей операции очистки.
После подачи обрабатывающей жидкости (жидкостей) уравнительное средство 52 приводят в действие на этапе 96 для создания локального переходного состояния депрессии. Это вызывает выход потока текучей среды и обломков породы из перфорационных туннелей 58 в ствол скважины, вследствие чего может быть достигнута очистка перфорационных туннелей 58. Затем на этапе 98 могут быть выполнены дополнительные операции, такие как гидравлический разрыв пласта и/или гравийная набивка. До, одновременно или после дополнительных операций на интервале ствола скважины может установиться на этапе 99 любое из состояний репрессии, депрессии или равновесного состояния.
На фиг.1В показан другой вариант осуществления устройства 50А. В этом варианте осуществления вместо подающего устройства 62 из фиг.1А устройство 50А включает кольцевую оболочку 57 вокруг стреляющего перфоратора 56. Кольцевая оболочка 57 охватывает кольцевую камеру 59, в которой может быть размещена обрабатывающая жидкость.
Во время работы вследствие подрыва заряда стреляющего перфоратора 56 оболочка 57 разрушается. Обрабатывающая жидкость из камеры 59 переносится газами скважинного перфоратора в перфорационные туннели. Затем приводят в действие уравнительное средство 52 для создания динамической депрессии.
В коллекторах некоторых типов, например в карбонатных коллекторах, имеются естественные трещины. В таких коллекторах осуществляют ориентированное перфорирование с тем, чтобы перфорационные туннели 58 были ориентированы перпендикулярно к трещинам. Обычно при перфорационных работах образуются корки, которые прерывают или ухудшают сообщение между перфорационными туннелями 58 и трещинами.
Кроме того, устройство 50 или 50А можно использовать для очистки путей между трещинами и перфорационными туннелями. Обрабатывающую жидкость (жидкости), например соляной раствор, поверхностно-активное вещество, растворитель и т.д., подают для снижения или исключения поверхностного натяжения. При последующем осуществлении выброса с помощью уравнительного средства 52 могут быть удалены корки, которые препятствуют сообщению между трещинами и перфорационными туннелями 58.
Выгода от выполнения очистки перфорационных туннелей 58 согласно некоторым вариантам осуществления изобретения заключается в том, что может быть достигнуто повышение добычи углеводородов вследствие улучшения сообщения через перфорационные туннели 58. При повышенной продуктивности скважины может уменьшиться необходимость в последующих работах по гидравлическому разрыву пласта, что снизит затраты на эксплуатацию скважины. Даже при необходимости осуществления гидравлического разрыва пласта вследствие улучшенного сообщения через перфорационные туннели 58 можно уменьшить начальное давление гидравлического разрыва пласта, необходимое для начала операции гидравлического разрыва пласта. В свою очередь это позволяет ведущему разработку скважины не иметь крупных источников давления на поверхности скважины, которые часто представляют собой источник опасности.
При необходимости операцию гидравлического разрыва пласта выполняют как одну из дополнительных операций 98 фиг.2. Дополнительные операции 98 выполняют после операции выброса для осуществления очистки согласно некоторым вариантам осуществления. Другая операция, которая может быть выполнена после операции выброса, представляет собой операцию гравийной набивки, при осуществлении которой суспензию гравийной набивки закачивают на интервал ствола скважины после операций 90, 91, 92, 94, 96 на фиг.2. Гравийную набивку производят с целью борьбы с поступлением песка в скважину для предотвращения выхода песка во время добычи продукта. Гравийную набивку можно выполнить после операции гидравлического разрыва пласта.
Варианты осуществления изобретения также можно применять к заканчиванию скважины без фильтра. Обычно с целью борьбы с поступлением песка в скважину в окрестности перфораций 58 располагают фильтр (например, проволочную сетку или другую конструкцию с отверстиями, обеспечивающими возможность сквозного протекания текучей среды, но задерживающими поток песка). Однако в других вариантах осуществления фильтры могут быть исключены. При заканчивании скважины без фильтра в перфорационные туннели 58 помещают превенторы обратного потока. До размещения превенторов обратного потока устройство 50 используют для улучшения функционирования перфорационных туннелей 58. В перфорационные туннели также могут быть помещены другие материалы для предотвращения обратного потока твердых частиц в перфорационные туннели 58 из ствола скважины.
Как отмечалось выше, на интервале ствола скважины, прилегающем к пласту, в котором образуют перфорационные туннели 58, создают последовательность различных режимов давления. Режимы давления включают состояния репрессии, состояния депрессии и равновесные состояния. На интервале ствола скважины такие состояния можно создавать в любой последовательности. Примеры, рассмотренные выше, относятся к созданию прежде всего состояния репрессии для обеспечения возможности инжекции обрабатывающих жидкостей в перфорационные туннели, за которым следует переходное состояние депрессии для очистки перфорационных туннелей. Затем после переходной депрессии на интервале скважины устанавливается другой режим давления. На приведенных ниже на фигурах 9-13 графиках показаны различные последовательности режимов давления, которые могут возникать на интервале ствола скважины.
На фиг.9 показан график, иллюстрирующий зависимость давления в стволе скважины и пластового давления от времени (от 0 до 0,5 с). Вначале на заданном интервале ствола скважины наблюдается состояние репрессии (когда давление в стволе скважины больше пластового давления). Затем создается динамическая депрессия (когда давление в стволе скважины ниже пластового давления), обозначенная позицией 500. Как показано в варианте на фиг.9, состояние динамической депрессии продолжается на временном интервале, который меньше 0,1 с. Позднее после состояния динамической депрессии на интервале ствола скважины устанавливается состояние репрессии.
На фиг.10 показана другая последовательность, в соответствии с которой вначале на интервале ствола скважины наблюдается состояние репрессии, при этом переходная депрессия (502) создается вскоре после начального состояния репрессии. Позднее состояние депрессии сохраняется. На фиг.11 показана другая последовательность, в соответствии с которой вначале на интервале ствола скважины наблюдается состояние репрессии, при этом создается переходный спад (506) давления, когда давление в стволе скважины уменьшается, но остается выше пластового давления. Далее давление в стволе скважины еще более падает, так что оно становится сбалансированным (508) по отношению к пластовому давлению. Позднее давление в стволе скважины устанавливается на уровне, соответствующем состоянию репрессии.
На фиг.12 показан еще один график, на котором характеристика давления в стволе скважины начинается с репрессии, а вслед за этим давление в стволе скважины спадает с образованием сначала переходного состояния, при котором давление в стволе скважины остается повышенным (что показано позицией 510). Далее создается другое переходное состояние, при котором давление в стволе скважины еще более падает, так что создается состояние депрессии (показанное позицией 512). Позднее давление в стволе скважины возрастает до получения репрессии и, наконец, давление в стволе скважины и пластовое давление становятся сбалансированными.
На фиг.13 показана еще одна иллюстративная последовательность, в соответствии с которой вначале на интервале ствола скважины наблюдается депрессия (514), за которой следует переходное состояние (516) репрессии. После переходной репрессии создается переходная депрессия (518). Позднее на интервале ствола скважины поддерживается состояние депрессии.
Графики на фигурах 9-13 представляют собой иллюстративные примеры, поскольку в соответствии с необходимостью и желанием ведущего разработку месторождения на интервале ствола скважины могут устанавливаться многочисленные другие последовательности режимов давления.
Ниже описываются различные средства, которые могут быть использованы для создания выброса, рассмотренного выше, с целью создания локального переходного состояния депрессии. Средства, описываемые ниже, могут быть использованы для замены либо уравнительного средства 52, либо совокупности, состоящей из уравнительного средства 52 и стреляющего перфоратора 56 из фиг.1.
Обратимся к фиг.3А, на которой показана инструментальная колонна, имеющая герметизированный атмосферный контейнер 10 (или контейнер, имеющий внутреннее давление, которое ниже давления, ожидаемого в стволе скважины на участке пласта 12), спущенный в ствол скважины (который обсажен обсадной колонной 24) и расположенный рядом с пластом 12, подлежащим обработке. Инструментальная колонна спущена на несущей линии 22 (например, на талевом стальном канате, одножильном тросе, гибкой колонне и т.д.). Контейнер 10 включает камеру, которая заполнена газом (например, воздухом, азотом) или другой текучей средой. Контейнер 10 имеет длину, достаточную для обработки всего пласта 12, и имеет многочисленные отверстия 16, которые можно открыть, используя взрывчатые вещества.
Как показано на фиг.3В, отверстия 16 могут представлять собой отверстия, которые закрыты уплотнительными элементами 18 (например, эластомерными элементами, керамическими крышками и т.д.). Взрывчатое вещество, например детонирующий шнур 20, помещено вблизи каждого из отверстий 16. Приведение в действие детонирующего шнура 20 приводит к разрушению или к вырыванию уплотнительных элементов 18 из соответствующих отверстий 16. В другом варианте осуществления отверстия 16 могут быть прикрыты утонченными выемками участками корпуса контейнера 10. Утонченные участки легче прорываются силами взрывов.
В одном варианте осуществления несмотря на то, что скважина является продуктивной (после выполнения перфораций в пласте 12), атмосферную камеру в контейнере 10 открывают в ствол скважины с помощью взрыва. Такой способ может быть использован с или без стреляющего перфоратора. При использовании способа со скважинным перфоратором благодаря атмосферному контейнеру обеспечивается возможность создания динамической депрессии даже в случае, когда непосредственно перед перфорированием скважинная текучая среда находится при репрессии. Атмосферный контейнер 10 также можно использовать после выполнения работ по перфорированию. В этой последней схеме организуется добыча из пласта, при этом отверстия 16 атмосферного контейнера 10 открываются взрывами для быстрого создания состояния депрессии.
Приводимый в действие взрывом контейнер 10 в соответствии с одним вариантом осуществления содержит внутри воздух (или некоторый другой подходящий газ или текучую среду). Камера 10 имеет такие размеры, что она может быть спущена в законченную скважину с помощью талевого каната, гибкой колонны или других средств. Толщина стенок камеры рассчитана на противостояние давлениям и температурам в стволе скважины. Длина камеры определяется толщиной перфорированного пласта, подлежащего обработке. Вдоль стенки камеры могут иметься многочисленные отверстия 16. Взрывчатые вещества размещены внутри атмосферного контейнера вблизи отверстий. Взрывчатые вещества могут представлять собой детонирующий шнур (такой, как 20 на фиг.3В) или даже кумулятивные заряды.
В одной компоновке инструментальную колонну, содержащую контейнер 10, спускают в ствол скважины и помещают вблизи перфорированного пласта 12. В этой компоновке пласт 12 уже перфорирован, а атмосферную камеру 10 используют как устройство, обеспечивающее выброс с целью быстрого создания состояния депрессии. Инжекция обрабатывающей жидкости (жидкостей) осуществляется посредством подающего средства (такого, как подающее средство 62 на фиг.1) до открывания атмосферной камеры 10.
После спуска атмосферного контейнера 10 и размещения рядом с перфорированным пластом 12 на поверхности открывают эксплуатационную задвижку, в результате чего начинается фонтанирование пласта 12. При фонтанировании пласта подрывают взрывчатые вещества внутри атмосферного контейнера, открывая отверстия контейнера 10 в ствол скважины. Ударная волна, создаваемая взрывом, может обеспечить силу для удаления частиц. Быстрое падение давления внутри ствола скважины может вызвать прорыв текучей среды из пласта в свободное пространство, образованное посредством атмосферного контейнера 10. Эта текучая среда переносит захваченные частицы в ствол скважины, оставляя чистые туннели в пласте. Камеру можно сбросить в скважину или вытянуть на поверхность.
Характеристики (включая синхронизацию относительно перфорирования) выброса текучей среды могут быть основаны на характеристиках интервала ствола скважины (например, диаметра ствола скважины, пластового давления, гидростатического давления, проницаемости пласта и т.д.), в которой должно быть создано локальное состояние низкого давления. Обычно стволы скважин различного вида имеют разные характеристики. В дополнение к изменению синхронизации выброса по отношению к перфорированию можно регулировать объем камеры низкого давления и скорость потока текучей среды, втекающего в камеру. Выброс, подлежащий созданию, также зависит от вида обрабатывающей жидкости (жидкостей), выбранной для инжекции в перфорационные туннели.
Что касается фиг.4, то на ней отражены эксперименты, которые могут быть проведены на скважинах с различными характеристиками, при этом эксперименты включают создание скачков давления с различными характеристиками для оценки их эффективности. Тестовые данные собирают на этапе 70, а оптимальные характеристики выброса для скважины данного типа сохраняют на этапе 71 в моделях для более позднего обращения.
При идентификации заданной скважины, в которой создают локальный выброс, определяют на этапе 72 характеристики скважины и согласовывают их с одной из сохраненных моделей. Кроме того, идентифицируют на этапе 73 выбранную обрабатывающую жидкость (жидкости). На основе модели и выбранной обрабатывающей жидкости (жидкостей) выбирают на этапе 74 характеристики выброса и выполняют на этапе 75 операции, включающие подачу выбранной обрабатывающей жидкости (жидкостей) и создание выброса. Как часть этих операций на интервале ствола скважины можно измерить на этапе 76 режим давления и другие режимы скважины, являющиеся следствием выброса, а модель можно скорректировать на этапе 77, если это необходимо для дальнейшего использования.
Хотя вариант осуществления из фиг.1 относится к устройству для выполнения одной операции перфорирования с последующей одной подачей обрабатывающей жидкости (жидкостей) и операцией создания выброса, другие варианты осуществления могут относится к выполнению нескольких операций перфорирования, подачи обрабатывающей жидкости и создания выброса. Например, что касается фиг.5, то показанная на ней колонна включает три секции, которые приводятся в действие в различные моменты времени. В других примерах может быть меньшее или большее число секций. Колонна включает в себя уравнительные средства 80А, 80В, 80С, соответствующие подающие средства 82А, 82В, 82С для подачи обрабатывающей жидкости и соответствующие стреляющие перфораторы 81А, 81В, 81С. Первая секция 80А, 81А, 82А может быть приведена в действие первой с последующим последовательным приведением в действие второй секции 80В, 81В, 82В и третьей секции 80С, 81С, 82С. Задержка между приведением в действие различных секций может быть задана в соответствии с заранее определенными временными задержками. Как рассматривалось выше, приведение в действие секции может начинаться с приведения в действие стреляющего перфоратора 81, за которым следует инжекция обрабатывающей жидкости (жидкостей) из подающего средства 82 и затем открывание уравнительного средства 80 для создания локального переходного состояния депрессии.
Что касается фиг.6, то в альтернативном варианте осуществления скважинное устройство имеет подающее средство 816 для подачи обрабатывающей жидкости и клапан 804 (например, шаровой клапан). Шаровой клапан 804 представляет собой часть колонны, которая также включает в себя насосно-компрессорную трубу или другой трубопровод 802, пакер 808 и стреляющий перфоратор 810.
При спуске клапан 804 находится в закрытом положении. После спуска колонны до нужного положения и после перфорирования и подачи обрабатывающей жидкости (жидкостей) устанавливают пакер 808 для изоляции кольцевой области 806 над пакером 808 от дополнительной области 812 ствола скважины ниже пакера 808, предназначенной для оставления одноразового оборудования. Внутреннее давление трубопровода 802 стравливают до низкого давления, например до атмосферного давления. Поскольку клапан 804 закрыт, то во время перфорирования пласт изолирован. После простреливания скважинным перфоратором 810 и подачи обрабатывающей жидкости клапан 804 открывают, что вызывает выброс текучей среды из дополнительной области 812 ствола скважины во внутренний канал трубопровода 802. Выброс приводит к созданию локального переходного состояния депрессии.
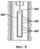
Что касается фиг.7, то в соответствии с еще одним вариантом осуществления инструментальная колонна 400 включает подающее средство 422 для подачи обрабатывающей жидкости и стреляющий перфоратор 402, и все они закреплены на несущей линии 404, которая может быть талевым стальным канатом, одножильным тросом или гибкой колонной. В одном варианте осуществления стреляющий перфоратор 402 представляет собой корпусной перфоратор, имеющий кумулятивные заряды 414 внутри камеры 418 герметизированного корпуса 416. В компоновке, показанной на фиг.7, стреляющий перфоратор 402 спускают через насосно-компрессорную трубу 406. Вокруг насосно-компрессорной трубы устанавливают пакер 410 для изоляции интервала 412, на котором должны производиться выстрелы из стреляющего перфоратора 402 (также называемый «интервалом 412 перфорирования»). Давление на интервале 412 перфорирования равно PW.
Что касается фиг.8, то во время детонации кумулятивных зарядов 414 в результате действия перфорирующих струй, создаваемых кумулятивными зарядами 414, образуются перфорационные отверстия 420. Во время горения кумулятивных зарядов 414 газообразные продукты детонации заполняют внутреннюю камеру 418 скважинного перфоратора 416. Если результирующее давление PG газообразных продуктов детонации меньше давления PW в стволе скважины на некоторую величину, то более холодные скважинные текучие среды будут засасываться в камеру 418 скважинного перфоратора 402. При движении через перфорационные отверстия 420 с ускорением скважинные текучие среды будут разбиваться на капли, что приведет к быстрому охлаждению газа внутри камеры 418. Происходящая быстрая потеря давления в скважинном перфораторе и еще более быстрый отвод скважинной текучей среды в камеру 418 приводит к снижению давления PW в стволе скважины. В зависимости от абсолютных значений давлений это падение давления может быть достаточным для создания состояния относительно сильной депрессии (например, больше 2000 фунтов/дюйм2) даже в скважине с начальной значительной репрессией (например, около 500 фунтов/дюйм2). Состояние депрессии зависит от значения давления PG газообразных продуктов сгорания в сравнении с давлением РW в стволе скважины.
Во время производства выстрелов из стреляющего перфоратора газообразные продукты детонации, образующиеся в процессе горения, значительно горячее скважинной текучей среды. Если холодные скважинные текучие среды, которые засасываются в скважинный перфоратор, быстро охлаждают горячий газ, то объем газа будет относительно быстро уменьшаться, в результате чего снижается давление, что еще больше способствует засасыванию скважинных текучих сред в скважинный перфоратор. В качестве одного примера можно указать, что охлаждение газа может происходить в течение промежутка времени, составляющего несколько миллисекунд. Отток скважинных жидкостей, которые имеют небольшую сжимаемость, из перфорированного интервала 412 может привести к падению давления РW в стволе скважины на относительно большую величину (на несколько тысяч фунтов/дюйм2). Между моментом производства выстрелов из стреляющего перфоратора 402 и достижением состояния депрессии может быть приведено в действие подающее средство 422 для инжекции обрабатывающей жидкости (жидкостей).
В соответствии с некоторыми вариантами осуществления регулируют различные параметры для получения желаемой разности значений двух давлений, РW и PG. Например, значение давления PG газообразных продуктов детонации можно регулировать путем изменения дозы взрывчатых веществ или путем изменения объема камеры 418. Значение давления PW в стволе скважины можно регулировать путем нагнетания во всю скважину или в изолированный интервал скважины, или путем динамического повышения давления в стволе скважины на локальном горизонте.
Хотя изобретение было раскрыто применительно к ограниченному числу вариантов осуществления, специалистам в области техники, к которой относится изобретение, должно быть понятно, что на основании него могут быть сделаны различные модификации и варианты. Предполагается, что приложенной формулой изобретения охватываются все такие модификации и варианты, как попадающие в рамки истинной сущности и объема настоящего изобретения.
Формула изобретения
1. Способ обработки пласта в скважине, включающий спуск инструментальной колонны в скважину, приведение в действие стреляющего перфоратора в инструментальной колонне для образования туннелей в окружающем пласте интервала скважины, использование в инструментальной колонне устройства для создания состояния репрессии в интервале скважины, приведение в действие в инструментальной колонне устройства для подачи обрабатывающей жидкости в туннели при наличии состояния репрессии и использование в инструментальной колонне уравнительного устройства для создания локального переходного состояния депрессии на интервале скважины после образования туннелей в пласте и подачи обрабатывающих жидкостей.
2. Способ по п.1, в котором создание локального переходного состояния депрессии вызывает выброс потока текучей среды из туннелей для очистки туннелей.
3. Способ по п.1, в котором в качестве обрабатывающей жидкости используют связующую обрабатывающую жидкость.
4. Способ по п.1, в котором в качестве обрабатывающей жидкости используют по меньшей мере одну из следующих жидкостей: кислота, хелант, растворитель, поверхностно-активное вещество, соляной раствор, масло и фермент.
5. Способ по п.1, в котором создание локального переходного состояния депрессии включает открытие по меньшей мере одного отверстия в уравнительной камере для осуществления выброса текучей среды в уравнительную камеру.
6. Способ по п.1, в котором создание локального переходного состояния депрессии стимулирует выполнение операции выброса текучей среды для очистки туннеля, при этом дополнительно выполняют операцию гидравлического разрыва пласта после операции выброса.
7. Способ по п.6, дополнительно включающий выполнение операции гравийной набивки после операции гидравлического разрыва пласта.
8. Способ по п.1, в котором создание локального переходного состояния депрессии стимулирует выполнение операции выброса текучей среды для очистки туннеля и дополнительно осуществляют операцию гравийной набивки.
9. Способ по п.1, в котором приведение в действие устройства для подачи обрабатывающей жидкости осуществляют посредством открытия по меньшей мере одного отверстия указанного устройства.
10. Способ по п.1, в котором создание состояния репрессии включает создание переходного состояния репрессии.
11. Способ по п.1, в котором уравнительное устройство содержит стреляющий перфоратор.
12. Способ по п.10, в котором устройством для создания состояния репрессии в интервале скважины является стреляющий перфоратор и приведение в действие стреляющего перфоратора приводит к созданию переходного состояния репрессии.
13. Способ по п.12, в котором в качестве стреляющего перфоратора используют стреляющий перфоратор, транспортируемый на насосно-компрессорной трубе.
14. Способ по п.12, в котором подача обрабатывающей жидкости включает подачу кислоты в туннели вследствие наличия состояния репрессии.
15. Способ по п.14, в котором осуществляют подачу, по существу, одинакового количества кислоты в каждый из туннелей.
16. Способ по п.1, в котором подача обрабатывающей жидкости включает подачу соляного раствора для снижения поверхностного натяжения внутри туннелей.
17. Способ по п.1, в котором подача обрабатывающей жидкости включает подачу поверхностно-активного вещества для улучшения переноса обломков породы из туннелей.
18. Способ по п.1, в котором подача обрабатывающей жидкости включает подачу жидкости для улучшения очистки туннелей.
19. Способ по п.1, дополнительно включающий использование последовательности состояний давления на интервале ствола скважины, которая включает переходное состояние депрессии и состояние репрессии.
20. Способ по п.19, в котором последовательность состояний давления дополнительно включает равновесное состояние.
21. Инструментальная колонна, предназначенная для использования в скважине, имеющей пласт с туннелями, образованными в нем, содержащая устройство для подачи обрабатывающей жидкости в туннели, устройство для создания состояния репрессии в интервале скважины для обеспечения подачи обрабатывающей жидкости в туннели и уравнительное устройство для создания локального переходного состояния депрессии для обеспечения потока текучей среды из туннелей.
22. Колонна по п.21, дополнительно содержащая стреляющий перфоратор.
23. Колонна по п.21, в которой устройство для подачи обрабатывающей жидкости имеет одно или несколько отверстий, открываемых для обеспечения возможности подачи обрабатывающей жидкости.
24. Колонна по п.21, в которой устройством для создания состояния репрессии является стреляющий перфоратор.
25. Колонна по п.21, в которой уравнительное устройство содержит камеру низкого давления и по меньшей мере одно отверстие, избирательно открываемое для обеспечения сообщения между камерой и участком ствола скважины и создания выброса текучей среды в камеру для создания локального переходного состояния депрессии.
26. Колонна по п.25, в которой отверстие содержит клапан.
27. Колонна по п.25, в которой отверстие содержит задерживающий текучую среду элемент, выполненный с возможностью разрушения силой взрыва.
28. Колонна по п.27, дополнительно содержащая взрывной элемент, расположенный вблизи задерживающего текучую среду элемента.
29. Колонна по п.21, дополнительно содержащая множество секций, каждая из которых содержит устройство для подачи обрабатывающей жидкости и уравнительное устройство.
30. Колонна по п.29, в которой множество секций выполнено с возможностью приведения в действие в различные моменты времени.
31. Колонна по п.21, дополнительно содержащая множество секций, каждая из которых содержит комбинацию одного или нескольких следующих устройств: стреляющий перфоратор, устройство для подачи обрабатывающей жидкости и уравнительное устройство.
32. Колонна по п.21, дополнительно содержащая узел для осуществления гидравлического разрыва пласта после очистки туннелей, обусловленной потоком текучих сред из туннеля при наличии локального переходного состояния депрессии.
33. Способ обработки скважины, включающий накопление информации, относящейся к характеристикам выброса текучей среды для стволов скважин различных типов, определение типа заданного ствола скважины, определение одной или нескольких обрабатывающих жидкостей, выбираемых для использования при обработке перфорационных туннелей и подаваемых устройством для подачи обрабатывающей жидкости, выбор характеристик выброса текучей среды на основе выбранной одной или нескольких обрабатывающих жидкостей и определенного типа ствола скважины при использовании накопленной информации, включающий выбор временной задержки между операцией перфорирования для образования туннелей в пласте и операцией выброса текучей среды и выбор объема камеры низкого давления для текучей скважинной среды для операции выброса.
34. Способ обработки скважины, включающий спуск инструментальной колонны на интервал ствола скважины, приведение в действие первой секции инструментальной колонны, содержащей корпус с размещенным в нем по меньшей мере одним взрывчатым веществом, посредством инициирования по меньшей мере одного взрывчатого вещества для создания отверстий в корпусе для открытия камеры внутри корпуса для скважинных текучих сред с целью создания локального переходного состояния депрессии на интервале скважины вблизи инструментальной колонны и приведение в действие второй секции инструментальной колонны для создания переходного состояния репрессии на интервале ствола скважины.
35. Способ по п.34, в котором инициирование по меньшей мере одного взрывчатого вещества включает инициирование детонирующего шнура.
36. Инструментальная колонна, содержащая первую секцию, содержащую носитель с камерой низкого давления и взрывными устройствами, приведение в действие которых обеспечивает образование отверстий в носителе, предназначенных для передачи давления в стволе скважины в камеру низкого давления носителя для создания переходного состояния депрессии на интервале ствола скважины вблизи инструментальной колонны, вторую секцию, приводимую в действие для создания переходного состояния репрессии на интервале ствола скважины, и третью секцию, имеющую устройство для подачи обрабатывающей текучей среды в туннели в пласте.
РИСУНКИ
|