|
|
(21), (22) Заявка: 2005109903/03, 05.04.2005
(24) Дата начала отсчета срока действия патента:
05.04.2005
(43) Дата публикации заявки: 10.08.2005
(46) Опубликовано: 27.05.2007
(56) Список документов, цитированных в отчете о поиске:
JP 10046752 A, 17.02.1998. JP 5195603 A, 03.08.1993. SU 953143 A1, 23.08.1982. RU 2096568 C1, 20.11.1997.
Адрес для переписки:
162618, Вологодская обл., г. Череповец-18, пр.Победы, 195, кв.160, Л.К.Павлушкову
|
(72) Автор(ы):
Пантелеев Илья Сергеевич (RU), Павлушков Алексей Константинович (RU), Изюмова Алида Константиновна (RU), Пантелеев Владимир Николаевич (RU)
(73) Патентообладатель(и):
Павлушков Алексей Константинович (RU)
|
(54) СПОСОБ НАРУЖНОГО ОТВОДА ТАЛЫХ И ДОЖДЕВЫХ ВОД С НАКЛОННОЙ КРЫШИ ЗДАНИЯ
(57) Реферат:
Изобретение относится к ремонту и строительству зданий, а именно к способам для круглогодичного сбалансированного наружного водоотвода дождевых и талых вод без нависания льда с наклонных и условно-плоских крыш зданий. Техническим результатом изобретения является невозможность продвижения талой воды по намерзающей капели после первоначального зарождения намерзания и прекращение роста нависающих намерзаний. Сущность изобретения состоит в том, что отвод воды производят самотеком через периметральные участки крыши, при этом на периметральных участках любой длины, ширины и конфигурации, в том числе на замкнутом периметре карнизных свесов, создают и при необходимости используют средства для временного накопления воды и средства для ее дозированного стока. 1 н. и 5 з.п. ф-лы, 6 ил.
Изобретение относится к ремонту и строительству зданий, а именно к способам для круглогодичного сбалансированного наружного водоотвода дождевых и талых вод без льдонависания с наклонных и условно-плоских крыш (как «холодных», так и «теплых») зданий различного назначения и различной высоты.
Известны способы организованного водоотведения с крыш, например, наружный водоотвод со сборными наклонными водосливами в наружные водосточные трубы. Они имеют общий недостаток – талая вода замерзает на холодных сборных водосливах и в водосточных трубах, при этом организованное водоотведение превращается в «неорганизованное», которое приводит к образованию на карнизах крыш любого наклона опасных наружных льдонависаний в виде сосулек и пристенных наледей (Эксплуатация жилых зданий. Справочное пособие. Москва, 1991 г., стр.181).
Известны водонаполненные кровли для охлаждения промышленных зданий южных зон (с интенсивной солнечной радиацией) глубиной до 15 сантиметров. Они предназначены для абсолютно других целей (без возможности их замерзания) и поэтому неприменимы для холодных климатических условий (Гармаш А.И. и др. Крыши и кровли зданий и сооружений. Справочник, Киев, 1988 г., стр.93).
Известны узлы переключения отвода талых вод на зимний период с наружного водостока в канализацию внутреннего водостока (Коломеец А.В., Ариевич Э.М. Справочное пособие техника-смотрителя зданий, Москва, Стройиздат, 1976 г., стр.174). Недостаток таких кровель в том, что используются два вида водостоков (наружные и внутренние).
Известно функционирование плоской крыши в режиме «крыша-ванна». При недостаточно совершенной конструкции каналов, водостоков или наружных выпусков для талой воды (особенно при случайном наборе условий теплоотдачи крыши и здания в целом и метеорологических условий) «талая вода, не имеющая выхода через закупоренные льдом водостоки, скапливается на крыше и при понижении наружной температуры обращается в лед. При последующем повышении наружной температуры лед снизу подтаивает… Подо льдом образуется «озеро» воды, воздействующее на кровлю (и приводящее к протечкам)… Описанный слой воды подо льдом в этой «крыше-ванне» простоял три зимних месяца и достигал глубины 10 сантиметров (М.С.Туполев. Плоские крыши жилых и общественных зданий. Государственное издательство литературы по строительству и архитектуре, Москва, 1952 г., стр.95, рис.81). При этом отмечается, что слой снега и льда, лежащий на плоской крыше, служит дополнительным утеплением, уменьшающим общее количество теплопотерь здания, т.е. становится саморегулирующей системой. Главный недостаток этого способа – в утяжелении крыши и возможных протечках.
Известно использование средств для дозированного стока воды, расположенных на карнизных свесах крыши, служащих для предотвращения образования наледи на карнизном свесе (патентный документ Японии №5-195603, 5Е04Д 1/30, 03.08.1993 г.) Это средство состоит из множества дозирующих отверстий, выполненных в карнизном свесе и сборного лотка для дозированных капель воды.
Недостатки этого средства в том, что в случае замерзания отверстий они не смогут в течение длительного времени оттаять даже при поступлении талой воды при переходном теплофизическом процессе, и талая вода пойдет на кромку карнизного свеса, например, под слоем или по слою ранее образовавшейся на карнизном свесе наледи, при этом начнется образование нависающих сосулек. Кроме того, даже при оттаявших отверстиях температура талой воды будет недостаточной, чтобы успеть (при переходных теплофизических процессах) скатиться по водосточному лотку, при этом она будет намерзать в лотке и образующаяся в лотке наледь может подняться к отверстиям с нижней стороны карнизного свеса и полностью закрыть отверстия уже на более длительное время. Поэтому фактическое удаление талой воды через такое средство в процентном отношении к общей массе снега, льда, воды, накапливающейся за холодный период года, будет незначительным.
Известен наиболее близкий к заявленному способ наружного отвода талых и дождевых вод с наклонной крыши без льдонависания в холодные периоды года, заключающийся в том, что отвод воды производят самотеком через замкнутые периметральные участки крыши, расположенные на разных высотных уровнях крыши, а на периметральных участках создают и при необходимости используют средства для временного накопления воды и средства для ее стока (патентный документ Японии №10-46752, 6Е04Д 3/00, 17.02.1998 г.).
Недостатки этого способа в том, что на всех высотных уровнях крыши, где создают средства для временного накопления и стока воды, значительно увеличиваются длины путей стока (вода вначале двигается перпендикулярно к направлению ската крыши и только, подойдя к сопряжению соседних скатов крыши, начинает сливаться по этим сопряжениям). Поэтому талая вода может повторно замерзать на средствах временного накопления и стока на очень больших площадях крыши, особенно при неблагоприятных теплофизических процессах. Таким образом, общее количество льда, снега и воды, задерживающейся на крыше, будет намного больше, чем на обычных крышах. Кроме того, при замерзании воды на многочисленных средствах временного накопления и стока (конструкция которых аналогична ранее описанным водоотводам со сборными наклонными водосливами в наружные водосточные трубы) талая вода из всех этих средств пойдет вниз, на кромки карнизных свесов, где будут образовываться нависающие сосульки.
Техническим результатом изобретения является невозможность продвижения талой воды по намерзающей капели после первоначального зарождения намерзания и прекращение роста нависающих намерзаний.
Указанный технический результат достигается в способе наружного отвода талых и дождевых вод с наклонной крыши здания тем, что карнизные свесы по всей длине их замкнутого периметра герметично соединяют с переливными карнизами, образуя накопительную емкость для талой или дождевой воды, а также для размещения снега и льда, при этом верхние кромки переливных карнизов устраивают на одной высотной отметке, а по всему периметру кровли в накопительной емкости выполняют сквозные отверстия относительно малых размеров для дозированного стока талой и дождевой воды.
Указанный технический результат достигается также тем, что в переливных карнизах выполняют верхние водосливные окна, которые соединяют с приемными воронками водосточных труб; накопительную емкость делят на отдельные бассейны посредством установки герметичных вертикальных перегородок, ориентированных по направлению уклона крыши; наружные поверхности накопительной емкости, соприкасающиеся с атмосферным воздухом, теплоизолируют; наружные поверхности накопительной емкости покрывают гидрофобным материалом; сквозные отверстия выполняют в горизонтальных частях накопительной емкости.
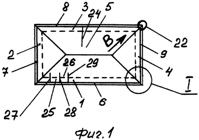
На фигуре 1-4 изображено осуществление способа по варианту №1 (на фиг.1 – вид на кровлю в плане; на фиг.2 – выноска I из фиг.1; на фиг.3 – сечение А-А на фиг.2; на фиг.4 – вид Б на фиг.2); на фиг.1, 2, 3, 5 – осуществление способа по варианту №2 (на фиг.5 – вид В на фиг.1); на фиг.6 – вариант формы поперечного сечения накопительной емкости для размещения снега, льда и воды.
В способе наружного отвода талых и дождевых вод с наклонной крыши здания создают и при необходимости используют различные технические средства и возможности для саморегулирования (или принудительного регулирования) стока талой воды, которые зависят от конкретных и постоянно меняющихся условий теплообмена между кровлей крыши, водоснеголедяной массой, находящейся на кровле, и атмосферным воздухом.
Такими техническими средствами и возможностями являются, например:
– возможность постепенного накопления образовавшейся талой воды без ее стока (например, в специально созданных емкостях любой формы на периметральных участках крыши) при благоприятных переходных тепловых процессах (например, в начальном периоде слабого подтаивания снега и льда, когда велика вероятность намерзания капели из стекающей талой воды);
– возможность дозированного стока накопленного запаса талой воды при благоприятных установившихся тепловых процессах, когда намерзание капели из стекающей талой воды становится невозможным (например, посредством саморегулирующегося или управляемого через техническую систему открывания отверстий в емкостях с накопленной водой, или посредством принудительного выкачивания накопленной талой воды из емкостей и т.п.);
– возможность прекращения дозированного стока талой воды при наступлении неблагоприятных переходных тепловых процессов (например, когда снова увеличивается вероятность намерзания капели или струй стекающей через технические средства и наружные водостоки талой воды);
– другие технические возможности (в том числе основанные на вышеперечисленных возможностях), позволяющие достигнуть указанный технический результат.
Здесь описываются два конкретных варианта осуществления способа наружного отвода талых и дождевых вод с наклонной крыши без льдонависания в холодные периоды года, основанные на вышеуказанных технических средствах и возможностях, а именно с саморегулированием стока талых и дождевых вод на замкнутом периметре карнизных свесов крыши, расположенных на одной высотной отметке (фиг.1-5).
По варианту №1 осуществления способа карнизные свесы 1, 2, 3, 4 наклонной кровли 5 по всей длине их замкнутого периметра герметично соединяют с переливными карнизами 6, 7, 8, 9, верхние кромки которых 10, 11 устраивают на одной высотной отметке 12 (фиг.1, 2, 3, 4).При этом по всему периметру кровли 5 образуют накопительную емкость 13 для талой или дождевой воды с максимально возможным уровнем 14 накопления воды, а также для размещения снега и ледяных валиков 15. В нижних частях накопительной емкости 13 выполняют сквозные дозирующие отверстия 16, 17 относительно малых размеров для дозированного стока талой и дождевой воды. Дозирующие отверстия 16 выполняют не только наклонно к ограждающим поверхностям накопительной емкости 13 (например, к карнизному свесу 1, как показано на фиг.3), а дозирующие отверстия 17 выполняют не только перпендикулярно к ограждающим поверхностям накопительной емкости 13 (например, к переливному карнизу 6, как показано на фиг.3), а в любом положении, определяемом формой специально созданных емкостей 13 (одна из таких форм показана на фиг.6). При этом дозирующие отверстия могут быть выполнены в специальных горизонтально расположенных деталях днища накопительной емкости, например, на дополнительной горизонтальной площадке, герметично соединяющей кромку карнизного свеса 1 и переливной карниз 6 (фиг.6), а оси дозирующих отверстий располагают по вертикали (для беспрепятственного, т.е. без растекания по нижним поверхностям днища емкости 13, отекания воды и уменьшения возможностей для первоначального намерзания капель талой воды). Здесь и далее под термином «герметичность» подразумевается не герметичность накопительной емкости 13 вообще, а герметичность именно всех соединяемых друг с другом деталей, образующих накопительную емкость 13, что гарантирует сток воды только через дозирующие отверстия, например, определенной формы (при негерметичности соединений деталей и наличия отверстий или щелей иной формы возможно намерзание сосулек).
При осуществлении способа по варианту №1 происходят следующие процессы.
При повышении наружной температуры, например при оттепелях, снеголедяные валики 15 на «холодной» крыше подтаивают и сверху и снизу, при этом талая вода скапливается в емкости 13, отчего тают ранее образовавшиеся слабые ледяные пробки в дозирующих отверстиях 16, 17 (подтаивание валиков 15 и отверстий 16, 17 может происходить и при отрицательной температуре при поступлении талой воды с «теплой» крыши с высоким коэффициентом теплопередачи).
Таким образом, посредством саморегулирующейся технической системы (т.е. без принудительного теплового или механического регулирования технической системы) происходит самораскрывание дозирующих отверстий относительно малых размеров, например, от микроскопических диаметров до макроскопических размеров до 6-10 миллиметров и выше. Отверстия могут быть наиболее оптимальные, в том числе щелевые, круглые, конусные и т.д. (в смысле «быстрого» как замерзания, т.е. «закрывания», так и «быстрого» оттаивания, т.е. «открывания»). Талая вода начинает стекать небольшими каплями или тонкими струйками, при этом возможность намерзания капели на сосульках отсутствует (т.к. вода не движется по сосулькам, для образования которых нет изначальных возможностей).
При понижении наружной температуры воздуха или при изменении условий теплопередачи в описываемой сложной технической системе «кровля 5 – накопительная емкость 13 – карнизный свес 1 – дозирующие отверстия 16, 17 – водоснеголедяная смесь 15 – атмосферный воздух» в некоторых отверстиях 16, 17 (а впоследствии, возможно, и во всех отверстиях) снова образуются слабые ледяные пробки, а талая вода снова замерзает в емкости 13 до следующего благоприятного переходного теплового процесса, не образуя нависающих с карниза сосулек и наледей.
При очень интенсивном снегольдотаянии и поступлении воды в емкость 13 (например, при высокой атмосферной температуре, теплом интенсивном дожде и др.) дозирующие отверстия 16, 17 не всегда смогут пропустить через себя весь объем стока, при этом емкость 13 переполняется, а вода переливается через верхние кромки 10, 11 переливных карнизов 6, 7, 8, 9, которые временно становятся периметральным карнизным водосливом. При этом из-за благоприятных теплофизических условий намерзания сосулек также не происходит.
Таким образом, снеголедяную массу 15 и талую воду как бы «скапливают» и «хранят» в накопительной емкости 13 до наступления благоприятных теплофизических условий, т.е. не допускают возможностей для образования льдонависаний с карнизов, при этом переливными карнизами 6, 7, 8, 9 надежно удерживают увеличенную снеголедяную массу 15 от сползания с крыши при подтаиваниях (постепенно полностью переводя снег и лед в другое агрегатное состояние, т.е. в воду). Аналогичные процессы происходят в условно-наклонных (плоских) крышах с внутренними водостоками, наиболее распространенных в настоящее время.
Таким образом, технико-экономические преимущества предлагаемого способа в том, что он является высокоэффективным переходным способом стока талых и дождевых вод между способами наружного водостока с наклонных крыш и способами внутреннего водостока с плоских крыш.
Для уменьшения отрицательных последствий вышеописанного переполнения емкости 13 на крышах большой площади высоких зданий (например, жилых, производственных) предлагается улучшенный вариант №2 осуществления способа (фиг.1, 2, 3, 5).
По варианту №2 осуществления способа дополнительно к вышеописанным действиям по варианту №1 используют возможности обычного зарегулированного наружного водостока (например, используют пропускную способность водосточных труб с приемными воронками). При этом дополнительно перераспределяют различные объемы водостока по различным водосточным системам (фиг.5).
Через определенные расстояния в переливных карнизах 6, 7, 8, 9 выполняют верхние водосливные окна 18 с водосливным порогом 19 на высотной отметке 20,которая расположена выше высотной отметки 21 нижних кромок переливных карнизов 6, 7, 8, 9, но ниже высотной отметки их верхних кромок 10, 11. Водосливные окна 18 соединяют с приемными воронками 22 водосточных труб 23 наружного водостока.
При осуществлении способа по варианту №2 происходят следующие дополнительные процессы(в дополнение к вышеописанным процессам по варианту №1), фиг.1, 2, 3, 5.
Когда дозирующие отверстия 16, 17 не справляются с пропуском поступающей в емкость 13 воды, емкость 13 наполняется только до уровня водосливного порога 19, после чего происходит сток воды через верхние водосливные окна 18, приемные воронки 22 и водосточные трубы 23. Поэтому вышеописанное в способе по варианту №1 временное превращение переливных карнизов в периметральный карнизный водослив (т.е. переполнение емкости 13) происходит значительно реже (например, только при катастрофических летних ливнях).
Таким образом, технико-экономические преимущества предлагаемого способа по варианту №2 в том, что он может быть легко приспособлен к существующим системам наружного водостока.
Возможны также многочисленные усовершенствования описанных вариантов №1, №2 способа.
Например, накопительную емкость 13 снабжают длинными пластинами, стержнями, брусками и т.п. предметами 24 из материалов с различными коэффициентами теплоусвоения, теплового расширения, значения которых отличаются от значений соответствующих коэффициентов снеголедяной смеси 15, накапливающейся в емкости 13 (фиг.1, 2). При этом по границам раздела двух сред в снеголедяной смеси 15 при изменении теплофизических условий возникают микроскопические пути (пустоты), по которым возможно проникновение и распространение талой воды.
Кроме того, при длительном перерыве в наступлении благоприятных теплофизических процессов возможно излишнее (угрожающее) накопление снеголедяной массы 15, например, при недостаточном объеме накопительной емкости 13 (фиг.3). В таком случае излишне накопившуюся снеголедяную массу частично удаляют любыми известными способами (например, механическим способом, как при угрожающем нависании с карнизов сосулек и наледей).
Как при простых, так и сложных профилях наклонных крыш трудно создать одну большую периметральную емкость 13 для накопления и перераспределения талой воды. Поэтому возможно уточнение способа тем, что накопительную емкость 13 делят на отдельные бассейны 25, 26, например, установкой герметичных вертикальных перегородок 27, 28, 29 (фиг.1).
Еще одно усовершенствование в том, что наружные поверхности емкости 13, например, переливных карнизов 6, 7, 8, 9, теплоизолируют от соприкосновения с атмосферным воздухом (для ускорения отслоения льда при таянии).
Кроме того, теплоизолируют также наружные поверхности средств для дозированного удаления воды (для уменьшения возможности их замерзания).
Возможно еще одно усовершенствование способа, при котором наружные поверхности средств для дозированного удаления воды (например, горизонтально расположенные части емкости 13 или бассейнов 25, 26 с дозирующими отверстиями) покрывают гидрофобным материалом, например, парафином (для невозможности растекания капель воды по наружным поверхностям и их замерзания).
Все эти усовершенствования применимы для обоих вышеописанных вариантов №1, №2 способа.
Технико-экономические преимущества вышеописанных усовершенствований способов по вариантам №1, №2 в том, что они улучшают практическое применение способа в сложных и многообразных старых конструкциях крыш без значительных затрат, а также могут быть использованы и в новом проектировании и строительстве.
Формула изобретения
1. Способ наружного отвода талых и дождевых вод с наклонной крыши здания, в котором отвод воды производят самотеком через переливные карнизы, расположенные по периметру крыши, отличающийся тем, что карнизные свесы по всей длине их замкнутого периметра герметично соединяют с переливными карнизами, образуя накопительную емкость для талой или дождевой воды, а также для размещения снега и льда, при этом верхние кромки переливных карнизов устраивают на одной высотной отметке, а по всему периметру кровли в накопительной емкости выполняют сквозные отверстия относительно малых размеров для дозированного стока талой и дождевой воды.
2. Способ наружного отвода талых и дождевых вод по п.1, отличающийся тем, что в переливных карнизах выполняют верхние водосливные окна, которые соединяют с приемными воронками водосточных труб.
3. Способ наружного отвода талых и дождевых вод по п.1, отличающийся тем, что накопительную емкость делят на отдельные бассейны посредством установки герметичных вертикальных перегородок, ориентированных по направлению уклона крыши.
4. Способ наружного отвода талых и дождевых вод по п.1, отличающийся тем, что наружные поверхности накопительной емкости, соприкасающиеся с атмосферным воздухом, теплоизолируют.
5. Способ наружного отвода талых и дождевых вод по п.1, отличающийся тем, что наружные поверхности накопительной емкости покрывают гидрофобным материалом.
6. Способ наружного отвода талых и дождевых вод по п.1, отличающийся тем, что сквозные отверстия выполняют в горизонтальных частях накопительной емкости.
РИСУНКИ
MM4A – Досрочное прекращение действия патента СССР или патента Российской Федерации на изобретение из-за неуплаты в установленный срок пошлины за поддержание патента в силе
Дата прекращения действия патента: 06.04.2008
Извещение опубликовано: 20.04.2010 БИ: 11/2010
|
|