|
|
(21), (22) Заявка: 2005132790/03, 25.10.2005
(24) Дата начала отсчета срока действия патента:
25.10.2005
(46) Опубликовано: 27.05.2007
(56) Список документов, цитированных в отчете о поиске:
WO 9429496 А, 22.12.1994. SU 1620555 A1, 15.01.1991. RU 2019654 C1, 15.09.1994. WO 03/095393 A1, 20.11.1993. WO 2005/035831 A1, 21.04.2005. US 2004238376 A1, 02.12.2004.
Адрес для переписки:
123308, Москва, пр-т маршала Жукова, 6, стр.2, ЗАО “Триада-Холдинг”
|
(72) Автор(ы):
Шилин Андрей Александрович (RU), Дымбренов Тимур Николаевич (RU), Немков Сергей Александрович (RU)
(73) Патентообладатель(и):
ЗАО “Триада-Холдинг” (RU)
|
(54) СПОСОБ ПРОТЕКТОРНОЙ ЗАЩИТЫ ЖЕЛЕЗОБЕТОННЫХ КОНСТРУКЦИЙ
(57) Реферат:
Изобретение относится к области строительства, а именно к способам протекторной защиты железобетонных конструкций, применяемым при возведении таких конструкций, а также при проведении ремонтных работ на ранее сооруженных железобетонных конструкциях. Способ протекторной защиты железобетонных конструкций заключается в изготовлении, по крайней мере, одного протекторного элемента в виде анода из цинка или цинкового сплава, размещенного в оболочке из отвержденной бетонной смеси и покрытого слоем тканого или нетканого текстильного полотна. Указанный протекторный элемент размещают в предварительно подготовленном канале в железобетонной конструкции, а затем осуществляют закрепление соединительных элементов на элементах арматуры и производят заполнение канала бетонной смесью. Бетонная смесь для изготовления оболочки анода содержит следующие компоненты, мас.%: цемент 13-17; вспученный песок 41-57; гидроксид натрия или калия 8-10; нитрат натрия или калия, или кальция 0,8-3; вода остальное. Технический результат: увеличение срока действия протекторной защиты, улучшение прочностных характеристик протекторного элемента и его связи с железобетонной конструкцией. 8 з.п. ф-лы, 1 табл., 1 ил.
Изобретение относится к области строительства, а именно к способам протекторной защиты железобетонных конструкций, применяемым при возведении таких конструкций, а также при проведении ремонтных работ на ранее сооруженных железобетонных конструкциях.
В настоящее время известны различные способы для гальванической защиты железобетонных конструкций. Одним из таких способов является размещение в конструкции металлического сердечника, окруженного металлическим трубчатым элементом, вокруг которого расположены последовательно слой электропроводного бетона, коксовой мелочи и тонкостенный металлический кожух (см. SU №1339164, М. кл. С23F 13/00, 29.09.87).
Недостатком этого способа является высокая металлоемкость конструкции и сложность ее изготовления.
Наиболее близким по технической сущности к предлагаемому способу протекторной защиты железобетонной конструкции является способ, включающий изготовление, по крайней мере, одного протекторного элемента в виде анода из цинка или цинкового сплава, размещенного в оболочке из отвержденной бетонной смеси, с соединительными элементами для связи анода с элементами арматуры, размещение, по крайней мере, одного протекторного элемента в предварительно подготовленном канале в железобетонной конструкции, закрепление соединительных элементов на элементах арматуры, заполнение канала бетонной смесью и ее отверждение (патент № WO 9429496, опублик. 06.06.1994).
Недостатком этого способа является сложность его применения, особенно при проведении ремонтных работ, ввиду относительно больших размеров электрода, а также значительное накопление с течением времени трудно растворимых продуктов реакции на поверхности анода, что ведет к снижению уровня катодной защиты арматурных элементов железобетона.
Изобретение направлено на решение задачи по созданию способа протекторной защиты железобетонных конструкций, позволяющего просто и надежно производить установку усовершенствованного протектора в теле железобетонных конструкций, как вновь строящихся, так и подлежащих ремонту.
Технический результат, который может быть получен при использовании способа, заключается в увеличении срока действия протекторной защиты при повышении за счет стабилизации величины потенциала, эффективности протекторной защиты во времени, улучшении прочностных характеристик протекторного элемента и его связи с железобетонной конструкцией.
Поставленная задача решена за счет того, что в способе протекторной защиты железобетонной конструкции, включающем изготовление, по крайней мере, одного протекторного элемента в виде анода из цинка или цинкового сплава, размещенного в оболочке из отвержденной бетонной смеси, с соединительными элементами для связи анода с элементами арматуры, размещение, по крайней мере, одного протекторного элемента в предварительно подготовленном канале в железобетонной конструкции, закрепление соединительных элементов на элементах арматуры, заполнение канала бетонной смесью и ее отверждение, оболочку анода дополнительно покрывают слоем тканого или нетканого текстильного полотна, а бетонная смесь для изготовления указанной оболочки содержит следующие компоненты, мас.%:
| цемент |
13-17 |
| вспученный песок |
41-57 |
| гидроксид натрия или калия |
8-10 |
| нитрат натрия или калия, или кальция |
0,8-3 |
| вода |
остальное |
Предпочтительно в качестве вспученного песка использовать вспученный перлитовый или вермикулитовый, или керамзитовый песок.
Целесообразно дополнительно вводить в бетонную смесь для заполнения канала гидроксид лития в количестве до 10 мас.% сверх 100% смеси.
Кроме того, целесообразно выполнять анод с контуром поперечного сечения, образованным ломаной линией.
Предпочтительно выполнять анод из цинка высокой степени очистки.
Кроме того, целесообразно выполнять анод из сплава цинка с алюминием, при содержании алюминия в сплаве 0,01-5 мас.%.
Также целесообразно выполнять анод из сплава цинка с кремнием, при содержании кремния в сплаве 0,01-5 мас.%.
Кроме того, целесообразно выполнять анод из сплава цинка с кадмием, при содержании кадмия в сплаве 0,01-5 мас.%.
Предпочтительно при проведении ремонтных работ, по крайней мере, один канал подготавливать удалением бетона, поврежденного хлоридами, производить очистку элементов арматуры от продуктов коррозии, а после размещения протекторного элемента и закрепления его соединительных элементов на элементах арматуры производить замену поврежденного бетонного слоя конструкции и заполнять оставшуюся незаполненной часть образованного канала.
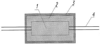
Существо изобретения поясняется чертежом, на котором показано поперечное сечение протекторного элемента.
Предлагаемый способ протекторной защиты железобетонной конструкции осуществляется следующим образом. Предварительно производится изготовление протекторного элемента, который состоит из анода 1, изготовленного из цинка или цинкового сплава, оболочки 2, представляющей собой отвержденную бетонную смесь, и дополнительного покрытия 3 в виде слоя тканого или нетканого текстильного полотна. Для связи анода 1 с арматурой железобетонной конструкции (на чертеже не показана) используют соединительные элементы 4.
Бетонная смесь для изготовления оболочки протекторного элемента была подобрана опытным путем и представляет собой по существу щелочной активатор, содержащий определенное количество гидроксида натрия или гидроксида калия. Кроме того, экспериментально было установлено, что эффективность протекторной защиты повышается при добавлении в бетонную смесь определенного количества нитратов.
Для повышения эффективности работы протекторного элемента за счет улучшения условий поступления и сохранения влаги вокруг анода, что необходимо для обеспечения стабильного протекания тока и функционирования протекторного элемента, в бетонную смесь, из которой выполняют оболочку, включают вспученный песок, обладающий большей поверхностной площадью, а также покрывают оболочку слоем тканого или нетканого текстильного полотна.
В наиболее предпочтительном варианте бетонная смесь, из которой выполняется оболочка протекторного элемента, содержит следующие компоненты, мас.%:
| цемент |
13-17 |
| вспученный песок |
41-57 |
| гидроксид натрия или калия |
8-10 |
| нитрат натрия или калия, или кальция |
0,8-3 |
| вода |
остальное |
В качестве вспученного песка с высокой пористостью и, следовательно, с увеличенной поверхностной площадью наиболее целесообразно использовать вспученный перлитовый или вермикулитовый, или керамзитовый песок.
Изготовленный протекторный элемент устанавливают в теле железобетонной конструкции, подлежащей протекторной защите. Для этого в конструкции выполняют канал, в котором размещают протекторный элемент, который затем посредством соединительных элементов 4 соединяют с элементами металлической арматуры железобетонной конструкции, подлежащими протекторной защите. После установки и присоединения протекторного элемента, канал, в котором он установлен, заполняют бетонной смесью. При этом эффективность протекторной защиты повышается (см. таблицу), если дополнительно вводить в бетонную смесь для заполнения канала гидроксид лития в количестве до 10 мас.% сверх 100% смеси.
В таблице приведены экспериментальные данные, показывающие изменение величины потенциала (мВ) во времени при использовании в способе протекторной защиты протекторного элемента, выполненного по изобретению.
Для сравнения приведены данные для протекторных элементов, оболочка которых либо изготовлена из бетонной смеси, не содержащей добавок нитратов, но содержащей щелочной активатор в виде 10% добавки гидроксида натрия, либо не покрыта слоем тканого или нетканого текстильного полотна. Один из образцов дополнительно был покрыт бетонной смесью с добавкой 2% LiOH.
Данные таблицы подтверждают, что только использование бетонной смеси охарактеризованного в формуле состава, совместно с размещением на оболочке тканого или нетканого текстильного полотна, обеспечивает достаточную стабильность величины потенциала во времени, а следовательно, стабильную протекторную защиту строительной конструкции.
| ТАБЛИЦА |
| № п/п |
Потенциал, мВ |
Время испытан. (суток) |
| NaNO3+КОН+слой текстильного полотна |
KNO3+NaOH+слой текстильного полотна |
Са(NO3)2+КОН+слой текстильного полотна |
KNO3+NaOH+слой текстильного полотна+бетонная смесь с добавкой 2% LiOH |
KNO3+NaOH Без полотна |
Без добавок |
| 1 |
999 |
999 |
999 |
999 |
999 |
999 |
1 |
| 2 |
999 |
999 |
999 |
999 |
999 |
999 |
2 |
| 3 |
999 |
999 |
999 |
999 |
981 |
961 |
4 |
| 4 |
999 |
999 |
999 |
999 |
978 |
908 |
6 |
| 5 |
999 |
999 |
999 |
999 |
974 |
899 |
8 |
| 6 |
989 |
986 |
984 |
994 |
972 |
870 |
10 |
| 7 |
986 |
985 |
981 |
991 |
969 |
860 |
16 |
| 8 |
984 |
984 |
979 |
989 |
967 |
830 |
19 |
| 9 |
984 |
982 |
978 |
987 |
963 |
827 |
24 |
| 10 |
981 |
980 |
974 |
986 |
959 |
816 |
29 |
| 11 |
979 |
977 |
971 |
985 |
955 |
794 |
32 |
| 12 |
977 |
974 |
968 |
983 |
951 |
779 |
35 |
| 13 |
974 |
972 |
964 |
980 |
946 |
744 |
37 |
| 14 |
972 |
969 |
961 |
978 |
940 |
724 |
40 |
| 15 |
970 |
967 |
958 |
977 |
932 |
703 |
44 |
| 16 |
967 |
964 |
955 |
973 |
925 |
683 |
47 |
| 17 |
965 |
962 |
951 |
971 |
921 |
662 |
50 |
| 18 |
963 |
959 |
948 |
969 |
915 |
641 |
54 |
| 19 |
960 |
956 |
945 |
967 |
912 |
621 |
57 |
| 20 |
958 |
954 |
941 |
966 |
906 |
600 |
60 |
| 21 |
956 |
951 |
938 |
965 |
901 |
579 |
64 |
| 22 |
953 |
949 |
935 |
962 |
894 |
559 |
67 |
| 23 |
951 |
946 |
932 |
958 |
889 |
538 |
70 |
| 24 |
949 |
944 |
928 |
955 |
883 |
518 |
74 |
| 25 |
946 |
941 |
925 |
951 |
877 |
497 |
77 |
| 26 |
944 |
938 |
922 |
950 |
869 |
476 |
80 |
| 27 |
942 |
936 |
918 |
948 |
861 |
456 |
83 |
| 28 |
939 |
933 |
915 |
945 |
857 |
435 |
87 |
Для интенсификации процесса защиты целесообразно увеличить площадь активной поверхности сердечника, но это ведет к увеличению габаритов и, соответственно, увеличению трудоемкости при установке протекторного элемента, в особенности, когда для этого необходимо сверлить каналы или удалять нарушенный бетон при ремонте конструкции. Поэтому для увеличения контактной поверхности анода 1, его целесообразно выполнять такой формы, чтобы контур поперечного сечения был образован попеременным чередованием выступов и впадин, т.е. имел как можно больший периметр. При этом выступы и впадины могут быть соединены как прямыми отрезками, так и отрезками кривых различной формы.
Как правило, рекомендуется выполнять анод из цинка высокой степени очистки. Однако, такой цинк достаточно дорог. Испытания показали эффективность использования протекторного элемента с анодом из сплава цинка с алюминием, или с кремнием, или с кадмием при содержании этих компонентов в сплаве от 0,01 до 5 мас.%.
В тех случаях, когда протекторная защита применяется при проведении ремонтных работ, первоначально производят удаление бетона, поврежденного хлоридами. Затем очищают элементы арматуры от продуктов коррозии, а после размещения протекторного элемента и закрепления его соединительных элементов на элементах арматуры производят замену поврежденного бетонного слоя конструкции и заполнение оставшейся не заполненной части образованного при этом канала.
Формула изобретения
1. Способ протекторной защиты железобетонных конструкций, включающий изготовление, по крайней мере, одного протекторного элемента в виде анода из цинка или цинкового сплава, размещенного в оболочке из отвержденной бетонной смеси, с соединительными элементами для связи анода с элементами арматуры, размещение, по крайней мере, одного протекторного элемента в предварительно подготовленном канале в железобетонной конструкции, закрепление соединительных элементов на элементах арматуры, заполнение канала бетонной смесью и ее отверждение, отличающийся тем, что оболочку анода дополнительно покрывают слоем тканого или нетканого текстильного полотна, а бетонная смесь для изготовления указанной оболочки содержит следующие компоненты, мас.%:
| Цемент |
13-17 |
| Вспученный песок |
41-57 |
| Гидроксид натрия или калия |
8-10 |
| Нитрат натрия, или калия, или кальция |
0,8-3 |
| Вода |
Остальное |
2. Способ протекторной защиты по п.1, отличающийся тем, что в качестве вспученного песка используют вспученный перлитовый, или вермикулитовый, или керамзитовый песок.
3. Способ протекторной защиты по п.1, отличающийся тем, что в бетонную смесь для заполнения канала дополнительно вводят гидроксид лития в количестве до 10 мас.% сверх 100% смеси.
4. Способ протекторной защиты по п.1, отличающийся тем, что анод выполняют с контуром поперечного сечения, образованным ломаной линией.
5. Способ протекторной защиты по п.1, отличающийся тем, что анод выполняют из цинка высокой степени очистки.
6. Способ протекторной защиты по п.1, отличающийся тем, что анод выполняют из сплава цинка с алюминием при содержании алюминия в сплаве 0,01-5 мас.%.
7. Способ протекторной защиты по п.1, отличающийся тем, что анод выполняют из сплава цинка с кремнием.
8. Способ протекторной защиты по п.1, отличающийся тем, что анод выполняют из сплава цинка с кадмием.
9. Способ протекторной защиты по п.1, отличающийся тем, что при проведении ремонтных работ, по крайней мере, один канал подготавливают удалением бетона, поврежденного хлоридами, очищают элементы арматуры от продуктов коррозии, а после размещения протекторного элемента и закрепления его соединительных элементов на элементах арматуры производят замену поврежденного бетонного слоя конструкции и заполняют оставшуюся незаполненной часть образованного при этом канала.
РИСУНКИ
|
|