|
|
(21), (22) Заявка: 2005125464/02, 11.08.2005
(24) Дата начала отсчета срока действия патента:
11.08.2005
(46) Опубликовано: 27.05.2007
(56) Список документов, цитированных в отчете о поиске:
RU 2061092 C1, 27.05.1996. RU 2060494 C1, 10.03.1995. SU 1832134 A1, 07.08.1993. SU 1832131 A1, 07.08.1993. US 5501740 A, 26.03.1996. JP 57012032 A, 21.01.1982.
Адрес для переписки:
142190, Московская обл., г. Троицк, ЦФП ИОФ РАН для ООО “Оптосистемы”, А.К. Станкевичу
|
(72) Автор(ы):
Конов Виталий Иванович (RU), Ральченко Виктор Григорьевич (RU), Сергейчев Константин Федорович (RU), Хаваев Валерий Борисович (RU), Вартапетов Сергей Каренович (RU), Атежев Владимир Васильевич (RU)
(73) Патентообладатель(и):
ООО “Оптосистемы” (RU)
|
(54) СВЧ ПЛАЗМЕННЫЙ РЕАКТОР
(57) Реферат:
Изобретение относится к металлообработке, в частности к СВЧ плазменному реактору, и может найти применение в машиностроении и металлургии при изготовлении изделий с покрытиями, полученными способом плазменного парофазного химического осаждения пленок. СВЧ плазменный реактор содержит осесимметричную герметичную рабочую камеру в виде цилиндра, соосно расположенную в центральной его части платформу, образующую с внутренней торцевой стороной рабочей камеры радиальный волновод, центральная часть которого является резонатором, источник СВЧ энергии, прямоугольный и цилиндрический коаксиальный волноводы, диэлектрическое окно, герметично отделяющее рабочую камеру, и конусообразный коаксиальный волновод. Основание внутреннего конуса конусообразного коаксиального волновода сопряжено с платформой, основание его внешнего конуса в общей плоскости с основанием его внутреннего конуса – с цилиндрической стенкой рабочей камеры. Диэлектрическое окно выполнено из прозрачного для СВЧ волны диэлектрика и установлено в коаксиальном конусообразном волноводе соосно с ним. В СВЧ реакторе максимально согласован волноводный тракт на пути к плазме СВЧ разряда, обеспечены минимальные потери энергии в тракте и обеспечено управление температурой подложки при использовании дополнительного источника энергии. 5 з.п. ф-лы, 3 ил.
Предлагаемое техническое решение относится к области СВЧ техники, в частности к СВЧ реакторам плазменного парофазного химического осаждения пленок или покрытий различных материалов на подложках, в частности, для получения углеродных (алмазных) пленок, покрытий.
Известен СВЧ плазменный реактор (патент США №5501740), в котором в области резонатора установлен плоский электрод в форме круглого диска, на рабочей стороне которого образуется плазма СВЧ разряда. СВЧ энергия подводится с обратной стороны электрода, образующей с корпусом камеры радиальный СВЧ волновод. Диэлектрическое окно, герметизирующее разрядную камеру, расположено между обратной стороной электрода и корпусом камеры. СВЧ энергия подводится к радиальному волноводу коаксиальным цилиндрическим волноводом. Такое соединение коаксиального и радиального волноводов является несогласованным по волновому сопротивлению, при этом часть СВЧ мощности отражается к источнику. Плазма СВЧ разряда, покрывающая подложку, является нагрузкой для всего тракта и в ней поглощается подводимая через тракт СВЧ мощность. В режиме осаждения пленок параметры рабочей смеси газов, ее состав и давление выбираются с расчетом полного поглощения. Однако в пусковом режиме, когда необходимо поджечь разряд, используются облегченные условия для пробоя при пониженном давлении газа, также может быть использована смесь иного состава. В пусковом режиме плазма разряда может частично поглощать СВЧ мощность, что неизбежно ведет к отражению части мощности к источнику. Плохое согласование между элементами тракта (между коаксиальным волноводом и радиальным волноводом) приводит к интерференции отраженных сигналов от самой плазмы и от несогласованного стыка волноводов, что, в свою очередь, может приводить к нежелательным резонансам в тракте и к непроизводительным потерям СВЧ мощности. Чтобы вернуть часть отраженной СВЧ мощности в плазму, в известном техническом решении в волноводный тракт введен регулирующий элемент, а именно электромеханический трехштыревый трансформатор сопротивлений, управляемый компьютером. При изменении режимов работы реактора он подавляет отраженную к СВЧ генератору мощность, но не устраняет саму несогласованность и потери СВЧ мощности в тракте из-за резонансов. Кроме того, что тракт не согласован на стыке волноводов, диэлектрическое окно, отделяющее вакуумный объем реактора от остальной волноводной части системы, сообщающейся с атмосферой, вносит дополнительное отражение СВЧ волны вследствие нормального падения ТЕМ волны радиальной линии, сформированной под платформой, на цилиндрическую поверхность окна. Отражение части волны от окна также приводит к потерям СВЧ мощности из-за резонансов в тракте.
Указанные недостатки в конечном счете ведут к снижению эффективности передачи энергии в плазму, потерям мощности в волноводном тракте из-за неконтролируемых резонансов и, как следствие, к перегревам элементов волноводного тракта.
В известном техническом решении из-за ступенчатого стыка коаксиальной линии с платформой отсутствует возможность размещения устройств независимого дополнительного подогрева подложки с целью управления температурой рабочей поверхности электрода.
Задачей данного изобретения является создание СВЧ плазменного реактора с максимально согласованным волноводным трактом, на пути от волноводно-коаксиального преобразователя к плазме СВЧ разряда, с минимальными потерями СВЧ энергии в тракте, а также с возможностью управления температурой подложки при использовании дополнительного источника нагрева.
СВЧ плазменный реактор содержит осесимметричную герметичную рабочую камеру, внутри которой соосно с ней установлена плоская платформа, образующая с внутренней торцевой поверхностью рабочей камеры радиальный СВЧ волновод, центральная часть которого заканчивается резонатором, источник СВЧ энергии, соединенный с рабочей камерой СВЧ линией, содержащей прямоугольный волновод и коаксиальный цилиндрический волновод, диэлектрическое окно в виде отрезка цилиндрической трубы, герметично отделяющее рабочую камеру, цилиндрический коаксиальный волновод соединен с платформой и рабочей камерой коаксиальным конусообразным волноводом, основание внутреннего конуса волновода сопряжено с платформой, а основание внешнего конуса в общей плоскости с основанием внутреннего конуса сопряжено с цилиндрической стенкой камеры, причем геометрические пропорции конусообразного волновода выбраны из соотношения: ln a/b=ln tg /t =ln A/B=H/B, где и – углы внешнего и внутреннего конусов, имеющие общую вершину, а и b – внешний и внутренний радиусы коаксиального волновода, А – внутренний радиус цилиндрической части камеры, В – радиус платформы, Н – расстояние от платформы до внутренней поверхности рабочей камеры, диэлектрическое окно установлено в коаксиальном конусообразном волноводе соосно с ним, причем средний угол падения СВЧ волны на диэлектрическое окно не более чем на 20° отличается от угла Брюстера для материала диэлектрического окна в полосе возбуждаемых колебаний.
Соединение коаксиального волновода с рабочей камерой коаксиальным конусообразным волноводом, так что платформа сопряжена с основанием внутреннего конуса волновода, а боковая цилиндрическая стенка камеры реактора сопряжена с основанием внешнего конуса волновода в общей плоскости оснований обоих конусов, что определяется соотношениями: ln a/b=ln (tg /tg )=ln А/В=Н/В, где и – углы внешнего и внутреннего конусов, имеющие общую вершину, а и b – внешний и внутренний радиусы цилиндрического коаксиального волновода, А – внутренний радиус цилиндрической части камеры, В – радиус платформы, Н – расстояние от платформы до внутренней поверхности рабочей камеры, существенно, так как обеспечивает эффективную и широкополосную передачу СВЧ энергии от источника к плазме, формирующейся над поверхностью центральной части платформы. Данная геометрия обеспечивает плавный переход с постоянным волновым сопротивлением в любом сечении перехода, равным волновому сопротивлению радиальной линии на ее краю. Это способствует снижению потерь СВЧ мощности в тракте. Достигаемое лучшее согласование позволяет зажигать разряд при пониженной мощности СВЧ источника. Такой способ подвода СВЧ энергии при сохранении осевой симметрии структуры позволяет избежать возникновения высших асимметричных типов волн в радиальной линии и обеспечить симметрию плазменного образования и стабильные условия его поддержания. Стабильные условия горения плазмы положительно влияют на однородность получаемой пленки. Кроме того, согласованная система подвода СВЧ энергии облегчает условия поддержания разряда при изменении режимов от зажигания до перехода в стационарный режим осаждения без применения управляемой от компьютера сложной дорогостоящей системы согласования с помощью электромеханического трансформатора сопротивлений.
Средний угол падения волны в коническом волноводе на диэлектрическое окно, равный (90°-( + )/2), близок к углу Брюстера для материала диэлектрического окна в выбранной частотной полосе колебаний. В любом сечении, проходящем через ось симметрии, волна поляризована в плоскости падения и при прохождении диэлектрического окна под углами, близкими к углу Брюстера, определенному для плоской волны, практически не отражается и проходит через окно. Это дополнительный фактор, который способствует эффективной передаче СВЧ мощности в плазму разряда без отражений.
Конический волновод позволяет использовать пространство между платформой и внутренним конусом для размещения дополнительных устройств управления температурой поверхности платформы, и через нее – температурой подложкодержателя и самой подложки.
Платформа содержит внутренний цилиндрический элемент высотой в четвертую часть длины волны возбуждаемых колебаний, установленный с зазором по периметру. Это существенно, так как разряд формируется над подложкой, расположенной на подложкодержателе, а зазор, играющий роль теплового сопротивления, позволяют снизить теплопередачу в охлаждаемую водой периферическую часть платформы. При этом большая масса подложкодержателя обеспечивает более высокую стабильность температуры подложкодержателя, что способствует большей однородности осаждаемой пленки.
Внутри подложкодержателя выполнено углубление, над которым сформирована тонкая перегородка, под перегородкой расположено средство регулирования температуры поверхности подложкодержателя. Тонкостенная перегородка хорошо передает тепло в вертикальном направлении, а средство регулирования температуры поверхности подложкодержателя, на который устанавливают подложку, обеспечивает независимо от подводимой к разряду СВЧ мощности, температуру, необходимую для получения пленки с оптимальной скоростью роста. Кроме того, тонкостенная перегородка, защищенная дроссельным соединением, плохо проводит тепло в радиальном направлении, это позволяет исключить нагрев периферической части платформы и элементов герметизации в месте установки диэлектрического окна.
В верхней части камеры реактора соосно с ним встроен отрезок запредельного волновода круговой симметрии с оптическим окном в его торце. Оптическое окно выполнено для обзора подложки и установки устройства измерения температуры в зоне резонатора. СВЧ волна не проходит в область запредельного волновода, оптическое окно находится вне области действия СВЧ волны, это позволяет использовать это окно как для наблюдения за процессом нанесения пленки, так и для установки устройства измерения температуры в зоне резонатора, не влияя на процесс нанесения пленки.
В оптическом окне запредельного волновода установлено устройство измерения температуры в зоне резонатора, которое через контроллер связано со средством регулирования температуры подложкодержателя. Устройство измерения температуры в зоне резонатора и его связь со средством управления температуры подложкодержателя через контроллер позволяет добиться стабильных условий роста пленки.
Устройство регулирования температуры выполнено в виде электрического нагревателя. Это позволяет относительно быстро корректировать температуру поверхности подложкодержателя.
Техническим результатом данного технического решения является создание эффективного и экономичного СВЧ плазменного реактора, с дополнительным источником стабилизации температуры подложки, позволяющего получать пленки высокого качества.
Описание основных чертежей.
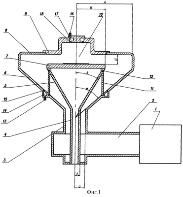
На фиг.1. показано сечение предлагаемого плазменного реактора.
На фиг.2 схематически показано сечение центральной части платформы с установленным в платформе цилиндрическим элементом – массивным подложкодержателем.
На фиг.3 схематически показано сечение центральной части СВЧ плазменного реактора с подложкодержателем, с тонкостенной перегородкой и цилиндрической полостью, в которой установлен нагреватель постоянного тока.
На фиг.1 платформа 7 плазменного реактора установлена на основании внутреннего конуса 5 коаксиального конусообразного волновода. Конусообразный волновод образован внешним 6 и внутренним 5 конусами с углами и соответственно, имеющими общую вершину, и изготовлен из металла. Конусообразный волновод соединен с коаксиальным цилиндрическим волноводом 3, 4, внешний и внутренний радиусы которого равны а и b соответственно. Внутренний радиус корпуса 8 в плоскости платформы равен А. Радиус платформы 7 равен В. Расстояние от платформы 7 до крышки корпуса 9 равно Н. Платформа 7 образует с крышкой корпуса 9 радиальный СВЧ волновод, резонатор 10 образован цилиндрической полостью в крышке корпуса плазменного реактора 9 и центральной частью платформы 7. Диэлектрическое окно 11 герметично установлено в коаксиальном волноводе через уплотнители 12. Штуцер 13 служит для откачки газа из герметичного корпуса через кольцевой коллектор 14 и отверстия 15, равномерно распределенные по периметру коллектора 14. Штуцер 16 служит для подачи рабочей газовой смеси в область резонатора 10 через кольцевой коллектор 17 и отверстия 18.
Источник питания СВЧ 1 соединен с коаксиальным волноводом 3, 4 прямоугольным волноводом 2.
На центральную часть платформы 7 устанавливают подложку.
Через штуцер 13 из герметичной камеры откачивают газ. Через штуцер 16 камеру наполняют рабочей газовой смесью, необходимой для нанесения пленки.
При включении источника питания 1, возбуждается СВЧ волна типа ТЕ10, проходящая через прямоугольный волновод 2, которая далее преобразуется в ТЕМ волну в коаксиальном цилиндрическом волноводе 3, 4. Затем волна проходит через коаксиальный конусообразный волновод 5, 6, коаксиальный цилиндрический волновод, образованный боковой поверхностью платформы 7 и боковой внутренней поверхностью камеры 8, радиальный волновод, образованный платформой 7 и крышкой корпуса 9. В зоне резонатора 10 поле усиливается. СВЧ волна в конусообразном волноводе поляризована так, что вектор Е лежит в плоскости, проходящей через ось симметрии. Средний угол падения СВЧ волны на диэлектрическое окно 11, выполненное из прозрачного для СВЧ волны диэлектрика, близок к углу Брюстера, поэтому поляризованная СВЧ волна проходит его без отражения.
При возникновении пробоя образующаяся в области резонатора плазма, обладая достаточно высокой поглощающей способностью за счет столкновений электронов с нейтральными частицами, служит нагрузкой для волноводного тракта. Плазма образуется над поверхностью центральной части платформы. На подложке, установленной на платформе 7, путем плазменного парофазного химического осаждения образуется пленка. От волноводно-коаксиального преобразователя (в месте соединения прямоугольного и коаксиального цилиндрического волноводов) к области резонатора СВЧ волна передается по хорошо согласованной СВЧ линии. Это обеспечивает стабильные условия процесса при эффективном вложении СВЧ энергии и, как следствие, обеспечивает высокое качество пленки.
На фиг.2. Цилиндрический элемент 24 установлен в центральной части платформы 7 с зазором 25 шириной h, высотой L, равной четвертой части длины волны возбуждаемых колебаний. При возникновении плазмы зазор играет роль теплового сопротивления и препятствует отводу тепла из рабочей зоны, а также исключает деформации конструкции из-за снятия напряжения между нагреваемыми и холодными частями конструкции.
На фиг.3 подложкодержатель 24 герметично встроен в платформу и имеет в верхней части тонкую перегородку 19. Под перегородкой 19 установлен нагреватель 20. Перегородка 19 хорошо передает тепло в вертикальном направлении, и нагревательный элемент 20 обеспечивает температуру, необходимую для получения пленки с оптимальной скоростью роста. Кроме того, за счет созданной тепловой развязки, тонкая перегородка 19 плохо проводит тепло в радиальном направлении, это позволяет исключить нагрев периферической части платформы и элементов герметизации в месте установки диэлектрического окна 11. Края платформы охлаждаются водой через трубки 26. Газовая температура плазмы составляет около 3000°С и охлаждение необходимо, чтобы не было перегрева уплотнителей 12 и диэлектрического окна 11. Конический коаксиальный переход к платформе позволяет эффективно использовать пространство под пластиной и устанавливать дополнительные устройства.
Сверху к торцу резонатора 10 соосно с ним пристроен отрезок запредельного волновода 21 круговой симметрии с оптическим окном 22 в его торце. СВЧ волна не проходит в область запредельного волновода, оптическое окно находится вне области действия СВЧ волны, это позволяет эффективно использовать это окно как для наблюдения за процессом нанесения пленки, так и для установки устройства для измерения температуры в зоне реактора. Устройство измерения температуры 27 связано с электрическими нагревателями через контроллер 23. В процессе горения разряда устройство измерения температуры 27 передает информацию о температуре на управляющий контроллер 23, который, в зависимости от полученных данных, корректирует температуру подложкодержателя 19 через изменение температуры электрического нагревателя 20, установленного под подложкодержателем.
Формула изобретения
1. СВЧ плазменный реактор, содержащий осесимметричную герметичную рабочую камеру в виде цилиндра, соосно расположенную в центральной его части платформу, образующую с внутренней торцевой стороной рабочей камеры радиальный волновод, центральная часть которого является резонатором, источник СВЧ энергии, прямоугольный и цилиндрический коаксиальный волноводы, посредством которых источник СВЧ энергии соединен с рабочей камерой, и диэлектрическое окно в виде цилиндрической трубы, герметично отделяющее рабочую камеру, отличающийся тем, что он снабжен конусообразным коаксиальным волноводом, посредством которого цилиндрический коаксиальный волновод соединен с рабочей камерой, при этом основание внутреннего конуса конусообразного коаксиального волновода сопряжено с платформой, основание его внешнего конуса в общей плоскости с основанием его внутреннего конуса – с цилиндрической стенкой рабочей камеры, а диэлектрическое окно выполнено из прозрачного для СВЧ волны диэлектрика и установлено в коаксиальном конусообразном волноводе соосно с ним, причем геометрические пропорции конусообразного волновода выбраны из соотношения In a/b=ln (tg /tg )=ln А/В=Н/В, где и – углы внешнего и внутреннего конусов конусообразного коаксиального волновода, имеющие общую вершину, а и b – внешний и внутренний радиусы цилиндрического коаксиального волновода, А – внутренний радиус цилиндрической части рабочей камеры, В – радиус платформы, Н – расстояние от платформы до внутренней поверхности рабочей камеры.
2. СВЧ плазменный реактор по п.1, отличающийся тем, что платформа содержит цилиндрический элемент с высотой равной четвертой части длины волны возбуждаемых колебаний, являющийся подложкодержателем и установленный в ней с зазором, являющимся тепловым сопротивлением и препятствием отводу тепла из рабочей зоны.
3. СВЧ плазменный реактор по п.2, отличающийся тем, что подложкодержатель выполнен с перегородкой, а реактор содержит средство регулирования температуры поверхности подложкодержателя, расположенное под перегородкой.
4. СВЧ плазменный реактор по п.3, отличающийся тем, что он содержит запредельный волновод с оптическим окном в торце, соосно встроенный в верхнюю часть рабочей камеры.
5. СВЧ плазменный реактор по п.4, отличающийся тем, что он содержит устройство измерения температуры в зоне резонатора, установленное в оптическом окне запредельного волновода, и управляющий контроллер, посредством которого устройство измерения температуры связано со средством регулирования температуры поверхности подложкодержателя.
6. СВЧ плазменный реактор по п.5, отличающийся тем, что средство регулирования температуры подложкодержателя выполнено в виде электрического нагревателя.
РИСУНКИ
|
|