|
(21), (22) Заявка: 2001131921/12, 27.11.2001
(24) Дата начала отсчета срока действия патента:
27.11.2001
(30) Конвенционный приоритет:
28.11.2000 DK PA200001789
(43) Дата публикации заявки: 20.07.2003
(46) Опубликовано: 20.05.2007
(56) Список документов, цитированных в отчете о поиске:
WO 98/50147 A1, 12.11.1998. US 5958091 A, 28.09.1999. US 4973777 A, 27.11.1990. RU 2078611 C1, 10.05.1997.
Адрес для переписки:
103064, Москва, ул. Казакова,16, НИИР Канцелярия “Патентные поверенные Квашнин, Сапельников и партнеры”, В.П.Квашнину
|
(72) Автор(ы):
ЙОРН Эрнст (DK), ЛЕГСТЕД-НИЛЬСЕН Эрик (DK)
(73) Патентообладатель(и):
ХАЛЬДОР ТОПСЕЭ А/С (DK)
|
(54) РЕАКТОР ДЛЯ ПРОВЕДЕНИЯ НЕАДИАБАТИЧЕСКИХ РЕАКЦИЙ
(57) Реферат:
Реактор состоит из металлического слитка и содержит, по крайней мере, один реакционный проход, проложенный через слиток и предназначенный для содержания катализатора для неадиабатического превращения потока реагентов. Реактор содержит входные каналы для введения потока реагентов в реакционный проход и выходные каналы для удаления прореагировавшего потока реагентов, а также устройство для нагревания или охлаждения, предназначенное для поддержания каталитического неадиабатического превращения потока реагентов. Согласно изобретению, упомянутые входные и выходные каналы проложены в слитке и размещены в основном перпендикулярно реакционным проходам и параллельно соединяют реакционные проходы. Технический результат – использование реактора для мелкомасштабных производств. 8 з.п. ф-лы, 1 ил.
Данное изобретение в общем относится к реактору для проведения неадиабатических реакций. Более конкретно, в данном изобретении представлена реакционная система, используемая для химического превращения потока реагентов посредством эндотермических или экзотермических реакций, особенно в мелкомасштабном производстве, и устанавливаемая в реакторы.
Эндотермические или экзотермические реакции требуют постоянной подачи или отвода тепла для поддержания разумной скорости реакции. Тепло для проведения таких реакций, применяемое к промышленным установкам, обычно передается конвекцией или излучением из теплопроводящей среды. Во время эндотермической реакции необходимое тепло обычно подается косвенно, горячим дымовым газом, получаемым при сгорании топлива. Охлаждение экзотермических реакций обычно осуществляют косвенно, теплообменом с холодной жидкостью, или напрямую, через добавление холодных охлаждающих газов.
На небольших химических заводах и при мобильном использовании эндотермических реакторов сжигание топлива обычно является неблагоприятным обстоятельством, так как правила защиты окружающей среды и техника безопасности требуют проведения очистки, и осуществления дорогостоящих мер для предотвращения опасности или возгорания.
Таким образом, основным объектом данного изобретения является реактор или реакционная система для производства в указанных выше небольших масштабах, осуществляемого в компактных реакторах. Тепло подается или отводится посредством косвенной подачи с помощью теплопроводной среды или средств, таких как масло, пар, электрообогрев и охлаждающие жидкости.
Указанные выше теплопроводные среды и электрообогреватели обычно используются для нагревания реакторов в лабораториях или на полупромышленном производстве.
Также известны способы обогрева различных каталитических структур электричеством. Такие способы обычно используются при каталитической очистке выхлопных газов автомобиля и для запуска технологического процесса в каталитических преобразователях (патенты США №№5070694; 5456890 и 6109018).
Реактор в соответствии с данным изобретением состоит, в общем, из металлического слитка, содержащего, по крайней мере, один реакционный проход, проложенный через слиток, и предназначенный для содержания катализатора для неадиабатического превращения потока реагентов; входные каналы для введения потока реагентов в реакционный проход и выходные каналы для удаления прореагировавшего потока реагентов, где входные и выходные каналы проложены внутри слитка; и устройства для нагревания или охлаждения слитка и реакционного прохода для поддержания каталитического неадиабатического превращения потока реагентов.
Материалы и размеры реактора и различных проходов выбирают в соответствии с предполагаемым использованием реактора. Обычные металлические материалы включают такие, которые обладают подходящей теплопроводностью и механически и химически устойчивы в рабочих условиях.
Как уже было сказано во введении, реактор в соответствии с данным изобретением особенно полезен для мелкомасштабных производств. Такие производства включают, в частности, получение водорода из содержащего метанол потока газа для использования в топливных системах транспортных средств или на судах.
Наиболее удобным способом получения описанного выше реактора является сверление одного или более реакционных проходов в металлическом слитке или блоке. Обычно реактор содержит множество реакционных проходов, где указанные проходы просверлены в виде параллельных рядов, проходящих через слиток, в которые поток реагентов подается через просверленные проходы, расположенные практически перпендикулярно реакционным проходам и, таким образом, соединенные с реакционными проходами параллельно. Предпочтительно, чтобы в реакторе с множеством реакционных проходов описанного выше типа каждый ряд реакционных проходов был соединен с входным каналом на входной стороне реактора. Подобным образом, прореагировавший поток реагентов удаляется из реактора через параллельно соединяющие реакционные проходы на выходной стороне реактора выходные каналы, просверленные через слиток в основном в перпендикулярном реакционным проходам направлении.
Весь слиток нагревается или охлаждается теплопроводной средой, протекающей по проходам, вмонтированным в слиток, проложенным внутри или на поверхности слитка.
При применении реактора в соответствии с данным изобретением на практике катализатор загружают в реакционные проходы либо в виде частиц, либо в виде покрытия, пленки или слоя на внутренних стенках реакционных проходов. Реакционные проходы закрывают непроницаемыми для жидкости приспособлениями на верхних и нижних концах до начала работы реактора.
Конструкция и работа реактора в соответствии с данным изобретением станет более очевидна из представленного ниже описания, данного со ссылками на чертеж, на котором изображен определенный вариант данного изобретения, используемый для эндотермического превращения углеводородного потока реагентов.
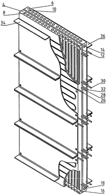
Реактор 2, в соответствии с определенным вариантом данного изобретения, состоит из металлических блоков 4 и 6. Блоки 4 и 6 снабжены рядами параллельных реакционных каналов 8 и 10, просверленных через блоки. Каждый ряд каналов соединен с основными входными каналами для потока реагентов 12 и 14, параллельно связывающими каждый ряд каналов 8 и 10.
Прореагировавший поток реагентов удаляют из каналов 8 и 10 через основные выходные каналы 16 и 18.
Каждый блок 4 и 6 также оборудован множеством электронагревательных полос 26 и 28, расположенных на внешних сторонах блока 4, и полос 30 и 32, расположенных на внешних сторонах блока 6 или в желобках (не показаны) на поверхности. Электронагревательные полосы 26, 28, 30 и 32 расположены в основном перпендикулярно реакционным каналам 8, 10. Блоки собраны внутри обычного корпуса 34, оборудованного кронштейнами 36, для поддержки изолирующего материала (не показан) на внешней поверхности корпуса 34.
При применении описанного выше реактора для получения водорода каталитическим крекингом спирта ряды каналов 8 и 10 загружают обычным катализатором крекинга, например, в виде частиц.
До загрузки каналов и начала работы реактора открытые концы каналов запечатывают заглушками, которые приваривают или вкручивают в открытые концы.
Содержащий спирт исходный газ подается в реактор через основные входные каналы 12 и 14 и распределяется по каналам 8 и 10.
Внутри каналов исходный газ превращается в обогащенный водородом технологический газ с помощью известных реакций крекинга спирта, инициированных обычным катализатором крекинга (не показан). В итоге полученный технологический газ выводят из каналов через выходные каналы, как описано выше.
Тепло, необходимое для реакции крекинга, подают на катализатор посредством нагревания всего реактора 2 теплом, выделяемым электронагревательными полосами.
Формула изобретения
1. Реактор для проведения неадиабатических каталитических реакций, состоящий из металлического слитка, и содержащий, по крайней мере, один реакционный проход, проложенный через слиток, и предназначенный для содержания катализатора для неадиабатического превращения потока реагентов, входные каналы для введения потока реагентов в реакционный проход и выходные каналы для удаления прореагировавшего потока реагентов и устройство для нагревания или охлаждения, предназначенное для поддержания каталитического неадиабатического превращения потока реагентов, отличающийся тем, что упомянутые входные и выходные каналы проложены в слитке и размещены в основном перпендикулярно реакционным проходам, при этом входные и выходные каналы параллельно соединяют реакционные проходы.
2. Реактор по п.1, в котором реакционные проходы расположены параллельными рядами внутри слитка.
3. Реактор по п.1, в котором устройство для нагревания или охлаждения расположено внутри и/или на поверхности слитка.
4. Реактор по п.1, в котором устройство нагревания или охлаждения расположено в основном перпендикулярно реакционным проходам.
5. Реактор по п.1, в котором устройством нагревания является электрический нагревательный элемент.
6. Реактор, состоящий из множества металлических слитков по п.1.
7. Реактор по п.6, в котором металлические слитки собраны внутри общего корпуса.
8. Реактор по п.7, в котором общий корпус имеет теплоизоляцию.
9. Реактор по одному из пп.1-8, в котором реакционные проходы и выходной и входной каналы имеют форму просверленных каналов.
РИСУНКИ
|