|
|
(21), (22) Заявка: 2005119993/14, 27.11.2002
(24) Дата начала отсчета срока действия патента:
27.11.2002
(43) Дата публикации заявки: 20.01.2006
(46) Опубликовано: 20.05.2007
(56) Список документов, цитированных в отчете о поиске:
US 5817058 А, 06.10.1998. US 6096005 А, 01.08.2000. US 5989220 А, 23.11.1999. RU 2170593 С2, 20.07.2001.
(85) Дата перевода заявки PCT на национальную фазу:
27.06.2005
(86) Заявка PCT:
US 02/33034 (27.11.2002)
(87) Публикация PCT:
WO 2004/050138 (17.06.2004)
Адрес для переписки:
129010, Москва, ул. Б.Спасская, 25, стр.3, ООО “Юридическая фирма Городисский и Партнеры”, пат.пов. Ю.Д.Кузнецову, рег.№ 595
|
(72) Автор(ы):
ШО Томас Дж. (US), ЗУ Джуди (US)
(73) Патентообладатель(и):
РИТРЭКТЭБЛ ТЕКНОЛОДЖИЗ, ИНК. (US)
|
(54) ПРОВОДНИК ДЛЯ ВВЕДЕНИЯ ВНУТРИВЕННОГО КАТЕТЕРА С УБИРАЮЩЕЙСЯ ИГЛОЙ
(57) Реферат:
Изобретение относится к медицинской технике, а именно к медицинским устройствам, используемым для введения катетера в тело пациента, в частности, для внутривенного введения жидкости. Проводник для введения внутривенного катетера содержит трубчатый футляр; узел иглодержателя с трубчатым корпусом, введенным в зацепление с возможностью сдвига внутри футляра; механизм убирания, установленный в кольцевом пространстве между футляром и узлом иглодержателя; плунжерный узел с плунжерной трубкой, введенной в разъемное зацепление с трубчатым корпусом внутри футляра; и катетер, присоединенный на фрикционном зацеплении к трубчатому футляру. Трубчатый корпус содержит обращенную наружу круговую канавку, проксимальную относительно плунжерной трубки. Плунжерная трубка содержит направленный внутрь кольцевой прилив, проксимальный относительно трубчатого корпуса. Круговая канавка и кольцевой прилив поджимаются в разъемное зацепление. В другом варианте выполнения плунжерная трубка имеет конец с отверстием, который является противоположным трубчатому корпусу. В третьем варианте удлиненный трубчатый корпус имеет первый конец, закрепляющий полую иглу со скошенным концом, второй конец, вмещающий пористую пробку, удерживаемую на фрикционном зацеплении, расширительную камеру, расположенную между первым и вторым концами и сообщающуюся по каналу для жидкости с полой иглой, и наружную стенку с круговой канавкой, расположенной вблизи второго конца. Плунжерная трубка имеет открытый конец, который введен в зацепление с возможностью сдвига по второму концу трубчатого корпуса узла иглодержателя, конец с отверстием, противоположный открытому концу, и зацепляющую конструкцию, выступающую радиально внутрь вблизи открытого конца. Зацепляющая конструкция поджимается в зацепление с круговой канавкой узла иглодержателя усилием, достаточным, чтобы препятствовать перемещению узла иглодержателя к плунжерному узлу механизмом убирания. В четвертом варианте выполнения участок крепления иглы простирается через механизм убирания и выступает спереди из трубчатого футляра. В пятом варианте проводник для введения внутривенного катетера содержит прозрачный пластиковый трубчатый футляр, узел иглодержателя, установленный внутри футляра, плунжерный узел, механизм убирания и катетер. Футляр имеет широкий конец, узкий конец, ступенчатый внутренний диаметр между широким и узким концами, и поперечно выступающие полки, смежные с широким концом. Узел иглодержателя установлен внутри футляра и содержит полую иглу со скошенным концом, элемент крепления иглы, удерживающий иглу соосно футляру, прозрачную пластиковую расширительную камеру, сообщающуюся по каналу для жидкости с полой иглой, пористую пробку, закупоривающую расширительную камеру на конце, противоположном полой игле, и круговую канавку, обращенную радиально наружу вблизи закупоренного конца расширительной камеры. Плунжерный узел содержит прозрачную пластиковую плунжерную трубку с открытым концом, вставляемым в футляр в обхват участка узла иглодержателя, полость для убирания, достаточно большую, чтобы обеспечивать отвод скошенного конца иглы в футляр после убирания, первую конструкцию, выступающую радиально наружу для зацепления с футляром, и вторую конструкцию, выступающую радиально внутрь для зацепления с круговой канавкой; и снабженную отверстием торцевую крышку, закупоривающую плунжерную трубку со стороны, противоположной открытому концу. Механизм убирания, сжатый внутри футляра вокруг узла крепления иглы и поджимающий узел крепления иглы к полости для убирания в плунжерной трубке. Катетер, охватывающий с фрикционным зацеплением узкий конец футляра и дополнительно содержащий канюлю, расположенную соосно с полой иглой и с возможностью сдвига по ней. Вторая конструкция зацепляется за круговую канавку для предотвращения смещения узла крепления иглы в полость для убирания прижимным усилием механизма убирания и любым дополнительным усилием, действующим вверх на иглу при введении канюли в пациента. Технический результат – надежное и быстрое изготовление, уменьшение вероятности преждевременного убирания иглы при хранении и обращении, удобство использования одной рукой, защита медицинского и другого вспомогательного персонала от случайных уколов иглой и проистекающей из этого опасности заражения переносимыми с кровью патогенными факторами. 6 н. и 59 з.п. ф-лы, 6 ил.
Область техники, к которой относится изобретение
Изобретение относится к медицинскому устройству, используемому для введения катетера в тело пациента, в частности, для внутривенного введения жидкости. В частности, изобретение относится к проводнику для введения катетера, содержащему убирающуюся иглу, которая не допускает повторного применения и делает невозможным ранение острием иглы медицинского персонала и других лиц.
Описание предшествующего уровня техники
Устройства для введения катетеров широко известны. Когда катетер вводят в пациента для внутривенного введения жидкости, применяют съемную иглу, проходящую через катетер, чтобы прокалывать вену для создания возможности введения катетера. Затем иглу убирают, оставляя катетер в рабочем положении для соединения с пакетом или флаконом для внутривенного вливания или для закрывания до последующего использования.
В последние годы, вследствие широкого распространения переносимых с кровью патогенных факторов, например, ВИЧ (HIV) и гепатита, выросла потребность в проводниках для введения катетеров, которые не допускают случайных ранений острием иглы медицинского персонала и других работников, которые работают с мусором, бельем и другими отходами, содержащими использованные иглы. В результате, разработаны новые изделия, которые включают в себя специальные чехлы для игл или механизмы для убирания игл после использования. Данные устройства описаны, например, в патентах США №4747831; 4828548; 5129884; 5501675; 5817058 и 5989220. Многие из известных устройств содержат многочисленные сложные детали, которые существенно повышают затраты на изготовление и наносят ущерб способности пользователя чувствовать, когда игла правильно введена в пациента. Другие устройства требуют работать двумя руками или предрасположены к преждевременному убиранию иглы при транспортировке, хранении и обращении.
Поэтому требуется такой проводник для введения внутривенного катетера, который можно быстро, недорого и надежно изготавливать, который не будет преждевременно убирать иглу, с которым можно работать одной рукой и который полностью защитит пользователя и других лиц от случайных уколов и воздействия переносимых с кровью патогенных факторов. Нижеописанное изобретение обеспечивает перечисленные и другие преимущества.
Сущность изобретения
Предлагается одноразовый проводник для введения внутривенного катетера, который обеспечивает значительные преимущества по сравнению с известными устройствами, даже такими, которые содержат убирающиеся иглы. К принципиальным конструктивным усовершенствованиям относятся надежная фиксирующая конструкция, которая удерживает иглодержатель и плунжер точно совмещенными по положению до убирания иглы после введения катетера; торцевая крышка плунжера, которая выпускает воздух, вытесняемый из внутренней полости плунжера при убирании иглы; и прозрачная просмотровая зона, которая позволяет пользователю удобнее наблюдать за расширительной камерой иглодержателя сквозь прозрачный пластиковый футляр. Другие усовершенствования включают в себя полки на футляре, которые облегчают работу одной рукой и не допускают скатывания проводника для введения катетера при укладке на поверхность, отверстие в иглодержателе, которое выполнено конусовидным по форме, чтобы можно было легче вставлять пробку расширительной камеры при изготовлении, и форма иглодержателя, которая не допускает закупоривания тупого конца иглы при изготовлении и улучшает видимость тока крови в расширительную камеру.
Проводники для введения внутривенных катетеров согласно настоящему изобретению содержат немного деталей, допускают надежное и быстрое изготовление, существенно уменьшают вероятность преждевременного убирания иглы при хранении и обращении, пригодны для удобного использования одной рукой и обеспечат защиту медицинского и другого вспомогательного персонала от случайных уколов иглой и проистекающей из этого опасности заражения переносимыми с кровью патогенными факторами. Применение настоящего изобретения предоставляет также ощутимые экономические выгоды провайдерам медицинского обслуживания и страхователям благодаря уменьшению объемов испытаний и дополнительных расходов.
Краткое описание чертежей
Ниже приведено описание устройства согласно настоящему изобретению со ссылками на следующие чертежи, на которых:
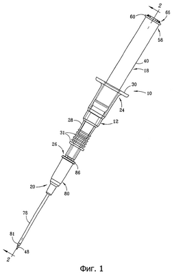
фиг.1 – упрощенный вид в перспективе проводника для введения внутривенного катетера согласно настоящему изобретению с катетерной иглой, готовой к использованию;
фиг.2 – увеличенный вид в вертикальном разрезе по линии 2-2, показанной на фиг.1;
фиг.3 – вид, аналогичный виду на фиг.2, но с иглой, убранной после использования;
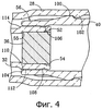
фиг.4 – увеличенный местный вид, взятый с фиг.2, и изображает фиксирующую конструкцию, удерживающую опускаемое переднее отверстие плунжерной трубки в заданном положении относительно держателя убирающейся иглы до убирания;
фиг.5 – увеличенный вид в плане снабженной отверстием торцевой крышки плунжера; и
фиг.6 – увеличенный вид в вертикальном разрезе по линии 6-6, показанной на фиг.5.
Для обозначения аналогичных деталей на всех фигурах чертежей применяются одинаковые позиции.
Подробное описание предпочтительного варианта осуществления
Как видно из фиг.1-2, проводник 10 для введения внутривенного катетера предпочтительно содержит трубчатый пластиковый футляр 12, узел 14 иглодержателя, возвратную пружину 16, плунжерный узел 18 и внутривенный катетер 20. В пластиковом футляре 12 имеется внутреннее отверстие 22, которое последовательно сужается на протяжении от открытого конца 24 до наконечника 26 с уменьшенным диаметром, за исключением короткого участка под выступающим внутрь кольцевым поясом 102, согласно нижеприведенному описанию. Пластиковый футляр 12 предпочтительно выполняется литьем под давлением из, по существу, прозрачной полимерной смолы, например, поликарбонатной, чтобы обеспечить удобное наблюдение сквозь стенку 28. Внешний диаметр футляра 12 обычно повторяет конусовидное сужение внутреннего отверстия 22, так что боковая стенка 28 имеет, по существу, постоянную толщину, кроме мест, в которых боковая стенка расширяется наружу и образует поперечно выступающие полки 30 и последовательность кольцевых выступов 31, продольно расположенных ближе к наконечнику 26 для формирования рельефной поверхности захвата под пальцы пользователя.
Узел 14 иглодержателя установлен с возможностью убирания в нижнем участке футляра 12 и предпочтительно содержит конусовидный удлиненный трубчатый корпус 32, иглу 34 и пористую пробку 36. Корпус 32 узла 14 иглодержателя выполнен предпочтительно литьем под давлением из, по существу, прозрачной полимерной смолы, например, поликарбонатной, и содержит конусовидную боковую стенку, по существу, постоянной толщины, которая дополнительно ограничивает расширительную камеру 42, пружинонаправляющий участок 44 и участок 46 крепления иглы, каждый из которых имеет последовательно уменьшенный диаметр. Трубчатый корпус 32 узла 14 иглодержателя предпочтительно имеет форму, которая позволяет вставлять узел 14 иглодержателя в допускающее сдвиг зацепление с футляром 12 при сборке, в соответствии с нижеприведенным подробным описанием. Верхний концевой участок трубчатого корпуса 32 выполнен с возможностью разъемного зацепления с нижним концом 56 плунжерного узла 18 в соответствии с описанием, приведенным ниже со ссылкой на фиг.4. Как видно из фиг.2, возвратная пружина 16 заключена в кольцевом пространстве 90 между футляром 12 и пружинонаправляющим участком 44 трубчатого корпуса 32 и закреплена в сжатом состоянии между обращенным вниз заплечиком 92 трубчатого корпуса 32 и обращенным вверх заплечиком 94 футляра 12. Хотя в настоящем варианте осуществления применяется сжатая пружина, которая прилагает возвратное усилие расширением, для убирания иглы можно также применить другое аналогичное эффективное средство, например, пружину растяжения.
Игла 34 является полой и имеет скошенный конец 48, который вводят в вену пациента при использовании, и тупой конец 50, который выступает в расширительную камеру 42. Продольно проходящий канал обеспечивает распространение жидкости через иглу 34 между скошенным концом 48 и тупым концом 50. Игла 34 предпочтительно залита в участок 46 крепления иглы в трубчатом корпусе 32, но, при необходимости, может быть приклеена или закреплена ультразвуковой сваркой в корпусе 32. На нижнем конце участка 46 крепления иглы предпочтительно выполнено конусовидное отверстие 47 для вставки иглы, если иглу 34 следует вставлять после формования участка 46 крепления иглы. При использовании иглы 34, которая имеет достаточную длину, чтобы проходить в расширительную камеру 42, канал иглы 34 не будет закупориваться при заливке. Кроме того, поскольку немного крови проходит вверх по игле 34 в расширительную камеру 42, когда иглу 34 вводят в вену пациента, то обеспечение видимости тупого конца 50 в расширительной камере 42 позволяет пользователю увидеть кровь, как только она поступает в расширительную камеру 42, и убедиться, что игла 34 правильно расположена в вене.
Сверху расширительной камеры 42 узла 14 иглодержателя конец 52 трубчатого корпуса 32 закрыт пористой пробкой 36, которая фрикционно зацепляется за стенки круговой канавки 55 в корпусе 32. Вставку пористой пробки 36 в трубчатый корпус 32 предпочтительно упростить приданием конусности внутренней стенке 54 у конца 52. Пористая пробка 36 предпочтительно выполнена из любого подходящего пористого материала, который позволит вытеснять воздух из иглы 34 и расширительной камеры 42 кровью, поднимающейся по игле 34 после введения в вену, но не допустит хотя бы минимальной утечки упомянутой крови из расширительной камеры 42. Важное преимущество предлагаемого здесь проводника 10 для введения внутривенного катетера заключается в том, что расширительная камера 42 просматривается только сквозь два слоя прозрачного пластика: прозрачную стенку трубчатого корпуса 32 вокруг расширительной камеры 42; и прозрачную стенку футляра 12. Во многих известных устройствах пользователь должен смотреть сквозь, по меньшей мере, три слоя, чтобы увидеть расширительную камеру, что существенно затрудняет визуальное определение начала поступления крови в камеру.
Плунжерный узел 18 предпочтительно содержит полимерную плунжерную трубку 40, обладающую, по существу, цилиндрической боковой стенкой с нижним концевым участком 56, который является проксимальным относительно конца 52 трубчатого корпуса 32 узла 14 иглодержателя, и верхним концевым участком 58, который продольно выступает наружу из открытого конца 24 футляра 12. Плунжерная трубка 40 выполнена предпочтительно литьем под давлением из полимерной смолы, а в наиболее предпочтительном варианте, из, по существу, прозрачного полимера, например, поликарбоната. Нижний концевой участок 56 плунжерного узла 18 введен в разъемное зацепление с трубчатым корпусом 32 узла 14 иглодержателя и взаимодействует с узлом 14 иглодержателя с образованием фиксирующей конструкции согласно настоящему изобретению в соответствии с подробным описанием, приведенным ниже со ссылкой на фиг.4. На верхнем концевом участке 58 плунжерной трубки 40 предпочтительно выполнен небольшой кольцевой буртик 60, окружающий конусовидную круговую канавку 62 в поверхности 64, которая вмещает и фрикционно зацепляет торцевую крышку 66, которая дополнительно описана с пояснениями при помощи фиг.5 и 6. В готовом к использованию проводнике 10 для введения внутривенного катетера, верхний конец 58 плунжерного узла 18 предпочтительно выходит на расстояние от приблизительно 1,5 до приблизительно 3 дюймов из футляра 12, чтобы верхний конец 58 можно было прижать к ладони, когда пальцы пользователя захватывают полки 30 или кольцевые выступы 31 футляра 12, для облегчения работы одной рукой. Оттягивание назад футляра 12 пальцами вызывает убирание узла 14 иглодержателя в соответствии с описанием, приведенным ниже со ссылкой на фиг.3.
Как видно из фиг.5 и 6, торцевая крышка 66 предпочтительно сформована из полимерной смолы, а в наиболее предпочтительном варианте, из смолы, которая содержит пигмент, выбранный по цвету соответственно калибру иглы 34, показанному на фиг.1-2, чтобы пользователи могли легко различать проводники 10 для введения внутривенных катетеров с иглами разного размера. Торцевая крышка 66 предпочтительно дополнительно содержит, по существу, сплошную кольцевую торцевую стенку 68, соединенную с продольно простирающимся кольцевым бортом 70, который сужается вовнутрь для обеспечения ранее упомянутого контактного фрикционного зацепления с круговой канавкой 62 плунжерной трубки 40. Следует понимать, что существует много способов обеспечивающей зацепление установки торцевой крышки 66 в верхний концевой участок 58 плунжерной трубки 40. Торцевую крышку 66 можно приклеить, защелкнуть пружиной, приварить ультразвуком, выполнить двухструйным литьем или зацепить любым другим аналогичным эффективным средством. Двухструйным литьем называют любой способ формования, который позволяет параллельно формовать разные материалы или разноцветные материалы. Воздушное отверстие 72 расположено предпочтительно по центру торцевой стенки 68 и предпочтительно окружено конструктивными элементами поверхностного рельефа, например, множеством выступающих наружу формованных ребер 74, которые проходят по поверхности 68. В предпочтительном варианте число, шаг и высота ребер 74 достаточны для того, чтобы воздушное отверстие 72 не закрывалось рукой пользователя, даже когда часть руки помещена поверх торцевой крышки 66 при работе с проводником 10 для введения внутривенного катетера. Воздушное отверстие 72 предпочтительно является достаточно большим, чтобы быстро выпускать объем воздуха, вытесняемого из полости 76 для убирания, когда узел 14 иглодержателя убирается в плунжерную трубку 40 после введения катетера.
Как также показано на фиг.1-2, внутривенный катетер 20 предпочтительно содержит гибкую резиновую или пластиковую канюлю 78 и втулку 80, имеющую иглопровод 82 и трубчатый участок 84 с кольцевым фланцем 86, ограничивающим отверстие 88 такого диаметра, что отверстие 88 будет вмещать и фрикционно зацеплять наконечник 26 футляра 12. На конце канюли 78 имеется суживающийся внутрь наконечник 81, который обеспечивает посадку с натягом вблизи скошенного конца 48 иглы 34. При установке втулки 80 на наконечник 26 игла 34 вставляется через гибкую канюлю 78 и суживающийся внутрь наконечник 81, при этом скошенный конец 48 немного выходит за суживающийся внутрь наконечник 81. Внутренний диаметр канюли 78 предпочтительно немного больше внешнего диаметра иглы 34, чтобы иглу 34 можно было легко убирать через канюлю 78 после введения. Кроме того, втулка 80 предпочтительно выполнена с возможностью простого соединения со стандартным соединителем внутривенно вводимых трубок после убирания иглы 34 и извлечения наконечника 26 из трубчатого участка 84 втулки 80.
Как показано на фиг.2, проводник 10 для введения внутривенного катетера согласно настоящему изобретению собирается предпочтительно опусканием возвратной пружины 16 через отверстие 22 в футляр 12. Возвратная пружина 16, которая является поджатой цилиндрической пружиной, предпочтительно имеет диаметр, с которым пружина устанавливается только наверху наклонного кольцевого заплечика 94 внутри футляра 12, где она поддерживается, по существу, в вертикальном положении участком 33 боковой стенки 28. Затем готовый узел 14 иглодержателя вставляют вниз через открытый конец 22 футляра 12, при этом скошенный конец 48 иглы 34 пропускают вниз через возвратную пружину 16 и наконечник 26 футляра 12 до упора наклонного кольцевого заплечика 96 трубчатого корпуса 32 в заплечик 94 футляра 12. По другому варианту пружину 16 можно установить на узел 14 иглодержателя до вставки узла 14 иглодержателя в футляр 12. Кроме того, при необходимости, иглу 34 можно приклеить или закрепить ультразвуковой сваркой в узле 14 иглодержателя после вставки узла 14 иглодержателя в футляр 12. Наклонный кольцевой заплечик 92 трубчатого корпуса 32 предпочтительно не будет контактировать с наклонным кольцевым заплечиком 98, чтобы создавалась возможность должного упора заплечика 96 в заплечик 94.
Как показано на фиг.2 и 4, далее нижний концевой участок 56 готового плунжерного узла 18 вводят в футляр 12 через отверстие 22. По мере того, как плунжерная трубка 40 проходит вниз в футляр 12, передняя кромка 104 плунжерной трубки 40 доходит до конца 52 трубчатого корпуса 32 узла 14 иглодержателя и сдвигается по нему. Когда передняя кромка 104 достигает конца 52, радиальный кольцевой прилив 100 на плунжерной трубке 40 располагается все еще над выступающим внутрь кольцевым поясом 102 футляра 12, а внутренний диаметр плунжерной трубки 40 у передней кромки 104 достаточно больше внешнего диаметра конца 52 для того, чтобы нижний концевой участок 56 плунжерной трубки 40 мог зацепиться с возможностью сдвига за участок трубчатого корпуса 32, который граничит с концом 52. По мере того, как плунжерный узел 18 вставляют дальше в футляр 12, кольцевой прилив 100 зацепляется за кольцевой пояс 102 и переходит его. Тогда кольцевой пояс 102 не позволяет трубчатому плунжерному узлу 18 и объединенному узлу 14 иглодержателя перемещаться назад после того, как они установлены в футляр, при этом игла выступает для использования. При попытке извлечь трубчатый плунжерный узел 18 из футляра 12 заплечик кольцевого прилива 100 зацепится за заплечик кольцевого пояса 102 и предотвратит извлечение, пока не приложено значительное усилие. Однако следует понимать, что кольцевой пояс 102 является предпочтительно достаточно малым, чтобы обеспечивать возможность извлечения литьевого инструмента в процессе изготовления. Как видно из фиг.4, который является местным видом, взятым с фиг.2, плунжерная трубка 40 продолжает сдвигаться вниз по трубчатому корпусу 32 узла иглодержателя, пока направленный внутрь кольцевой прилив 106 на внутренней поверхности нижнего концевого участка 56 не достигнет и не зацепит с защелкиванием выполненную с присоединительными размерами и ориентацией, обращенную наружу круговую канавку 108 трубчатого корпуса 32. Как показано на фиг.2 и 4, конфигурация и размеры кольцевого прилива 106 и круговой канавки 108 вынуждают прилив 106 сместиться радиально внутрь в круговую канавку 108.
Следует понимать, что прилив 106 на внутренней поверхности плунжерной трубки 40 не обязательно должен по всей окружности соответствовать круговой канавке 108 трубчатого корпуса 32. Следовательно, прилив 106 можно, например, заменить группой расположенных по окружности отдельных проходящих внутрь выступов, которые расположены в зацепление с канавкой 108. Однако в предпочтительном варианте канавка 108 проходит вокруг всего трубчатого корпуса, чтобы зацепление с возможностью сдвига между плунжерной трубкой 40 и трубчатым корпусом 32 не требовало поворота специально для совмещения двух деталей. Прилив 106 и канавка 108 предпочтительно имеют такую конфигурацию и размеры, что усилие, необходимое для сдвига прилива 106 из зацепления с канавкой 108 проталкиванием плунжерной трубки 40 далее вниз в футляр 12, превосходит поджимное усилие, прилагаемое к узлу 14 иглодержателя сжатой возвратной пружиной 16, и дополнительное усилие, которое действует по направлению вверх на иглу 34 в ходе процедур введения катетера. Внутривенный катетер 20 можно установить на наконечник 26 футляра 12 перед вставкой узла 14 иглодержателя и плунжерного узла 18 в футляр 12. По другому варианту, плунжерный узел 18 и узел 14 иглодержателя (иногда называемый узлом крепления иглы) можно собирать друг с другом перед вставкой в футляр 12. В предпочтительном варианте фрикционное зацепление между приливом 106 и канавкой 108, при их совместном зацеплении, является достаточным для того, чтобы узел 14 иглодержателя и плунжерный узел 18 можно было вместе вставить в футляр 12.
Скошенный конец 48 иглы и участок канюли 78 предпочтительно вводят в вену пациента с удерживанием кольцевых выступов 31 футляра 12 большим и указательным и средним пальцами. После введения катетера в вену пациента узел 14 иглодержателя убирают захватом полок 30 или кольцевых выступов 31 указательным и средним пальцами или большим и указательным и средним пальцами, а затем нажимом ладони или ее основания на торцевую крышку 66 для проталкивания плунжерной трубки 40 далее вниз в футляр 12. Когда выполнено данное действие, фрикционное усилие зацепления между приливом 106 и канавкой 108, как показано на фиг.4, преодолевается, и в результате прилив 106 выскакивает на поверхность 112 трубчатого корпуса 32. Продолжающееся направленное вниз перемещение плунжерной трубки 40 относительно трубчатого корпуса 32, который прочно упирается в футляр 12, приводит к западанию прилива 106 за наклонный заплечик 114 трубчатого корпуса 32. После этого больше не существует значительной силы трения, действующей против сжатой возвратной пружины 16, и пружина 16 быстро расширяется, вынуждая узел 14 иглодержателя быстро продвинуться вверх в полость 76 для уборки с одновременным убиранием иглы 34, по меньшей мере, в положение, в котором скошенный конец 48 убран в футляр 12.
Как показано на фиг.3, возвратная пружина 16 полностью расширена, и верхний конец 52 узла 14 иглодержателя, по меньшей мере, частично убран в полость 76 для уборки. Воздух, ранее находившийся в полости 76 для убирания в плунжерной трубке 40, был выпущен через воздушное отверстие 72, когда узел 14 иглодержателя перемещался вверх в полости под действием расширяющейся возвратной пружины 16. Верхний конец 52 узла 14 иглодержателя сдвинут вверх в полости 76 для убирания достаточно для убирания скошенного конца 48 иглы 34 в футляр 12. Когда игла 34 находится в положении, показанном на фиг.3, наконечник 26 футляра 12 можно безопасно отделить от втулки 80 внутривенного катетера.
Усовершенствованный проводник для введения внутривенного катетера согласно настоящему изобретению хорошо подходит для автоматизированного производства и сборки. Кроме катетера, иглы и пружины требуются только футляр, убирающийся иглодержатель и плунжерная трубка, закрытая крышкой с отверстием. Хотя футляр 12 можно выполнить прямым по форме, с прямолинейной внутренней стенкой, футляру целесообразно придать ступенчатую форму, с сужением вовнутрь от верха к низу, исключая нижний заплечик кольцевого выступа 102. Упомянутое сужение облегчает извлечение стержневой оправки, используемой в процессе формования. Хотя на чертежах не показано, следует понимать, что скошенный конец 48 иглы 34 предпочтительно укрыт в процессе изготовления, транспортировки и хранения трубчатым футляром, который надвигается вверх по внешней поверхности канюли 78 и не допускает повреждения иглы.
Важная особенность предложенного проводника для введения внутривенного катетера состоит в том, что оператор может удобно работать одной рукой с убирающейся конструкцией проводника для введения катетера. Работа одной рукой возможна потому, что плунжерная трубка предпочтительно выдается на расстояние от приблизительно 1,5 до приблизительно 3 дюймов за место, где находятся полки футляра. Это позволяет прикладывать усилие к плунжерной трубке подушкой ладони и одновременно пользоваться пальцами на полках или у кольцевых выступов футляра для сопротивления усилию и плавного инициирования убирания. Другая рука остается свободной для захвата втулки катетера. Время освобождения втулки от устройства проводника и прикрепления трубки для внутривенного введения к втулке полностью контролируется оператором. Втулку катетера можно одним движением отделить от устройства введения, которое можно после этого безопасно отложить на то время, пока затем выполняется соединение с трубкой для внутривенного введения или другим устройством, которое следует присоединять к пациенту. Проводник для введения катетера можно безопасно отложить без проблем на стол или в лоток, так как иглу уже убрали в безопасное положение до отсоединения катетерного узла от футляра. Когда пальцами оттягивают назад полки или кольцевые выступы футляра для осуществления убирания, оператор может проконтролировать как на слух, так и визуально, что игла убрана в безопасное положение, и немедленно отсоединить и безопасно отложить устройство, чтобы освободить руку для выполнения необходимого внутривенного соединения до того, как случится потеря жидкости пациентом.
От проводника для введения внутривенного катетера согласно настоящему изобретению не требуется выдерживать усилие со стороны иглы на убирающиеся детали настолько большое, как в случае с обычным шприцом, когда необходимо проколоть стандартную резиновую пломбу на флаконах. Следовательно, убирающиеся детали должны быть способны выдержать без убирания лишь усилие, возникающее при нормальном клиническом применении. В предложенном в настоящем описании устройстве размерные допуски и разные скорости теплового расширения менее критичны, чем в устройствах, в которых обеспечивается только фрикционное зацепление за счет поверхностного контакта между гладкими поверхностями.
Предложенный здесь проводник для введения внутривенного катетера меньше склонен к преждевременному убиранию иглы, чем известные устройства, даже при небрежном обращении и широком диапазоне изменения температуры и влажности при транспортировке и хранении до использования. Изобретение характеризуется простой и рациональной формой и возвратной пружиной, которая работает проще и надежнее, чем ранее применявшиеся другие пружины. С устройством можно работать одной рукой при любой угловой ориентации, когда имеется доступ к полкам, благодаря отсутствию на устройстве внешних фиксаторов, которые требуют располагать устройства с определенной ориентацией. Кроме того, полки предотвращают скатывание проводника для введения катетера при укладке на наклонную поверхность. Когда устройство держат в руке, возвратное усилие прикладывается линейно вдоль главной продольной оси. Чтобы вызвать убирание, достаточно очень короткого перемещения. Правильное убирание контролируется как визуально, так и на слух, поскольку оператор может легко увидеть отведенные детали в футляре, а при убирании создается слабый звук.
Другие изменения и модификации вышеописанного предпочтительного варианта осуществления станут очевидны для среднего специалиста в данной области техники после прочтения настоящего описания, и предполагается, что объем предлагаемого здесь изобретения ограничен только наиболее широким толкованием прилагаемой формулы изобретения, на которую изобретатель имеет юридические права.
Формула изобретения
1. Проводник для введения внутривенного катетера, содержащий трубчатый футляр; узел иглодержателя с трубчатым корпусом, введенным в зацепление с возможностью сдвига внутри футляра; механизм убирания, установленный в кольцевом пространстве между футляром и узлом иглодержателя; плунжерный узел с плунжерной трубкой, введенной в разъемное зацепление с трубчатым корпусом внутри футляра; и катетер, присоединенный на фрикционном зацеплении к трубчатому футляру; в котором трубчатый корпус содержит обращенную наружу круговую канавку, проксимальную относительно плунжерной трубки; плунжерная трубка содержит направленный внутрь кольцевой прилив, проксимальный относительно трубчатого корпуса; и круговая канавка и кольцевой прилив поджимаются в разъемное зацепление.
2. Проводник для введения внутривенного катетера по п.1, в котором механизм убирания представляет собой пружину.
3. Проводник для введения внутривенного катетера по п.2, в котором пружина представляет собой сжатую пружину.
4. Проводник для введения внутривенного катетера по п.1, в котором трубчатый футляр и трубчатый корпус выполнены из прозрачного пластика.
5. Проводник для введения внутривенного катетера по п.4, в котором прозрачный пластик содержит поликарбонат.
6. Проводник для введения внутривенного катетера по п.1, в котором плунжерная трубка имеет конец с отверстием, который является дистальным относительно трубчатого корпуса.
7. Проводник для введения внутривенного катетера по п.6, в котором конец с отверстием содержит пластиковую торцевую крышку.
8. Проводник для введения внутривенного катетера по п.7, в котором пластиковая торцевая крышка является окрашенной.
9. Проводник для введения внутривенного катетера по п.6, в котором конец с отверстием содержит торцевую крышку с отверстием для воздуха и непериодическими конструктивными элементами поверхностного рельефа, окружающими отверстие для воздуха.
10. Проводник для введения внутривенного катетера по п.6, в котором конец с отверстием содержит торцевую крышку с кольцевым бортом, который фрикционно зацепляется за плунжерную трубку.
11. Проводник для введения внутривенного катетера по п.6, в котором конец с отверстием содержит приклеенную торцевую крышку.
12. Проводник для введения внутривенного катетера по п.6, в котором конец с отверстием содержит торцевую крышку, закрепленную ультразвуковой сваркой.
13. Проводник для введения внутривенного катетера по п.6, в котором конец с отверстием содержит торцевую крышку, которая выполнена двухструйным литьем на плунжерной трубке.
14. Проводник для введения внутривенного катетера по п.6, в котором узел иглодержателя содержит расширительную камеру с внутренним пространством, которое просматривается сквозь не более, чем два слоя прозрачного пластика.
15. Проводник для введения внутривенного катетера по п.1, в котором узел иглодержателя содержит залитую иглу.
16. Проводник для введения внутривенного катетера по п.1, в котором игла приклеена в узле иглодержателя.
17. Проводник для введения внутривенного катетера по п.1, в котором игла закреплена в узле иглодержателя ультразвуковой сваркой.
18. Проводник для введения внутривенного катетера по п.14, в котором узел иглодержателя содержит иглу, конец которой выступает в расширительную камеру.
19. Проводник для введения внутривенного катетера по п.1, в котором трубчатый корпус имеет закрытый пробкой конец, содержащий обращенную внутрь круговую канавку в трубчатом корпусе и пористую пробку, вставленную с фрикционным зацеплением с круговой канавкой.
20. Проводник для введения внутривенного катетера по п.19, в котором круговая канавка в трубчатом корпусе примыкает к расходящемуся наружу участку внутренней стенки трубчатого корпуса.
21. Проводник для введения внутривенного катетера по п.1, в котором трубчатый корпус дополнительно содержит участок уменьшенного диаметра, который пространственно разнесен с круговой канавкой, и, при этом, плунжерную трубку можно вывести из зацепления с трубчатым корпусом приложением к плунжерной трубке усилия, которое является достаточным для сдвига кольцевого прилива из круговой канавки вдоль трубчатого корпуса к точке напротив участка уменьшенного диаметра.
22. Проводник для введения внутривенного катетера по п.21, в котором узел иглодержателя принудительно убирается в плунжерную трубку механизмом убирания, когда кольцевой прилив находится напротив участка уменьшенного диаметра.
23. Проводник для введения внутривенного катетера по п.1, в котором трубчатый футляр содержит открытый конец и множество поперечно выступающих полок, смежных с открытым концом.
24. Проводник для введения внутривенного катетера по п.1, в котором катетер дополнительно содержит канюлю, зависящую от втулки, присоединяемой к трубчатому футляру.
25. Проводник для введения внутривенного катетера, содержащий трубчатый футляр; узел иглодержателя с трубчатым корпусом, введенным в зацепление с возможностью сдвига внутри футляра; механизм убирания, установленный в кольцевом пространстве между футляром и узлом иглодержателя; плунжерный узел с плунжерной трубкой, введенной в разъемное зацепление с трубчатым корпусом внутри футляра; и катетер, присоединенный на фрикционном зацеплении к трубчатому футляру; в котором плунжерная трубка имеет конец с отверстием, который является противоположным трубчатому корпусу.
26. Проводник для введения внутривенного катетера по п.25, в котором конец с отверстием содержит пластиковую торцевую крышку.
27. Проводник для введения внутривенного катетера по п.26, в котором пластиковая торцевая крышка является окрашенной.
28. Проводник для введения внутривенного катетера по п.25, в котором конец с отверстием содержит торцевую крышку с отверстием для воздуха и непериодическими конструктивными элементами поверхностного рельефа, окружающими отверстие для воздуха.
29. Проводник для введения внутривенного катетера по п.25, в котором конец с отверстием содержит торцевую крышку с кольцевым бортом, который фрикционно зацепляется за плунжерную трубку.
30. Проводник для введения внутривенного катетера по п.25, в котором конец с отверстием содержит приклеенную торцевую крышку.
31. Проводник для введения внутривенного катетера по п.25, в котором конец с отверстием содержит торцевую крышку, закрепленную ультразвуковой сваркой.
32. Проводник для введения внутривенного катетера по п.25, в котором конец с отверстием содержит торцевую крышку, которая выполнена двухструйным литьем на плунжерной трубке.
33. Проводник для введения внутривенного катетера по п.25, в котором механизм убирания представляет собой пружину.
34. Проводник для введения внутривенного катетера по п.33, в котором пружина представляет собой сжатую пружину.
35. Проводник для введения внутривенного катетера по п.25, в котором трубчатый футляр и трубчатый корпус выполнены из прозрачного пластика.
36. Проводник для введения внутривенного катетера по п.35, в котором прозрачный пластик содержит поликарбонат.
37. Проводник для введения внутривенного катетера по п.35, в котором узел иглодержателя содержит расширительную камеру с внутренним пространством, которое просматривается сквозь не более, чем два слоя прозрачного пластика.
38. Проводник для введения внутривенного катетера по п.25, в котором узел иглодержателя содержит залитую иглу.
39. Проводник для введения внутривенного катетера по п.25, в котором игла приклеена в узле иглодержателя.
40. Проводник для введения внутривенного катетера по п.25, в котором игла закреплена в узле иглодержателя ультразвуковой сваркой.
41. Проводник для введения внутривенного катетера по п.37, в котором узел иглодержателя содержит иглу, конец которой выступает в расширительную камеру.
42. Проводник для введения внутривенного катетера по п.25, в котором трубчатый корпус имеет закрытый пробкой конец, содержащий обращенную внутрь круговую канавку в трубчатом корпусе и пористую пробку, вставленную с фрикционным зацеплением с круговой канавкой.
43. Проводник для введения внутривенного катетера по п.42, в котором круговая канавка в трубчатом корпусе примыкает к расходящемуся наружу участку внутренней стенки трубчатого корпуса.
44. Проводник для введения внутривенного катетера по п.25, в котором трубчатый футляр содержит открытый конец и множество поперечно выступающих полок, смежных с открытым концом.
45. Проводник для введения внутривенного катетера по п.25, в котором катетер дополнительно содержит канюлю, зависящую от втулки, присоединяемой к трубчатому футляру.
46. Проводник для введения внутривенного катетера, содержащий узел иглодержателя и плунжерный узел, установленные соосно и введенные в зацепление с возможностью сдвига внутри трубчатого футляра, катетер, разъемно присоединенный к трубчатому футляру, и механизм убирания, поджимающий узел иглодержателя к плунжерному узлу, в котором узел иглодержателя содержит удлиненный трубчатый корпус, имеющий первый конец, закрепляющий полую иглу со скошенным концом, второй конец, вмещающий пористую пробку, удерживаемую на фрикционном зацеплении, расширительную камеру, расположенную между первым и вторым концами и сообщающуюся по каналу для жидкости с полой иглой, и наружную стенку с круговой канавкой, расположенной вблизи второго конца; плунжерный узел содержит удлиненную плунжерную трубку, имеющую открытый конец, который введен в зацепление с возможностью сдвига по второму концу трубчатого корпуса узла иглодержателя, конец с отверстием, противоположный открытому концу, и зацепляющую конструкцию, выступающую радиально внутрь вблизи открытого конца; зацепляющая конструкция поджимается в зацепление с круговой канавкой узла иглодержателя усилием, достаточным, чтобы препятствовать перемещению узла иглодержателя к плунжерному узлу механизмом убирания.
47. Проводник для введения внутривенного катетера по п.46, в котором трубчатый корпус дополнительно содержит рельефную конструкцию, относительно которой можно сдвинуть зацепляющую конструкцию преодолением вручную поджимающего усилия зацепляющей конструкции, чтобы вывести зацепляющую конструкцию из зацепления с круговой канавкой.
48. Проводник для введения внутривенного катетера по п.46, в котором зацепляющая конструкция представляет собой кольцевой прилив.
49. Проводник для введения внутривенного катетера по п.46, в котором плунжерная трубка содержит полость для убирания, достаточно большую, чтобы вмещать внутри, по меньшей мере, участок узла иглодержателя при убирании иглы в положение, в котором скошенный конец находится внутри трубчатого футляра.
50. Проводник для введения внутривенного катетера по п.46, в котором конец с отверстием плунжерной трубки содержит торцевую крышку, установленную на фрикционном зацеплении.
51. Проводник для введения внутривенного катетера по п.50, в котором торцевая крышка содержит отверстие для воздуха и конструктивные элементы поверхностного рельефа, окружающие отверстие для воздуха.
52. Проводник для введения внутривенного катетера по п.46, в котором конец с отверстием содержит приклеенную торцевую крышку.
53. Проводник для введения внутривенного катетера по п.46, в котором конец с отверстием содержит торцевую крышку, закрепленную ультразвуковой сваркой.
54. Проводник для введения внутривенного катетера по п.46, в котором конец с отверстием содержит торцевую крышку, которая выполнена двухструйным литьем на плунжерной трубке.
55. Проводник для введения внутривенного катетера по п.46, в котором трубчатый футляр и трубчатый корпус выполнены из прозрачного пластика.
56. Проводник для введения внутривенного катетера по п.46, в котором механизм убирания представляет собой пружину.
57. Проводник для введения внутривенного катетера по п.56, в котором пружина представляет собой сжатую пружину.
58. Проводник для введения внутривенного катетера по п.46, в котором катетер дополнительно содержит канюлю, через которую проходит полая игла.
59. Проводник для введения внутривенного катетера, содержащий трубчатый футляр; узел иглодержателя с трубчатым корпусом, введенным в зацепление с возможностью сдвига внутри футляра; механизм убирания, установленный в кольцевом пространстве между футляром и узлом иглодержателя; плунжерный узел с плунжерной трубкой, введенной в разъемное зацепление с трубчатым корпусом внутри футляра; и катетер, присоединенный на фрикционном зацеплении к трубчатому футляру; в котором трубчатый корпус иглодержателя содержит верхний концевой участок и участок крепления иглы, причем верхний концевой участок содержит обращенную наружу круговую канавку находящуюся в разъемном зацеплении с направленным внутрь кольцевым приливом на плунжерной трубке, а участок крепления иглы простирается через механизм убирания и выступает спереди из трубчатого футляра.
60. Проводник для введения внутривенного катетера, содержащий прозрачный пластиковый трубчатый футляр, имеющий широкий конец, узкий конец, ступенчатый внутренний диаметр между широким и узким концами, и поперечно выступающие полки, смежные с широким концом; узел иглодержателя, установленный внутри футляра, содержащий полую иглу со скошенным концом, элемент крепления иглы, удерживающий иглу соосно футляру, прозрачную пластиковую расширительную камеру, сообщающуюся по каналу для жидкости с полой иглой, пористую пробку, закупоривающую расширительную камеру на конце, противоположном полой игле, и круговую канавку, обращенную радиально наружу вблизи закупоренного конца расширительной камеры; плунжерный узел, дополнительно содержащий прозрачную пластиковую плунжерную трубку с открытым концом, вставляемым в футляр в обхват участка узла иглодержателя, полость для убирания, достаточно большую, чтобы обеспечивать отвод скошенного конца иглы в футляр после убирания, первую конструкцию, выступающую радиально наружу для зацепления с футляром, и вторую конструкцию, выступающую радиально внутрь для зацепления с круговой канавкой; и снабженную отверстием торцевую крышку, закупоривающую плунжерную трубку со стороны, противоположной открытому концу; механизм убирания, сжатый внутри футляра вокруг узла крепления иглы и поджимающий узел крепления иглы к полости для убирания в плунжерной трубке; и катетер, охватывающий с фрикционным зацеплением узкий конец футляра и дополнительно содержащий канюлю, расположенную соосно с полой иглой и с возможностью сдвига по ней; в котором вторая конструкция зацепляется за круговую канавку для предотвращения смещения узла крепления иглы в полость для убирания прижимным усилием механизма убирания и любым дополнительным усилием, действующим вверх на иглу при введении канюли в пациента.
61. Способ сборки проводника для введения внутривенного катетера, содержащий следующие этапы: обеспечивают трубчатый футляр с широким концом, узким концом и ступенчатой внутренней стенкой; обеспечивают узел крепления иглы, содержащий трубчатый корпус, удерживающий полую иглу, соосно совмещенную и сообщающуюся по каналу для жидкости с, по существу, цилиндрической расширительной камерой, при этом, расширительная камера закрыта на конце, противоположном игле, пористой пробкой, и трубчатый корпус имеет также пружинонаправляющий участок и обращенную наружу круговую канавку вблизи закрытого пробкой конца; обеспечивают цилиндрическую возвратную пружину, способную обхватывать с возможностью сдвига пружинонаправляющий участок трубчатого корпуса; обеспечивают плунжерный узел, содержащий плунжерную трубку, имеющую открытый конец и конец с отверстием, при этом, плунжерная трубка имеет выступающую наружу конструкцию и выступающую внутрь конструкцию вблизи открытого конца; обеспечивают катетер, содержащий канюлю и трубчатую втулку; присоединяют трубчатую втулку для внутривенного введения к узкому концу футляра; вставляют цилиндрическую возвратную пружину в широкий конец футляра соосно с футляром; вставляют узел крепления иглы в широкий конец футляра соосно с футляром, и вынуждают иглу сдвигаться вниз через возвратную пружину и канюлю, пока трубчатый корпус не установится внутри футляра, и возвратная пружина не расположится вокруг направляющей для пружины;
вставляют плунжерную трубку в широкий конец футляра соосно с футляром и узлом крепления иглы, и вынуждают открытый конец плунжерной трубки продвигаться поверх закрытого пробкой конца узла иглодержателя, пока выступающая наружу конструкция не войдет в зацепление со ступенчатой внутренней стенкой футляра, и выступающая внутрь конструкция не войдет в зацепление с круговой канавкой, и тем самым сжимают возвратную пружину, и обеспечивают удерживание возвратной пружины в сжатом состоянии зацеплением между выступающей внутрь конструкцией и круговой канавкой.
62. Способ по п.61, в котором возвратную пружину устанавливают на узел крепления иглы до того, как узел крепления иглы вставляют в широкий конец футляра.
63. Способ по п.61, в котором плунжерную трубку вводят в зацепление с узлом крепления иглы до того, как узел крепления иглы вставляют в широкий конец футляра.
64. Способ по п.61, в котором узел крепления иглы сначала обеспечивают без иглы, а затем иглу вклеивают в узел крепления иглы после вставки узла крепления иглы в футляр.
65. Способ по п.61, в котором узел крепления иглы сначала обеспечивают без иглы, а затем иглу закрепляют ультразвуковой сваркой в узле крепления иглы после вставки узла крепления иглы в футляр.
РИСУНКИ
RH4A – Выдача дубликата патента Российской Федерации на изобретение
Дата выдачи дубликата: 05.07.2007
Наименование лица, которому выдан дубликат:
РИТРЭКТЭБЛ ТЕКНОЛОДЖИЗ, ИНК. (US)
Извещение опубликовано: 20.08.2007 БИ: 23/2007
|
|