|
|
(21), (22) Заявка: 2005134063/12, 03.11.2005
(24) Дата начала отсчета срока действия патента:
03.11.2005
(46) Опубликовано: 20.05.2007
(56) Список документов, цитированных в отчете о поиске:
RU 2238638 С2, 27.10.2004. RU 2054245 C1, 20.02.1996. RU 2240681 C1, 27.11.2004. RU 2124830 C1, 20.01.1999. FR 2605492 A1, 29.04.1988.
Адрес для переписки:
400059, г.Волгоград, ул. Изоляторная, 2, кв.89, А.М. Салдаеву
|
(72) Автор(ы):
Салдаев Александр Макарович (RU), Рогачев Алексей Фруминович (RU), Жирнов Анатолий Георгиевич (RU)
(73) Патентообладатель(и):
Федеральное государственное образовательное учреждение высшего профессионального образования “Волгоградская государственная сельскохозяйственная академия” (RU)
|
(54) КАПЕЛЬНИЦА
(57) Реферат:
Изобретение относится к сельскохозяйственному машиностроению, а именно к устройствам для полива сельскохозяйственных культур способом капельного орошения. Капельница содержит корпус с входным и выходным отверстиями. Корпусу придана форма двояковыпуклой линзы. На периферийной части корпуса выполнена кольцевая канавка. Кольцевой канавкой корпус смонтирован в отверстии стенки трубопровода. Корпус выполнен из эластичного материала и имеет верхнюю и нижнюю части. Входное и выходное отверстия соединены перекрытой эластичной мембраной с каналом и камерой. В нижней части корпуса выполнен дополнительный канал. Он гидравлически связан с выходным отверстием и камерой. Каналы в верхней и нижней частях корпуса выполнены в виде спиралей. Спиралям придана форма правой и левой эвольвенты круга. Капельница обеспечит высокое качество капельного полива при широком диапазоне перепадов давлений воды в полости трубопровода. 2 ил.
Изобретение относится к сельскохозяйственному машиностроению, а именно к устройствам для полива сельскохозяйственных культур способом капельного орошения.
Известно устройство капельного орошения, включающее цилиндрический остов с входным и выходным отверстиями, в котором подвижно расположен подпружиненный клапан, устройство снабжено эластичной манжетой, охватывающей остов и закрывающей выходное отверстие, при этом остов имеет внутреннюю с отверстием перегородку и установленное на ней кольцо, жестко скрепленное с клапаном, средняя часть которого выполнена в виде усеченного конуса и с возможностью контактирования с отверстием перегородки; на нижней части клапана выполнены зубчатые направляющие вдоль оси клапана; направляющие выполнены косозубчатыми в виде лопасти (RU, патент №2054245. С1. МПК7 А01G 25/02, В05В 1/02. Устройство капельного орошения / Я.С.Багул (MD), И.С.Нилов (MD). – Заявка №92005252/12; заявлено 11.11.1992; опубл. 20.02.1996).
К недостаткам описанного устройство капельного орошения относятся сложность конструкции, низкая эксплуатационная надежность и большие трудозатраты на сматывание трубопровода (8) из-за выступающих частей капельницы над внешней стенкой трубопровода.
Наиболее близким аналогом к заявленному объекту является капельница, содержащая корпус с входным и выходным отверстиями, эластичную мембрану, при этом верхняя часть корпуса закреплена на стенке трубопровода, а внутри трубопровода расположена часть корпуса с регулирующим органом, включающим канал и камеру, которая выполнена с возможностью регулирования сечения по высоте за счет изгиба эластичной мембраны, в которой корпус выполнен из эластичного материала, канал регулирующего органа имеет форму синусоиды, а эластичная мембрана установлена с возможностью перекрытия канала и камеры (RU, патент №2238638. С2. МПК7 А01G 25/02. Капельница / А.Г.Жирнов, В.А.Лукасик, Г.М.Мишарев, О.М.Толощук (RU). – Заявка №2001109800/12; заявлено 1.04.2001; опубл. 27.10.2004).
К недостаткам описанной капельницы, принятой нами в качестве наиближайшего аналога, относятся большое гидравлическое сопротивление истечения жидкости внутри трубопровода, нетехнологичность изготовления нижней части корпуса капельницы и склонность к забиванию взвесями и сором канала.
Сущность заявленного изобретения заключается в следующем.
Задача, на решение которой направлено заявленное изобретение, – повышение эксплуатационной надежности капельного орошения.
Технический результат – повышение качества капельного полива.
Указанный технический результат достигается тем, что в известной капельнице, содержащей корпус с верхней и нижней частями, закрепленный в отверстии стенки трубопровода и выполненный из эластичного материала, при этом корпус имеет входное и выходное отверстия, соединенные эластичной мембраной с каналом и камерой, согласно изобретению корпус выполнен в виде двояковыпуклой линзы и разделен кольцевой канавкой на его периферийной части: на верхнюю часть, установленную в полости трубопровода, и на нижнюю часть, выступающую на внешней поверхности стенки трубопровода, в нижней части корпуса выполнен дополнительный канал, гидравлически связанный с выходным отверстием и камерой, при этом каналы в верхней и нижней частях корпуса выполнены в виде спиралей правой и левой эвольвенты круга.
Изобретение поясняется чертежами.
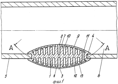
На фиг.1 представлено диаметральное сечение капельницы, установленной в отверстии стенки трубопровода.
На фиг.2 – сечение А-А на фиг.1, дополнительный канал в виде спирали – правой эвольвенты круга, соединяющий выходное отверстие с камерой.
Сведения, подтверждающие возможность реализации заявленного изобретения, заключаются в следующем.
Капельница содержит корпус 1. Корпус имеет входное отверстие 2 и выходное отверстие 3. Корпус 1 выполнен в виде двояковыпуклой линзы. На периферийной части корпуса 1 выполнена кольцевая канавка 4. Кольцевой канавкой 4 корпус 1 смонтирован в отверстии стенки 5 трубопровода 6. Корпус 1 с верхней и нижней частями, закрепленный в отверстии 5 стенки трубопровода 6, выполнен из эластичного материала. Корпус 1 разделен кольцевой канавкой 4 на его периферийной части: на верхнюю часть 7, установленную в полости трубопровода 6, и на нижнюю часть 8, выступающую на внешней поверхности стенки 5 трубопровода 6. Входное отверстие 2 и выходное отверстие 3 соединены эластичной мембраной 9 с каналом 10 и камерой 11. В нижней части 8 корпуса 1 выполнен дополнительный канал 12. Дополнительный канал 12 гидравлически связан с выходным отверстием 3 и камерой 11. Каналы 10 и 12 в верхней части 7 корпуса 1 и нижней части 8 выполнены в виде спиралей. Спиралям придана форма правой и левой эвольвенты круга. Дополнительный канал 12 перекрыт эластичной мембраной 13. Корпус 1 с верхней 7 и нижней 8 частями, входное отверстие 2 и выходное отверстие 3, мембраны 9 и 13, камера 11, основной канал 10 и дополнительный канал 12 выполнены в виде единой детали. Корпус 1 в отверстии стенки 5 трубопровода 6 может быть установлен как входным отверстием 2 в полости трубопровода 6, так и выходным отверстием 3. При автоматизации производства капельниц и сборки трубопровода 6 с корпусами 1 это упрощает технологию серийного производства.
Длина каналов 10 и 12 многократно превышает расстояние между впускным отверстием 2 и камерой 11, также как между камерой 11 и выпускным отверстием 3 в корпусе 1.
Капельница работает следующим образом.
При подаче под рабочим давлением оросительной воды в полость трубопровода 6, она через входное отверстие 2 поступает в основной канал 10. Входное отверстие 2 установлено в корпусе 1 тангенциально к направлению тока жидкости в трубопроводе 6. Сопряжение верхней части 7 корпуса 1 со стенкой 5 исключает нависание взвесей и сора на корпусе 1. Выполнение верхней части 7 корпуса 1 в виде шарового сегмента снижает до минимума гидравлическое сопротивление корпуса 1 в полости трубопровода 6. Эластичная мембрана 9 над каналом 9 нивелирует расход воды в зависимости от перепадов давления в полости трубопровода 6. Основной канал 10, выполненный по спирали в виде левой эвольвенты круга, тормозит жидкость в его стенках. По мере истечения воды в канале 10, она поступает в камеру 11. Камера 11 жидкость с верхней части 7 корпуса 1 перебрасывает в дополнительный канал 12, выполненный по спирали в виде правой эвольвенты круга. Жидкость, кроме движения вдоль стенки дополнительного канала 12, приобретает вращательное движение вокруг оси симметрии корпуса 1. Гидравлическое сопротивление потока жидкости возрастает, давление воды падает и через выходное отверстие 3 она падает в виде капель на орошаемый участок. Эластичная мембрана 13 в нижней части 8 корпуса 1 способствует удалению взвесей из каналов 10 и 12. Выполнение нижней части 8 корпуса 1 в виде шарового сегмента способствует размотке (намотке) трубопровода 6 с капельницами с бобин перед началом и после окончания поливного сезона. Выходное отверстие 3, выполненное вдоль оси симметрии корпуса 1, исключает его забивание почвой и сорной растительностью при волочении трубопровода 6. Описанная капельница обеспечит высокое качество полива при надлежащей эксплуатационной надежности.
Формула изобретения
Капельница, содержащая корпус с верхней и нижней частями, закрепленный в отверстии стенки трубопровода из эластичного материала, при этом корпус имеет входное и выходное отверстия, соединенные эластичной мембраной с каналом и камерой, отличающаяся тем, что корпус выполнен в виде двояковыпуклой линзы и разделен кольцевой канавкой на его периферийной части, на верхнюю часть, установленную в полости трубопровода и на нижнюю часть, выступающую на внешней поверхности стенки трубопровода, в нижней части корпуса выполнен дополнительный канал, гидравлически связанный с выходным отверстием и камерой, при этом каналы в верхней и нижней частях корпуса выполнены в виде спиралей правой и левой эвольвенты круга.
РИСУНКИ
MM4A – Досрочное прекращение действия патента СССР или патента Российской Федерации на изобретение из-за неуплаты в установленный срок пошлины за поддержание патента в силе
Дата прекращения действия патента: 04.11.2007
Извещение опубликовано: 27.07.2009 БИ: 21/2009
|
|