|
|
(21), (22) Заявка: 2005130380/12, 29.09.2005
(24) Дата начала отсчета срока действия патента:
29.09.2005
(46) Опубликовано: 20.05.2007
(56) Список документов, цитированных в отчете о поиске:
РОЖДЕСТВЕНСКИЙ В.И. и др. Управляемое культивирование растений в искусственной среде. – М.: Наука, 1980, С.16-17. рис.2б. SU 1380674 А1, 15.03.1988. US 3824736 А, 23.07.1974. US 4292762 А, 06.10.1981. SU 1366115 A1, 15.01.1988.
Адрес для переписки:
660049, г.Красноярск, пр. Мира, 88, КрасГАУ, патентоведу Т.А. Лобановой
|
(72) Автор(ы):
Долгих Павел Павлович (RU), Самойлов Максим Васильевич (RU)
(73) Патентообладатель(и):
Федеральное образовательное учреждение высшего профессионального образования Красноярский Государственный Аграрный Университет (RU)
|
(54) ВЕГЕТАЦИОННАЯ КАМЕРА
(57) Реферат:
Изобретение предназначено для регулирования и стабилизации тепловлажностных режимов при выращивании растений в искусственных условиях и позволяет экономить энергию на обогрев за счет использования утилизированного тепла от облучающих устройств внутри вегетационной камеры. Отсек с облучающими устройствами выполнен совмещенным с отсеком для подготовки воздуха. Торец отсека с облучающими устройствами закончен подвижным клапаном с возможностью перекрытия им обоих отсеков. В рабочем отсеке установлен датчик освещенности, который электрически связан с механизмом управления подвижным клапаном. Отсек подготовки воздуха снабжен бункером для приема утилизированного тепла от облучающих устройств. 1 ил.
Изобретение относится к сельскому хозяйству и предназначено для регулирования и стабилизации тепловлажностных режимов при выращивании растений в искусственных условиях.
Известна вегетационная камера для растений (Рождественский В.И., Клешнин А.Ф. Управляемое культивирование растений в искусственной среде. М.: Наука, 1980. С.16-17. Рис.2б – прототип). Камера состоит из рабочего отсека с передвижными стеллажами, перфорированным полом и жалюзи, отсека с облучающим устройством, изолированного от основного отсека стеклянным потолком, отсека для подготовки воздуха с вентилятором и кондиционирующим устройством, отсека для размещения аппаратуры контроля и регулирования климатических режимов.
Недостатком известной вегетационной камеры для растений является низкая эффективность использования энергии на обогрев.
Цель изобретения – экономия энергии на обогрев за счет использования утилизированного тепла от облучающих устройств внутри вегетационной камеры.
Известно, что требования к обеспечению температурных режимов для культивирования растений при разных уровнях облученности различны. Так, в условиях более интенсивного облучения, когда фотосинтез растений высок, температура воздуха может быть повышенной. Это ускоряет рост. При слабой облученности растений, чтобы уменьшить потери на дыхание, следует поддерживать пониженные температуры.
Технический результат достигается тем, что в вегетационной камере, состоящей из рабочего отсека с передвижными стеллажами, перфорированным полом и жалюзи, отсека с облучающими устройствами, изолированного от рабочего отсека стеклянным потолком, отсека для подготовки воздуха с вентилятором и кондиционирующим устройством, отсека для размещения аппаратуры контроля и регулирования климатических режимов, датчиков температуры и влажности, отсек с облучающими устройствами выполнен совмещенным с отсеком подготовки воздуха, торец отсека с облучающими устройствами закончен подвижным клапаном с возможностью перекрытия им обоих отсеков, а в рабочем отсеке установлен датчик освещенности, который электрически связан с механизмом управления клапаном, притом отсек подготовки воздуха снабжен бункером для приема утилизированного тепла от облучающих устройств.
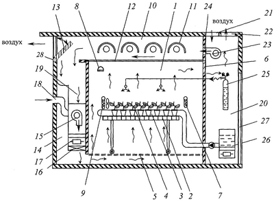
На чертеже представлена вегетационная камера.
Вегетационная камера (чертеж) содержит рабочий отсек 1 с передвижными стеллажами 2 с расположенными на них ваннами с питательным раствором 3, в которых находятся растения 4. Передвижные стеллажи 2 установлены на перфорированном полу 5. Рабочий отсек 1 содержит жалюзи 6, а также датчик температуры 7, датчик освещенности 8 и датчик влажности 9. Отсек 10 с облучающими устройствами 11 изолирован от рабочего отсека 1 стеклянным потолком 12. Отсек 10 с облучающими устройствами выполнен совмещенным с отсеком подготовки воздуха 14. Торец отсека 10 с облучающими устройствами 11 закончен подвижным клапаном 13 с возможностью перекрытия сообщения между отсеком 10 с облучающими устройствами 11 и отсеком подготовки воздуха 14 (клапан закрыт, т.е. установлен вертикально, и теплый воздух из отсека 10 поступает в отсек 14, или клапан открыт, т.е. установлен горизонтально, при этом воздух из отсека 10 поступает наружу). В рабочем отсеке 1 установлен датчик освещенности 8, который электрически связан с механизмом управления 28 подвижным клапаном 13. Таким образом, датчик освещенности выполняет кроме основной функции – регулирования облученности растений – дополнительную функцию: регулирует температурный режим.
Отсек для подготовки воздуха 14 содержит вентилятор 15 с кондиционирующим устройством 16 и устройством подогрева воздуха 17, а также воздуховод для притока свежего воздуха снаружи 18 и бункер для приема утилизированного тепла 19 от облучающих устройств 11.
Отсек для размещения аппаратуры контроля и регулирования климатических режимов 20 имеет приточный люк 21 и вытяжной люк 22, вентилятор системы охлаждения 23 с фильтром 24, совмещенный с отсеком 10 с облучающими устройствами 11. В отсеке для размещения аппаратуры контроля и регулирования климатических режимов 20 размещена система регулирования газовой среды 25, устройство для подготовки и подачи питательного раствора 26 и дверь для доступа обслуживающего персонала 27.
Вегетационная камера работает следующим образом.
При включении облучающих устройств 11 генерируется лучистый поток, часть которого в виде физиологически активной радиации поступает к растениям 4 через стеклянный потолок 12, и фиксируется датчиком освещенности 8, а другая часть в виде тепловой энергии накапливается в отсеке 10. После этого включатся в работу вентилятор системы охлаждения 23, который отфильтровывает через фильтр 24 воздух, полученный через приточный люк 21, и направляет его для снятия тепловой нагрузки в отсек 10 с облучающими устройствами 11. При этом с датчика освещенности 8 поступает сигнал на подвижный клапан 13, и он находится в вертикальном положении (закрыт). Утилизированная тепловая энергия поступает в бункер для приема утилизированного тепла 19 и далее, посредством вентилятора 15 подается через перфорированный пол 5 к передвижным стеллажам 2 с растениями 4, откуда через специальные жалюзи 6 попадает в отсек для размещения аппаратуры контроля и регулирования климатических режимов 20, где часть ее поступает в систему регулирования газовой среды 25, а затем через вытяжной люк 22 выводится наружу. При снижении облученности (например, по требованию технологического процесса выращивания) необходимо уменьшить температуру в рабочем отсеке 1, при этом поступает сигнал с датчика освещенности 8 на подвижный клапан 13, он переходит в горизонтальное положение (открыт), закрывая доступ в бункер утилизированного тепла 19, и утилизированная тепловая энергия выводится наружу. Если в рабочем отсеке 1 не достигается необходимая температура, в работу дополнительно включается устройство подогрева воздуха 17, получающее сигнал с датчика температуры 7, установленного в зоне растений 4. Если при закрытом подвижном клапане 13 (клапан находится в вертикальном положении) в рабочем отсеке 1 повысилась температура, то это повышение фиксируется датчиком 7 и подается сигнал на включение кондиционирующего устройства 16. Таким образом, в рабочем отсеке 1 поддерживается определенный температурно-влажностный режим.
Вегетационная камера позволяет поддерживать определенный температурно-влажностный режим с использованием тепловой энергии от облучающих устройств и экономить тем самым энергию, расходуемую на обогрев.
Вегетационная камера может быть легко реализована в сельском хозяйстве при управляемом культивировании растений в искусственных контролируемых и регулируемых условиях среды.
Формула изобретения
Вегетационная камера, состоящая из рабочего отсека с передвижными стеллажами, перфорированным полом и жалюзи, отсека с облучающим устройством, изолированного от рабочего отсека стеклянным потолком, отсека для подготовки воздуха с вентилятором и кондиционирующим устройством, отсека для размещения аппаратуры контроля и регулирования климатических режимов, датчиков влажности и температуры, отличающаяся тем, что отсек с облучающими устройствами выполнен совмещенным с отсеком для подготовки воздуха, торец отсека с облучающими устройствами закончен подвижным клапаном с возможностью перекрытия им обоих отсеков, а в рабочем отсеке установлен датчик освещенности, который электрически связан с механизмом управления подвижным клапаном, притом отсек подготовки воздуха снабжен бункером для приема утилизированного тепла от облучающих устройств.
РИСУНКИ
MM4A – Досрочное прекращение действия патента СССР или патента Российской Федерации на изобретение из-за неуплаты в установленный срок пошлины за поддержание патента в силе
Дата прекращения действия патента: 30.09.2007
Извещение опубликовано: 20.05.2009 БИ: 14/2009
|
|