|
|
(21), (22) Заявка: 2004134596/09, 17.03.2003
(24) Дата начала отсчета срока действия патента:
17.03.2003
(30) Конвенционный приоритет:
29.04.2002 US 10/134,840
(43) Дата публикации заявки: 10.05.2005
(46) Опубликовано: 10.05.2007
(56) Список документов, цитированных в отчете о поиске:
US 5896368 А, 20.04.1999. RU 2149518 C1, 20.05.2000. RU 2153225 C2, 20.07.2000.
(85) Дата перевода заявки PCT на национальную фазу:
29.11.2004
(86) Заявка PCT:
US 03/08253 (17.03.2003)
(87) Публикация PCT:
WO 03/093955 (13.11.2003)
Адрес для переписки:
129010, Москва, ул. Б. Спасская, 25, стр.3, ООО “Юридическая фирма Городисский и Партнеры”, пат.пов. Ю.Д.Кузнецову, рег.№ 595
|
(72) Автор(ы):
ВАННАТТА Луис Дж. (US), ФЕРНАНДЕС Эдгар П. (GB), АНДЕРСЕН Нильс Петер Сков (DK)
(73) Патентообладатель(и):
МОТОРОЛА, ИНК. (US)
|
(54) СПОСОБ И УСТРОЙСТВО ДЛЯ УМЕНЬШЕНИЯ КОНТРОЛЯ В СЖАТОМ РЕЖИМЕ ВОСХОДЯЩЕГО КАНАЛА СВЯЗИ В УСТРОЙСТВЕ СВЯЗИ
(57) Реферат:
Изобретение относится к управлению режимом работы устройства радиосвязи. Достигаемый технический результат – увеличение пропускной способности, связанной с уменьшением использования сжатого режима восходящего канала связи. Устройство и способ уменьшения контроля в сжатом режиме восходящего канала связи в устройстве связи включают этап контроля соседнего канала и измерения уровня его сигнала. Оценивают ожидаемый уровень снижения чувствительности контролирующего приемника для определения порогового значения. Сравнивают измеренный уровень сигнала с пороговым значением. Если уровень сигнала меньше порогового значения, то контролируют новый соседний канал для того, чтобы проверить, меняется ли уровень сигнала. Если нет, то вероятно, что измеренный сигнал является помехой. В этом случае устройство связи может запрашивать сжатый режим восходящего канала связи. Вызывая сжатый режим только при этих условиях поддерживают производительность передачи данных. 2 н. и 8 з.п. ф-лы, 3 ил.
ОБЛАСТЬ ТЕХНИКИ, К КОТОРОЙ ОТНОСИТСЯ ИЗОБРЕТЕНИЕ
Настоящее изобретение относится к управлению режимом работы устройства радиосвязи. Более конкретно данное изобретение относится к способу и устройству для использования восходящего канала связи в многорежимном устройстве радиосвязи.
УРОВЕНЬ ТЕХНИКИ
Новые системы цифровой сотовой связи, такие как система широкополосного множественного доступа с кодовым разделением каналов (WCDMA) – расширение глобальной системы мобильной связи (GSM) и цифровая система сотовой связи (DCS) могут использовать различные рабочие режимы для передачи цифровой информации. Например, цифровая информация может передаваться, используя два различных дуплексных режима, дуплексное разделение по частоте (FDD) и дуплексное разделение по времени (TDD), которые известны из предшествующего уровня техники, и используя различные диапазоны рабочих частот. Система GSM работает в диапазонах 900, 1800 и 1900 МГц, в то время как система DCS также работает в диапазоне 1800 МГц. Предоставление возможности работы в различных режимах FDD и TDD обеспечивает более эффективное использование спектра. Кроме того, при связи могут совместно использовать аспекты множественного доступа с кодовым разделением каналов (CDMA) и множественного доступа с временным разделением каналов (TDMA).
Многорежимные устройства связи предназначены для передачи и приема цифровых сообщений (информации), используя рабочие системы, выбранные из множества методов множественного доступа, которые включают в себя TDMA, CDMA, GSM и DCS и объединяют некоторые из этих методов и внедряют их в одно устройство. Приемная часть двухрежимного устройства связи, например, подобна приемной части устройства, которое не является двухрежимным, а настроено для приема комбинации сигналов в соответствии с любой из приведенных выше систем. Например, устройство, работающее в режиме FDD, может передавать в восходящем канале связи (ВКС, UL) в одной рабочей системе и принимать в нисходящем канале связи (НКС, DL) в другой рабочей системе. Кроме того, устройство обязано время от времени контролировать различные частоты каналов (FDD, TDD, GSM) этих систем для поиска каналов управления новых базовых станций.
Для обеспечения устройству времени для контроля других ячеек команды верхнего уровня могут предписывать устройству работать в сжатом режиме. В сжатом режиме формат слота изменяют для обеспечения промежутка в передаче, оставляя устройству свободный период времени, например, для выполнения измерения мощности промежуточной частоты, обнаружения канала управления другой базовой станции и передачи обслуживания. Когда устройство находится в сжатом режиме, информация, обычно передаваемая в течение кадра, сжимается во времени для обслуживания такого количества данных, которое передается в кадре.
Один из способов облегчения проблемы пропускной способности, связанной с использованием сжатого режима, состоит в том, чтобы иметь второй «контролирующий» приемник в устройстве связи, как изложено в предложенном стандарте «3rd Generation Partnership Project; Technical Specification Group Radio Access Network; Physical layer – Measurements (FDD) (Release 1999), V3.3.0, Sec. 6.1.1.1 (2000-06)». Использование второго приемника устраняет требование, чтобы устройство связи использовало сжатый режим в нисходящем канале связи. Однако может потребоваться, чтобы устройство использовало сжатый режим для восходящего канала связи. Например, устройство может передавать в восходящем канале связи при контроле нисходящего канала связи с использованием второго контролирующего приемника. К сожалению, в тех случаях, когда контролируемая частота расположена близко к частоте передачи восходящего канала связи (т.е. частоты в диапазоне TDD или GSM/DCS 1800/1900 МГц), устройство связи может фактически создавать помехи самому себе. Другими словами, передаваемая устройством энергия принимается и создает помехи приемнику устройства. Поэтому существует требование использования сжатого режима в восходящем канале связи для предоставления времени, когда отсутствует передача устройством, для точного контроля каналов управления базовой станции на близлежащих частотах без помех передатчику. Это правило существует даже тогда, когда устройство фактически создает мало помех самому себе.
На практике обычная схема приемника в устройстве связи содержит две обобщенные части: входную (высокочастотную) часть и внутреннюю часть. Функциями входной части являются выполнение начальной фильтрации, усиление требуемой полосы пропускания и преобразование к промежуточной частоте для дальнейшей обработки с помощью внутренней части приемника. Внутренняя часть преобразует сигнал к основной полосе частот при подготовке к цифровой обработке сигналов. Сигналы РЧ вводят во входную часть через антенну и передают от входной части к внутренней части.
Управление мощностью входящего сигнала приемника радиочастоты необходимо для поддержания уровней сигнала в пределах рабочего диапазона схемы основной полосы частот и для обеспечения правильной работы приемника. Мощность внеполосного сигнала ухудшает производительность приемника в результате уменьшающихся отношения сигнала к шуму и селективности приемника. Это может произойти, когда создающие помехи смежные сигналы являются очень сильными по сравнению с полезным сигналом в канале, например, когда устройство передает в восходящем канале связи при контроле нисходящего канала связи на близлежащей частоте. Это приводит к тому, что чувствительность полезного сигнала в канале уменьшается из-за внеполосного шума. Поэтому необходимо ограничивать мощность принятого сигнала до схемы основной полосы частот и поддерживать уровень сигнала в пределах рабочего диапазона схемы внутренней части. Части фильтра схемы основной полосы частот уменьшают сигналы шума от смежных помех, позволяя пройти только полезной частоте канала. Однако уровень входящей общей энергии до схемы основной полосы частот содержит полезный контролируемый сигнал, а также создающую помехи энергию восходящего канала связи. Решение предшествующего уровня техники состоит в том, чтобы использовать сжатый или слотовый режим восходящего канала связи при контроле частот, которые расположены близко к частоте передачи восходящего канала связи. Однако это приводит к уменьшению пропускной способности, как указано выше.
Поэтому существует потребность в уменьшении использования сжатого режима восходящего канала связи во время контроля приемником для увеличения пропускной способности. Было бы также выгодно определить те случаи, когда передача и прием в то же самое время не приводят к существенным помехам от самого себя в устройстве связи. Также было бы выгодно обеспечить эти усовершенствования без каких-либо дополнительных аппаратных средств или добавочной стоимости устройства связи.
КРАТКОЕ ОПИСАНИЕ ЧЕРТЕЖЕЙ
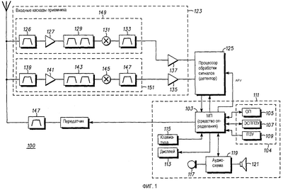
Фиг. 1 показывает структурную схему двухрежимного приемника радиочастоты в соответствии с настоящим изобретением;
Фиг. 2 показывает графическое представление снижения чувствительности приемника в соответствии с настоящим изобретением; и
Фиг. 3 – последовательность операций, показывающая этапы обнаружения помех и выбора сжатого режима в соответствии с предпочтительным вариантом осуществления настоящего изобретения.
ПОДРОБНОЕ ОПИСАНИЕ ПРЕДПОЧТИТЕЛЬНЫХ ВАРИАНТОВ ОСУЩЕСТВЛЕНИЯ
Настоящее изобретение обеспечивает уникальный способ уменьшения контроля в сжатом режиме восходящего канала связи около частоты полезного сигнала связи в схеме многорежимного приемника беспроводного устройства связи в системе связи. В предпочтительном варианте осуществления настоящего изобретения описан способ определения тех случаев, когда одновременная передача и прием не приводят к значительным помехам самому себе в устройстве связи, так что сжатый режим восходящего канала связи не требуется, таким образом улучшая пропускную способность. Это улучшение достигается без каких-либо дополнительных аппаратных средств или добавочной стоимости устройства связи. Вместо добавления схемы, которая в свою очередь добавляет стоимость и увеличивает размер устройства, настоящее изобретение преимущественно использует существующую схему в комбинации с программными решениями для обработки радиочастотных (РЧ) сигналов из множества полос пропускания, которые необходимы в двухрежимном устройстве связи.
Обращаясь к фиг. 1, на ней показывают структурную схему беспроводного устройства связи в соответствии с настоящим изобретением. Данное устройство предпочтительно является сотовым радиотелефоном, в который внедрено настоящее изобретение. В предпочтительном варианте осуществления микропроцессор 103, такой как микропроцессор 68HC11, также доступный от компании Motorola, Inc., генерирует необходимый протокол связи для работы в совместимой системе сотовой связи. Микропроцессор 103 использует память 104, которая содержит оперативную память (ОП) 105, электрически стираемое программируемое постоянное запоминающее устройство (ЭСППЗУ) 107 и/или постоянное запоминающее устройство (ПЗУ) 109, предпочтительно объединенную в одном модуле 111, для выполнения этапов, необходимых для генерации протокола и выполнения других функций для беспроводного устройства связи, таких как отображение информации на дисплее 113, прием информации от клавиатуры 115 или управление процессором 125 обработки сигналов, что включает в себя управление усилением приемника в соответствии с настоящим изобретением. Процессор 125 обработки сигналов включает в себя демодулятор, синтезатор, процессор обработки цифровых сигналов (DSP) и другие схемы, известные из предшествующего уровня техники, для выполнения преобразования основной полосы частот и соответствующей активной фильтрации, которые необходимы для демодуляции полезного сигнала связи. Микропроцессор 103 также обрабатывает аудиосигналы, преобразованные с помощью аудиосхемы 119, передаваемые от микрофона 117 и на динамик 121.
Фиг. 1 также показывает схему входного приемника 123, который способен принимать сигналы РЧ двух различных частотных полос пропускания, что требуется для работы двухрежимного устройства связи. Входной приемник состоит из двух каналов: первый канал 149 для работы в первом требуемом режиме и второй канал 151 для работы во втором требуемом режиме. В соответствии с одним из вариантов осуществления настоящего изобретения, канал один 149 настраивают для приема обычных сигналов связи, и канал два 151 настраивают для контроля каналов управления близлежащих базовых станций. Практически, эти два приемника работают на различных частотных диапазонах. Предполагается, что устройство связи 100 работает в GSM/DCS и WCDMA диапазонах на 900, 1800, 1900 МГц.
Процессор 125 обработки сигналов включает в себя синтезатор (не показан), который может содержать, например, предварительный усилитель промежуточной частоты (ПЧ), смеситель ПЧ, активный фильтр основной полосы частот и аналого-цифровой преобразователь, которые известны из предшествующего уровня техники. Предварительный усилитель ПЧ использует автоматическую регулировку усиления (АРУ) для управления усилением составного сигнала, вводимого на смеситель основной полосы частот, и активный фильтр основной полосы частот, так как оба чувствительны к перегрузке. АРУ поддерживает уровень мощности схемы основной полосы частот в пределах предназначенного рабочего диапазона, так что приемники могут функционировать должным образом. Смеситель ПЧ основной полосы частот преобразует сигнал ПЧ во вторую частоту ПЧ, которая затем впоследствии фильтруется с помощью активного фильтра основной полосы частот, что позволяет проходить для дальнейшей обработки только полезному сигналу связи. Хотя выполняют операцию фильтрации, шум и помехи на частоте полезного сигнала связи проходят к дальнейшей обработке. После фильтра сигнал преобразуют в цифровой сигнал с помощью аналого-цифрового преобразователя. Этот преобразователь берет все сигналы (полезный сигнал связи и помехи) и преобразует их в биты цифровых данных, которые затем дополнительно обрабатывают, что включает в себя дополнительную программную фильтрацию и демодуляцию. Цифровая обработка сигналов продвинулась до такого уровня, когда входящие сигналы и от первого, и от второго канала приема могут обрабатываться одновременно.
Процессор 125 обработки сигналов содержит детектор для обнаружения помех самому себе в соответствии с настоящим изобретением. Детектор оценивает мощность помех самому себе, прошедших через каналы приемника, и обеспечивает передачу этой оценки на микропроцессор 103, который содержит средство определения для сравнения сигнала с оцененными или измеренными сигналами для определения, присутствуют ли помехи самому себе или принимаемый сигнал является истинным принимаемым сигналом.
В соответствии с настоящим изобретением средство определения в микропроцессоре определяет, необходим ли на самом деле сжатый режим восходящего канала связи при текущих условиях в ячейке. Короче говоря, один из приемников используется в качестве средства оценки помех самому себе в устройстве связи (например, от восходящего канала связи WCDMA, мешающего нисходящему каналу связи DCS), и только если такие помехи самому себе найдены с помощью средства определения, то микропроцессор предписывает устройству связи запросить событие сжатого восходящего канала связи от сети системы связи для устранения помех самому себе. В любое другое время микропроцессор может работать в обычном режиме, таким образом увеличивая производительность.
На практике помехи самому себе зависят от диапазона. Например, диапазоны TDD и GSM-DCS имеют ограниченную селективность самогенерированного WCDMA передаваемого шума в приемном тракте и настоящее изобретение имеет наилучший эффект в этой ситуации. Данные требования фактически обусловлены, когда много параметров принимают во внимание. Прежде всего, средство определения использует измеренный уровень сигнала от детектора, известную частоту восходящего канала, известную частоту нисходящего канала связи и мощность передатчика устройства связи при определении, существуют ли достаточные помехи самому себе, чтобы гарантировать запрос на сжатый режим восходящего канала связи. Другие вторичные параметры можно также учитывать, которые включают в себя селективность фильтра, фактически передаваемый шум и эффекты соединения.
При применении настоящее изобретение лучше всего использовать в диапазоне DCS из-за его ограниченной селективности. Однако настоящее изобретение имеет применение в любой многорежимной системе связи, в которой частота приема находится рядом с одновременно присутствующей частотой широкополосной передачи. Кроме того, настоящее изобретение имеет применение в глобальной системе навигации и определения положения (GPS), причем время корреляции принятого сигнала системы GPS является длительным, что может потребовать подавление передатчика устройства.
Фиг. 2 обеспечивает пример потенциально самого плохого случая шума из-за помех самому себе для передатчика FDD на полной мощности на самом нижнем канале, наиболее близко расположенном к каналу контроля приемника. Например, граница 402 представляет диапазон нисходящего канала связи DCS от 1805 до 1880 МГц. Границы 403 и 405 представляют диапазон восходящего канала связи UMTS от 1900 до 1980 МГц. Граница 403 представляет принадлежащую TDD часть этого диапазона, и граница 405 представляет потенциально более неприятный диапазон FDD из-за более вероятного возникновения одновременной передачи и приема. В показанном случае передача в FDD UMTS ВКС происходит в полосе пропускания на 3,84 МГц. Спектральная плотность 406 мощности этой передачи показывает передачу в канале, который наиболее близок к нисходящему каналу связи DCS. Существует колено ниже этого канала, содержащее нелинейность n-ного порядка, и ниже него – широкополосный шум на уровне мощности приблизительно 50 дБм. Кривая 404 представляет сигнал нисходящего канала связи DCS (характеристика GSM) в самом близком канале к широкополосной передаче. Сигнал нисходящего канала связи DCS имеет полосу пропускания 150 кГц. Кривая 410 представляет дуплексную (UMTS) селективность в этом диапазоне частот, которая фактически помогает селективности DCS НКС.
Приемник при этих условиях имеет около 35 дБ снижения чувствительности (т.е. чувствительность в канале 1880 МГц может снизиться приблизительно на 35 дБ до того, как шум передатчика вызовет помехи). В этом случае, если уровень принятого полезного сигнала больше 35 дБ выше чувствительности приемника, или передатчик передает ниже полной мощности, то может происходить правильный прием, и использование сжатого режима канала связи больше не требуется. Таким образом, устройство связи может использовать полную емкость данных (WCDMA канала). В случае, показанном на фиг. 2, уровень сигнала значительно ниже шума передатчика, указывающего на создание помех самому себе и на необходимость сжатого режима канала связи.
Средство определения определяет, когда использовать сжатый режим восходящего канала связи, сначала с помощью оценки ожидаемого предела снижения чувствительности приемника. Например, снижение чувствительности может оцениваться с помощью:
Снижение чувствительности (дБ)=Ds+PTx+Rx+(FRx * Наклон),
где Ds – разность (в дБ) в самом плохом случае между дуплексной селективностью и шумом в ближайшем канале во время максимальной мощности передачи (например, 35 дБ в 1880 МГц), PTx – разность между мощностью передачи устройства связи (в дБ) и максимальной допустимой мощностью передачи (+24 дБм в системе WCDMA), Rx – контролируемый уровень принятого сигнала выше отношения несущей к помехам (9 дБ в системе GSM), FRx – расстояние (в МГц) между контролируемой принимаемой частотой и ближайшим нисходящим каналом (1880 МГц для полосы DCS), и Наклон – наклон селективности (12 дБ/75 МГц в диапазоне нисходящего канала связи DCS). Например, если приемник настроен на ближайший канал (1880 МГц), тогда Ds равно 35дБ (и FRx является также нулевым), если передатчик передает на своей самой высокой допустимой мощности (+24 дБм), тогда PTx равно нулю, затем, если уровень принятого сигнала равен 9 дБ (0 дБ выше порогового значения), тогда Rx равно нулю, и ожидаемое снижение чувствительности приемника равно 35 дБ.
Учитывая предсказанное снижение чувствительности приемника, если измерение соседней системы необходимо с помощью приемника, то средство определения может затем определять, требуется ли фактически сжатый режим канала связи, используя следующий процесс в соответствии с настоящим изобретением, и как представлено на фиг. 3. При запуске устройство связи будет работать в обычном несжатом режиме 500 восходящего канала связи. Следующий этап 502 включает в себя оценку снижения чувствительности контролирующего приемника устройства связи, как описано выше, для определения порогового значения. Этап оценки включает в себя измерение уровня сигнала, что может также включать в себя уровень фактического сигнала. Предпочтительно пороговое значение намного выше оцененного уровня снижения чувствительности. На практике пороговое значение определяют с помощью отношения несущей к помехам GSM, причем приемник обычно имеет достаточную чувствительность, если несущая около 9 дБ или больше выше уровня шума. Следует признать, что этот этап оценки может происходить на любой стадии процесса, но показывается в этой точке только для примера. Кроме того, снижение чувствительности может иногда оцениваться для отслеживания изменяющихся условий канала или управления мощностью и может происходить в разное время в процессе. Следующий этап 504 включает в себя перемещение рабочей частоты контролирующего приемника в соседний канал и измерение уровня сигнала канала с помощью детектора.
Следующий этап 506 включает в себя сравнение измеренного на этапе 504 уровня сигнала канала с пороговым значением этапа 502, причем если измеренный уровень сигнала канала намного больше порогового значения (например, 9 дБ), то вероятно, что уровень сигнала является правильным показанием без существенных помех самому себе, так как любые помехи самому себе должны иметь ту же самую величину, как оцененное снижение чувствительности. Если принимается решение, что измеренный уровень сигнала является правильным показанием, то устройство связи может продолжать работу в обычном режиме восходящего канала связи и продолжать контролировать 510 другие соседние каналы. Однако, если уровень измеренного сигнала меньше порогового значения или близок к оцененному снижению чувствительности, то все еще необходимо определять, является ли измеренный уровень сигнала истинным показанием или имеет помехи. В этом случае следующий этап 508 включает в себя перемещение рабочей частоты контролирующего приемника от только что измеренного канала в другой канал и измерение уровня сигнала нового канала.
На следующем этапе 512 определяют подобен ли уровень сигнала нового канала уровню предыдущего измеренного сигнала. Если они различны, то наиболее вероятно, что первоначально измеренный уровень сигнала является истинным показанием, и устройство связи может продолжать работу в обычном режиме восходящего канала связи и продолжать контролировать 510 другие соседние каналы. Однако, если два измеренных уровня сигналов приблизительно одинаковы, то вероятно, что оба сигнала являются измеряемой помехой. Даже если это только совпадение, что уровень сигналов фактически тот же самый, способ настоящего изобретения способен уменьшить использование сжатого режима восходящего канала связи. В случае, когда сигналы приблизительно одинаковые, устройство связи вводит сжатый режим работы 514 восходящего канала связи. Это может достигаться с помощью запроса сжатого режима восходящего канала связи от сети системы связи или с помощью автономного переключения в сжатый режим восходящего канала связи. Затем следует этап 516 перемещения рабочей частоты контролирующего приемника к предыдущей частоте канала и повторного измерения уровня сигнала, принимая его как истинное значение уровня сигнала. Затем при передаче информации можно запросить 518 работу в обычном режиме восходящего канала связи и продолжить контролировать 510 другие соседние каналы. Устройство связи хранит список других доступных соседних систем и каналов как часть его обычной работы. Предпочтительно, способ настоящего изобретения лучше всего применять при контроле каналов в диапазоне DCS из-за ограниченной селективности в этом диапазоне.
На практике передача с большой мощностью в режиме WCDMA делает трудным контроль ячеек DCS 1800 МГц из-за высокого уровня шума, сгенерированного в DCS диапазоне приема (Rx) с помощью усилителя мощности WCDMA. Кроме того, диапазон передачи (Tx) WCDMA и диапазон Rx DCS 1800 МГц расположены очень близко друг к другу (40 МГц), делая эффективную фильтрацию трудной для проектирования, т.е. при фильтрации для изоляции WCDMA Tx диапазона от DCS Rx диапазона потребовался бы большой и дорогостоящий фильтр с высоким вносимым затуханием, и как следствие, уменьшение срока службы батареи из-за потребляемой мощности.
Настоящее изобретение обеспечивает решение для того, чтобы избежать создания такого фильтра, используя сжатый режим в восходящем канале связи WCDMA для контроля DCS. В частности сжатый режим используется при передаче в WCDMA на высоких уровнях мощности, и обычный режим восходящего канала связи используется при передаче на более низких уровнях. Шум в Rx диапазоне DCS, сгенерированный усилителем мощности WCDMA, уменьшается значительно, когда выходная мощность передатчика уменьшается для удовлетворения требований спецификации чувствительности DCS. Пороговое значение выходной мощности, до которого достижим несжатый режим, также зависит от шумовых характеристик передатчика. Кроме того, достижение низкого уровня шума в Rx диапазоне позволяет устройству связи обходить усилитель мощности WCDMA при низких уровнях. Это также улучшает эффективность. При работе, в большинстве случаев, обычное устройство мобильной связи передает на уровнях малой мощности (ниже 0 дБм). Следовательно, несжатый режим для контроля DCS будет эффективным большую часть времени. Только иногда будет требоваться, чтобы мобильный телефон сжимал передачу WCDMA для контроля ячеек DCS.
Настоящее изобретение находит конкретное применение при поддержании оптимальной емкости данных, и работа в сжатом режиме происходит только тогда, когда существуют помехи самому себе. Способ обеспечивает процесс контроля устройством связи, выгодна ли работа в сжатом режиме. Это достигается с помощью существующих аппаратных средств, устраняющих потребность в дополнительной схеме, следовательно, экономящей место на печатной монтажной схеме и в пределах интегральных схем. Постоянно увеличивающиеся возможности технологии процессора обработки цифровых сигналов позволяют одновременное измерение и работу в различных режимах передачи сигналов для обеспечения постоянного управления.
Хотя данное изобретение описано и показано в приведенном выше описании и на чертежах, следует понимать, что данное описание предназначено только для примера и что многочисленные изменения и модификации могут быть сделаны специалистами в данной области техники, не отступая от широкого объема изобретения. Хотя настоящее изобретение находит конкретное применение в переносных сотовых радиотелефонах, изобретение может применяться в любом многорежимном беспроводном устройстве связи, которое включает в себя пейджеры, электронные органайзеры и компьютеры. Изобретение заявителей должно быть ограничено только последующей формулой изобретения.
Формула изобретения
1. Способ управления запросом сжатого режима для восходящего канала связи устройства связи, заключающийся в том, что
перемещают рабочую частоту контролирующего приемника устройства связи в соседний канал и измеряют уровень сигнала канала,
оценивают ожидаемый уровень снижения чувствительности контролирующего приемника для определения порогового значения,
сравнивают измеренный уровень сигнала с пороговым значением, причем если этот уровень сигнала меньше порогового значения, то дополнительно
перемещают рабочую частоту контролирующего приемника в новый соседний канал и измеряют уровень сигнала нового канала,
сравнивают новый уровень сигнала с предыдущим уровнем сигнала, причем если уровни сигналов приблизительно одинаковы, то дополнительно
запрашивают сжатый режим для восходящего канала связи и
перемещают рабочую частоту контролирующего приемника в предыдущий соседний канал и повторно измеряют уровень сигнала этого канала.
2. Способ по п.1, отличающийся тем, что пороговое значение этапа оценки приблизительно на 9 дБ выше оцененного уровня снижения чувствительности.
3. Способ по п.1, отличающийся тем, что уровень снижения чувствительности на этапе оценки вычисляют следующим образом:
Снижение чувствительности (дБ)=Ds+PTx+Rx+(FRx·Наклон),
где Ds является разностью в самом плохом случае между дуплексной селективностью и шумом в ближайшем канале во время максимальной мощности передачи, PTx – разность между мощностью передачи устройства связи и максимальной допустимой мощностью передачи, Rx – уровень контролируемого принятого сигнала выше порогового значения отношения несущей к помехам, FRx – расстояние контролируемой принимаемой частоты от ближайшего нисходящего канала связи, и Наклон – наклон селективности.
4. Способ по п.1, отличающийся тем, что на этапе сравнения нового уровня сигнала новый уровень сигнала находится в пределах 2 дБ от уровня предварительно измеренного сигнала.
5. Многорежимное устройство связи с радиочастотным передатчиком и радиочастотным приемником для контроля соседних каналов, выполненное с возможностью работы в системе связи, содержащее:
входную часть для приема сигнала связи соседнего канала,
внутреннюю часть, соединенную с входной частью для преобразования сигнала связи при подготовке к цифровой обработке сигнала,
детектор, соединенный с внутренней частью, причем детектор измеряет уровень сигнала связи, и
средство определения для определения, создает ли помехи сигнал от передатчика сигналу связи, причем если определено, что помехи существуют, то средство определения предписывает устройству связи запросить от системы связи работу в сжатом режиме для восходящего канала связи.
6. Устройство связи по п.5, отличающееся тем, что средство определения использует измеренный уровень сигнала от детектора, известную частоту восходящего канала связи, известную частоту нисходящего канала связи и мощность передатчика устройства связи при определении, существуют ли достаточные помехи, чтобы гарантировать запрос на сжатый режим для восходящего канала связи.
7. Устройство связи по п.5, отличающееся тем, что средство определения оценивает ожидаемый уровень снижения чувствительности приемника для определения порогового значения, причем если уровень сигнала меньше порогового значения, то средство определения предписывает устройству связи контролировать уровень сигнала нового соседнего канала, после чего если уровень сигнала нового соседнего канала приблизительно такой же, как предыдущий уровень сигнала, тогда условие помех обозначено и требуется сжатый режим для восходящего канала связи.
8. Устройство связи по п.7, отличающееся тем, что ожидаемое снижение чувствительности оценивают следующим образом:
Снижение чувствительности (дБ)=Ds+PTx+Rx+(FRx·Наклон),
где Ds – разность в самом плохом случае между дуплексной селективностью и шумом в ближайшем канале во время максимальной мощности передачи, PTx – разность между мощностью передачи устройства связи и максимальной допустимой мощностью передачи, Rx – уровень контролируемого принятого сигнала выше порогового значения отношения несущей к помехе, FRx – расстояние контролируемой принимаемой частоты от ближайшего нисходящего канала связи, и Наклон – наклон селективности.
9. Устройство связи по п.7, отличающееся тем, что пороговое значение приблизительно на 9 дБ выше оцененного уровня снижения чувствительности.
10. Устройство связи по п.7, отличающееся тем, что сжатый режим для восходящего канала связи требуется, если новый уровень сигнала находится в пределах 2 дБ от предварительно измеренного уровня сигнала.
РИСУНКИ
|
|