|
|
(21), (22) Заявка: 2004109583/09, 30.08.2002
(24) Дата начала отсчета срока действия патента:
30.08.2002
(30) Конвенционный приоритет:
31.08.2001 US 60/316,488
(43) Дата публикации заявки: 27.03.2005
(45) Опубликовано: 10.05.2007
(56) Список документов, цитированных в отчете о поиске:
ЕР 1089452 А, 04.04.2001. RU 99100706 А, 27.01.2001.
(85) Дата перевода заявки PCT на национальную фазу:
31.03.2004
(86) Заявка PCT:
US 02/27723 (30.08.2002)
(87) Публикация PCT:
WO 03/021806 (13.03.2003)
Адрес для переписки:
129010, Москва, ул. Б. Спасская, 25, стр.3, ООО “Юридическая фирма Городисский и Партнеры”, пат.пов. Ю.Д.Кузнецову, рег.№ 595
|
(72) Автор(ы):
КАНГ Иниуп (US), РОХ Марк (US), ДЖОНСОН Брендон Л. (US)
(73) Патентообладатель(и):
КВЭЛКОММ ИНКОРПОРЕЙТЕД (US)
|
(54) ИНТЕРПОЛЯЦИЯ РЕЗУЛЬТАТОВ ИССЛЕДОВАНИЯ КАНАЛА
(57) Реферат:
В общем, изобретение облегчает исследование пиковых значений энергии в системах беспроводной связи расширенного спектра с большей точностью. Более конкретно, различные варианты осуществления изобретения могут включать в себя сообщение не только о пиковом значении энергии и его связанном смещении, но также и об уровнях энергии, соответствующих одному или нескольким смещениям, встречающимся до и после смещения, на котором встречается пиковое значение энергии. Можно использовать методы интерполяции или экстраполяции для предсказания фактического расположения пикового значения энергии на основе видимого расположения пикового значения и уровней энергии, наблюдаемых в окружающих смещениях, что является техническим результатом. 6 н. и 29 з.п. ф-лы, 4 ил.
Область техники, к которой относится изобретение
Изобретение касается беспроводной связи и, более конкретно, беспроводной связи с использованием технических приемов расширения спектра.
Уровень техники
Для обеспечения различных типов связи, таких как речевая связь и передача данных, широко применяют системы беспроводной связи. Эти системы могут быть основаны на различных способах модуляции, таких как множественный доступ с кодовым разделением каналов (МДКР, CDMA) или множественный доступ с временным разделением каналов (МДВР, TDMA). Система МДКР обеспечивает некоторые преимущества по сравнению с другими типами систем, включая повышенную пропускную способность системы.
Система МДКР может быть разработана для поддержания одного или нескольких стандартов МДКР, таких как (1) “Стандарт совместимости подвижной станции – базовой станции для двухрежимной широкополосной системы с сотовой структурой зоны обслуживания расширенного спектра TIA/EIA-95-B” (стандарт IS-95), (2) стандарт, предлагаемый консорциумом под названием “Проект партнерства 3-го поколения” (3GPP) и воплощенный в ряде документов, включая Документы №№ 3G TS 25.211, 3G TS 25.212, 3G TS 25.213 и 3G TS 25.214 (стандарт ШМДКР, W-CDMA) (широкополосный множественный доступ с кодовым разделением каналов), (3) стандарт, предлагаемый консорциумом под названием “Проект партнерства 3-го поколения № 2” (3GPP2) и воплощенный в ряде документов, включая “Стандарт физического уровня C.S0002-A для систем расширенного спектра cdma2000” (множественный доступ с кодовым разделением каналов 2000), “Стандарт передачи сигналов верхнего уровня (3 уровня) C.S0005-A для систем расширенного спектра cdma2000” и “Технические требования радиосопряжения высокоскоростной коммутации пакетов cdma2000 C.S0024” (стандарт cdma2000), и (4) некоторые другие стандарты.
Последовательности псевдослучайного шума (ПШ, PN) обычно используются в системах МДКР для распределения передаваемых данных, включая передаваемые пилот-сигналы. Время, требуемое для передачи единственного значения последовательности ПШ, известно как элементарная посылка, а скорость, с которой изменяются элементарные посылки, известна как частота следования элементарных посылок. Приемные устройства МДКР обычно используют многоотводные приемные устройства (рейк приемные устройства). Рейк приемное устройство RAKE обычно формируют из одного или нескольких поисковых устройств для обнаружения прямых и многолучевых пилот-сигналов от одной или нескольких базовых станций, и двух или более многолучевых демодуляторов (указателей) для приема и объединения информационных сигналов от этих базовых станций.
Свойственным в проектировании систем МДКР прямых последовательностей является требование, что приемное устройство должно совмещать свои последовательности ПШ с последовательностями ПШ базовой станции. Например, при IS-95 каждая базовая станция и абонентский аппарат используют точно одинаковые последовательности ПШ. Базовая станция отличает себя от других базовых станций, вставляя уникальное временное смещение в генерирование своих последовательностей ПШ (все базовые станции смещены на целое кратное 64 элементарных посылок). Абонентский аппарат обменивается информацией с базовой станцией, назначая по меньшей мере один указатель для этой базовой станции. Назначенный указатель должен вставлять соответствующее смещение в его последовательность ПШ, чтобы обмениваться информацией с этой базовой станцией. Приемное устройство IS-95 использует одно или несколько поисковых устройств для обнаружения смещений пилот-сигналов и, следовательно, для использования этих смещений в назначении указателей для приема. Поскольку системы IS-95 используют единственный набор синфазных (совпадающих по фазе) (I) и квадратурных (сдвинутых на 90° градусов) (Q) последовательностей ПШ, один способ обнаружения пилот-сигналов заключается в простом исследовании всего пространства ПШ посредством коррелирования сформированной внутри последовательности ПШ с различными гипотезами смещения до тех пор, пока не будут обнаружены один или несколько пилот-сигналов.
Когда поисковое устройство коррелирует последовательность ПШ с каждой гипотезой смещения, оно регистрирует результирующую энергию сигналов. Для гипотез смещения проявляются пиковые значения энергии, что приводит к восстановлению сигнала, в то время как другие гипотезы смещения обычно приводят к малой энергии сигнала или ее отсутствию. Множество пиковых значений энергии могут возникать, например, от эхо-сигналов, образующихся при отражении сигналов от зданий и других объектов.
В некоторых случаях сообщаемые пиковые значения точно не совпадают с фактическими расположениями пиковых значений энергии. Задержка распространения сигнала, связанная с расстоянием между подвижной станцией и базовой станцией, может стать причиной того, что расположение пикового значения энергии находится с каким-то смещением, равным дробному значению элементарной посылки. Поисковое устройство обычно работает с разрешающей способностью, равной половине элементарной посылки ПШ. То есть поисковое устройство проверяет гипотезы смещения, которые располагаются на расстоянии половины элементарной посылки ПШ. В результате фактическое расположение пикового значения энергии может быть при любом смещении в пределах половины элементарной посылки от расположения, сообщаемого поисковым оборудованием поисковому программному обеспечению. Исследование пиковых значений энергии в интервалах, равных половине элементарной посылки, может не адекватно обнаруживать истинное расположение пикового значения энергии. Однако делать это выгодно для снижения времени исследования по сравнению с исследованием с разрешающей способностью, составляющей, например, одну восьмую элементарной посылки.
Другие системы, типа систем ШМДКР, различают базовые станции, используя уникальный код ПШ для каждой базовой станции, который известен как первичный код скремблирования. Стандарт ШМДКР определяет две золотые кодовые последовательности для скремблирования нисходящей линии связи, одну для синфазной составляющей (I), а другую для квадратурной составляющей (Q). I и Q последовательности ПШ вместе транслируются по всей сотовой ячейке без модуляции данных. Эта широковещательная передача называется общим каналом пилот-сигнала (ОКПС, CPICH). Генерируемые последовательности ПШ усекают до длины 38.400 элементарных посылок. Период в 38.400 элементарных посылок называется кадром (блоком данных) радиосвязи. Каждый блок данных радиосвязи разделен на 15 равных секций, называемых слотами (временными интервалами).
Можно осуществлять поиск базовых станций ШМДКР способом, описанным для систем IS-95, который описан выше. То есть все пространство ПШ можно подвергать исследованию, смещение за смещением (38.400 из них) для каждого из 512 первичных кодов. Однако это не практично из-за чрезмерного количества времени, которое требуется для такого исследования. Вместо этого стандарт ШМДКР обращается с запросом в базовые станции передавать два дополнительных канала синхронизации, первичный и вторичный каналы синхронизации, чтобы помочь абонентскому аппарату в эффективном исследовании.
Для начального захвата трехэтапное исследование ШМДКР обеспечивает значительное увеличение эффективности, исходя из сниженного времени исследования, по сравнению с непрактичным альтернативным вариантом исследования всего пространства ПШ для каждого кода скремблирования.
Время исследования представляет собой важный показатель в определении качества системы МДКР. Сниженное время исследования подразумевает, что исследования можно выполнять более часто. В этом случае абонентский аппарат может обнаруживать и обращаться к наиболее доступной сотовой ячейке более часто, приводя к лучшей передаче и приему сигнала, часто на пониженных уровнях мощности передачи и базовой станции, и абонентского аппарата. Это, в свою очередь, увеличивает пропускную способность системы МДКР либо в отношении поддержки увеличенного количества пользователей, более высоких скоростей передачи данных, либо и того, и другого. Сниженное время исследования также выгодно, когда абонентский аппарат находится в режиме ожидания. В режиме ожидания абонентский аппарат активно не передает или не принимает речь или данные, но периодически контролирует систему. В режиме ожидания абонентский аппарат может оставаться в состоянии малой мощности, когда он не осуществляет контроль. Сниженное время исследования позволяет абонентскому аппарату затрачивать меньше времени на контроль и больше времени проводить в состоянии малой мощности, таким образом сокращая потребляемую мощность и увеличивая продолжительность работы в режиме ожидания.
Сущность изобретения
В общем, изобретение облегчает исследование пиковых значений энергии в системах беспроводной связи расширенного спектра с большей точностью без увеличения времени исследования или существенного увеличения объема поискового оборудования. Более конкретно, различные варианты осуществления изобретения могут включать в себя сообщения не только о пиковом значении энергии и его связанном смещении, но также и об уровнях энергии, соответствующих одному или нескольким смещениям, встречающимся непосредственно до и после смещения, при котором встречается пиковое значение энергии. Для предсказания фактического расположения пикового значения энергии на основании его видимого расположения и уровней энергии, наблюдаемых в окружающих смещениях, можно использовать методы интерполяции или экстраполяции.
Согласно различным вариантам осуществления изобретения оборудование исследования канала может работать в любом из двух режимов. В одном режиме оборудование исследования канала сообщает о смещении и уровне энергии сигнала, связанном с обнаруженным пиковым значением энергии. В другом режиме оборудование исследования канала также сообщает об уровнях энергии боковых зон слева и справа от обнаруженного пикового значения энергии, то есть уровнях энергии сигнала, обнаруженных в смещениях, предшествующих и следующих за обнаруженным пиковым значением энергии.
Изобретение может предлагать ряд преимуществ. Например, множество систем беспроводной связи расширенного спектра используют демодулятор, который работает с более высокой разрешающей способностью, чем оборудование исследования канала. Следовательно, обычные методы исследования могут определять расположение пикового значения энергии со степенью точности, ограниченной разрешающей способностью оборудования исследования канала, составляющей, например, половину элементарной посылки ПШ. Сообщая об уровнях энергии, соответствующих смещениям непосредственно слева и справа от видимого расположения пикового значения, которые обнаружены оборудованием исследования канала, и выполняя интерполяцию или экстраполяцию на основе этих уровней энергии, способы исследования канала, обеспечиваемые настоящим изобретением, могут определять истинное расположение пикового значения с большей степенью точности. В результате время, включенное во время определения местонахождения, может быть снижено. Время определения местонахождения включает в себя регулирование с приращением смещений, связанных с указателями демодуляции, до тех пор, пока они лучше всего не совпадут с фактическим смещением сигнала, ограничиваясь разрешающей способностью демодулятора. Кроме того, может быть более точно определено физическое местоположение устройства беспроводной связи. Помимо этого, поскольку уровни энергии рядом с пиковым значением уже в общем доступны во время операции исследования и алгоритмы интерполяции могут быть воплощены в программном обеспечении, это изобретение можно осуществить лишь с минимальными изменениями поискового оборудования.
В одном варианте осуществления изобретение направлено на способ исследования канала, осуществляемый в системе с расширением спектра. Пиковый уровень энергии и по меньшей мере один уровень энергии боковой зоны идентифицируют для сигнала с расширенным спектром, используя оборудование исследования канала. Пиковый уровень энергии принимают от оборудования исследования канала. В одном режиме работы от оборудования исследования канала также принимают по меньшей мере один уровень энергии боковой зоны. Демодулятор сконфигурирован, как функция пикового уровня энергии и по меньшей мере одного уровня энергии боковой зоны.
Другой вариант осуществления направлен на способ идентифицирования кода распределения, используемого для кодирования принимаемого сигнала МДКР. Определяют поисковое окно, которое содержит набор смещений в пределах последовательности псевдослучайного шума (ПШ). Для каждого смещения применяют соответствующий код расширения к принятому сигналу МДКР с целью получения уровня энергии сигнала. Сообщают по меньшей мере одно смещение пикового значения, для которого полученный уровень энергии сигнала является самым большим. Когда разрешен режим боковых зон, также сообщают уровни энергии боковых зон, соответствующие смещениям, предшествующим и следующим за смещением пикового значения.
Другие варианты осуществления направлены на доступные для чтения процессором носители информации и устройства, осуществляющие эти способы.
Дополнительные подробности различных вариантов осуществления сформулированы ниже в прилагаемых чертежах и описании. Другие признаки, задачи и преимущества станут очевидными из описания и чертежей, и из формулы изобретения.
Краткое описание чертежей
Фиг.1 представляет блок-схему, иллюстрирующую устройство беспроводной связи (УБС, WCD), которое включает в себя модуль исследования канала, в соответствии с одним вариантом осуществления изобретения.
Фиг.2 представляет график, иллюстрирующий примерное отображение смещений ПШ для уровней энергии сигнала.
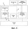
Фиг.3 представляет блок-схему, изображающую вариант осуществления модуля исследования канала, в соответствии с другим вариантом осуществления изобретения.
Фиг.4 представляет графическую схему программы, иллюстрирующую примерный режим работы модуля исследования канала, показанного на фиг.3.
Подробное описание
Фиг.1 представляет блок-схему, иллюстрирующую примерное устройство беспроводной связи (УБС) 10, имеющее модуль 12 исследования канала, который может работать в ряде режимов сообщения об энергии. В зависимости от рабочего режима модуль 12 исследования канала может сообщать, например, не только о пиковом значении энергии и его связанном смещении, но также и об уровнях энергии, соответствующих одному или нескольким смещениям, ближайшим к смещению, при котором встречается пиковое значение энергии.
Как показано на фиг.1, УБС 10 может включать в себя, в дополнение к модулю 12 исследования канала, радиочастотное передающее/приемное устройство 14, модем 16, модуль 18 определения местоположения, микропроцессор 22 и радиочастотную антенну 24. Не ограничивающие примеры УБС 10 включают в себя сотовый радиотелефон, спутниковый радиотелефон, PCMCIA-плату (Международная ассоциация производителей плат памяти для персональных компьютеров), встроенную в компьютер, ПЦС (PDA) (персональный цифровой секретарь), оборудованный возможностями беспроводной связи, и т.п. Кроме того, технические приемы, описанные со ссылкой на фиг.1, легко можно осуществить в других компонентах беспроводной системы, типа базовой станции, работающей в режиме приема.
УБС 10 может быть разработано для поддержания одного или нескольких стандартов и/или конструкций МДКР (например, стандарт ШМДКР, стандарт IS-95, стандарт cdma2000 и технические требования cdma2000 1xEV). Модем 16 включает в себя электрические схемы демодулятора/декодера и электрические схемы кодера/модулятора, причем и те, и другие подсоединены к передающему/приемному устройству 14 для передачи и приема сигналов связи.
В варианте осуществления изобретения УБС 10 использует протокол МДКР для осуществления передачи и приема сигналов с базовой станции через антенну 24. Перед обменом сигналами с базовой станцией УБС 10 должно совместить свои последовательности ПШ с последовательностями ПШ базовой станции. Например, при IS-95 каждая базовая станция и абонентский аппарат используют точно такие же последовательности ПШ. Базовые станции различаются уникальными временными смещениями в формировании своих последовательностей ПШ. УБС 10 обменивается информацией с базовой станцией, назначая по меньшей мере один указатель для этой базовой станции. Назначенный указатель должен вставлять соответствующее смещение в его последовательность ПШ, чтобы обмениваться информацией с этой базовой станцией. Приемное устройство IS-95 использует модуль 12 исследования канала для обнаружения смещений пилот-сигналов и, следовательно, использует те же смещения в назначаемых указателях для приема сигналов от базовой станции. Поскольку системы IS-95 используют единственный набор из синфазных (I) и квадратурных (Q) последовательностей ПШ, один способ обнаружения пилот-сигналов заключается просто в исследовании всего пространства ПШ, используя модуль 26 коррелятора или, в качестве альтернативы, модем 16 для коррелирования сформированной внутри последовательности ПШ с различными гипотезами смещения до тех пор, пока не будут обнаружены один или несколько пилот-сигналов.
Когда модуль 26 коррелятора коррелирует последовательность ПШ с каждой гипотезой смещения, модуль 12 исследования канала регистрирует результирующую энергию сигнала. Пиковые значения энергии проявляются для гипотез смещения тем, что приводят к восстановлению сигнала, в то время как другие гипотезы смещения обычно приводят к малой энергии сигнала или ее отсутствию. Уровень энергии сигнала может быть выражен в виде относительной величины, например, масштабируемого целого числа, имеющего значение между 0 и 65535. Как описано ниже, модуль 12 исследования канала преобразует смещения в соответствующие уровни энергии сигнала и идентифицирует одно или несколько пиковых значений сигнала, имеющих самые большие уровни энергии. Хотя только одно смещение используется в формировании последовательности ПШ для конкретной базовой станции, отражения сигнала или эхо-сигналы могут вызвать возникновение множества пиковых значений энергии. УБС 10 может использовать эти эхо-сигналы, чтобы облегчить восстановление передаваемого сигнала.
Поскольку отраженные сигналы могут быть полезны в некоторых вариантах осуществления, УБС 10 идентифицирует множество пиковых значений сигнала, которые соответствуют и передаваемым, и отраженным сигналам. Модуль 12 исследования канала может работать в любом из двух режимов. В одном режиме модуль 12 исследования канала сообщает о смещении и уровне энергии сигнала для каждого обнаруженного пикового значения сигнала. В другом режиме, известном как режим боковых зон, модуль 12 исследования канала также сообщает об уровнях энергии боковых зон для каждого пикового значения. То есть модуль 12 исследования канала сообщает об уровнях энергии сигнала, обнаруженных с любой стороны от каждого пикового значения, например, об уровне энергии левой боковой зоны и об уровне энергии правой боковой зоны. Таким образом, модуль исследования канала может применять методы интерполяции или экстраполяции для оценки обнаружения пикового значения энергии с большей точностью.
Работой модуля 12 исследования канала управляет программное обеспечение исследования канала, выполняемое, например, микропроцессором 22. Как описано ниже со ссылкой на фиг.4, программное обеспечение исследования канала определяет поисковое окно, задавая смещение, при котором модуль 12 исследования канала начинает исследование, а также либо смещение, при котором модуль 12 исследования канала заканчивает исследование, либо размер поискового окна, то есть количество смещений, подлежащих исследованию. Затем модуль 12 исследования канала применяет смещения в поисковом окне к сигналу МДКР, как описано выше, и сообщает о результатах программному обеспечению исследования канала. Тогда программное обеспечение исследования канала использует эту информацию, чтобы сконфигурировать модем 16, например, назначая указатели демодуляции, соответствующие обнаруженным кодам расширения. Программное обеспечение исследования канала может также использовать результаты исследования для других целей, таких как определение физического местоположения УБС 10. И назначение указателей демодуляции, и определение местоположения улучшаются при более точном определении смещения. Например, точное определение смещения снижает время, необходимое для времени определения местонахождения. Кроме того, обнаружение УБС 10 может быть определено более точно. В устройствах ШМДКР определение смещения можно использовать в наблюдаемой разнице во времени вычисления входа в систему (OTDOA) для определения местоположения УБС 10.
Фиг.2 представляет график, иллюстрирующий одно примерное отображение, идентифицированное модулем 12 исследования канала. В частности, на фиг.2 вычерчены уровни энергии, производимые коррелированием поступающего сигнала МДКР с различными кодами расширения, то есть с различными смещениями, в пределах последовательности псевдослучайного шума (ПШ). В этом примере применение большей части кодов расширения к поступающему сигналу МДКР не приводит к корреляции и, следовательно, энергия сигнала отсутствует. Однако некоторые коды расширения приводят к пиковым значениям энергии. Например, одно пиковое значение энергии 30 может соответствовать передаваемому сигналу. Другие пиковые значения энергии 32, 34 и 36 могут представлять отраженные сигналы. Кроме того, каждое из пиковых значений энергии 30, 32, 34 и 36 в этом примере имеет окружающие уровни энергии “боковых зон” непосредственно слева и справа от пикового значения. Эти уровни энергии боковых зон образуются вследствие применения к сигналу МДКР кодов расширения, соответствующих смещениям, которые непосредственно предшествуют и непосредственно следуют за смещениями, при которых модуль 12 исследования канала обнаружил пиковые значения энергии. В некоторых случаях, таких как пиковые значения энергии 30 и 34, пики относительно острые, и уменьшение уровней энергии боковых зон происходит быстро с обеих сторон от пиковых значений. В других случаях, таких как пиковые значения энергии 32 и 36, уменьшение уровней энергии боковых зон происходит более плавно, демонстрируя более широкие пики.
Как было отмечено выше, модуль 12 исследования канала может работать с разрешающей способностью, равной половине элементарной посылки. В качестве альтернативы уровни энергии сигнала можно измерять с более высокой разрешающей способностью, например, с разрешающей способностью, равной одной восьмой элементарной посылки, для согласования с разрешающей способностью оборудования демодулятора. В некоторых случаях один из уровней энергии сигнала, зарегистрированных с более высокой разрешающей способностью, может быть выше, чем уровень энергии сигнала в пиковом значении энергии, обнаруженном модулем 12 исследования канала с разрешающей способностью, равной половине элементарной посылки. Следовательно, истинное расположение пикового значения энергии может находиться на расстоянии до половины элементарной посылки от его видимого расположения. Различные варианты осуществления изобретения могут оценивать истинное расположение пикового значения энергии с большей точностью, например, с разрешающей способностью, равной одной восьмой элементарной посылки, сообщая, в одном рабочем режиме, не только о пиковом значении энергии, обнаруженном модулем 12 исследования канала с разрешающей способностью, равной половине элементарной посылки, но также и об уровнях энергии боковых зон. Эти уровни энергии боковых зон находятся на единичном разрешении от пикового значения энергии, обнаруженного модулем 12 исследования канала. Например, если модуль 12 исследования канала работает с разрешающей способностью, равной половине элементарной посылки, уровни энергии боковых зон включают в себя уровень энергии сигнала со смещением, равным половине элементарной посылки ПШ, влево от пикового значения энергии и уровень энергии сигнала со смещением, равным половине элементарной посылки ПШ, вправо от пикового значения энергии. В некоторых вариантах осуществления модуль 12 исследования канала использует метод интерполяции или экстраполяции на основе этих уровней энергии боковых зон для оценки истинного расположения пикового значения энергии.
Соответственно, модуль 12 исследования канала может оценивать расположение пиковых значений энергии с большей точностью, чем осуществляет одно оборудование исследования канала. Эта большая степень точности выгодна в некоторых применениях. Например, в некоторых применениях восстановление сигнала МДКР существенно улучшается посредством точного определения смещения. Кроме того, точное определение смещения может облегчать точное определение расположения УБС 10.
Фиг.3 представляет блок-схему, изображающую примерный вариант осуществления модуля 12 исследования канала в соответствии с вариантом осуществления изобретения. Модуль 12 исследования канала включает в себя поисковое оборудование 38, которое идентифицирует смещение, связанное с базовой станцией, используя модуль 26 коррелятора для применения гипотез смещения, связанных с заданным диапазоном смещений в пределах последовательности ПШ. Поисковое оборудование 38 использует модуль 26 коррелятора для получения энергий сигнала в диапазоне смещений, которые разделены, при установленной разрешающей способности, например при разрешающей способности, равной половине элементарной посылки ПШ, независимого от разрешающей способности оборудования демодулирования или декодирования модема 16.
Поисковое программное обеспечение 42, выполняемое, например, микропроцессором 22 фиг.1, управляет поисковым процессом, используя регистр 44 управления поиском для определения параметров исследования. Более конкретно, поисковое программное обеспечение 42 может определять диапазон смещений, подлежащих проверке поисковым оборудованием 38. В одном варианте осуществления поисковое программное обеспечение 42 может использовать очередь 46 задач, встроенную в регистры 40 конфигурации, чтобы выпускать несколько поисковых задач в поисковое оборудование 38. Когда поисковое оборудование 38 завершает каждую поисковую задачу, оно сохраняет результаты исследования, например пиковое значение или пиковые значения, имеющие наибольшую энергию сигнала, в буфере 48. Сохранение результатов исследования в буфере 48 позволяет поисковому программному обеспечению 42 считывать результаты исследования скорее из буфера 48, чем из регистров 40 конфигурации, таким образом освобождая регистры 40 конфигурации для других задач, например обслуживания других запросов исследования. Когда буфер 48 полностью заполняется, поисковое оборудование 38 выдает прерывание в поисковое программное обеспечение 42, запрашивая дополнительные данные в поисковом программном обеспечении 42 для выведения результатов исследования.
В некоторых вариантах осуществления поисковое программное обеспечение 42 может использовать бит 50 режима боковых зон в регистре 44 управления поиском, чтобы определить, должны ли регистры 40 конфигурации сообщать результаты исследования в нормальном режиме или в режиме боковых зон. В нормальном режиме регистры 40 конфигурации сообщают для каждого пикового значения энергии о расположении (смещении) пикового значения и о энергии, связанной с пиковым значением. В режиме боковых зон регистры 40 конфигурации сообщают эту информацию, также как об уровнях энергии, связанных со смещениями слева и справа от видимого расположения пикового значения энергии. Эти смещения боковых зон могут быть отделены от видимого расположения пикового значения энергии единичным разрешением поискового оборудования 38. Например, если поисковое оборудование 38 работает с разрешающей способностью, равной половине элементарной посылки ПШ, смещения боковых зон могут происходить на половине элементарной посылки ПШ влево от видимого расположения пикового значения и на половине элементарной посылки ПШ вправо от видимого расположения пикового значения. В качестве альтернативы, смещения боковых зон могут быть отделены от видимого расположения пикового значения энергии на величину, кратную единичному разрешению поискового оборудования 38, например, составляющую одну элементарную посылку ПШ.
Регистры 40 конфигурации могут сообщать результаты исследования в формате, который выбирается на основании выбранного режима. Например, если выбран нормальный режим, поисковое программное обеспечение 42 может сообщать результаты исследования в 32-разрядном формате, в котором 16 битов используются для представления смещения, на котором поисковое оборудование 38 обнаружило пиковое значение энергии, и 16 битов используются для представления уровня энергии, обнаруженного на этом смещении. Таким образом, уровень энергии может быть представлен как масштабируемое целое число, имеющее значение между 0 и 65535 (216 – 1).
Если, с другой стороны, выбран режим боковых зон, регистры 40 конфигурации могут вместо этого сообщать результаты исследования в 64-разрядном формате. В 64-разрядном формате 32 бита используются для представления расположения и уровня обнаруженного пикового значения энергии, как и в нормальном режиме. Кроме того, 16 битов используются для представления уровня энергии, обнаруженного при смещении непосредственно влево от видимого расположения пикового значения, и 16 битов используются для представления уровня энергии при смещении непосредственно вправо от видимого расположения пикового значения. Сами смещения могут быть логически выведены из смещения видимого расположения пикового значения, и поэтому в режиме боковых зон их представлять не требуется.
Поскольку в режиме боковых зон используется удвоенное количество битов для представления информации, касающейся пикового значения энергии, буфер 48 в режиме боковых зон заполняется данными вдвое быстрее по сравнению с нормальным режимом с учетом фиксированного размера буфера. Поэтому поисковое программное обеспечение 42 в режиме боковых зон выводит результаты исследования из буфера 48 вдвое чаще. Для случаев, в которых может быть нежелательно выводить результаты исследования так часто, некоторые варианты осуществления изобретения благоприятно позволяют поисковому программному обеспечению 42 по выбору работать либо в режиме боковых зон, либо в нормальном режиме.
В дополнение к сообщению об уровнях энергии, связанных с видимым расположением пикового значения энергии и смещениями непосредственно влево и вправо от видимого расположения пикового значения энергии, поисковое программное обеспечение 42 может также выполнять обычный алгоритм интерполяции или экстраполяции для оценки истинного расположения пикового значения энергии на основании его видимого расположения и окружающих уровней энергии. Как описано выше, из-за задержек, связанных с передачей сигнала, истинное расположение пикового значения энергии может быть удалено от его видимого расположения на расстояние до половины элементарной посылки ПШ. Соответственно, интерполяция может обнаруживать расположения пиковых значений энергии с высокой степенью точности, например, в пределах одной восьмой от элементарной посылки ПШ. Поскольку поисковое программное обеспечение 42 выполняет процесс интерполяции или экстраполяции, изобретение может быть осуществлено только с минимальными изменениями поискового оборудования 38.
Смещение, вычисленное в результате процесса интерполяции или экстраполяции, можно использовать для ряда целей. Вычисленное смещение можно, например, использовать для конфигурирования модема 16, назначая указатели демодуляции для демодулирования сигнала МДКР. Кроме того, модуль 18 определения местоположения может использовать вычисленное смещение для определения физического местоположения устройства беспроводной связи с большей точностью.
Хотя и не часто, но некоторые пиковые значения энергии могут быть относительно широкими, так что существенные уровни энергии встречаются в широком диапазоне смещений. В таких случаях интерполяция или экстраполяция может давать более точные результаты, когда известны дополнительные уровни энергии. Соответственно, в некоторых вариантах осуществления изобретения регистры 40 конфигурации могут сообщать о дополнительных уровнях энергии, то есть уровнях энергии, находящихся еще дальше от видимого расположения пикового значения энергии, с соответствующим увеличением количества битов, используемых для сообщения информации для конкретного пикового значения. Например, регистры 40 конфигурации могут использовать 96 битов для сообщения об уровнях энергии для смещений, находящихся на расстоянии до двух единиц от видимого расположения пикового значения энергии: 32 бита для расположения и уровня пикового значения энергии и 16 битов для уровней энергии в каждом из двух смещений в обоих направлениях от видимого расположения. И наоборот, в некоторых случаях для интерполяции или экстраполяции может быть необходим уровень энергии только одной боковой зоны. В некоторых вариантах осуществления регистры 40 конфигурации могут сообщать об энергии только одной боковой зоны, то есть либо уровень энергии левой боковой зоны, либо уровень энергии правой боковой зоны.
Фиг.4 представляет графическую схему программы, иллюстрирующую примерный режим работы модуля 12 исследования канала. Для исследования широкополосного канала поисковое программное обеспечение 42 сначала определяет параметры исследования, определяя поисковое окно (60), используя, например, регистр 44 управления. Установление поискового окна включает в себя определение смещения, при котором должно начаться исследование, и определение либо смещения, при котором исследование должно завершиться, либо размера окна, то есть количество смещений, подлежащих исследованию. Если смещение представлено как 16-разрядное слово, каждое из начального и конечного смещений может иметь значение между 0 и 65535 (216 – 1).
Размер окна может быть выбран так, чтобы он соответствовал задаче исследования. Например, при установлении телефонного соединения поисковое программное обеспечение 42 вряд ли будет до этого знать код расширения, используемый для кодирования принятого сигнала МДКР. Соответственно, для начального исследования канала подходящим может быть большое поисковое окно. Однако во время телефонного соединения поисковое программное обеспечение 42 будет знать последний по времени использования код расширения и может ограничить последующие исследования небольшим окном вокруг смещения, соответствующего этому коду расширения.
Как обозначено пунктирными линиями, поисковое программное обеспечение 42 по выбору разрешает режим (62) боковых зон, как описано выше со ссылкой на фиг.3. Затем поисковое программное обеспечение 42 направляет поисковое оборудование 38 на выполнение исследования канала. Поисковое оборудование 38 принимает от модуля 26 коррелятора информацию об энергии, связанную с каждой гипотезой смещения в поисковом окне (64). В частности, когда модуль 26 коррелятора коррелирует последовательность ПШ с каждой гипотезой смещения, поисковое оборудование 38 регистрирует результирующую энергию сигнала. Пиковые значения энергии проявляются для гипотез смещения, что приводит к восстановлению сигнала, в то время как другие гипотезы смещения обычно приводят к малой энергии сигнала или ее отсутствию. Как описано выше, уровень энергии может быть представлен как 16-разрядное целое число, имеющее значение между 0 и 65535, где 65535 соответствует самой большой величине энергии сигнала, а 0 соответствует отсутствию энергии сигнала.
Поисковое оборудование 38 анализирует полученные уровни энергии сигнала и идентифицирует одну или несколько гипотез смещения, производящих самые высокие уровни (66) энергии сигнала. В некоторых вариантах осуществления поисковое оборудование 38 может обнаруживать четыре пиковых значения, но может быть обнаружено больше или меньше пиковых значений. Если разрешен режим боковых зон, поисковое оборудование 38 также получает уровни энергии сигнала для смещения влево от видимого расположения пикового значения (68) и для смещения вправо от видимого расположения пикового значения (70). Эти смещения обычно представляют собой на одно единичное разрешение меньше, чем смещение, соответствующее видимому расположению пикового значения, и на одно единичное разрешение больше, чем смещение, соответствующее видимому расположению пикового значения. Например, если поисковое оборудование 38 работает с разрешающей способностью, равной половине элементарной посылки ПШ, поисковое оборудование 38 получает уровни энергии сигнала для видимого расположения пикового значения для смещения на половину элементарной посылки ПШ влево от видимого расположения пикового значения и для смещения на половину элементарной посылки ПШ вправо от видимого расположения пикового значения.
Как описано выше, результаты исследования могут быть представлены в виде 32-разрядного слова, если режим боковых зон не разрешен, или в виде 64-разрядного слова, если режим боковых зон разрешен. В любом случае, 16 битов используются для представления смещения, на котором поисковое оборудование 38 обнаружило пиковое значение, и 16 битов используются для представления уровня энергии сигнала, обнаруженного при этом смещении. Например, если уровень энергии сигнала, обнаруженный при смещении 32768, составляет 20480, результаты исследования могут быть представлены как 32-разрядное слово
0100 0000 0000 0000 0010 0100 0000 0000.
Если режим боковых зон разрешен, 16 битов используются для представления уровня энергии сигнала, обнаруженного при смещении влево от видимого расположения пикового значения, и 16 битов используются для представления уровня энергии сигнала, обнаруженного при смещении вправо от видимого расположения пикового значения. Например, если уровни энергии для смещений влево и вправо смещения 32768 представляют собой соответственно 16000 (0011 1110 0100 0000 в двоичной записи) и 18000 (0100 0110 0101 0000), результаты исследования могут быть представлены как 64-разрядное слово
0100 0000 0000 0000 0010 0100 0000 0000 0011 1110 0100 0000 0100 0110 0101 0000.
В любом случае поисковое оборудование 38 по выбору сохраняет результаты исследования (72) в буфере 48. Когда буфер 48 полностью заполняется результатами исследования, поисковое оборудование 38 выдает сигнал прерывания в поисковое программное обеспечение 42. В ответ на прерывание поисковое программное обеспечение 42 выводит результаты исследования (74) из буфера 48. В качестве альтернативы поисковое программное обеспечение 42 может выводить результаты исследования прямо из регистров 40 конфигурации. Однако выведение результатов исследования из буфера 48 позволяет регистрам 40 конфигурации выполнять другие задачи, например дополнительные исследования, и поэтому в общем является предпочтительным.
Команды для процессора 22 на выполнение исследования канала поисковым программным обеспечением 42 могут быть сохранены на доступных для чтения процессором носителях информации. Посредством примера, а не ограничения, доступные для чтения процессором носители информации могут содержать носители данных и/или средства связи. Носители данных включают в себя энергозависимые и энергонезависимые, съемные и закрепленные носители, воплощаемые любым способом или технологией для хранения информации, например, считываемые процессором команды, структуры данных, программные модули или другие данные. Носители данных могут включать в себя, но не ограничены этим, оперативное запоминающее устройство (ОЗУ, RAM), постоянное запоминающее устройство (ПЗУ, ROM), ЭСППЗУ (EEPROM) (электрически стираемое ППЗУ), флэш-память, носители на фиксированных или съемных дисках, включая оптические или магнитные носители, информации или любое другое средство, которое может использоваться для сохранения требуемой информации и к которому процессор в УБС 10 может получать доступ.
Средства связи обычно воплощают доступные для чтения процессором команды, структуры данных, программные модули или другие данные в модулированном сигнале данных, например несущий сигнал или другая транспортная среда, и включают в себя любые носители доставки информации. Термин “модулированный сигнал данных” означает сигнал, который имеет одну или несколько из своих характеристик, устанавливаемых или изменяемых таким образом, чтобы кодировать информацию в сигнале. Посредством примера, а не ограничения, средства связи включают в себя проводные носители, например проводную сеть или прямое проводное соединение, и беспроводные носители, например акустические, радиочастотные носители, носители, работающие в инфракрасной части спектра, и другие беспроводные носители. Доступные для чтения компьютером носители информации также могут включать в себя комбинации любых из описанных выше носителей.
Посредством интерполирования уровней энергии боковых зон, как описано выше, изобретение облегчает исследование пиковых значений энергии в основанных на МДКР системах беспроводной связи с большей точностью. Например, в системах, в которых демодулятор работает с разрешающей способностью, равной одной восьмой элементарной посылки ПШ, а поисковое оборудование работает с разрешающей способностью, равной половине элементарной посылки ПШ, методы интерполяции можно использовать для предсказания фактического расположения в пределах одной восьмой элементарной посылки ПШ, по сравнению с разрешающей способностью в половину элементарной посылки ПШ, реализуемой посредством некоторых обычных способов исследования канала.
Несколько вариантов осуществления изобретения были описаны в контексте непрерывных пилот-сигналов. Однако изобретение также может быть осуществлено для исследования при других типах пилот-сигналов, включая сформированные лучом пилот-сигналы и дискретные пилот-сигналы, оба из которых могут использоваться в системах ШМДКР. В системах ШМДКР имеется два типа общих каналов пилот-сигнала: первичный и вторичный. Первичный общий канал пилот-сигнала (ОКПС) всегда находится под первичным кодом скремблирования с фиксированным распределением кода разделения полосы частот на отдельные каналы, и для сектора или сотовой ячейки имеется только один такой канал. В противоположность этому, вторичный ОКПС может иметь любой код разделения полосы частот на отдельные каналы длиной 256 и также может быть под вторичным кодом скремблирования. Вторичный ОКПС может использоваться с узкими радиолучами, предназначенными для обеспечения услуг в особых “активных точках” или местах с высокой плотностью потока обмена информацией.
В системах ШМДКР также используются дискретные пилот-сигналы, которые не состоят полностью из символов пилот-сигнала. Например, специализированный физический канал (СФК, DPCH) содержит поля с временным мультиплексированием, обозначенные для информационных битов, битов регулирования мощности, битов комбинаций форматов переноса и битов пилот-сигналов. Биты пилот-сигналов передаются в специализированном канале и, следовательно, называются специализированными символами пилот сигнала. Первичная цель специализированных символов пилот-сигнала заключается в помощи оценки канала. Например, при коррелировании известной последовательности специализированных символов пилот-сигнала с принятыми символами можно усовершенствовать синхронизацию и знание об энергии СФК.
Хотя были описаны различные варианты осуществления изобретения, можно делать видоизменения, не отходя при этом от объема и сущности изобретения. Например, в то время как некоторые варианты осуществления были описаны как сообщение о пиковом уровне энергии и двух уровнях энергии боковых зон, можно сообщать о большем или меньшем количестве уровней энергии боковых зон. Эти и другие варианты осуществления находятся в пределах объема последующей формулы изобретения.
Формула изобретения
1. Способ исследования уровней энергии в системе беспроводной связи с расширенным спектром, заключающийся в том, что
используют оборудование исследования канала для идентификации пикового уровня энергии и по меньшей мере одного уровня энергии боковой зоны для сигнала с расширенным спектром и
конфигурируют демодулятор как функцию пикового уровня энергии и по меньшей мере одного уровня энергии боковой зоны в первом режиме работы и конфигурируют демодулятор без по меньшей мере одного уровня энергии боковой зоны во втором режиме работы.
2. Способ по п.1, отличающийся тем, что после использования оборудования исследования канала для идентификации дополнительно вычисляют второе смещение на основе (а) идентифицированного пикового уровня энергии, (b) первого смещения, соответствующего пиковому уровню энергии, и (с) по меньшей мере одного уровня энергии боковой зоны, причем второе смещение находится между первым смещением и третьим смещением уровня энергии боковой зоны.
3. Способ по п.2, отличающийся тем, что при вычислении второго смещения используют по меньшей мере одну из методик: методику интерполяции или методику экстраполяции.
4. Способ по п.1, отличающийся тем, что дополнительно
определяют поисковое окно, содержащее набор смещений в пределах последовательности псевдослучайного шума (ПШ), и
для каждого смещения в поисковом окне используют один из: демодулятор или коррелятор с целью применения соответствующего кода расширения к сигналу множественного доступа с кодовым разделением каналов (МДКР).
5. Способ по п.1, отличающийся тем, что дополнительно идентифицируют множество дополнительных пиковых уровней энергии для сигнала с расширенным спектром и соответствующих уровней энергии боковых зон для по меньшей мере одного из дополнительных пиковых уровней энергии.
6. Способ по п.1, отличающийся тем, что сигнал с расширенным спектром содержит один из сигналов: непрерывный пилот-сигнал, дискретный пилот-сигнал или сформированный лучом пилот-сигнал.
7. Способ идентифицирования кода расширения, используемого для декодирования принимаемого сигнала множественного доступа с кодовым разделением каналов (МДКР), заключающийся в том, что
определяют поисковое окно, содержащее набор смещений в пределах последовательности псевдослучайного шума (ПШ),
для каждого смещения применяют соответствующий код расширения к принятому сигналу МДКР с целью получения уровня энергии сигнала,
определяют по меньшей мере одно смещение пикового значения, для которого полученный уровень энергии сигнала является самым большим,
принимают решение, разрешить ли режим боковых зон, и, когда режим боковых зон разрешен, определяют первый уровень энергии боковой зоны, соответствующий смещению, предшествующему смещению пикового значения, и второй уровень энергии боковой зоны, соответствующий смещению, следующему за смещением пикового значения, а когда режим боковых зон не разрешен, воздерживаются от сообщения о первом уровне энергии боковой зоны.
8. Способ по п.7, отличающийся тем, что дополнительно используют по меньшей мере одну из методик: методику интерполяции или методику экстраполяции для вычисления смещения как функции уровня энергии сигнала, соответствующего смещению пикового значения, причем смещение соответствует пиковому уровню энергии, и первого и второго уровней энергии боковых зон.
9. Способ по п.8, отличающийся тем, что дополнительно демодулируют сигнал МДКР с использованием кода расширения, соответствующего вычисленному смещению.
10. Способ по п.8, отличающийся тем, что дополнительно определяют местоположение как функцию вычисленного смещения.
11. Способ по п.7, отличающийся тем, что дополнительно идентифицируют по меньшей мере один дополнительный уровень энергии боковой зоны.
12. Способ по п.7, отличающийся тем, что принятый сигнал МДКР содержит один из сигналов: непрерывный пилот-сигнал, дискретный пилот-сигнал или сформированный лучом пилот-сигнал.
13. Доступный для чтения процессором носитель информации, содержащий выполняемые процессором команды для
исследования уровней энергии в системе беспроводной связи с расширенным спектром, предназначенные для использования оборудования исследования канала для идентифицирования пикового уровня энергии, и по меньшей мере одного уровня энергии боковой зоны для сигнала с расширенным спектром, и
конфигурирования демодулятора как функции пикового уровня энергии и по меньшей мере одного уровня энергии боковой зоны в первом режиме работы и конфигурирования демодулятора без по меньшей мере одного уровня энергии боковой зоны во втором режиме работы.
14. Доступный для чтения процессором носитель информации по п.13, отличающийся тем, что содержит дополнительные выполняемые процессором команды для вычисления, после использования оборудования исследования канала, второго смещения на основе (а) идентифицированного пикового уровня энергии, (b) первого смещения, соответствующего пиковому уровню энергии, и (с) по меньшей мере одного уровня энергии боковой зоны, причем второе смещение находится между первым смещением и третьим смещением уровня энергии боковой зоны.
15. Доступный для чтения процессором носитель информации по п.14, отличающийся тем, что при вычислении второго смещения используется по меньшей мере одна из методик: методика интерполяции или методика экстраполяции.
16. Доступный для чтения процессором носитель информации по п.13, отличающийся тем, что содержит дополнительные выполняемые процессором команды для
определения поискового окна, содержащего набор смещений в пределах последовательности псевдослучайного шума (ПШ), и
использования одного из: демодулятора или коррелятора с целью применения соответствующего кода расширения к сигналу множественного доступа с кодовым разделением каналов (МДКР) для каждого смещения в поисковом окне.
17. Доступный для чтения процессором носитель информации по п.13, отличающийся тем, что содержит дополнительные выполняемые процессором команды для идентифицирования множества дополнительных пиковых уровней энергии для сигнала с расширенным спектром и соответствующих уровней энергии боковых зон по меньшей мере для одного из дополнительных пиковых уровней энергии.
18. Доступный для чтения процессором носитель информации по п.13, отличающийся тем, что сигнал с расширенным спектром содержит один из сигналов: непрерывный пилот-сигнал, дискретный пилот-сигнал или сформированный лучом пилот-сигнал.
19. Доступный для чтения процессором носитель информации, содержащий выполняемые процессором команды для
определения поискового окна, содержащего набор смещений в пределах последовательности псевдослучайного шума (ПШ),
применения соответствующего кода расширения к принимаемому сигналу множественного доступа с кодовым разделением каналов (МДКР) для каждого смещения для получения уровня энергии сигнала,
идентифицирования по меньшей мере одного смещения пикового значения, для которого полученный уровень энергии сигнала является самым большим,
принятия решения, разрешить ли режим боковых зон, и определения первого уровня энергии боковой зоны, соответствующего смещению, предшествующему смещению пикового значения, и второго уровня энергии боковой зоны, соответствующего смещению, следующему за смещением пикового значения, когда режим боковых зон разрешен, и воздержания от сообщения о первом уровне энергии боковой зоны, когда режим боковых зон не разрешен.
20. Доступный для чтения процессором носитель информации по п.19, отличающийся тем, что содержит дополнительные выполняемые процессором команды для вычисления смещения с использованием по меньшей мере одной из методик: методики интерполяции или методики экстраполяции как функции уровня энергии сигнала, соответствующего смещению пикового значения, причем смещение соответствует пиковому уровню энергии, и первого и второго уровней энергии боковых зон.
21. Доступный для чтения процессором носитель информации по п.20, отличающийся тем, что содержит дополнительные выполняемые процессором команды для демодулирования сигнала МДКР с использованием кода расширения, соответствующего вычисленному смещению.
22. Доступный для чтения процессором носитель информации по п.20, отличающийся тем, что содержит дополнительные выполняемые процессором команды для определения местоположения как функции вычисленного смещения.
23. Доступный для чтения процессором носитель информации по п.19, отличающийся тем, что содержит дополнительные выполняемые процессором команды для идентифицирования по меньшей мере одного дополнительного уровня энергии боковой зоны.
24. Доступный для чтения процессором носитель информации по п.19, отличающийся тем, что принятый сигнал МДКР содержит один из сигналов: непрерывный пилот-сигнал, дискретный пилот-сигнал или сформированный лучом пилот-сигнал.
25. Устройство для исследования уровней энергии в системе беспроводной связи с расширенным спектром, содержащее
модем для демодулирования сигнала множественного доступа с кодовым разделением каналов (МДКР) и
модуль исследования канала, подсоединенный к модему и сконфигурированный с возможностью идентифицирования пикового уровня энергии и по меньшей мере одного уровня энергии боковой зоны для сигнала МДКР, вычисления смещения как функции пикового уровня энергии, когда режим боковых зон запрещен, вычисления смещения, соответствующего пиковому уровню энергии, и по меньшей мере одного уровня энергии боковой зоны, когда режим боковых зон разрешен, и конфигурирования модема как функции вычисленного смещения.
26. Устройство по п.25, отличающееся тем, что модуль исследования канала сконфигурирован с возможностью вычисления смещения с использованием по меньшей мере одной из методик: методики интерполяции или методики экстраполяции.
27. Устройство по п.25, отличающееся тем, что модуль исследования канала сконфигурирован с возможностью определения поискового окна, содержащего набор смещений в пределах последовательности псевдослучайного шума (ПШ), и использования модема с целью применения соответствующего кода расширения к сигналу множественного доступа с кодовым разделением каналов (МДКР) для каждого смещения в поисковом окне.
28. Устройство по п.25, отличающееся тем, что модуль исследования канала сконфигурирован с возможностью идентифицирования множества дополнительных пиковых уровней энергии для сигнала с расширенным спектром и соответствующих уровней энергии боковых зон для по меньшей мере одного из дополнительных пиковых уровней энергии.
29. Устройство по п.25, отличающееся тем, что сигнал МДКР содержит один из сигналов: непрерывный пилот-сигнал, дискретный пилот-сигнал или сформированный лучом пилот-сигнал.
30. Устройство для исследования уровней энергии в системе беспроводной связи с расширенным спектром, содержащее
модем для демодулирования сигнала множественного доступа с кодовым разделением каналов (МДКР) и
модуль исследования канала, подсоединенный к модему и сконфигурированный с возможностью
определения поискового окна, содержащего набор смещений в пределах последовательности псевдослучайного шума (ПШ),
применения соответствующего кода расширения к сигналу МДКР для каждого смещения для получения уровня энергии сигнала,
идентифицирования по меньшей мере одного смещения пикового значения, для которого полученный уровень энергии сигнала является самым большим,
принятия решения, разрешить ли режим боковых зон, и сообщения о первом уровне энергии боковой зоны, соответствующем смещению, предшествующему смещению пикового значения, и о втором уровне энергии боковой зоны, соответствующем смещению, следующему за смещением пикового значения, когда режим боковых зон разрешен, и воздержания от сообщения о первом уровне энергии боковой зоны, когда режим боковых зон разрешен.
31. Устройство по п.30, отличающееся тем, что модуль исследования канала дополнительно сконфигурирован с возможностью вычисления смещения с использованием по меньшей мере одной из методик: методики интерполяции или методики экстраполяции как функции уровня энергии сигнала, соответствующего смещению пикового значения, причем смещение соответствует пиковому уровню энергии, и первого и второго уровней энергии боковых зон.
32. Устройство по п.31, отличающееся тем, что модем сконфигурирован с возможностью демодулирования сигнала МДКР с использованием кода расширения, соответствующего вычисленному смещению.
33. Устройство по п.31, отличающееся тем, что дополнительно содержит модуль определения местоположения для определения местоположения как функции вычисленного смещения.
34. Устройство по п.30, отличающееся тем, что модуль исследования канала сконфигурирован с возможностью идентифицирования по меньшей мере одного дополнительного уровня энергии боковой зоны.
35. Устройство по п.30, отличающееся тем, что сигнал МДКР содержит один из сигналов: непрерывный пилот-сигнал, дискретный пилот-сигнал или сформированный лучом пилот-сигнал.
РИСУНКИ
|
|